|
|
(21), (22) Заявка: 2008144736/06, 12.11.2008
(24) Дата начала отсчета срока действия патента:
12.11.2008
(46) Опубликовано: 27.04.2010
(56) Список документов, цитированных в отчете о поиске:
RU 2246031 C1, 10.02.2005. RU 2191287 C2, 20.10.2002. SU 547546 A1, 25.02.1977. SU 1746052 A1, 07.07.1992. EP 1180597 A1, 20.02.2002.
Адрес для переписки:
664023, г.Иркутск, ул. Пискунова, 122, ООО “ИркутскНИИЛП”
|
(72) Автор(ы):
Занегин Леонид Александрович (RU), Петров Юрий Леонтьевич (RU), Шухинкова Екатерина Геннадьевна (RU)
(73) Патентообладатель(и):
Общество с ограниченной ответственностью “Иркутский научно-исследовательский институт лесной промышленности (RU)
|
(54) ВЕТРОЭНЕРГЕТИЧЕСКАЯ УСТАНОВКА
(57) Реферат:
Ветроэнергетическая установка относится к малой энергетике и служит для преобразования кинетической энергии ветра в электрическую независимо от скорости внешнего воздушного потока. Установка содержит основной и вспомогательный ветроприемники, корпусы которых опираются на подшипниковый узел и устанавливаются по ветру с флюгером над вертикальной трубой. В вертикальной трубе установлен сетчатый сепаратор для отделения воды и снега от воздушной массы, ниже последовательно установлены всасывающе-нагнетательные насосы высокого давления с отсасывающим воздух раструбом на входе, перемещающие поток к воздушной турбине, ось которой соединена с генератором. Электрическая сеть генератора связана с электродвигателем сепаратора и всасывающе-нагнетательными насосами, соединенными с аккумулятором, используемым для пуска ветроэнергетической установки. В нижней части вертикальной трубы через раздаточную коробку и адаптер установлены датчики температуры и давления воздуха для турбины. Ветроустановка надежна из-за отсутствия механических передач и обеспечивает выработку электроэнергии независимо от скорости ветра и погодных условий. 3 ил.
Область техники, к которой относится изобретение
Ветроэнергетическая установка относится к малой энергетике и служит для преобразования кинетической энергии ветра в электрическую независимо от скорости внешнего воздушного потока.
Уровень техники
Авторам известны различные ветроэнергетические установки, которые применяются для выработки энергии из ветра.
Самыми первыми были мельницы на козлах, так называемые немецкие мельницы, которые являлись до середины XVI века единственно известными. Сильные бури могли опрокинуть такую мельницу вместе со станиной. В середине XVI столетия один фламандец нашел способ, посредством которого это опрокидывание мельницы делалось невозможным. В мельнице он ставил подвижной только крышу, и для того чтобы поворачивать крылья по ветру, необходимо было повернуть лишь крышу, в то время как само здание мельницы было прочно укреплено на земле.
Масса козловой мельницы была ограниченной в связи с тем, что ее приходилось поворачивать вручную. Поэтому была ограниченной и ее производительность.
В последнее время стали применяться ветрогенераторы. Мощность ветрогенератора зависит от площади, заметаемой лопастями генератора. Например, турбины мощностью 3 МВт (V90) производства датской фирмы Vestas имеют общую высоту 115 метров, высоту башни 70 метров и диаметр лопастей 90 метров.
Компания Enercon построила прототип ветрогенератора Е-112 мощностью 4,5 МВт. До декабря 2004 года турбина оставалась крупнейшей в мире. В декабре 2004 года германская компания REpower Systems построила свой ветрогенератор мощностью 5,0 МВт. Диаметр ротора этой турбины составил 126 метров, вес гондолы – 200 тонн, высота башни – 120 м. В конце 2005 года Enercon увеличил мощность своего ветрогенератора до 6,0 МВт. Диаметр ротора достиг 114 метров, высота башни – 124 метра.
Наибольшее распространение в мире получила конструкция ветрогенератора с тремя лопастями и горизонтальной осью вращения, хотя кое-где еще встречаются и двухлопастные. Были попытки построить ветрогенераторы так называемой ортогональной конструкции, то есть с вертикальным расположением оси вращения. Считается, что они имеют преимущество в виде очень малой скорости ветра, необходимой для начала работы ветрогенератора. Главной проблемой таких генераторов является механизм торможения. В силу этой и некоторых других технических проблем ортогональные ветроагрегаты не получили практического распространения в ветроэнергетике (см. Ветроэнергетика: факты, события и перспективы. Журнал Биоэнергетика, 1 и 2, 2008 г.).
Авторам известны ветрогенераторы компании «Ветропарк Инжиниринг» – это генераторы электрической энергии, предназначенные для превращения энергии ветра в электрическую. Сегодня ветрогенераторы – высокотехнологичное изделие мощностью от 5 кВт до 4500 кВт единичной мощности. Ветрогенераторы современных конструкций позволяют использовать экономически эффективно энергию даже самых слабых ветров – от 4 метров в секунду. С помощью ветрогенераторов сегодня можно не только поставлять электроэнергию в «сеть», но и решать задачи электроснабжения локальных или островных объектов любой мощности (см. информацию компании «Ветропарк Инжиниринг» на сайте www. windpark.ru).
К сожалению, все такие ветряные энергетические установки обладают экологическими и техническими недостатками.
Ветряные энергетические установки производят две разновидности шума:
– механический шум (шум от работы механических и электрических компонентов);
– аэродинамический шум (шум от взаимодействия ветрового потока с лопастями установки).
В непосредственной близости от ветрогенератора у оси ветроколеса уровень шума достаточно крупной ветроустановки может превышать 100 дБ.
Законы, принятые в Великобритании, Германии, Нидерландах и Дании, ограничивают уровень шума от работающей ветряной энергетической установки до 45 дБ в дневное время и до 35 дБ ночью. Минимальное расстояние от установки до жилых домов – 300 м.
Металлические сооружения ветроустановки, особенно элементы в лопастях, могут вызвать значительные помехи в приеме телесигнала. Чем крупнее ветроустановка, тем большие помехи она может создавать. В ряде случаев для решения проблемы приходится устанавливать дополнительные ретрансляторы.
Авторам известен патент РФ 2332584 «Ветроэнергетическая установка». Данная ветроэнергетическая установка содержит две идентичные лопасти, соединенные с горизонтальным валом ротора генератора через передний и задний подшипниковые узлы, расположенные на опорной дуге, опирающейся на ее подшипниковый узел, позволяющий установке вращаться вокруг своей оси. Срединные линии лопастей имеют вид линии, полученной в результате пересечения двух поверхностей второго порядка – сферы и седловой. Поперечное сечение лопастей имеет форму аэродинамического профиля крыла. К середине лопастей с внешней стороны закреплен концентратор потока, срединная поверхность которого выполнена в виде усеченного конуса с сечением аэродинамической обтекаемой формы, при этом меньший диаметр концентратора направлен навстречу набегающему ветровому потоку. С внешней и внутренней стороны переднего подшипникового узла крепления лопастей дополнительно установлены соответственно конфузор и диффузор. Передний подшипниковый узел выполнен с полостью, обеспечивающей возможность прохождения ветрового потока внутрь сметаемого лопастями объема, при этом передний и задний подшипниковые узлы крепления лопастей соединены дополнительным валом. Изобретение обеспечивает повышение кпд установки, а также расширение диапазона использования и работы без деформации ротора на больших скоростях.
Однако такая ветроэнергетическая установка, у которой только несколько изменены лопасти, обладает всеми присущими недостатками ранее приведенных ветрогенераторов – это повышенный уровень шума, помехи, небольшой, хоть и несколько повышенный кпд использования ветра. Работает установка на ветрах от 2 м/с и более.
Авторам известен патент РФ 2330989 «Ветроэнергетическая установка». Данная установка содержит преобразователь энергии, кольцевой понтон, поворотные лопасти, гибкие тяги. Кольцевой понтон размещен с возможностью вращения вокруг вертикальной оси. Поворотные лопасти выполнены с возможностью вращения вокруг вертикальных осей. Гибкие тяги связаны с кольцевым понтоном и со ступицей преобразователя энергии, установленной с возможностью вращения соосно с кольцевым понтоном. Преобразователь энергии установлен на поворотной платформе. Поворотная платформа оснащена лопастями, размещенными в воде с возможностью поворота вокруг вертикальных осей посредством приводов поворота, установленных на поворотной платформе. Поворотная платформа установлена на дополнительном понтоне, размещенном на водной поверхности так, что он окружен кольцевым понтоном. Дополнительный понтон снабжен вертикальным подводным рулем, выполненным в виде поворотной лопасти. Техническим результатом является достижение возможности работать на больших глубинах.
Однако такая ветроэнергетическая установка требует больших скоростей ветра, работает с платформой на воде, а ее кольцевой понтон служит для преобразования энергии ветра в движение понтона по воде. Применение такой ветроэнергетической установки ограничено.
Авторам известен патент РФ 2331791 «Ветроэнергетическая установка». Установка содержит осесимметричный диффузорный ускоритель с лопатками направляющего аппарата, имеющими отклоняемый закрылок, радиально закрепленными неподвижно внутри ускорителя в зоне входа, центральное тело, состоящее из неподвижной носовой части с обтекателем, вращающейся средней части, выполненной в виде ротора электрогенератора с лопатками ветроколеса пропеллерного типа, и хвостовой части. Установка снабжена цилиндрическими обечайками, прикрепленными радиальными стойками к центральному телу с возможностью образования с ним кольцевого зазора, при этом лопатки ветроколеса и направляющего аппарата установлены на обечайках. Технический результат изобретения заключается в повышении коэффициента полезного действия ветроэнергетической установки и снижении ее шумности.
Такая ветроэнергетическая установка, которая имеет механическую систему передачи энергии ветра на генератор, требует повышенной скорости ветра, обладает всеми недостатками, присущими установкам с ветрогенератором: создает повышенный уровень шума, вызывает помехи в приеме телевизионных и других сигналов, ограничена в распространении. Для создания более мощной электрической системы требуется ветропарк таких установок.
Авторам известен патент РФ 2329398 «Ветроэнергетическая установка с вертикальной осью». Данная ветроэнергетическая установка содержит опорную раму, основной вертикальный вал, установленный с возможностью вращения на опорной раме, крепежный элемент, закрепленный на основном вертикальном валу, опорную консоль, прикрепленную одним концом к крепежному элементу, и проходящую по вертикали лопасть, установленную на другом конце опорной консоли, при этом лопасть имеет наклонную часть, образованную на верхнем и нижнем концах, наклоненную внутрь под углом от 30 до 45 градусов по отношению к вертикальной оси основного вала, причем ширина лопасти составляет от 45 до 55% от радиуса орбиты лопасти, когда лопасть вращается вокруг основного вертикального вала. Лопасть установлена вертикально во множестве уровней для образования множества лопастей, каждая из которых проходит в различных направлениях без перекрытия по вертикали таким образом, что они отстоят по существу на равные углы, если смотреть сверху. Установка может быть размещена в стальной мачте высоковольтной линии электропередачи. Установка обеспечивает увеличение ветроприемной площади с увеличенной ветроприемной энергией, низкую себестоимость и увеличение генерации общей энергии на конкретной площади.
Такая ветроэнергетическая установка имеет вертикально расположенную механическую трансмиссию, позволяет несколько увеличить начальную мощность установки, сократить занимаемую ветряную площадь, обладает всеми ранее отмеченными недостатками, присущими механическим ветрогенераторам: повышенным уровнем шума, создает помехи в воздушном пространстве, требует повышенной скорости ветра.
Авторам известен прототип – патент РФ 2334121 «Ветроэнергетическая установка». Данная установка содержит кольцевой понтон-ротор, размещенный с возможностью вращения вокруг центральной неподвижной башни, поворотные лопасти, выполненные с возможностью вращения вокруг вертикальных осей, гибкие тяги, связанные со ступицей преобразователя энергии, установленной с возможностью вращения вокруг продольной оси неподвижной башни. Кольцевой понтон выполнен погруженным ниже уровня водной поверхности, поворотные лопасти размещены между жесткими кольцевыми дисками, нижний кольцевой диск скреплен с кольцевым понтоном посредством жестких стержневых элементов, а верхний скреплен горизонтальными радиальными гибкими тягами с опорным кольцом, установленным на неподвижной башне с возможностью вращения вокруг ее продольной оси. Ступица преобразователя энергии скреплена горизонтальными гибкими тягами с нижним кольцевым диском, а верхний и нижний диски соединены стержневыми элементами, установленными с наклоном их верхних концов по направлению вращения понтона-ротора. Конструкция обеспечивает увеличение эффективности преобразования энергии при увеличении прочности и жесткости, а также уменьшении материалоемкости.
Такая ветроэнергетическая установка повышенной мощности имеет понтон-ротор, который вращается вокруг неподвижной башни, а сам кольцевой понтон погружен в воду, лопасти и ступица также вращаются вокруг неподвижной башни, а сама механическая трансмиссия с помощью гибких тяг скреплена с опорным кольцом, которое установлено на неподвижной башне с возможностью вращения вокруг ее продольной оси и преобразованием ветровой энергии в электрическую. Такая конструкция обладает весьма ограниченным применением, так как обязательным условием является наличие глубокого водоема, что исключает ее применение в таежных отдаленных поселках и сельской местности.
Раскрытие изобретения
Предложена ветроэнергетическая установка, в которой в верхней части мачты установлены основной и вспомогательный ветроприемники в виде усеченного конуса, корпусы которых опираются на опорный подшипниковый узел и соединены с флюгером, а полая центральная часть основного и вспомогательных ветроприемников соединена с вертикальной трубой мачты, в которой установлен сетчатый сепаратор с возможностью его вращения от электрического привода, при этом воздушный поток имеет возможность дальнейшего прохождения по вертикальной трубе, а вода и снег имеют возможность отбрасываться в водоприемник, соединенный со сливной трубой, ниже сепаратора установлен раструб, отсасывающий воздух в первый всасывающе-нагнетательный насос высокого давления, выходная труба которого нагнетает под давлением воздух через нагревательный элемент вновь в вертикальную трубу, а ниже выхлопной трубы первого нагнетательного насоса установлен средний всасывающе-нагнетательный насос высокого давления с отсасывающим воздух раструбом, а выходной патрубок среднего всасывающе-нагнетательного насоса под давлением возвращает через нагревательный элемент воздух вновь в вертикальную трубу, причем ниже нагнетательного патрубка установлен конечный нагнетательный насос высокого давления с отсасывающим воздух раструбом, а выходной патрубок насоса под давлением возвращает через нагревательный элемент воздух в вертикальную трубу, конец которой присоединен к воздушной турбине, вал которой соединен с генератором, а электрические сети генератора соединены с насосами высокого давления и электродвигателем сепаратора, параллельно с которыми через адаптеры к насосам высокого давления и электродвигателю сепаратора присоединен аккумулятор с раздаточными коробками, а в нижней части вертикальной трубы через раздаточную коробку и адаптер установлены датчики температуры и давления воздушной массы для турбины, а отработанная часть воздуха из турбины выбрасывается в атмосферу через трубу.
Наличие таких отличительных признаков от прототипа позволяет сделать вывод, что предлагаемое техническое решение обладает существенной новизной.
Для доказательства соответствия предлагаемой ветроэнергетической установки критерию существенного отличия было проведено сравнение основных признаков с прототипом – патентом РФ 2334121 «Ветроэнергетическая установка». В результате было установлено, что отсутствует механическая передача на генератор ветровой энергии, отсутствует шум, характерный для вращающегося ротора и лопастей, установка работает при любой скорости ветра, даже при штиле, работает в любую погоду при дожде и ветре, очистку воздушного потока осуществляет сепаратор, воздушный поток для турбины подготавливается с требуемой скоростью, температурой и давлением, турбина и генератор установлены под фундаментом.
Технический результат, дающий положительный эффект по сравнению с прототипом, определяется свойствами и показателями, приведенными в табл.1.
| Таблица 1 |
| Сравнение основных признаков прототипа и предлагаемого изобретения |
| Свойства и другие показатели |
Заявляемая ветроэнергетическая установка |
Прототип – патент РФ 2334121 |
| Основной преобразователь ветровой энергии |
Ветроприемник с вертикальной трубой |
Ротор с лопастями, вращающийся вокруг башни |
| Наличие передачи на генератор |
Отсутствует |
Механически с дисками и гибкими тягами |
| Скорость рабочая ветра |
Отсутствует, работает при любом ветре, даже при штиле |
Более 5,0 м/с |
| Наличие очистки воздушной массы |
Сетчатый сепаратор |
Нет |
| Наличие шума и помех |
Нет |
До 100 дБ |
| Температура воздушного потока |
Подготавливается нагревательными элементами |
Температура уличной воздушной среды |
| Давление воздушной массы |
Подготавливается всасывающе-напорными насосами |
Атмосферное давление |
Анализ данных табл.1 показывает, что заявляемая ветроэнергетическая установка может быть реализована с учетом приведенных отличительных признаков.
Краткое описание чертежей
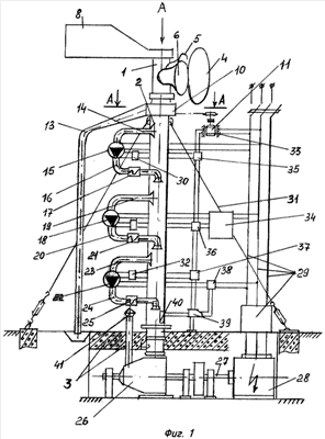
На фиг.1 показан общий вид ветроэнергетической установки.
На фиг.2 показан вид по стрелке А: установка основного и вспомогательных усеченных конусов ветроприемников с флюгером в верхней части трубы на подшипниковый узел.
На фиг.3 показан разрез по А-А сетчатого сепаратора с приводом и водоприемником.
Осуществление изобретения
Ветроэнергетическая установка состоит из опорной мачты (1), выполненной в виде трубы (2), укрепленной на фундаменте (3), а в верхней части опорной мачты (1) установлен основной ветроприемник (4) в виде усеченного конуса и вспомогательные ветроприемники (5 и 6), выполненные также в виде усеченного конуса, корпусы которых опираются на подшипниковый узел (7) и соединены с флюгером (8), а полая (9) центральная часть основного (4) и вспомогательных (5 и 6) ветроприемников соединена с вертикальной опорной трубой мачты (1), в которой установлен сетчатый сепаратор (10) с возможностью его вращения от электрического привода (11), при этом воздушный поток имеет возможность дальнейшего прохождения по вертикальной трубе (2), а вода и снег имеют возможность отбрасываться в водоприемник (12), соединенный со сливной трубой (13), а ниже сепаратора установлен раструб (14), отсасывающий воздух в первый всасывающе-нагнетательный насос (15) высокого давления, выходная труба (16) которого нагнетает под давлением воздух через первый нагревательный элемент (17) вновь в вертикальную трубу (2), а ниже выходной трубы (16) первого всасывающе-нагнетательного насоса (15) установлен средний всасывающе-нагнетательный насос (18) высокого давления с отсасывающим воздух раструбом (19), а выходной патрубок (20) среднего всасывающе-нагнетательного насоса (18) под давлением возвращает через нагревательный элемент (21) воздух вновь в вертикальную трубу (2), причем ниже выходного патрубка (20) установлен конечный всасывающе-нагнетательный насос (22) высокого давления с отсасывающим воздух раструбом (23), а выходной патрубок (24) насоса (22) под давлением возвращает через нагревательный элемент (25) воздух в вертикальную трубу (2), конец которой присоединен к воздушной турбине (26), вал (27) которой соединен с генератором (28), а электрические сети (29) генератора соединены с насосами (15, 18 и 22) высокого давления и электродвигателем (11) сетчатого сепаратора (10), параллельно с которыми через адаптеры (30, 31, 32, 33) к насосам высокого давления и электродвигателю сепаратора присоединен аккумулятор (34) с раздаточными коробками (35, 36, 37, 38), а в нижней части вертикальной трубы (2) через раздаточную коробку и адаптер (39) установлены датчики (40) температуры и давления воздушной массы для турбины (26), отработанная масса воздуха из турбины выбрасывается в атмосферу через трубу (41).
Работает ветроэнергетическая установка следующим образом.
Флюгер (8), вращая основной (4) и вспомогательные ветроприемники (5 и 6), через подшипниковый узел (7) устанавливает их так, чтобы основная воздушная масса попадала в усеченные конусы корпусов ветроприемников и через полую (9) их часть направляла воздушную массу в вертикальную трубу (1), при этом, если идет дождь или снег, вся масса попадает на сетчатый сепаратор (10), который вращается электрическим приводом (11) и отбрасывает воду или снег в водоприемник (12), и она по сливной трубе (13) направляется в ливневую канализацию, а ниже сепаратора (10) установлен отсасывающий раструб (14), который с помощью первого всасывающе-нагнетательного насоса (15) создает частичное разрежение в вертикальной трубе (2), увеличивая скорость прохождения воздушного потока через трубу (2), и насос под давлением через выходной патрубок (16) и нагревательный элемент выбрасывает воздушную массу в вертикальную трубу, увеличивая ее скорость и температуру. Затем в таком же режиме работает средний насос (18) с патрубками (19 и 20) и нагревательным элементом (21), увеличивая вновь в трубе скорость, температуру и давление воздушной массы, и, наконец, вступает в работу последний насос (22) с патрубками (23, 24) и нагревательным элементом (25), который окончательно формирует воздушную массу с требуемой скоростью, температурой и давлением, потребным для турбины (26), которая через вал (27) вращает генератор (28) и тот выдает электроэнергию в электрическую сеть (29), от которой запитаны все насосы (15, 18 и 22), а также электродвигатель (11). Для первоначального пуска, когда не работает турбина (26), насосы получают электроэнергию от аккумулятора (34) через раздаточные коробки (35, 36, 37) и адаптеры (30, 31, 32), с пуском турбины адаптеры отключают аккумулятор (34), и вся система начинает работать от сети (29), в том числе и датчики (40) температуры и давления, подключенные через раздаточную коробку (38) и адаптер (39), а аккумулятор заряжается от сети (29) на случай очередного пуска ветроэнергетической установки.
Предложенная ветроэнергетическая установка имеет неоспоримые преимущества по сравнению с существующими роторами и пропеллерными ветроэнергетическими установками с механическими передачами ветровой энергии на генератор, так как в ней отсутствуют механические передачи, а приняты устройства для создания для воздушной турбины требуемого по скорости, температуре и давлению потока для бесперебойной работы генератора по производству электроэнергии. Такая конструкция увеличит надежность работы ветроэнергетической установки и позволит ей работать независимо от скорости ветра, даже при штиле, притом ей не страшны никакие помехи и погодные условия.
Формула изобретения
Ветроэнергетическая установка, содержащая опорную мачту в виде трубы, укрепленную растяжками и основанием, установленным на фундаменте, опорного подшипникового узла, аккумулятора, воздушной турбины, генератора с электрической системой, отличающаяся тем, что в верхней части мачты установлен основной и вспомогательные ветроприемники в виде усеченного конуса, корпуса которых опираются на опорный подшипниковый узел и соединены с флюгером, а полая центральная часть основного и вспомогательных ветроприемников соединена с вертикальной трубой мачты, в которой установлен сетчатый сепаратор с возможностью его вращения от электрического привода, при этом воздушный поток имеет возможность дальнейшего прохождения по вертикальной трубе, а вода и снег имеют возможность отбрасываться в водоприемник, соединенный со сливной трубой, ниже сепаратора установлен раструб, отсасывающий воздух в первый всасывающе-нагнетательный насос высокого давления, выходная труба которого нагнетает под давлением воздух через нагревательный элемент вновь в вертикальную трубу, а ниже выходной трубы первого всасывающе-нагнетательного насоса установлен средний всасывающе-нагнетательный насос высокого давления с отсасывающим воздух раструбом, а выходной патрубок среднего всасывающе-нагнетательного насоса под давлением возвращает через нагревательный элемент воздух вновь в вертикальную трубу, причем ниже нагнетательного патрубка установлен конечный всасывающе-нагнетательный насос высокого давления с отсасывающим воздух раструбом, а выходной патрубок насоса под давлением возвращает через нагревательный элемент воздух в вертикальную трубу, конец которой присоединен к воздушной турбине, вал которой соединен с генератором, а электрические сети генератора соединены с насосами высокого давления и электродвигателем сепаратора, параллельно с которыми через адаптеры к насосам высокого давления и электродвигателю сепаратора присоединен аккумулятор с раздаточными коробками, а в нижней части вертикальной трубы через раздаточную коробку и адаптер установлены датчики температуры и давления воздушной массы для турбины, а отработанная часть воздуха из турбины выбрасывается в атмосферу через трубу.
РИСУНКИ
|
|