|
|
(21), (22) Заявка: 2009107210/03, 27.02.2009
(24) Дата начала отсчета срока действия патента:
27.02.2009
(46) Опубликовано: 27.04.2010
(56) Список документов, цитированных в отчете о поиске:
RU 62149 U1, 27.03.2007. RU 2172387 С2, 20.08.2001. RU 57345 U1, 10.10.2006. RU 2293172 С1, 10.02.2007. ЕР 0314268 А, 03.05.1989.
Адрес для переписки:
423236, Республика Татарстан, г. Бугульма, ул. М. Джалиля, 32 “ТатНИПИнефть”, сектор создания и развития промышленной собственности
|
(72) Автор(ы):
Хамитьянов Нигаматьян Хамитович (RU), Киршин Анатолий Вениаминович (RU), Ягафаров Альберт Салаватович (RU), Багнюк Сергей Леонидович (RU), Пронин Виталий Евгеньевич (RU)
(73) Патентообладатель(и):
Открытое акционерное общество “Татнефть” им. В.Д. Шашина (RU)
|
(54) БАШМАК ДЛЯ УСТАНОВКИ ПРОФИЛЬНОГО ПЕРЕКРЫВАТЕЛЯ В СКВАЖИНЕ
(57) Реферат:
Изобретение относится к области бурения скважин, в частности к устройствам для изоляции зон осложнений бурения. Устройство включает корпус с центральным проходным каналом, в котором расположен клапан, пропускающий снизу вверх, кольцевую проточку, вверху которой расположен ограничитель, монтажную головку, взаимодействующую с кольцевой проточкой с возможностью ограниченного перемещения вверх и с возможностью взаимодействия сверху с установочным оборудованием. Головка оснащена наружным буртом и упорами, взаимодействующими изнутри с поджатыми внутрь фиксирующими элементами. Наружная поверхность фиксирующих элементов выполнена в виде сегментов фигуры вращения, выполненной с возможностью взаимодействия с кольцевым расширением перекрывателя. На внутренних поверхностях фиксирующих элементов выполнены наклонные направляющие. Кольцевая проточка корпуса выполнена наружной, а монтажная головка, наружный бурт которой расположен сверху, установлена снаружи этой проточки. Ограничитель выполнен в виде замкового элемента, фиксирующего головку в крайнем верхнем положении относительно корпуса. Упоры взаимодействуют с головкой через бурт, которым соединены с возможностью ограниченного радиального перемещения внутрь. Упоры выполнены в виде сегментов фигуры вращения, вставленных в зазоры фиксирующих элементов. На поверхностях упоров выполнены направляющие. В сжатом состоянии упоры и фиксирующие элементы выполнены в виде единой фигуры вращения. Повышается надежность, упрощается конструкция. 2 ил.
Предложение относится к нефтегазодобывающей промышленности, а именно к области бурения скважин, в частности к устройствам для установки профильных перекрывателей при изоляции ими зон осложнений при бурении.
Известен «Башмак для установки профильных перекрывателей в скважинах» (патент RU 2172387, МПК E21B 29/10, опубл. бюл. 23 от 20.08.2001 г.), включающий монтажный болт с головкой, левой резьбой, на которую навинчена упорная гайка, правой конической резьбой на конце для соединения с установочным оборудованием и упорным буртом, выполненным между резьбами, и уплотнительный элемент, расположенный вокруг цилиндрической части болта, причем он снабжен дополнительным упором, выполненным в виде конического раструба с наружной конической поверхностью для взаимодействия с уплотнительным элементом и упорным буртом болта, при этом во внутренней стенке раструба смонтирован стопорный элемент для фиксации соединения установочного оборудования с болтом, упорная гайка выполнена с конической поверхностью для взаимодействия с уплотнительным элементом и насечкой на наружной поверхности, а уплотнительный элемент выполнен в виде нескольких конических сегментов с коническими поверхностями на торцах, конусность которых обращена к оси вращения башмака, соединенных между собой в кольцо упругим материалом, например резиной путем вулканизации, причем упругий материал преимущественно расположен на торцах сегментов со стороны дополнительного упора.
Недостатками данного башмака являются:
– отсутствие обратного клапана в конструкции башмака, необходимого для заполнения жидкостью профильного перекрывателя при спуске его в скважину, что требует установки обратного клапана выше перекрывателя, что в свою очередь затрудняет его расширение внутренним избыточным давлением;
– возможность аварийных ситуаций, так как для освобождения башмака от перекрывателя необходимо добиться вращения монтажного болта относительно упорной гайки, при этом соединиться конической правой резьбой болта с установочным оборудованием, что сильно затруднено, потому что на стенках перекрывателя и в самой скважине находятся твердые частицы (шлам, окалина), которые могут засорить резьбы;
– невозможность работы с невращающимся расширяющим инструментом.
Наиболее близким по технической сущности и достигаемому результату является «Башмак для установки профильного перекрывателя в скважине» (патент RU 62149, МПК E21B 29/10, опубл. бюл. 9 от 27.03.2007 г.), включающий монтажную головку, выполненную с возможностью взаимодействия с установочным оборудованием, с буртом и упорами, взаимодействующими изнутри с поджатыми внутрь фиксирующими элементами, которые расположены равномерно относительно наружной поверхности корпуса с возможностью ограниченного перемещения внутрь при перемещении упоров вверх относительно корпуса, а наружная поверхность фиксирующих элементов выполнена в виде сегментов цилиндрической поверхности, выполненной с возможностью взаимодействия с кольцевым расширением профильного перекрывателя, внутренний диаметр которого превышает диаметр корпуса, уплотнение, герметизирующее кольцевое пространство между корпусом и профильным перекрывателем, при этом уплотнение расположено в корпусе ниже фиксирующих элементов, корпус снабжен центральным проходным каналом, в котором расположен клапан, пропускающий снизу вверх, а сверху – кольцевой проточкой, вверху которого расположен ограничитель, а внизу равномерно относительно оси корпуса выполнены продольные углубления под упоры, выполненные в виде штифтов, жестко зафиксированных в монтажной головке снизу, при этом монтажная головка, выполненная полой, вставлена в кольцевую проточку корпуса с возможностью ограниченного перемещения вверх до взаимодействия бурта с ограничителем, а верх монтажной головки выполнен в виде набора усеченных конусов с одинаковыми основаниями, сужающимися кверху.
Недостатками данного башмака являются:
– сложность конструкции, так как устройство состоит из большого количества деталей, требующих высокой точности изготовления, и как следствие высокие материальные затраты на изготовление и применение;
– сложность установки башмака на профильную трубу, так как при установке требуется дополнительно обкатывать место соединения с башмаком.
Технической задачей предложения является создание простой и надежной конструкции башмака, требующей минимум технологических операций при установке, при этом оснащенной обратным клапаном.
Техническая задача решается башмаком для установки профильного перекрывателя в скважине, включающим корпус, снабженный центральным проходным каналом, в котором расположен клапан, пропускающий снизу вверх, а сверху – кольцевой проточкой, вверху которой расположен ограничитель, монтажную головку, взаимодействующую с кольцевой проточкой корпуса с возможностью ограниченного перемещения вверх до взаимодействия с ограничителем и с возможностью взаимодействия сверху с установочным оборудованием, причем монтажная головка оснащена наружным буртом и упорами, взаимодействующими изнутри с поджатыми внутрь фиксирующими элементами, которые расположены равномерно относительно наружной поверхности корпуса с возможностью ограниченного перемещения внутрь при перемещении упоров с монтажной головкой вверх относительно корпуса, а наружная поверхность фиксирующих элементов выполнена в виде сегментов фигуры вращения, выполненной с возможностью взаимодействия с кольцевым расширением профильного перекрывателя.
Новым является то, что на внутренних поверхностях фиксирующих элементов выполнены наклонные направляющие, причем кольцевая проточка корпуса выполнена наружной, а монтажная головка, наружный бурт которой расположен сверху, установлена снаружи этой проточки, при этом ограничитель выполнен в виде замкового элемента, фиксирующего монтажную головку в крайнем верхнем положении относительно корпуса, причем упоры взаимодействуют с монтажной головкой через бурт, которым соединены с возможностью ограниченного радиального перемещения внутрь, упоры выполнены в виде сегментов фигуры вращения, вставленных в зазоры фиксирующих элементов, при этом на поверхностях упоров, обращенных к фиксирующим элементам, выполнены направляющие, соответствующие направляющим фиксирующих элементов для взаимного перемещения внутрь при перемещении монтажной головки вверх, причем в сжатом состоянии упоры и фиксирующие элементы выполнены в виде единой фигуры вращения.
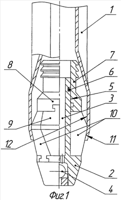
На Фиг.1 показан башмак в составе нижней части профильного перекрывателя в рабочем положении.
На Фиг.2 показан башмак в составе нижней части профильного перекрывателя в транспортном положении.
Башмак для установки профильного перекрывателя 1 в скважине (не показана) включает корпус 2, снабженный центральным проходным каналом 3, в котором расположен клапан 4, пропускающий снизу вверх. Корпус 2 сверху снабжен кольцевой проточкой 5, вверху которой расположен ограничитель 6, монтажной головкой 7, взаимодействующей с кольцевой проточкой 5 корпуса 2 с возможностью ограниченного перемещения вверх до взаимодействия с ограничителем 6 и с возможностью взаимодействия сверху с установочным оборудованием (не показано). Монтажная головка 7 оснащена наружным буртом 8 и упорами 9, взаимодействующими изнутри с поджатыми внутрь фиксирующими элементами 10, которые расположены равномерно относительно наружной поверхности корпуса 2 с возможностью ограниченного перемещения внутрь при перемещении упоров 9 с монтажной головкой 7 вверх относительно корпуса 2. Наружная поверхность 11 фиксирующих элементов 10 выполнена в виде сегментов фигуры вращения, выполненной с возможностью взаимодействия с кольцевым расширением 12 профильного перекрывателя 1. На внутренних поверхностях 13 фиксирующих элементов 10 выполнены наклонные направляющие 14. Кольцевая проточка 5 корпуса 2 выполнена наружной. Монтажная головка 7, наружный бурт 8 которой расположен сверху, установлена снаружи проточки 5. Ограничитель 6 выполнен в виде замкового элемента, фиксирующего монтажную головку 7 в крайнем верхнем положении относительно корпуса 2. Упоры 9 взаимодействуют с монтажной головкой 7 через бурт 8, которым соединены в возможностью ограниченного радиального перемещения внутрь. Упоры 9 выполнены в виде сегментов фигуры вращения и вставлены в зазоры 15 фиксирующих элементов 10. На поверхностях упоров 9, обращенных к фиксирующим элементам 10, выполнены направляющие 16, соответствующие направляющим 14 фиксирующих элементов 10 для взаимного перемещения внутрь при перемещении монтажной головки 7 вверх. В сжатом состоянии упоры 9 и фиксирующие элементы 10 выполнены в виде единой фигуры вращения.
Устройство работает следующим образом.
Перед спуском в скважину башмак стыкуют с профильным перекрывателем 1 в следующей последовательности. Башмак вставляют в цилиндрический конец профильного перекрывателя 1 до упора монтажной головки 7 в профильные впадины, при этом упоры 9 и фиксирующие элементы 10 находятся в сжатом состоянии и представляют собой единую фигуру вращения. Затем с помощью усадочного кольца (не показано) кольцевое расширение 12 профильного перекрывателя 1 осаживают до плотного контакта с наружной поверхностью 11 упоров 9 и фиксирующих элементов 10. Таким образом, для соединения башмака с перекрывателем 1 необходимо осуществить только одну технологическую операцию – усадку кольцом (не показано).
После этого профильный перекрыватель 1 в сборе с башмаком спускают в интервал установки (не показан). Скважинная жидкость при этом заполняет профильный перекрыватель 1 через клапан 4 и центральный проходной канал 3 корпуса 2. Затем в колонне бурильных труб создают избыточное давление, которое передается в перекрыватель за счет перекрытия клапана 4 и выправляет профильные участки профильного перекрывателя 1 до плотного их взаимодействия со стенками скважины, фиксируя его относительно скважины.
После этого с помощью развальцевателя (не показан) расширяют и плотно прижимают к стенкам скважины цилиндрические участки и калибруют профильные участки перекрывателя 1. По достижении башмака монтажная головка 7 взаимодействует с ответным захватным устройством 17, находящимся на нижнем конце развальцевателя, и происходит захват монтажной головки 7. Затем колонну бурильных труб с развальцевателем и захватным устройством 17, и монтажной головкой 7 тянут вверх. При этом монтажная головка 7, оснащенная наружным буртом 8 и упорами 9, перемещается вверх относительно корпуса 2 до фиксации ограничителем 6. Кроме этого направляющие 16 упоров 9, вставленных в зазоры 15 фиксирующих элементов 10, взаимодействуют с направляющими 14, расположенными на поверхностях 13 фиксирующих элементов 10, и происходит взаимное перемещение упоров 9 и фиксирующих элементов 10 внутрь с уменьшением диаметра описанной окружности по этим элементам, меньше внутреннего диаметра кольцевого расширения 12 профильного перекрывателя 1 и обеспечивается прохождение башмака через перекрыватель 1. После этого развальцовывают нижнюю часть профильного перекрывателя 1, герметично изолируя интервал зоны осложнения при бурении скважины, а башмак поднимают на устье скважины.
Конструкция предлагаемого башмака является простой и надежной конструкцией, требующей минимальные затраты материальных средств и технических ресурсов на изготовление, установку и применение.
Формула изобретения
Башмак для установки профильного перекрывателя в скважине, включающий корпус, снабженный центральным проходным каналом, в котором расположен клапан, пропускающий снизу вверх, а сверху – кольцевой проточкой, вверху которой расположен ограничитель, монтажную головку, взаимодействующую с кольцевой проточкой корпуса с возможностью ограниченного перемещения вверх до взаимодействия с ограничителем и с возможностью взаимодействия сверху с установочным оборудованием, причем монтажная головка оснащена наружным буртом и упорами, взаимодействующими изнутри с поджатыми внутрь фиксирующими элементами, которые расположены равномерно относительно наружной поверхности корпуса с возможностью ограниченного перемещения внутрь при перемещении упоров с монтажной головкой вверх относительно корпуса, а наружная поверхность фиксирующих элементов выполнена в виде сегментов фигуры вращения, выполненной с возможностью взаимодействия с кольцевым расширением профильного перекрывателя, отличающийся тем, что на внутренних поверхностях фиксирующих элементов выполнены наклонные направляющие, причем кольцевая проточка корпуса выполнена наружной, а монтажная головка, наружный бурт которой расположен сверху, установлена снаружи этой проточки, при этом ограничитель выполнен в виде замкового элемента, фиксирующего монтажную головку в крайнем верхнем положении относительно корпуса, причем упоры взаимодействуют с монтажной головкой через бурт, которым соединены с возможностью ограниченного радиального перемещения внутрь, упоры выполнены в виде сегментов фигуры вращения, вставленных в зазоры фиксирующих элементов, при этом на поверхностях упоров, обращенных к фиксирующим элементам, выполнены направляющие, соответствующие направляющим фиксирующих элементов для взаимного перемещения внутрь при перемещении монтажной головки вверх, причем в сжатом состоянии упоры и фиксирующие элементы выполнены в виде единой фигуры вращения.
РИСУНКИ
|
|