|
|
(21), (22) Заявка: 2009105163/03, 13.02.2009
(24) Дата начала отсчета срока действия патента:
13.02.2009
(46) Опубликовано: 27.04.2010
(56) Список документов, цитированных в отчете о поиске:
RU 78514 U1, 27.11.2008. SU 976020 A1, 23.11.1982. RU 2344268 С1, 20.01.2009. RU 74156 U1, 20.06.2008. US 4830109 A, 16.05.1989.
Адрес для переписки:
423236, Республика Татарстан, г. Бугульма, ул. М. Джалиля, 32, “ТатНИПИнефть”, сектор создания и развития промышленной собственности
|
(72) Автор(ы):
Хамитьянов Нигаматьян Хамитович (RU), Киршин Анатолий Вениаминович (RU), Ягафаров Альберт Салаватович (RU), Багнюк Сергей Леонидович (RU), Пронин Виталий Евгеньевич (RU)
(73) Патентообладатель(и):
Открытое акционерное общество “Татнефть” им. В.Д. Шашина (RU)
|
(54) УСТРОЙСТВО ДЛЯ ПЕРЕКРЫТИЯ ЗОНЫ ОСЛОЖНЕНИЯ ПРИ БУРЕНИИ СКВАЖИНЫ
(57) Реферат:
Изобретение относится к бурению и капитальному ремонту скважин и предназначено, в частности, для локальной изоляции зоны осложнения ствола скважины при бурении. Устройство включает перекрыватель, состоящий из секций профильных труб, соединенных профильными торцами сваркой, с цилиндрическими участками по концам, соединенных резьбой, развальцеватель с вальцующей головкой, размещенной над профильным перекрывателем и имеющей узел соединения с бурильными трубами вверху и перекрывателем внизу. На нижнем конце перекрывателя размещен башмак с обратным клапаном, при этом развальцеватель ниже узла соединения с перекрывателем оснащен головкой с элементами, выполненными с возможностью взаимодействия с башмаком при его отвороте. Узел соединения с перекрывателем выполнен в виде цилиндрического корпуса с расположенными на его поверхности верхним и нижним упорами, нижний из которых выполнен с возможностью продольного перемещения вниз с фиксацией в крайнем положении, при этом упоры оснащены плашками, взаимодействующими с упорами с возможностью радиального перемещения, причем плашки верхних и нижних упоров размещены поочередно вокруг цилиндрического корпуса и оснащены наклонными поверхностями, взаимодействующими соответственно между собой с возможностью уменьшения диаметра описанной окружности при перемещении нижнего упора вниз, причем плашки при их максимальном диаметре описанной окружности выполнены с возможностью фиксации внутри перекрывателя. Повышается надежность, уменьшаются затраты. 2 ил.
Изобретение относится к бурению и капитальному ремонту скважин и предназначено, в частности, для локальной изоляции зоны осложнения ствола скважины при бурении.
Известно «Устройство для перекрытия зон осложнения в скважине» (патент RU 2270323, Е21В 29/10, опубл. Бюл. 5 от 20.02.2006 г.), включающее перекрыватель из профильных и цилиндрических труб, на нижнем конце которого закреплен башмак с элементом для отсоединения его от перекрывателя, и развальцеватели, нижний из которых соединен с верхним концом перекрывателя и имеет приспособление для взаимодействия с элементом для отсоединения башмака от перекрывателя, узел соединения устройства с колонной бурильных труб и шаровой обратный клапан, содержащий седло, при этом седло шарового обратного клапана размещено над перекрывателем и выполнено с перекрестными каналами, один из которых служит для сообщения полости колонны труб с затрубным пространством, а другие – с полостью перекрывателя, элемент для отсоединения башмака от перекрывателя выполнен в виде двухступенчатого выступа, на нижней ступени которого выполнены шлицы, а на верхней – кольцевые канавки, при этом приспособление нижнего развальцевателя для взаимодействия с элементом для отсоединения башмака от перекрывателя выполнено в виде колпака, в который ввинчена втулка с торцовыми выступами и прорезями, соответствующими шлицам нижней ступени выступа башмака, и имеющая кольцевые канавки с вмонтированными в них стопорными элементами в виде разрезных пружинных колец, выполненных с возможностью взаимодействия с кольцевыми канавками верхней ступени выступа башмака при отсоединении его от перекрывателя.
Недостатками данного устройства являются
– возможность аварийных ситуаций при отсоединении колонны бурильных труб с развальцевателями от перекрывателя, так как перекрыватель с нижним развальцевателем соединен на правой резьбе и в случае невыправления перекрывателя давлением невозможно отсоединить колонну бурильных труб с развальцевателями от перекрывателя и поднять из скважины;
– невозможность спускать перекрыватель большой длины, так как при этом его заполнение происходит не через башмак, а через верхний клапан, что, в свою очередь, затрудняет прохождение перекрывателя по стволу скважины;
– сложность изготовления и высокая стоимость башмака из-за наличия большого количества сложных деталей.
Наиболее близким по технической сущности и достигаемому результату является «Устройство для перекрытия зоны осложнения при бурении скважины» (патент RU 78514, Е21В 29/10, опубл. Бюл. 33 от 27.11.2008 г.), включающее перекрыватель, состоящий из секций профильных труб с цилиндрическими участками по концам, соединенных резьбой, развальцеватель с вальцующей головкой, размещенной над профильной трубой и имеющей узел соединения с бурильными трубами вверху и перекрывателем внизу, причем на нижнем конце перекрывателя размещен башмак с обратным клапаном. Секции профильных труб выполнены сборными, состоящими из профильных труб с концевым цилиндрическим участком, соединенными профильными торцами сваркой, при этом резьбы на цилиндрических участках секций профильных труб выполнены коническими и оснащены герметизирующим составом, причем наружная коническая резьба размещена на нижнем конце секций профильных труб, а внутренняя – сверху, при этом развальцеватель снизу оснащен вальцующей головкой с режущими элементами, выполненными с возможностью отворота башмака.
Недостатками данного устройства являются
– возможность аварийных ситуаций при отстыковке узла соединения от перекрывателя, так как перекрыватель с узлом соединения соединен на правой резьбе и в случае невыправления перекрывателя давлением невозможно отсоединить колонну бурильных труб с узлом соединения от перекрывателя и поднять из скважины;
– необходимость применения дополнительной вальцующей головки сложной конструкции, что приводит к значительному удорожанию оборудования.
Технической задачей предлагаемого устройства является создание надежной в работе и дешевой конструкции за счет применения узла соединения с перекрывателем, выполненным в виде раздвижного цилиндра, с возможностью уменьшения наружного диаметра, что исключает аварийные ситуации при отсоединении колонны бурильных труб с развальцевателем от перекрывателя.
Техническая задача решается устройством для перекрытия зоны осложнения при бурении скважины, включающим перекрыватель, состоящий из секций профильных труб, соединенных профильными торцами сваркой, с цилиндрическими участками по концам, соединенных резьбой, развальцеватель с вальцующей головкой, размещенной над профильным перекрывателем и имеющей узел соединения с бурильными трубами вверху и перекрывателем внизу, причем на нижнем конце перекрывателя размещен башмак с обратным клапаном, при этом развальцеватель ниже узла соединения с перекрывателем оснащен головкой с элементами, выполненными с возможностью взаимодействия с башмаком при его отвороте.
Новым является то, что узел соединения с перекрывателем выполнен в виде цилиндрического корпуса с расположенными на его поверхности верхним и нижним упорами, нижний из которых выполнен с возможностью продольного перемещения вниз с фиксацией в крайнем положении, при этом упоры оснащены плашками, взаимодействующими с упорами с возможностью радиального перемещения, причем плашки верхних и нижних упоров размещены поочередно вокруг цилиндрического корпуса и оснащены наклонными поверхностями, взаимодействующими соответственно между собой с возможностью уменьшения диаметра описанной окружности при перемещении нижнего упора вниз, причем плашки при их максимальном диаметре описанной окружности выполнены с возможностью фиксации внутри перекрывателя.
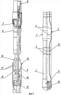
На Фиг.1 изображено устройство для перекрытия зоны осложнения при бурении скважины до раздачи внутренним гидравлическим давлением профильного перекрывателя.
На Фиг.2 изображено устройство для перекрытия зоны осложнения при бурении скважины после раздачи внутренним гидравлическим давлением профильного перекрывателя и отстыковки узла соединения от перекрывателя.
Устройство для перекрытия зоны осложнения при бурении скважины содержит перекрыватель 1 (см. Фиг. 1 и 2), состоящий из секций 2 профильных труб 3 с цилиндрическими участками 4 по концам, соединенных резьбой 5, развальцеватель 6 с вальцующей головкой 7, размещенной над перекрывателем 1 и имеющей узел соединения с бурильными трубами 8 вверху и узел соединения с перекрывателем 9 внизу, причем на нижнем конце перекрывателя 1 размещен башмак 10 с обратным клапаном 11.
Секции 2 профильных труб 3 выполнены сборными, состоящими из профильных труб 3 с концевым цилиндрическим участком 4 каждая, соединенными профильными торцами сваркой 12. Развальцеватель 6 снизу оснащен головкой 13 с элементами, выполненными с возможностью взаимодействия с башмаком 10 при его отвороте.
Узел соединения 9 с перекрывателем 1, включает верхний 14 и нижний 15 упоры, причем нижний упор выполнен с возможностью продольного перемещения вниз с фиксацией в крайнем положении при помощи фиксирующего устройства, например стопорного кольца 16. Упоры 14 и 15 оснащены плашками 17, которые имеют наклонные поверхности 18 (см. Фиг.2), взаимодействующие соответственно между собой, с возможностью уменьшения диаметра описанной окружности при перемещении нижнего упора 15 вниз. Причем плашки 17 при их максимальном диаметре описанной окружности выполнены с возможностью фиксации внутри перекрывателя 1, например – левой резьбы 19 (см. Фиг.1) (либо другим способом – завальцовкой трубы и т.д.).
Устройство работает следующим образом.
Секции 2 (см. Фиг.1) перекрывателя 1, соединенные профильными торцами сваркой 12, начиная с нижней, последовательно спускают в скважину, соединяя их при помощи резьб 5, размещенных по концам цилиндрических участков 4 профильных труб 3. Причем нижнюю секцию 2 оснащают башмаком 10 с обратным клапаном 11, а верхнюю – левой резьбой 19 под узел соединения с перекрывателем 9.
Далее к левой резьбе 19 верхней секции 2 присоединяют узлом соединения с перекрывателем 9 развальцеватель 6, с расположенной внизу головкой 13 с элементами, выполненными с возможностью взаимодействия с башмаком 10 при его отвороте. Затем на колонне бурильных труб (на чертеже не показаны), присоединенной к развальцевателю 6 узлом соединения с бурильными трубами 8, устройство спускают в интервал установки (на чертеже не показан). Скважинная жидкость при этом заполняет устройство через обратный клапан 11 башмака 10. После чего в колонне бурильных труб создается избыточное давление, которое передается в перекрыватель за счет перекрытия обратного клапана 11 башмака 10 и выправляет профильные участки профильных труб 3 до плотного их взаимодействия со стенками скважины, фиксируя перекрыватель 1 относительно скважины. Далее колонне бурильных труб придают правое вращение, в результате узел соединения с перекрывателем 9 (см. Фиг.2) отсоединяется от резьбы 19. Затем колонну бурильных труб вместе с узлом соединения 9 и головкой 13 поднимают вверх на расстояние, необходимое для перемещения нижнего упора 15 вместе с головкой 13 под действием собственного веса и реакции стенок скважины вниз до срабатывания фиксирующего устройства 16. При этом плашки 17, взаимодействуя между собой посредством наклонных поверхностей 18 и с упорами 14 и 15, тоже перемещаются, причем диаметр описанной окружности по плашкам 17 уменьшается и становится меньше внутреннего диаметра цилиндрических участков профильных труб. После этого развальцевателю 6 придают вращательно-поступательное движение вниз, расширяя и плотно прижимая к стенкам скважины вальцующей головкой 7 развальцевателя 6 цилиндрические участки 4 и калибруя профильные участки профильной трубы 3. По достижении башмака 10 головка 13 его отворачивает, после чего башмак падает на забой, а головка 7 развальцевателя 6 полностью прижимает перекрыватель 1 к стенкам скважины, герметично изолируя интервал зоны осложнения при бурении скважины.
Предлагаемое устройство является простой и надежной в работе конструкцией за счет применения узла соединения с перекрывателем, выполненным в виде раздвижного цилиндра, с возможностью уменьшения наружного диаметра, что исключает аварийные ситуации при отсоединении колонны бурильных труб от перекрывателя.
Формула изобретения
Устройство для перекрытия зоны осложнения при бурении скважины, включающее перекрыватель, состоящий из секций профильных труб, соединенных профильными торцами сваркой, с цилиндрическими участками по концам, соединенных резьбой, развальцеватель с вальцующей головкой, размещенной над профильным перекрывателем и имеющей узел соединения с бурильными трубами вверху и перекрывателем внизу, причем на нижнем конце перекрывателя размещен башмак с обратным клапаном, при этом развальцеватель ниже узла соединения с перекрывателем оснащен головкой с элементами, выполненными с возможностью взаимодействия с башмаком при его отвороте, отличающееся тем, что узел соединения с перекрывателем выполнен в виде цилиндрического корпуса с расположенными на его поверхности верхним и нижним упорами, нижний из которых выполнен с возможностью продольного перемещения вниз с фиксацией в крайнем положении, при этом упоры оснащены плашками, взаимодействующими с упорами с возможностью радиального перемещения, причем плашки верхних и нижних упоров размещены поочередно вокруг цилиндрического корпуса и оснащены наклонными поверхностями, взаимодействующими соответственно между собой с возможностью уменьшения диаметра описанной окружности при перемещении нижнего упора вниз, причем плашки при их максимальном диаметре описанной окружности выполнены с возможностью фиксации внутри перекрывателя.
РИСУНКИ
|
|