|
|
(21), (22) Заявка: 2009100579/03, 11.01.2009
(24) Дата начала отсчета срока действия патента:
11.01.2009
(46) Опубликовано: 27.04.2010
(56) Список документов, цитированных в отчете о поиске:
SU 926208 A, 07.05.1982. SU 784397 A1, 15.09.1992. RU 2081986 C1, 20.06.1997. US 4679638 A, 14.07.1987. US 5135059 A, 04.08.1992.
Адрес для переписки:
614000, г.Пермь, ул. Карпинского, 24, ООО “ВНИИБТ-Буровой инструмент”, ОИС
|
(72) Автор(ы):
Бобров Михаил Григорьевич (RU), Муратова Марина Генриховна (RU), Трапезников Сергей Германович (RU)
(73) Патентообладатель(и):
Общество с ограниченной ответственностью “ВНИИБТ-Буровой инструмент” (RU)
|
(54) ВИНТОВОЙ ЗАБОЙНЫЙ ДВИГАТЕЛЬ
(57) Реферат:
Изобретение относится к области буровой техники (инструмента), в частности к винтовым забойным двигателям (ВЗД) для бурения нефтяных и газовых скважин. ВЗД содержит секцию рабочих органов: статор и эксцентрично расположенный внутри него ротор, шпиндельную секцию и внутренний соединительный узел в виде S-образно изогнутого торсиона, размещенного ниже ротора или внутри него. Торсион имеет рабочую длину L и диаметр d, заданные соотношениями:


где =2 ·Z·n, Z – число зубьев ротора; Е – модуль упругости, МПа, – удельный вес, кг/м3; G – осевая сила, Н; n – частота вращения, с-1; a, b – безразмерные параметры-координаты, задающиеся из внутренней части области устойчивости торсиона, ограниченной линиями: a=-3b+19, a=0, a=b; а=-b+4. Обеспечивает повышение ресурса и надежности ВЗД. 1 з.п. ф-лы, 3 ил.
Изобретение относится к области буровой техники (инструмента), в частности к винтовым забойным двигателям для бурения нефтяных и газовых скважин.
Известен винтовой забойный двигатель (ВЗД), содержащий секцию рабочих органов, включающую статор и эксцентрично расположенный внутри него ротор, шпиндельную секцию и внутренний соединительный узел, выполненный в виде карданного вала зубчатого или пальцевого типа или шарнирного устройства (Балденко Д.Ф. и др. Винтовые забойные двигатели: Справочное пособие. М.: Недра, 1999, с.68-71).
Недостатками известного винтового забойного двигателя с перечисленными соединительными узлами являются многодетальность, сложность изготовления и сборки, что, в свою очередь, отражается на недостаточно высоких ресурсе и надежности двигателя.
Известен ВЗД, включающий секцию рабочих органов, шпиндельную секцию и внутренний соединительный узел, выполненный в виде торсиона, соединенного с сопряженными деталями шлицевым, или резьбовым, или конусным соединениями (Балденко Д.Ф. и др. Винтовые забойные двигатели: Справочное пособие. М.: Недра, 1999).
Применение в известном винтовом забойном двигателе торсиона (гибкого вала) с шлицевым, или резьбовым, или конусным соединениями значительно упростило конструкцию винтового забойного двигателя, улучшило условия передачи крутящего момента, способствовало небольшому увеличению долговечности.
Однако, исходя из конструктивных особенностей и принципа работы винтового забойного двигателя, остро стоит проблема уменьшения влияния действующего на ротор перекашивающего момента, создаваемого гидравлическими силами, из-за которого происходит искажение геометрии зацепления рабочих органов, а значит, увеличение объемных утечек и механических потерь.
Указанный недостаток частично устраняет винтовой забойный двигатель (а.с. СССР 784397), содержащий секцию рабочих органов, шпиндельную секцию и торсион, соединенный с ротором выше рабочей зоны ротора и статора в отличие от обычной схемы установки торсиона ниже ротора.
Но и такое конструктивное решение, как в а.с. 784397, не решает основные проблемы нагрузочной способности двигателя от возникающих при его работе сил в комплексе: осевой силы, крутящего момента и отрицательных сил (перекашивающего момента, перерезывающей силы). Анализ математических расчетов на прочность, устойчивость и экспериментальных исследований показывает, что данная проблема зависит от правильного выбора геометрических размеров рабочей длины L и диаметра d торсиона.
Известен ВЗД (а.с. СССР 926208), который является наиболее близким по технической сущности к заявляемому изобретению и выбран в качестве прототипа. ВЗД содержит секцию рабочих органов, включающую статор и расположенный внутри него ротор, шпиндельную секцию и торсион, причем рабочая длина L и диаметр d торсиона связаны соотношением L/d=10-60.
Недостатки прототипа заключаются в том, что указанное соотношение L/d=10-60 имеет очень широкий диапазон при определении диаметра d и длины L торсиона и не учитывает энергетические показатели назначения для конкретного ВЗД и величины действующих в нем сил, что приводит к снижению прочности, устойчивости, повышению отрицательных нагрузок, действующих со стороны торсиона на сопряженные детали, и в связи с этим к снижению надежности и ресурса двигателя.
Технической задачей предлагаемого изобретения является повышение ресурса и надежности двигателя, стабилизации рабочих технических характеристик ВЗД за счет оптимизации геометрических размеров торсиона.
Технический результат предлагаемого изобретения достигается тем, что в винтовом забойном двигателе, содержащем секцию рабочих органов, включающую статор и эксцентрично расположенный внутри него ротор, шпиндельную секцию и внутренний соединительный узел, соединяющий обе секции, согласно изобретению внутренний соединительный узел в виде S-образно изогнутого торсиона, размещенного ниже ротора или внутри него, имеет рабочую длину L и диаметр d, заданные соотношениями:


где =2 ·Z·n,
Z – число зубьев ротора;
Е – модуль упругости, МПа;
– удельный вес, кг/м3;
G – осевая сила, Н;
n – частота вращения, с-1;
a, b – безразмерные параметры-координаты, задающиеся из внутренней части области устойчивости торсиона, ограниченной линиями: а=-3b+19; а=0; a=b; а=-b+4.
Кроме того, согласно изобретению торсион винтового забойного двигателя изготовлен из титана или титановых сплавов.
Предлагаемое изобретение в отличие от прототипа позволяет определить геометрические размеры торсиона (рабочую длину L и диаметр d) для конкретного двигателя с учетом показателей назначения (частоты вращения, осевой гидравлической силы, зависящих от расхода бурового раствора, габарита двигателя и кинематического отношения в рабочей паре ротор-статор) и механических свойств материала (модуля упругости, удельного веса) через безразмерные параметры-координаты а и b области устойчивости, что приводит к повышению ресурса и надежности двигателя.
Выполнение торсиона с геометрическими размерами (L, d), определенными с учетом показателей назначения и механических свойств материала через безразмерные параметры-координаты а и b из внутренней части области устойчивости торсиона, ограниченной линиями а=-3b+19; а=0; а=b, а=-b+4, позволяет уменьшить отрицательное воздействие нагрузок, действующих со стороны торсиона на сопрягаемые детали и узлы двигателя, и улучшить работу двигателя.
Выполнение ВЗД с торсионом из титана или титановых сплавов имеет преимущества: такой торсион более легкий, гибкий и упругий, с меньшей жесткостью на изгиб по сравнению со стальным торсионом при одинаковых геометрических размерах, что приводит к уменьшению воздействия отрицательных сил, стабилизации контакта зацепления в рабочей паре, уменьшению износа основных деталей, узлов и объемных утечек, увеличению ресурса, повышению надежности и в итоге всех технико-экономических показателей бурения.
Значения предельных величин прочности у стали и титана практически равные, но значения модуля упругости (2·105 МПа) и удельного веса (4,5 г/см3) титана в два раза меньше, чем у стали. Следовательно, при работе ВЗД с торсионом из титана (титановых сплавов) так же кратно снизится отрицательное влияние изгибающего момента и перерезывающей силы, износ деталей двигателя. Таким образом, винтовой забойный двигатель будет работать более стабильно, длительно, сохраняя технические показатели назначения в рабочем режиме.
Изобретение поясняется иллюстрациями.
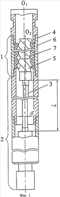
На фиг.1 показан винтовой забойный двигатель (частичный разрез) с торсионом, установленным ниже ротора.
На фиг.2 показан винтовой забойный двигатель с торсионом, расположенным внутри ротора.
На фиг.3 изображена область устойчивости торсиона, где a, b – безразмерные параметры-координаты.
Винтовой забойный двигатель (фиг.1 и 2) содержит секцию рабочих органов 1, шпиндельную секцию 2 и торсион 3. Секция рабочих органов 1 включает статор 4 и расположенный внутри него ротор 5. Статор 4 выполнен в виде стального корпуса 6 с привулканизированной внутри него резиновой обкладкой 7, имеющей винтовые зубья левого направления. Стальной ротор 5 имеет наружные винтовые зубья также левого направления, число которых на единицу меньше, чем у статора 4. Ось ротора О2 смещена относительно оси статора O1 на величину эксцентриситета е, равную половине высоты зуба. Торсион 3 является внутренним соединительным узлом деталей винтового забойного двигателя и выполнен металлическим – из стали или титана (титановых сплавов). Торсион 3 устанавливают ниже ротора 5 (фиг.1) или внутри него (фиг.2).
Винтовой забойный двигатель работает следующим образом.
Зубья ротора 5 и статора 4, находясь в непрерывном контакте, образуют замыкающиеся на длине шага статора 4 единичные камеры. Буровой раствор, поступающий в двигатель от насосов, проходит к долоту при провороте ротора 5 двигателя внутри обкладки 7 статора 4, который обкатывается по зубьям статора 4 под действием неуравновешенных гидравлических сил. При этом ротор 5 совершает планетарное движение: геометрически ось О2 ротора 5 вращается относительно оси O1 статора 4 против часовой стрелки (переносное движение), а сам ротор 5 поворачивается по часовой стрелке (абсолютное движение). За счет разности в числах зубьев ротора 5 и статора 4 переносное движение редуцируется в абсолютное с передаточным числом, равным числу зубьев ротора 5, что обеспечивает пониженную частоту вращения и высокий момент силы на выходном валу двигателя.
Шпиндельная секция 2 служит для восприятия гидравлических нагрузок, возникающих в секции рабочих органов 1, реакции забоя и радиальных нагрузок от долота при бурении.
Торсион 3 преобразует планетарное движение ротора 5 в соосное вращение выходного вала двигателя и служит для передачи крутящего момента и осевой гидравлической нагрузки, возникающих в рабочих органах, на выходной вал шпинделя.
При этом торсион 3 должен выдерживать сложное напряженно-деформируемое состояние от передаваемых сил и возникающих отрицательных сил из-за непостоянной ориентации ротора при работе двигателя и оказывать минимальные отрицательные воздействия на сопряженные с ним детали для уменьшения износа и предотвращения поломки.
Для выполнения предъявляемых к торсиону требований в предлагаемом изобретении геометрические размеры (рабочая длина L и диаметр d) торсиона определяются через безразмерные параметры-координаты из внутренней части области устойчивости торсиона.
Область устойчивости торсиона получена теоретическим путем из математических расчетов, в которых принималось, что во время работы двигателя торсион обращается вокруг основной оси двигателя с частотой, равной частоте обращения ротора. Обращение торсиона рассматривается как изгибные колебания, описываемые дифференциальным уравнением в частных производных, решение которого проводится с учетом схемы соединения ротора с валом шпинделя (для вертикального бурения и отклонителя) и условий закрепления концов торсиона и его первоначальной S-изогнутости – соединение не соосных деталей (граничные условия для расчетов на устойчивость).
После решения дифференциального уравнения относительно амплитуды колебаний и проведения необходимых преобразований получаем трансцендентное уравнение для определения устойчивости торсиона:

где а, b – безразмерные параметры-координаты.
Решение трансцендентного уравнения относительно а и b получено численным методом и графически изображено на фиг.3 в виде кривой I (KF). Для инженерных расчетов допустимо кривую I аппроксимировать в прямую линию II а=-3b+19. Линия III (OF) a=0, ограничивающая область устойчивости, соответствует работе ВЗД в тормозном режиме, когда осевая сила G максимальна, частота вращения выходного вала n практически равна нулю. Линия IV (ОК) получена из расчетов, которые показали, что эту пограничную прямую можно минимизировать как a=b, что соответствует зоне рабочего режима винтового забойного двигателя от холостого хода до режима максимального КПД. Исходя из предназначения торсиона и требований, предъявляемых к нему, базы данных многочисленных расчетов на устойчивость торсиона и напряженно-деформируемого состояния сопрягаемых с ним деталей, анализа стендовых характеристик двигателя была получена линия V (DN) a=-b+4, которая разграничивает общую область устойчивости OKF на зоны ODN и DKFN.
Установлено, что торсион с рабочей длиной L и диаметром d, рассчитанными через безразмерные параметры-координаты а и b из внутренней части области ODN, устойчив, обладает высоким запасом прочности, но при этом имеет повышенную жесткость на изгиб. В винтовом забойном двигателе при работе с таким торсионом будут возникать большие по величине отрицательные силы: перекашивающий момент и перерезывающая сила, следствием действия которых будет повышенный износ в рабочей паре, ухудшение энергетических показателей назначения, стабильности его работы, заниженный ресурс.
Анализ испытаний двигателей и математические расчеты показали, что торсион с рабочей длиной L и диаметром d, определенными через безразмерные параметры-координаты, взятые из внутренней части области устойчивости DKFN, является устойчивым, имеет достаточный запас прочности и оказывает минимальные отрицательные воздействия на сопрягаемые с ним детали.
Например, винтовой забойный двигатель Д 1-105, содержащий секцию рабочих органов с кинематическим отношением zp/zc, равным 5/6, (zp и zc – числа зубьев ротора и статора соответственно), секцию шпиндельную и торсион, расположенный внутри ротора (фиг.2), у которого рабочая длина торсиона L и диаметр d определены по предлагаемому изобретению.
В расчете геометрических размеров торсиона (L, d) винтового забойного двигателя Д 1-105 по предлагаемому изобретению учтены следующие исходные данные:
– расход бурового раствора Q=10, л/с;
– осевая сила G=45,9, кН, частота вращения вала n=3,8, с-1 (режим максимальной мощности);
– свойства материала (сталь): модуль упругости Е=2·105, МПа, удельный вес =7,85, кг/м3;
– безразмерные параметры-координаты из области устойчивости DKFN_a=2, b=3,2.
В итоге получены значения:
L=1540 мм и d=36,5 мм.
С учетом конструкторских возможностей винтового забойного двигателя были приняты значения геометрических размеров торсиона винтового забойного двигателя Д1-105 рабочая длина L=1520 мм, диаметр d=36 мм.
Винтовой забойный двигатель Д1-105 востребован на буровых предприятиях, очень стабилен в работе, обладает высокой надежностью, вырабатывает полный ресурс 600 часов без замены торсиона.
Таким образом, торсион с геометрическими размерами (рабочей длиной L и диаметром d), определенными по соотношениям, приведенным в предлагаемом изобретении, выдерживает сложное напряженно-деформируемое состояние от передаваемых сил и возникающих отрицательных сил из-за непостоянной ориентации ротора при работе винтового забойного двигателя и, кроме того, оказывает минимальные отрицательные воздействия на сопряженные с ним детали для уменьшения износа и их поломки, что повышает ресурс и надежность ВЗД.
Формула изобретения
1. Винтовой забойный двигатель, содержащий секцию рабочих органов, включающую статор и эксцентрично расположенный внутри него ротор, шпиндельную секцию и внутренний соединительный узел, соединяющий обе секции, отличающийся тем, что внутренний соединительный узел в виде S-образно изогнутого торсиона, размещенного ниже ротора или внутри него, имеет рабочую длину L и диаметр d, заданные соотношениями:

 где =2 ·Z·n, Z – число зубьев ротора; Е – модуль упругости, МПа;
– удельный вес, кг/м3; G – осевая сила, Н; n – частота вращения, с-1; a, b – безразмерные параметры-координаты, задающиеся из внутренней части области устойчивости торсиона, ограниченной линиями: а=-3b+19; а=0; a=b; a=-b+A.
2. Винтовой забойный двигатель по п.1, отличающийся тем, что торсион винтового забойного двигателя изготовлен из титана или титановых сплавов.
РИСУНКИ
|
|