|
|
(21), (22) Заявка: 2009104672/03, 11.02.2009
(24) Дата начала отсчета срока действия патента:
11.02.2009
(46) Опубликовано: 27.04.2010
(56) Список документов, цитированных в отчете о поиске:
RU 24499 U1, 10.08.2002. WO 97/38203 A1, 16.10.1997. ЕР 1589186 А2, 26.10.2005. RU 2168033 C1, 27.05.2001. SU 640205 A, 27.02.1979.
Адрес для переписки:
344038, г.Ростов-на-Дону, а/я 276, Т.П. Шабановой
|
(72) Автор(ы):
Андрианов Алексей Владимирович (RU)
(73) Патентообладатель(и):
Андрианов Алексей Владимирович (RU)
|
(54) ТУРНИКЕТ
(57) Реферат:
Изобретение относится к области строительства, а именно к конструкциям турникетов. Изобретение позволит упростить конструкцию и повысить надежность работы. Турникет содержит неподвижную стойку, плиту механизма с подшипниковым узлом, вал, установленный с возможностью вращения в подшипниковом узле, соединенную с валом ступицу с преграждающими штангами, механизмы позиционирования и фиксации преграждающих штанг, устройство плавной доводки преграждающих штанг до исходного положения, датчик угла поворота, блок электронного управления, световую индикацию и пульт дистанционного управления. Устройство плавной доводки выполнено в виде жидкостной муфты, мальтийского креста и толкателей, расположенных на механизме позиционирования с возможностью входа в пазы мальтийского креста при условии приближения преграждающих штанг к исходному положению и с возможностью выхода из пазов мальтийского креста в промежуточных положениях штанг. Механизм фиксации выполнен в виде одного соленоида, срабатывающего только при попытке несанкционированного прохода в обоих направлениях. 6 з.п. ф-лы, 8 ил.
Предлагаемое изобретение относится к строительству, а именно к конструкциям турникетов, используемых для контролируемого пропуска людей на проходных различного назначения.
Известен «Турникет», содержащий неподвижный корпус, установленную на нем с возможностью вращения крестовину с осью, выполненную в виде диска с ограждающими штангами, механизм поворота крестовины и механизм фиксации с подпружиненным фиксатором, причем механизм поворота крестовины представляет собой кулачковый механизм с роликовым подпружиненным толкателем, кулачок которого жестко закреплен на оси крестовины и имеет форму многоугольника с выполненными между его вершинами и расположенными через равные углы пазами, количество которых равно количеству ограждающих штанг, а ширина меньше диаметра ролика толкателя, при этом ролик толкателя изготовлен из упругого материала, а механизм фиксации выполнен в виде двух приводов, имеющих по два устойчивых положения, каждый из которых связан тягой, совершающей возвратно поступательное перемещение, с фиксатором, выполненным в виде шпонки, установленной с возможностью взаимодействия с выполненными в диске крестовины пазами и имеющей возможность перемещения в направлении движения тяг. (См. Патент РФ 2098591, Кл. МПК: Е06В 11/08, дата публ. 10,12.97 г.)
Недостатком данного турникета является то, что механизм поворота не содержит устройства плавной доводки преграждающих штанг до исходного положения, выключенного в промежуточном положении преграждающих штанг и включающегося вблизи исходного положения штанг. Этот недостаток снижает плавность доводки преграждающих штанг до исходного положения и приводит к тому, что турникет подходит к исходному положению с ударом и перебегом. Кроме того, механизм фиксации состоит из двух приводов, включающихся при каждом проходе через турникет, что снижает надежность его работы.
Наиболее близким аналогом к предлагаемому изобретению является «Турникет», содержащий неподвижное основание, вал, установленную на нем с возможностью вращения крестовину, выполненную в виде конического диска с тремя ограждающими штангами, механизм поворота крестовины в виде кулачкового механизма с подпружиненным толкателем и механизм фиксации, причем неподвижное основание по центральной оси снабжено валом, вращающимся в подшипниках бобышки, жестко установленной снизу основания, а кулачковый механизм выполнен в виде кулачка с трехгранной овальной боковой поверхностью, верхняя часть которой снабжена зубьями, чередующимися с тремя симметрично расположенными впадинами, параллельными вертикальной оси кулачка, при этом на кулачок сверху насажен жестко закрепленный диск с перфорацией, а снизу расположены три ролика, кроме того, механизм поворота крестовины снабжен двумя электромагнитами с подпружиненными якорями, связанными рычагами с двумя собачками, вырезы которых взаимодействуют с роликами кулачка, а также толкателем с подпружиненным штоком и бруском клинообразной формы, демпфером и рычагом с роликом, входящим в контакт с овальной боковой поверхностью кулачка, в свою очередь механизм фиксации выполнен в виде подпружиненного храповика, расположенного на оси сверху неподвижного основания и входящего в зацепление с зубьями кулачка, кроме того, турникет снабжен контролером, содержащим плату с датчиками, реагирующими на вращение диска с перфорацией.
(См. Свидетельство на полезную модель RU 24499 U1, Кл. МПК: Е06В 11/08, дата публ. 10.08.2002 г.)
Недостатком данного турникета является то, что для демпфирования механизма поворота при подходе преграждающих штанг к исходному положению применяется демпфер с прямолинейным движением демпфирующего элемента (штока гидроцилиндра), при передаче усилия на который от вращающегося кулачка механизма поворота возникают перпендикулярные к движению штока демпфирующего элемента силы, а в момент касания ролика и кулачка имеет место удар, что в совокупности отрицательно влияет на надежность механизма демпфирования и усложняет его конструкцию. Кулачок имеет сложный профиль, для изготовления которого требуется специальное высокоточное оборудование или весьма дорогой станок с ЧПУ. В качестве демпфера используется высокоточная, а следовательно, дорогостоящая, плунжерная пара с калиброванными перепускными отверстиями. Для передачи вращательного движение кулачка на плунжерный демпфер используются дополнительные детали и узлы: рычаг и ролик, что усложняет конструкцию и снижает надежность турникета. Кроме того, управление открытием и блокированием механизма поворота осуществляется с помощью двух электромагнитов, срабатывающих при каждом проходе через турникет, что снижает надежность его работы и повышает энергопотребление турникета.
Технический результат предлагаемого изобретения заключается в упрощении конструкции турникета, улучшении его технологичности при изготовлении, повышении надежности работы и снижении энергопотребления турникета при эксплуатации.
Достижение указанного результата обеспечивается за счет того, что турникет содержит неподвижную стойку, плиту механизма с подшипниковым узлом, вал, установленный с возможностью вращения в подшипниковом узле, соединенную с валом ступицу с преграждающими штангами, механизмы позиционирования и фиксации преграждающих штанг, устройство плавной доводки преграждающих штанг до исходного положения, датчик угла поворота, блок электронного управления, световую индикацию и пульт дистанционного управления.
В соответствие с изобретением устройство плавной доводки выполнено в виде жидкостной муфты, мальтийского креста и толкателей. Толкатели расположены на механизме позиционирования таким образом, чтобы они входили в пазы мальтийского креста при условии приближения преграждающих штанг к исходному положению и чтобы толкатели выходили из пазов мальтийского креста в промежуточных положениях штанг.
При этом механизм фиксации выполнен в виде одного соленоида, срабатывающего только при попытке несанкционированного прохода в обоих направлениях (на вход и на выход).
Кроме того, вращающаяся подвижная часть жидкостной муфты жестко и соосно соединена с мальтийским крестом, а неподвижная часть муфты посредством кронштейна соединена с корпусом турникета.
Кроме того, толкатели выполнены в виде любого тела вращения (ролик, палец, подшипник скольжения, качения и т.д.).
Кроме того, количество установленных на механизме позиционирования толкателей соответствует количеству преграждающих штанг.
Кроме того, устройство плавной доводки преграждающих штанг до исходного положения снабжено ограничителями самопроизвольного поворота мальтийского креста в промежуточном положении преграждающих штанг.
Кроме того, турникет дополнительно снабжен механизмом принудительного ручного запирания турникета, имеющим переключатель, который блокирует срабатывание световой индикации при разрешении прохода.
Турникет поясняется чертежами:
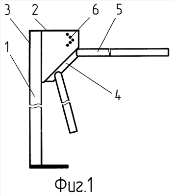
На фиг.1 представлен общий вид турникета;
На фиг.2 – вид механизма турникета сбоку (коромысло 16 с роликом 15 не показано);
На фиг.3 – вид механизма турникета сверху в исходном положении преграждающих штанг;
На фиг.4 – вид механизма турникета сверху в промежуточном положении преграждающих штанг;
На фиг.5 – механизм фиксации турникета;
На фиг.6 – вид Б на фиг.5;
На фиг.7 – механизм принудительного ручного запирания турникета;
На фиг.8 – фотография механизма турникета (в качестве приложения к чертежам).
Турникет состоит из неподвижной стойки 1 со съемными верхней 2 и задней 3 панелями. В верхней части турникета расположен его механизм, включающий, кроме прочего, ступицу 4, с тремя прикрепленными к ней преграждающими штангами 5. Ось вращения ступицы 4 штанг 5 турникета наклонена по отношению к горизонту обычно на 45-50°, при этом в исходном положении одна из трех преграждающих штанг 5 занимает горизонтальное положение и служит препятствием для несанкционированного прохода. В верхней части турникета имеются также световые индикаторы 6 состояния турникета (включен-выключен, проход разрешен – проход запрещен). Звуковая сигнализация (не показана) служит для оповещения охраны о попытках несанкционированного прохода. Управление турникетом (разрешения на пропуск одного человека или группы людей в прямом или обратном направлении) может осуществляться как охранником с помощью кнопочного пульта дистанционного управления, так и проходящими через турникет людьми с помощью идентификаторов личности. В последнем случае турникет предоставляет системе контроля и управления доступом (СКУД) всю информацию, необходимую СКУД для выполнения функций управления турникетом, регистрации и учета проходящих через турникет людей и др.
Механизм турникета состоит из механизма позиционирования, устройства плавной доводки преграждающих планок, механизма фиксации, механизма принудительного ручного запирания, датчика угла поворота 7.
Механизм позиционирования обеспечивает доводку и позиционирование в исходном положении преграждающих штанг 5 после прохода человека через турникет. Как видно на фиг.2, ступица 4 штанг 5 турникета жестко соединена с валом 8, вращающимся в подшипниках 9, установленных в корпусе 10 подшипников с пружинным упорным кольцом (не показано). Подшипники 9 поджаты втулкой 11 с диском 12, при этом вал 8, втулка 11 и диск 12 жестко соединены сварными швами, образуя единое целое, вращающееся совместно со ступицей 4 и преграждающими штангами 5. Корпус 10 подшипников 9 жестко закреплен на плите 13 механизма, в свою очередь, жестко установленной на стойке 1 турникета. На диске 12 жестко установлены профильные кулачки 14, в частном случае круглые, которые совместно с подпружиненным роликом 15 и коромыслом 16 (см. фиг.3, 4) обеспечивают доводку и позиционирование в исходном положении преграждающих штанг 5. Коромысло 16 имеет возможность поворачиваться вокруг оси 17, жестко закрепленной на плите 13 механизма. Усилие прижатия ролика 15 коромысла 16 к кулачкам 14 регулируется натяжным устройством, состоящим из пружины 18, крюка 19 со стопорной гайкой и втулки 20, жестко установленной на плите 13 механизма.
Устройство плавной доводки преграждающих штанг 5 до исходного положения состоит, во-первых, из жидкостной муфты 21, состоящей из двух поворачивающихся относительно друг друга частей, причем одна часть кронштейном 22 соединена с корпусом турникета и является неподвижной, а вторая часть жестко и соосно соединена с трехпозиционным мальтийским крестом 23 и может вращаться, во-вторых, из трех расположенных под углами 120° толкателей 24 (в частном случае подшипников), сидящих на осях, жестко закрепленных на диске 12. Обе части жидкостной муфты 21 соединены таким образом, что между ними имеется полость, заполненная вязкой жидкостью, которая создает сопротивление вращению подвижной части. В предложенной конструкции устройства плавной доводки преграждающих штанг взамен демпфера с поступательным движением используется пара с вращательными движениями – жидкостная муфта 21 и мальтийский крест 23, что дает следующие преимущества: не требуется вращательное движение преобразовывать в поступательное, не требуется изготовление кулачка сложного профиля; не нужны точные плунжерные пары; не нужны перепускные клапаны в демпфере; не требуется высокая степень герметизации демпфера; реализована кинематика с применением мальтийского креста 23, которая обеспечивает плавный безударный вход в зацепление ведущего звена – ролика с ведомым звеном – жидкостной муфты 21 с крестом 23. Условиями плавного начала зацепления является выполнение соотношений: R2=R1·tg и А=R1/cos (см. фиг.3).
На фиг.3 показано взаимное расположение толкателей 24 и мальтийского креста 23 в исходном положении преграждающих штанг 5, которое обеспечивается механизмом позиционирования, при котором одна из преграждающих штанг 5 турникета занимает горизонтальное положение. В этом положении толкатель 24 находится в зацеплении с мальтийским крестом 23 и, соответственно, с жидкостной муфтой 21.
На фиг.4 показано взаимное положение толкателей 24 и мальтийского креста 23 в промежуточном положении преграждающих штанг 5, повернутых на 60° относительно исходного положения, что имеет место на середине прохода через турникет. В этом положении толкатели 24 находятся вне мальтийского креста 23, поэтому при вращении преграждающих штанг 5 жидкостная муфта 21 остается неподвижной и не препятствует быстрому вращению механизма позиционирования и преграждающих штанг 5. Для того чтобы избежать самопроизвольного вращения мальтийского креста 23 и гарантировать попадание толкателя 24 в паз мальтийского креста 23 при вращении диска 12 используются ограничители 25, которые препятствуют вращению мальтийского креста 23, пока толкатель 24 не попадет в его паз. Под действием подпружиненного ролика 15 коромысла 16 на кулачок 14 механизма поворота преграждающая штанга 5 стремится занять исходное положение. При приближении к исходному положению толкатель 24 попадает в паз мальтийского креста 23 и начинает вращать жидкостную муфту 21, сначала медленно, а затем быстрее. При этом жидкостная муфта 21 поглощает кинетическую энергию преграждающих штанг 5 и замедляет их скорость.
Механизм фиксации турникета состоит из толкающего, неподвижно закрепленного на стойке 1 турникета, соленоида 26 с сердечником 27, ограничителя 28 хода сердечника, стопора 29, пружины 30 стопора, направляющей 31 стопора и упоров 32. Упоры 32 в количестве 6 шт. жестко закреплены на ступице 4 штанг турникета (вместо шести упоров 32 можно использовать три паза на ступице 4 штанг).
Работает механизм фиксации турникета следующим образом: при повороте преграждающих штанг 5 датчик 7 угла поворота (на фиг.5 не показан) передает информацию о том, что начато движение, в блок электронного управления (БЭУ) турникета или в СКУД, которые анализируют, было или не было разрешение на проход. Если разрешение на проход было, то соленоид 26 не включается; таким образом, при отсутствии нарушителей прохода соленоид 26 механизма фиксации турникета не срабатывает, что способствует его долговечной работе и пониженному энергопотреблению турникета. При попытке неразрешенного прохода соленоид 26 срабатывает, его сердечник 27 втягивается, своим другим концом толкая стопор 29. При своем движении стопор 29 сжимает пружину 30. Стопор 29 движется в прочной направляющей 31, жестко связанной со стойкой 1. Между стопором 29 и ступицей 4 штанг 5 имеется небольшой зазор, преодолев который стопор 29 становится между упорами 32 и препятствует вращению преграждающих штанг 5.
Расстояние между соседними упорами 32 выбирается таким, чтобы быстродействия соленоида 26 хватило для запирания (фиксации) турникета. Одновременно с запиранием турникета может подаваться звуковой и/(или) световой сигналы о факте нарушения правил прохода через турникет. После снятия напряжения с соленоида 26 стопор 29 и сердечник 27 соленоида 26 под действием пружины 30 сжатия возвращаются в исходное положение.
Механизм принудительного ручного запирания служит для запирания турникета, если возникла такая необходимость, например, при исчезновении питающего турникет напряжения. Он состоит из замка 33, жестко установленного на стойке турникета 1, стопора 34 ручного запирания, возвратной пружины 35 ручного запирания, направляющей 36 стопора 34 ручного запирания и переключателя 37. Переключатель 37 неподвижно закреплен на направляющей 36 с помощью планки 38.
При повороте ключом личинки замка 33 в направлении запирания турникета ригель замка толкает стопор 34 ручного запирания, который входит между упорами 32 и препятствует повороту преграждающих штанг 5. Переключатель 37 установлен таким образом, что одновременно с запиранием турникета стопор 34 ручного запирания через штырь 39 воздействует на переключатель 37.
При этом происходит блокирование срабатывания световой индикации при разрешении прохода таким образом, что при получении разрешения на проход от пульта дистанционного управления или от системы контроля и управления доступом индикация разрешения прохода не переключается на зеленый цвет, а остается гореть красным светом, предупреждающим о закрытом состоянии турникета.
При открытии замка стопор 34 под действием пружины 35 возвращается в исходное положение и турникет разблокируется.
Заявителем разработан комплект конструкторской документации Т7С-0-0, турникет серийно выпускается с января 2008 года, испытания подтвердили успешную реализацию указанных заявителем отличительных особенностей.
Формула изобретения
1. Турникет, содержащий неподвижную стойку, плиту механизма с подшипниковым узлом, вал, установленный с возможностью вращения в подшипниковом узле, соединенную с валом ступицу с преграждающими штангами, механизмы позиционирования и фиксации преграждающих штанг, устройство плавной доводки преграждающих штанг до исходного положения, датчик угла поворота, блок электронного управления, световую индикацию и пульт дистанционного управления, отличающийся тем, что устройство плавной доводки выполнено в виде жидкостной муфты, мальтийского креста и толкателей, расположенных на механизме позиционирования с возможностью входа в пазы мальтийского креста при условии приближения преграждающих штанг к исходному положению и с возможностью выхода из пазов мальтийского креста в промежуточных положениях штанг, а механизм фиксации выполнен в виде одного соленоида, срабатывающего только при попытке несанкционированного прохода в обоих направлениях – на вход и на выход.
2. Турникет по п.1, отличающийся тем, что вращающаяся часть жидкостной муфты жестко и соосно соединена с мальтийским крестом, а неподвижная часть муфты посредством кронштейна соединена с корпусом турникета.
3. Турникет по п.1, отличающийся тем, что толкатели выполнены в виде любого тела вращения – ролик, палец, подшипник скольжения, качения.
4. Турникет по п.1, отличающийся тем, что количество установленных на механизме позиционирования толкателей соответствует количеству преграждающих штанг.
5. Турникет по п.1, отличающийся тем, что устройство плавной доводки преграждающих штанг до исходного положения снабжено ограничителем самопроизвольного поворота мальтийского креста в промежуточных положениях преграждающих штанг.
6. Турникет по п.1, отличающийся тем, что он дополнительно снабжен механизмом принудительного ручного запирания турникета.
7. Турникет по п.1 и 6, отличающийся тем, что механизм принудительного ручного запирания снабжен переключателем, блокирующим срабатывание световой индикации при разрешении прохода.
РИСУНКИ
|
|