|
(21), (22) Заявка: 2006103978/03, 09.02.2006
(24) Дата начала отсчета срока действия патента:
09.02.2006
(30) Конвенционный приоритет:
10.02.2005 DE 202005002131.8
(43) Дата публикации заявки: 10.09.2007
(46) Опубликовано: 27.04.2010
(56) Список документов, цитированных в отчете о поиске:
DE 10209696 A1, 18.09.2003. DE 19929133 A1, 05.01.2000. DE 19646842 A1, 14.05.1998. DE 19610428 A1, 18.09.1997. RU 2184199 C2, 27.06.2002.
Адрес для переписки:
129090, Москва, ул. Б.Спасская, 25, стр.3, ООО “Юридическая фирма Городисский и Партнеры”, пат.пов. С.А.Дорофееву, рег. 146
|
(72) Автор(ы):
ФИШЕР Маркус (DE)
(73) Патентообладатель(и):
РЕХАУ АГ+КО. (DE)
|
(54) РАМНЫЙ БЛОК И УСТРОЙСТВО ОГРАНИЧЕНИЯ ВОЗДУШНОГО ПОТОКА ДЛЯ НЕГО
(57) Реферат:
Изобретение относится к области строительства, а именно к области строительства, а именно к конструкциям окон. Изобретение позволит упростить монтаж устройства ограничения воздушного потока. Рамный блок содержит створную раму и наружную коробку. Между внешней стороной и внутренней стороной рамного блока расположен вентиляционный канал, в котором расположено устройство ограничения воздушного потока с поворотным относительно неподвижно установленного на раме несущего элемента поверхностным ограничителем. Ограничитель установлен с возможностью перемещения между открытым и закрытым положениями. Ограничитель находится в открытом положении, пока скорость течения воздуха по вентиляционному каналу ниже предельного значения. Канальный элемент устройства ограничения воздушного потока прилегает к верхней замыкающей стенке верхней при смонтированном рамном блоке створной рамы и образует внутренний конечный участок вентиляционного канала. Подобный канальный элемент прост в монтаже. 2 н. и 15 з.п. ф-лы, 5 ил.
Изобретение относится к рамному блоку, содержащему створную раму, наружную коробку, по меньшей мере, один вентиляционный канал между внешней и внутренней сторонами рамного блока, по меньшей мере, одно расположенное в вентиляционном канале устройство ограничения воздушного потока с поворотным относительно неподвижно установленного на раме несущего элемента поверхностным ограничителем, установленным с возможностью перемещения между открытым положением, в котором ограничитель открывает вентиляционный канал, и закрытым положением, в котором ограничитель, по меньшей мере, частично закрывает вентиляционный канал, причем ограничитель выполнен таким образом, что он находится в положении открывания, пока скорость течения воздуха по вентиляционному каналу ниже предельного значения.
Подобный рамный блок известен из DE 10209696 А1. Соединение компонентов устройства ограничения воздушного потока с рамными элементами рамного блока требует специальных крепежных приемных элементов, выполненных ответными крепежным элементам этих компонентов. Изготовление известного рамного блока с устройством ограничения воздушного потока является поэтому довольно сложным.
Другие рамные блоки с устройствами ограничения воздушного потока известны из DE 19610428 C2, DE 19929133 C2, DE 19646842 C2, DE 10244932 A1, EP 1005621 B1, DE 29616812 U1, DE 20204163 U1 и DE 8106080 U1. Хотя существует множество вариантов рамных блоков с устройствами ограничения воздушного потока, постоянно возникает потребность в их усовершенствовании, что касается затрат на изготовление и удобства монтажа рамного блока.
Задачей настоящего изобретения является усовершенствование рамного блока с устройством ограничения воздушного потока описанного выше рода таким образом, чтобы сократить затраты на изготовление при одновременно максимально облегченном монтаже устройства ограничения воздушного потока.
Эта задача решается согласно изобретению посредством канального элемента устройства ограничения воздушного потока, который прилегает к верхней замыкающей стенке верхней при смонтированном рамном блоке створной рамы и образует внутренний конечный участок вентиляционного канала.
Согласно изобретению было обнаружено, что необязательно специально подготавливать рамные элементы рамного блока к соединению с канальным элементом устройства ограничения воздушного потока тогда, когда он прилегает к створной раме. Канальный элемент опирается тогда на створную раму и должен быть фиксирован только от смещения относительно нее, что может быть реализовано более простыми мерами, нежели крепеж. Возникает устройство ограничения воздушного потока для рамного блока, которое не требует специальной подгонки рамных элементов рамного блока, может быть просто смонтировано, и им могут быть дооборудованы уже существующие рамные блоки. В частности, канальный элемент может служить одновременно несущим элементом для ограничителя. Устройство ограничения воздушного потока согласно изобретению в зависимости от предъявляемых к нему требований и соответствующего назначения может быть размещено в различных типах рамных блоков и внутри них в различных местах установки. В частности, можно использовать устройство ограничения воздушного потока в средней уплотнительной системе, например в месте среднего уплотнения.
Ограничитель может быть расположен в канальном элементе. Тогда возникает предпочтительно компактное устройство ограничения воздушного потока.
Канальный элемент может содержать фиксирующее тело, которое защелкнуто на участке фиксирующего приемного элемента створной рамы для внутреннего замыкающего уплотнения рамного блока. Для фиксации канального элемента можно использовать тогда уже имеющийся фиксирующий приемный элемент рамного блока.
Канальный элемент может быть склеен со створной рамой. Подобное соединение является несложным.
Ограничитель может быть расположен в вентиляционном канале с возможностью начала перемещения между открытым и закрытым положениями за счет разности между скоростью течения воздуха мимо обращенной к вентиляционному каналу стороны 25 ограничителя 17 и скоростью течения воздуха мимо обращенной от вентиляционного канала стороны 26 ограничителя 17.
Для начала перемещения ограничителя между открытым и закрытым положениями тогда не требуется непосредственного обтекания ограничителя. Перемещение происходит в этом случае, напротив, за счет разности давлений, возникающей при прохождении воздуха мимо ограничителя. Причиной возникновения разности давлений является так называемый эффект Бернулли. На величину разности давлений при данной разности скоростей, как это известно, например, у крыльев самолетов, может оказывать влияние соответствующее профилирование ограничителя. За счет того что для начала перемещения между открытым и закрытым положениями больше не требуется непосредственного обтекания, ограничитель может быть расположен в вентиляционном канале так, что в открытом положении он не сужает или почти не сужает вентиляционный канал. При этом предпочтительном расположении достигаются, следовательно, открытое положение с широким вентиляционным каналом и, тем самым, хороший воздухообмен в бессквозняковых условиях, т.е. при небольших скоростях течения между внешней и внутренней сторонами рамного блока. Как только начнется перемещение за счет эффекта Бернулли, в этом варианте осуществления изобретения оставшееся перемещение между открытым и закрытым положениями может происходить также с помощью непосредственного обтекания. Таким образом, благодаря комбинации эффекта Бернулли и непосредственного обтекания возникает большое усилие закрывания. Поэтому ограничитель может быть здесь выполнен поэтому так, что в положении закрывания он не склонен к прилипанию. Тем самым, даже после длительных периодов времени обеспечивается повторяемый и надежный возврат из закрытого положения в открытое положение. За счет того что в начале перемещения между открытым и закрытым положениями используется эффект Бернулли, может быть реализована чувствительная характеристика срабатывания ограничителя при начале перемещения.
Поэтому предельное значение скорости течения, начиная с которой устройство ограничения воздушного потока должно закрывать, может быть задано в этом выполнении очень определенно.
Ограничитель может быть выполнен в виде мягкого по сравнению с несущим элементом пластикового язычка. За счет этого обеспечивается хорошая герметизация ограничителя на ответном теле рамного блока в положении закрывания ограничителя. Мягкий пластиковый язычок может быть прилит к другому участку ограничителя, например, посредством 2К-техники, двухкомпонентное литье под давлением. В качестве альтернативы для выполнения ограничителя, имеющего несколько участков разной твердости, возможно также изготовление посредством соэкструзии. Наконец, ограничитель может быть выполнен также по типу гибкой мембраны. В другом варианте ограничитель выполнен не из пластика, а из другого материала, например текстильного материала. Поверхность ограничителя может быть гладкой, чешуйчатой, рифленой или снабжена иным, благоприятным в отношении аэродинамики структурированием или профилированием поверхности.
В положении закрывания ограничитель может прилегать к упору несущего элемента или рамного блока. Это обеспечивает определенное закрытое положение ограничителя.
Устройство ограничения воздушного потока может содержать сопловое тело, по меньшей мере, с одним сопловым отверстием, которое (тело) расположено рядом с ограничителем так, что скорость течения воздуха мимо ограничителя задается посредством ширины соплового отверстия. Возникает устройство ограничения воздушного потока, у которого определенность и повторяемость характеристики срабатывания дополнительно улучшены.
Предпочтительно предусмотрено несколько сопловых отверстий, выполненных одинаково и расположенных рядом друг с другом поперек направления течения воздуха. Это упрощает изготовление самонесущего соплового тела.
Сопловое тело может быть одновременно несущим элементом. В этом случае ограничитель непосредственно соединен с сопловым телом. Возникает компактное устройство ограничения воздушного потока.
Ограничитель и/или несущий элемент может быть выполнен из стандартных секций заданной ширины поперек направления течения воздуха. Возникает устройство ограничения воздушного потока с заданной шириной. Посредством этой ширины можно задавать желаемый максимальный воздухообмен.
Ограничитель и/или несущий элемент может быть выполнен в виде профильного элемента. В этом случае обеспечивается возможность плавного регулирования ширины устройства ограничения воздушного потока.
Альтернативно или дополнительно один участок канала в предусмотренном для внутреннего упорного уплотнения промежутке между створной рамой и наружной коробкой может образовывать внутренний конечный участок вентиляционного канала, причем ограничитель расположен, в частности, рядом с промежутком. При таком расположении возможно простое дооснащение существующего рамного блока устройством ограничения воздушного потока, поскольку для этого необходимо лишь заменить упорное уплотнение участком канала. Для создания внутреннего конечного участка вентиляционного канала не требуется вмешательства в рамные профили. Расположение ограничителя рядом с промежутком создает компактное устройство ограничения воздушного потока.
Участок канала может быть при этом образован в предусмотренном для внутреннего упорного уплотнения промежутке несколькими отдельными каналами, между которыми имеются дистанционные элементы, посредством которых закрытая створная рама прилегает к наружной коробке. Дистанционные элементы обеспечивают определенное позиционирование створной рамы относительно наружной коробки также в зоне канального элемента, а также определенную величину концевого вентиляционного канала.
В отношении устройства ограничения воздушного потока поставленная задача решается посредством устройства ограничения воздушного потока для использования в рамном блоке согласно изобретению.
Преимущества подобного устройства ограничения воздушного потока соответствуют преимуществам, которые уже были упомянуты выше в связи с рамным блоком.
Примеры осуществления изобретения более подробно поясняются ниже с помощью чертежей, на которых изображено:
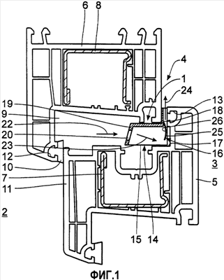
– фиг.1: фрагмент поперечного сечения рамного блока с устройством ограничения воздушного потока, которое расположено в вентиляционном канале между внешней и внутренней сторонами рамного блока, причем ограничитель устройства ограничения воздушного потока изображен в открытом положении;
– фиг.2: аналогичное фиг.1 сечение с ограничителем в закрытом положении;
– фиг.3, 4: увеличенные перспективные виды устройства ограничения воздушного потока с выполненным в виде канального элемента несущим элементом и изображенным отдельно от него ограничителем;
– фиг.5: устройство ограничения воздушного потока по фиг.3 и 4, в котором ограничитель размещен на несущем элементе.
Первый вариант осуществления устройства 1 ограничения воздушного потока изображен на фиг.1-5. Устройство 1 ограничения воздушного потока ограничивает воздушный поток в вентиляционном канале между внешней 2 и внутренней 3 сторонами (фиг.2) рамного блока 4, изображенного на фиг.1 и 2 частично в разрезе. Рамный блок 4 включает в себя створную раму 5, у которой на фиг.1 и 2 изображен в разрезе верхний в смонтированном состоянии рамный профиль. Далее рамный блок 4 содержит наружную коробку 6, у которой на фиг.1 и 2 также изображен верхний в смонтированном состоянии рамный профиль. Створная рама 5 установлена известным образом с возможностью поворота относительно коробки 6 и обрамляет стекло (на фиг.1 и 2 не показано) окна или двери. Створная рама 5 выполнена известным самим по себе образом и имеет несколько полых камер, а также U-образный армирующий профиль 7. Коробку 6 фиксируют в стенном проеме, и она также известным сам по себе образом выполнена с несколькими полыми камерами и U-образным армирующим профилем 8. За исключением армирующих профилей 7, 8 рамный блок 4 выполнен из пластика.
Коробка 6 прилегает на фальцевом участке 9 рамного блока 4 через внешнее упорное уплотнение 10 к внешней стенке 11 створной рамы 5. Для удержания внешнего упорного уплотнения 10, выполненного в виде уплотнительного профиля, коробка 6 имеет на фальцевом участке 9 проходящий вдоль рамного профиля приемный паз 12. Приемный паз 13 соответствующей формы предусмотрен у известной самой по себе створной рамы 5 для размещения внутреннего упорного уплотнения. В плоскости разреза на фиг.1 и 2 это внутреннее упорное уплотнение отсутствует или имеется неполным. На фальцевом участке 9 рядом с этим приемным пазом 13 расположен канальный элемент 14 устройства 1 ограничения воздушного потока. Последний имеет в разрезе на фиг.1 и 2 форму лежачей буквы L. Внутренняя огибающая ограничительная стенка 15 длинного плеча L-образного канального элемента 14 прилегает к верхней замыкающей стенке 16 створной рамы 5. Ограничительная стенка 15 склеена с замыкающей стенкой 16. Короткое плечо L-образного канального элемента 14 выступает вверх через промежуток между створной рамой 5 и коробкой 6, который у известного рамного блока был бы заполнен внутренним упорным уплотнением. Этот промежуток образует внутренний конечный участок вентиляционного канала. У неизображенного варианта осуществления этот промежуток может быть образован несколькими отдельными каналами, между которыми расположены перемычковые дистанционные элементы, которые отформованы на коротком плече L-образного канального элемента 14 и посредством которых закрытая створная рама 5 прилегает к коробке 6. Боковые ограничительные стенки обоих плеч канального элемента 14 герметично прилегают к окружающим их ограничительным стенкам фальцевого участка 9. Канальный элемент 14 вместе с окружающими его ограничительными стенками створной рамы 5 образует конечный участок вентиляционного канала через рамный блок 4 между внешней 2 и внутренней 3 сторонами. У неизображенного варианта осуществления канальный элемент 14 содержит фиксирующее тело, которое защелкнуто в участок приемного паза 13 створной рамы 5 для внутреннего упорного уплотнения.
Канальный элемент 14 образует неподвижный на раме несущий элемент устройства 1 ограничения воздушного потока. С возможностью поворота относительно канального элемента 14 предусмотрен поверхностный ограничитель 17. Последний имеет слегка изогнутое поперечное сечение, как это видно на фиг.1 и 2, и выполнен в виде мягкого по сравнению с канальным элементом 14 пластикового язычка. Пластиковый язычок в одном варианте может быть выполнен из нескольких профильных участков, соединенных между собой, например, посредством соэкструзии. В частности, свободный конец ограничителя 17 у подобного снабженного несколькими участками варианта может представлять собой самый мягкий профильный участок. В этом случае последний особенно подходит для уплотняющего прилегания к участку стенки рамного блока 4. Альтернативно, канальный элемент 4 может быть изготовлен также не из пластика, а из другого материала, например текстильного материала.
Ограничитель 17 прикреплен к внутренней стенке короткого плеча L-образного канального элемента 14 напротив приемного паза 13. Ограничитель 17 может быть размещен, в частности, также в направлении вниз по потоку со смещением относительно изображенного на фиг.1 и 2 варианта осуществления, так что ограничитель 17 не входит в длинное плечо L-образного канального элемента 14. Своим расположенным ниже по потоку концом ограничитель 17 линейно сочленен с канальным элементом 14 с возможностью поворота относительно него вокруг перпендикулярной плоскости фиг.1 и 2 оси 18 поворота между открытым положением на (фиг.1) и закрытым положением (фиг.2). В открытом положении ограничитель 17 открывает вентиляционный канал, что обеспечивает протекание воздуха от внешней стороны 2 через рамный блок 4 к внутренней стороне 3. Ограничитель 17 проходит от оси 18 поворота к своему свободному концевому участку в направлении, противоположном направлению течения воздуха. В закрытом положении ограничитель 17 закрывает канальный элемент 14 и, тем самым, вентиляционный канал. Ширина ограничителя 17 вдоль оси 18 поворота соответствует ширине канального элемента 14.
В зависимости от выбора материала и толщины материала для ограничителя 17 он может быть выполнен в целом с возможностью поворота вокруг оси 18, не теряя своей слегка изогнутой формы поперечного сечения, или может быть образован по типу гибкой самой по себе мембраны с приспосабливающимся в зависимости от внешних силовых воздействий поперечным сечением.
Канальный элемент 14 с ограничителем 17 образует внутренний конечный участок вентиляционного канала между внешней 2 и внутренней 3 сторонами рамного блока 4. В замыкающей стенке 19, расположенной выше по потоку, канальный элемент 14 имеет несколько сопловых отверстий 20, имеющих форму прямоугольников с вогнутыми боковыми ограничительными стенками 21. В общей сложности, канальный элемент 14 имеет пять сопловых отверстий 20. Поэтому канальный элемент 14 одновременно представляет собой сопловое тело устройства 1 ограничения воздушного потока.
Устройство 1 ограничения воздушного потока согласно фиг.1-5 работает следующим образом. Воздух может течь в фальцевый участок 9 через приточные отверстия (на фиг.1 и 2 не показаны). Оттуда воздух течет, как это обозначено указывающей направление течения стрелкой 22, через сопловые отверстия 20 в канальный элемент 14. Пока ограничитель 17 находится в показанном на фиг.1 положении открывания, воздух может течь прежде всего через длинное плечо L-образного канального элемента 14, как это обозначено указывающей направление течения стрелкой 23, а затем в ограничителе 17 через короткое плечо L-образного канального элемента 14, как это обозначено указывающей направление течения стрелкой 24 на фиг.1. Воздух течет при этом как мимо обращенной к вентиляционному каналу, выполненной выпуклой стороны 25 ограничителя 17, так и мимо обращенной от вентиляционного канала, выполненной вогнутой стороны 26 ограничителя 17. Пока разность скоростей течения воздуха мимо обращенной к вентиляционному каналу стороны 25 и мимо обращенной от вентиляционного канала стороны 26 меньше заданного предельного значения, ограничитель 17 остается в открытом положении. По мере усиления воздушного потока возрастает и разность скоростей. Как только эта разность скоростей превысит заданное предельное значение, из-за вызванной этой разностью скоростей разности давлений воздуха на обеих сторонах ограничителя 17 начнется его перемещение между открытым положением и закрытым положением, на фиг.2. В частности, при расположении ограничителя 17 полностью показанном в коротком плече L-образного канального элемента 14 это начало перемещения происходит не из-за разности давлений за счет непосредственного обтекания обращенной от вентиляционного канала стороны 26, а исключительно из-за разности давлений, возникающей за счет разных скоростей течения воздуха мимо ограничителя 17. Эта возникающая разность давлений известна также как эффект Бернулли. После начала перемещения первоначально обращенная от вентиляционного канала сторона 26 ограничителя 17 непосредственно обтекается протекающим по канальному элементу 14 воздухом, так что происходит дальнейшее перемещение ограничителя 17 между открытым и закрытым положениями также за счет непосредственного обтекания. В закрытом положении ограничитель 17 плотно прилегает к внутренней ограничительной стенке 27 створной рамы 5. Воздушное течение от внешней стороны 2 к внутренней стороне 3 тогда больше невозможно. Это обозначено указывающей направление течения стрелкой 26а на фиг.2.
Скорость течения воздуха в канальном элементе 14 может быть задана шириной и числом сопловых отверстий 20. Несколько канальных элементов 14 могут быть расположены рядом друг с другом перпендикулярно плоскости разреза на фиг.1 и 2. За счет этого можно задавать вентилирующее действие.
В неизображенном варианте ограничитель 17 в положении закрывания прилегает к упору канального элемента 14. В другом варианте канальный элемент 14 может быть выполнен перпендикулярно плоскости фиг.1 и 2 в виде бесконечного профильного конструктивного элемента, изготовленного соответствующей длины.
Формула изобретения
1. Рамный блок (4), содержащий створную раму (5), наружную коробку (6), по меньшей мере, один вентиляционный канал между внешней стороной (2) и внутренней стороной (3) рамного блока (4), по меньшей мере, одно расположенное в вентиляционном канале устройство (1) ограничения воздушного потока с поворотным относительно неподвижно установленного на раме несущего элемента (14) поверхностным ограничителем (17), установленным с возможностью перемещения между открытым положением, в котором ограничитель (17) открывает вентиляционный канал, и закрытым положением, в котором ограничитель (17), по меньшей мере, частично закрывает вентиляционный канал, причем ограничитель (17) выполнен таким образом, что он находится в открытом положении, пока скорость течения протекающего через вентиляционный канал воздуха ниже предельного значения, отличающийся тем, что устройство (1) ограничения воздушного потока содержит канальный элемент (14), который прилегает к верхней замыкающей стенке (16) верхней при смонтированном рамном блоке (4) створной рамы (5) и образует внутренний конечный участок вентиляционного канала.
2. Блок по п.1, отличающийся тем, что ограничитель (17) расположен в канальном элементе (14).
3. Блок по п.1 или 2, отличающийся тем, что канальный элемент (14) содержит фиксирующее тело, которое защелкнуто в участок фиксирующего приемного элемента (13) створной рамы (5) для внутреннего замыкающего уплотнения рамного блока (4).
4. Блок по п.1 или 2, отличающийся тем, что канальный элемент (14) склеен со створной рамой (5).
5. Блок по п.3, отличающийся тем, что канальный элемент (14) склеен со створной рамой (5).
6. Блок по п.1 или 2, отличающийся тем, что ограничитель (17) расположен в вентиляционном канале с возможностью начала перемещения между открытым и закрытым положениями за счет разности между скоростью течения воздуха мимо обращенной к вентиляционному каналу стороны (25) ограничителя (17) и скоростью течения воздуха мимо обращенной от вентиляционного канала стороны (26) ограничителя (17).
7. Блок по п.1 или 2, отличающийся тем, что ограничитель (17) выполнен в виде мягкого по сравнению с несущим элементом пластикового язычка.
8. Блок по п.6, отличающийся тем, что ограничитель (17) выполнен в виде мягкого по сравнению с несущим элементом пластикового язычка.
9. Блок по п.1, отличающийся тем, что ограничитель в закрытом положении прилегает к упору несущего элемента или рамного блока (4).
10. Блок по п.1, отличающийся тем, что устройство (1) ограничения воздушного потока содержит сопловое тело, по меньшей мере, с одним сопловым отверстием (20), расположенным рядом с ограничителем (17) так, что скорость течения воздуха мимо ограничителя (17) задается посредством ширины соплового отверстия (20).
11. Блок по п.10, отличающийся тем, что сопловые отверстия (20) расположены поперек направления течения воздуха рядом друг с другом и выполнены одинаково.
12. Блок по п.10 или 11, отличающийся тем, что сопловое тело является одновременно несущим элементом.
13. Блок по п.1, отличающийся тем, что ограничитель (17) и/или несущий элемент выполнен из стандартных секций заданной ширины поперек направления течения воздуха.
14. Блок по п.1, отличающийся тем, что ограничитель и/или несущий элемент выполнен в виде профильного конструктивного элемента.
15. Блок по п.1, отличающийся тем, что участок канала в предусмотренном для внутреннего упорного уплотнения промежутке между створной рамой (5) и наружной коробкой (6) образует внутренний конечный участок вентиляционного канала, причем ограничитель (17) расположен, в частности, рядом с промежутком.
16. Блок по п.15, отличающийся тем, что участок канала в предусмотренном для внутреннего упорного уплотнения промежутке образован несколькими отдельными каналами, между которыми расположены дистанционные элементы, посредством которых закрытая створная рама (5) прилегает к наружной коробке (6).
17. Устройство (1) ограничения воздушного потока для использования в рамном блоке (4) по п.1.
РИСУНКИ
|