|
(21), (22) Заявка: 2006103975/03, 09.02.2006
(24) Дата начала отсчета срока действия патента:
09.02.2006
(30) Конвенционный приоритет:
10.02.2005 DE 102005006010.2
(43) Дата публикации заявки: 10.09.2007
(46) Опубликовано: 27.04.2010
(56) Список документов, цитированных в отчете о поиске:
DE 10209696 A1, 18.09.2003. DE 19929133 A1, 05.01.2000. DE 19646842 A1, 14.05.1998. DE 19610428 A1, 18.09.1997. RU 2184199 C2, 27.06.2002.
Адрес для переписки:
129090, Москва, ул. Б.Спасская, 25, стр.3, ООО “Юридическая фирма Городисский и Партнеры”, пат.пов. С.А.Дорофееву, рег. 146
|
(72) Автор(ы):
ФИШЕР Маркус (DE), НЕГЕЛЬ Бернхард (DE), ИПФЛИНГ Йорг (DE)
(73) Патентообладатель(и):
РЕХАУ АГ+КО. (DE)
|
(54) РАМНЫЙ БЛОК И УСТРОЙСТВО ОГРАНИЧЕНИЯ ВОЗДУШНОГО ПОТОКА ДЛЯ НЕГО
(57) Реферат:
Изобретение относится к области строительства, а именно к конструкции окон. Изобретение позволит обеспечить свободную от сквозняка вентиляцию при одновременно хорошем воздухоообмене между внешней и внутренней сторонами. Рамный блок содержит створную раму и коробку. Между внешней стороной и внутренней стороной рамного блока расположен вентиляционный канал, в котором расположено устройство ограничения воздушного потока с поворотным относительно неподвижно установленного на раме несущего элемента поверхностным ограничителем. Последний установлен с возможностью перемещения между открытым и закрытым положениями. Ограничитель находится в открытом положении, пока скорость течения воздуха в вентиляционном канале ниже предельного значения. Начало перемещения между открытым и закрытым положениями происходит за счет разности скоростей воздуха мимо обеих сторон ограничителя. 2 н. и 17 з.п. ф-лы, 19 ил.
Изобретение относится к рамному блоку, содержащему створную раму, наружную коробку, по меньшей мере, один вентиляционный канал между внешней и внутренней сторонами рамного блока, по меньшей мере, одно расположенное в вентиляционном канале устройство ограничения воздушного потока с поворотным относительно неподвижно установленного на раме несущего элемента поверхностным ограничителем, установленным с возможностью перемещения между открытым положением, в котором ограничитель открывает вентиляционный канал, и закрытым положением, в котором ограничитель, по меньшей мере, частично закрывает вентиляционный канал, причем ограничитель выполнен таким образом, что он находится в открытом положении, пока скорость течения воздуха по вентиляционному каналу ниже предельного значения.
Подобный рамный блок известен из DE 10209696 А1. Здесь устройство ограничения воздушного потока содержит ограничитель, непосредственно обтекаемый воздушным потоком между внешней и внутренней сторонами рамного блока.
Другие рамные блоки с устройствами ограничения воздушного потока известны из DE 19610428 C2, DE 19929133 C2, DE 19646842 C2, DE 10244932 A1, EP 1005621 B1, DE 29616812 U1, DE 20204163 U1 и DE 8106080 U1. Хотя существует множество вариантов рамных блоков с устройствами ограничения воздушного потока, постоянно возникает потребность в их усовершенствовании, что касается вентиляционных свойств рамного блока.
Задачей настоящего изобретения является усовершенствование рамного блока с устройством ограничения воздушного потока, описанного выше рода, таким образом, чтобы обеспечить максимально свободную от сквозняка вентиляцию при одновременно хорошем воздухообмене между внешней и внутренней сторонами.
Эта задача решается согласно изобретению за счет того, что ограничитель расположен в вентиляционном канале с возможностью начала перемещения между открытым и закрытым положениями за счет разности между скоростью течения воздуха мимо обращенной к вентиляционному каналу стороны ограничителя и скоростью течения воздуха мимо обращенной от вентиляционного канала стороны ограничителя.
Согласно изобретению было обнаружено, что для начала перемещения ограничителя между открытым и закрытым положениями не требуется непосредственного обтекания ограничителя. Согласно изобретению перемещение происходит, напротив, за счет разности давлений, возникающей при протекании воздуха мимо ограничителя. Причиной возникновения разности давлений является так называемый эффект Бернулли. На величину разности давлений при данной разности скоростей, как это известно, например, у крыльев самолетов, может оказывать влияние соответствующее профилирование ограничителя. За счет того, что для начала перемещения между открытым и закрытым положениями больше не требуется непосредственного обтекания, ограничитель может быть расположен в вентиляционном канале так, что в открытом положении он не сужает или почти не сужает вентиляционный канал. В рамных блоках с устройствами ограничения воздушного потока, у которых требуется непосредственное обтекание для начала перемещения ограничителя, напротив, уже в открытом положении ограничителя неизбежно заметное сужение вентиляционного канала. При расположении согласно изобретению достигаются, следовательно, открытое положение с увеличенным вентиляционным каналом и тем самым хороший воздухообмен в бессквозняковых условиях, т.е. при небольших скоростях течения между внешней и внутренней сторонами рамного блока. Как только начнется перемещение за счет эффекта Бернулли, оставшееся перемещение между открытым и закрытым положениями может происходить также с помощью непосредственного обтекания. За счет этой комбинации эффекта Бернулли с непосредственным обтеканием возникает большое закрывающее усилие. Поэтому ограничитель может быть выполнен так, что в закрытом положении он не склонен к прилипанию. Тем самым, даже после длительных периодов времени обеспечивается повторяемый и надежный возврат из закрытого положения в открытое. За счет того, что в начале перемещения между открытым и закрытым положениями используется эффект Бернулли, может быть реализована чувствительная характеристика срабатывания ограничителя в начале перемещения. Поэтому предельное значение скорости течения, начиная с которой устройство ограничения воздушного потока должно закрывать, может быть задано очень определенно. Устройство ограничения воздушного потока согласно изобретению в зависимости от предъявленных к нему требований и соответствующего назначения может быть размещено в различных типах рамных блоков и внутри них в различных местах монтажа. В частности, можно использовать устройство ограничения воздушного потока в средней уплотнительной системе, например в месте среднего уплотнения.
Ограничитель может быть выполнен в виде мягкого по сравнению с несущим элементом пластикового язычка. За счет этого обеспечивается хорошая герметизация ограничителя на ответном теле рамного блока в закрытом положении ограничителя. Мягкий пластиковый язычок может быть прилит к другому участку ограничителя, например, посредством 2К-техники двухкомпонентное литье под давлением. В качестве альтернативы для выполнения ограничителя, имеющего несколько участков разной твердости, возможно также изготовление посредством соэкструзии. Наконец, ограничитель может быть выполнен также по типу гибкой мембраны. В другом варианте ограничитель выполнен не из пластика, а из другого материала, например текстильного материала. Поверхность ограничителя может быть гладкой, чешуйчатой, рифленой или снабжена иным, благоприятным в отношении аэродинамики структурированием или профилированием поверхности.
В закрытом положении ограничитель может прилегать к упору несущего элемента или рамного блока. Это обеспечивает определенное закрытое положение ограничителя.
Устройство ограничения воздушного потока может содержать сопловое тело, по меньшей мере, с одним сопловым отверстием, которое (тело) расположено рядом с ограничителем так, что скорость течения воздуха мимо ограничителя задается посредством ширины соплового отверстия. Возникает устройство ограничения воздушного потока, у которого определенность и повторяемость характеристики срабатывания дополнительно улучшены.
Предпочтительно предусмотрено несколько сопловых отверстий, выполненных одинаково и расположенных рядом друг с другом поперек направления течения воздуха. Это упрощает изготовление самонесущего соплового тела.
Сопловое тело может быть одновременно несущим элементом. В этом случае ограничитель непосредственно соединен с сопловым телом. Возникает компактное устройство ограничения воздушного потока.
Ограничитель и/или несущий элемент может быть выполнен из стандартных секций заданной ширины поперек направления течения воздуха. Возникает устройство ограничения воздушного потока с заданной шириной. Посредством этой ширины можно задавать желаемый максимальный воздухообмен.
Ограничитель и/или несущий элемент может быть выполнен в виде профильного элемента. В этом случае обеспечивается возможность плавного регулирования ширины устройства ограничения воздушного потока.
Полая камера фальцевого участка, в частности соединенного со створной рамой штапика, может образовать внутренний конечный участок вентиляционного канала, причем ограничитель расположен, в частности, в полой камере. За счет этого возможно выполнение устройства ограничения воздушного потока без крупного вмешательства в выполнение створной рамы. Устройство ограничения воздушного потока может быть, например, полностью размещено на штапике или даже расположено в нем. Подобным устройством ограничения воздушного потока могут быть дооснащены, например, даже существующие рамные блоки.
Предпочтительно предусмотрен соединенный со штапиком или створной рамой канальный элемент. За счет этого обеспечивается определенный воздушный поток в зоне штапика и фальцевого участка.
Канальный элемент может полностью задавать воздушный поток на фальцевом участке, причем ограничитель расположен, в частности, в канальном элементе. Образующийся при необходимости из-за течения воздуха конденсат осаждается тогда внутри канального элемента, а не внутри фальцевого участка, и не может тем самым нанести вред рамному блоку.
Канальный элемент может быть соединен с элементом монтажных колодок створной рамы. Это уменьшает затраты на монтаж и хранение, поскольку число деталей уменьшается. Канальный элемент может представлять с элементом монтажных колодок также интегрированную деталь.
Альтернативно или дополнительно один участок канала в предусмотренном для внутреннего упорного уплотнения промежутке между створной рамой и наружной коробкой может образовать внутренний конечный участок вентиляционного канала, причем ограничитель расположен, в частности, рядом с промежутком. При таком расположении возможно простое дооснащение существующего рамного блока устройством ограничения воздушного потока, поскольку для этого необходимо лишь заменить упорное уплотнение участком канала. Для создания внутреннего конечного участка вентиляционного канала не требуется вмешательства в рамные профили. Расположение ограничителя рядом с промежутком создает компактное устройство ограничения воздушного потока.
Участок канала может быть при этом образован в предусмотренном для внутреннего упорного уплотнения промежутке несколькими отдельными каналами, между которыми имеются дистанционные элементы, посредством которых закрытая створная рама прилегает к наружной коробке. Дистанционные элементы обеспечивают определенное позиционирование створной рамы относительно наружной коробки также в зоне канального элемента, а также определенную величину концевого вентиляционного канала.
Альтернативно или дополнительно полая камера створной предкамеры створной рамы может образовать внутренний конечный участок вентиляционного канала, причем ограничитель расположен, в частности, в полой камере или рядом с ней. В этом случае может быть создано устройство ограничения воздушного потока без необходимости вмешательства при этом в зоне присоединительных уплотнений. Уплотнительная функция присоединительного уплотнения не зависит тогда от устройства ограничения воздушного потока. Расположение ограничителя в полой камере или рядом с ней создает компактное устройство ограничения воздушного потока.
Альтернативно или дополнительно канальный элемент, прилегающий к верхней замыкающей стенке верхней при смонтированном рамном блоке створной рамы, может образовать внутренний конечный участок вентиляционного канала, причем ограничитель расположен, в частности, в канальном элементе.
Возникает устройство ограничения воздушного потока, выполненное с возможностью простого соединения со створной рамой при монтаже. Если ограничитель расположен в канальном элементе, то подобное устройство ограничения воздушного потока выполнено предпочтительно компактным.
Несущий элемент может содержать фиксирующее тело, которое защелкнуто в участок фиксирующего приемного элемента створной рамы или коробки для упорного уплотнения. Для размещения несущего элемента можно использовать тогда уже имеющийся фиксирующий приемный элемент рамного блока.
Несущий элемент может быть склеен со створной рамой или коробкой. Подобное соединение является несложным.
В отношении устройства ограничения воздушного потока поставленная задача решается посредством устройства ограничения воздушного потока для использования в рамном блоке согласно изобретению.
Преимущества подобного устройства ограничения воздушного потока соответствуют преимуществам, которые уже были упомянуты выше в связи с рамным блоком.
Примеры осуществления изобретения более подробно поясняются ниже с помощью чертежей, на которых изображено:
– фиг.1: фрагмент поперечного сечения рамного блока с устройством ограничения воздушного потока, которое расположено в вентиляционном канале между внешней и внутренней сторонами рамного блока, причем ограничитель устройства ограничения воздушного потока изображен в открытом положении;
– фиг.2: аналогичное фиг.1 сечение с ограничителем в закрытом положении;
– фиг.3, 4: увеличенные перспективные виды устройства ограничения воздушного потока с выполненным в виде канального элемента несущим элементом и изображенным отдельно от него ограничителем;
– фиг.5: устройство ограничения воздушного потока по фиг.3 и 4, в котором ограничитель размещен на несущем элементе;
– фиг.6: аналогичное фиг.1 сечение рамного блока с двумя другими вариантами осуществления устройств ограничения воздушного потока, причем их ограничители изображены в открытом положении;
– фиг.7: аналогичное фиг.6 сечение, причем ограничители обоих устройств ограничения воздушного потока изображены в закрытом положении;
– фиг.8, 9: увеличенные перспективные виды устройства ограничения воздушного потока по фиг.6 и 7 с ограничителем в открытом положении;
– фиг.10: аналогичное фиг.1 сечение рамного блока с другим вариантом осуществления устройства ограничения воздушного потока, причем ограничитель изображен в открытом положении;
– фиг.11: аналогичный фиг.10 вид, на котором ограничитель изображен в закрытом положении;
– фиг.12, 13: увеличенный перспективный вид устройства ограничения воздушного потока в выполнении по фиг.10, 11 с ограничителем в открытом положении;
– фиг.14: аналогичное фиг.1 сечение рамного блока с другим вариантом осуществления устройства ограничения воздушного потока, причем ограничитель изображен в открытом положении;
– фиг.15: аналогичное фиг.14 сечение с ограничителем в закрытом положении;
– фиг.16: увеличенный перспективный вид канального элемента устройства ограничения воздушного потока по фиг.14 и 15;
– фиг.17, 18: канальный элемент по фиг.16 в сечении в перспективных видах, изображающих ограничитель устройства ограничения воздушного потока между открытым и закрытым положениями;
– фиг.19: в увеличенном перспективном виде рамный блок с устройством ограничения воздушного потока по фиг.14-18.
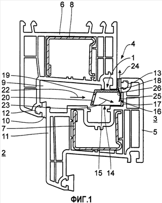
Первый вариант осуществления устройства 1 ограничения воздушного потока изображен на фиг.1-5. Устройство 1 ограничения воздушного потока ограничивает воздушный поток в вентиляционном канале между внешней 2 и внутренней 3 сторонами (фиг.2) рамного блока 4, изображенного на фиг.1 и 2 частично в разрезе. Рамный блок 4 включает в себя створную раму 5, у которой на фиг.1 и 2 изображен в разрезе верхний в смонтированном состоянии рамный профиль. Далее рамный блок 4 содержит наружную коробку 6, у которой на фиг.1 и 2 также изображен верхний в смонтированном состоянии рамный профиль. Створная рама 5 установлена известным образом с возможностью поворота относительно коробки 6 и обрамляет стекло (на фиг.1 и 2 не показано) окна или двери. Створная рама 5 выполнена известным самим по себе образом и имеет несколько полых камер, а также U-образный армирующий профиль 7. Коробку 6 фиксируют в стенном проеме и она также известным сама по себе образом выполнена с несколькими полыми камерами и U-образным армирующим профилем 8. За исключением армирующих профилей 7, 8 рамный блок 4 выполнен из пластика.
Коробка 6 прилегает на фальцевом участке 9 рамного блока 4 через внешнее упорное уплотнение 10 к внешней стенке 11 створной рамы 5. Для удержания внешнего упорного уплотнения 10, выполненного в виде уплотнительного профиля, коробка 6 имеет на фальцевом участке 9 проходящий вдоль рамного профиля приемный паз 12. Приемный паз 13 соответствующей формы предусмотрен у известной самой по себе створной рамы 5 для размещения внутреннего упорного уплотнения. В плоскости разреза на фиг.1 и 2 это внутреннее упорное уплотнение отсутствует или имеется неполным. На фальцевом участке 9 рядом с этим приемным пазом 13 расположен канальный элемент 14 устройства 1 ограничения воздушного потока. Последний имеет в разрезе на фиг.1 и 2 форму лежачей буквы L.
Внутренняя огибающая ограничительная стенка 15 длинного плеча L-образного канального элемента 14 прилегает к верхней замыкающей стенке 16 створной рамы 5. Ограничительная стенка 15 склеена с замыкающей стенкой 16. Короткое плечо L-образного канального элемента 14 выступает вверх через промежуток между створной рамой 5 и коробкой 6, который у известного рамного блока был бы заполнен внутренним упорным уплотнением. Боковые ограничительные стенки обоих плеч канального элемента 14 герметично прилегают к окружающим их ограничительным стенкам фальцевого участка 9. Канальный элемент 14 вместе с окружающими его ограничительными стенками створной рамы 5 образует конечный участок вентиляционного канала через рамный блок 4 между внешней 2 и внутренней 3 сторонами. У неизображенного варианта осуществления канальный элемент 14 содержит фиксирующее тело, которое защелкнуто в участок приемного паза 13 створной рамы 5 для внутреннего упорного уплотнения.
Канальный элемент 14 образует неподвижный на раме несущий элемент устройства 1 ограничения воздушного потока. С возможностью поворота относительно канального элемента 14 предусмотрен поверхностный ограничитель 17. Последний имеет слегка изогнутое поперечное сечение, как это видно на фиг.1 и 2, и выполнен в виде мягкого по сравнению с канальным элементом 14 пластикового язычка. Пластиковый язычок в одном варианте может быть выполнен из нескольких профильных участков, соединенных между собой, например, посредством соэкструзии. В частности, свободный конец ограничителя 17 у подобного, снабженного несколькими участками варианта может представлять собой самый мягкий профильный участок. В этом случае последний особенно подходит для уплотняющего прилегания к участку стенки рамного блока 4. Альтернативно канальный элемент 4 может быть изготовлен также не из пластика, а из другого материала, например текстильного материала.
Ограничитель 17 прикреплен к внутренней стенке короткого плеча L-образного канального элемента 14 напротив приемного паза 13. Ограничитель 17 может быть размещен, в частности, также в направлении вниз по потоку со смещением относительно изображенного на фиг.1 и 2 варианта осуществления, так что ограничитель 17 не входит в длинное плечо L-образного канального элемента 14. Своим расположенным ниже по потоку концом ограничитель 17 линейно сочленен с канальным элементом 14 с возможностью поворота относительно него вокруг перпендикулярной плоскости фиг.1 и 2 оси 18 поворота между открытым положением (фиг.1) и закрытым положением (фиг.2).
В открытом положении ограничитель 17 открывает вентиляционный канал, что обеспечивает протекание воздуха от внешней стороны 2 через рамный блок 4 к внутренней стороне 3. Ограничитель 17 проходит от оси 18 поворота к своему свободному концевому участку в направлении, противоположном направлению течения воздуха. В закрытом положении ограничитель 17 закрывает канальный элемент 14 и тем самым вентиляционный канал. Ширина ограничителя 17 вдоль оси 18 поворота соответствует ширине канального элемента 14.
В зависимости от выбора материала и толщины материала для ограничителя 17 последний может быть выполнен, в целом, с возможностью поворота вокруг оси 18, не теряя своей слегка изогнутой формы поперечного сечения, или может быть образован по типу гибкой самой по себе мембраны с приспосабливающимся в зависимости от внешних силовых воздействий поперечным сечением.
Канальный элемент 14 с ограничителем 17 образует внутренний конечный участок вентиляционного канала между внешней 2 и внутренней 3 сторонами рамного блока 4. В замыкающей стенке 19, расположенной выше по потоку, канальный элемент 14 имеет несколько сопловых отверстий 20, имеющих форму прямоугольников с вогнутыми боковыми ограничительными стенками 21. В общей сложности, канальный элемент 14 имеет пять сопловых отверстий 20. Поэтому канальный элемент 14 одновременно представляет собой сопловое тело устройства 1 ограничения воздушного потока.
Устройство 1 ограничения воздушного потока согласно фиг.1-5 работает следующим образом. Воздух может течь в фальцевый участок 9 через приточные отверстия (на фиг.1 и 2 не показаны). Оттуда воздух течет, как это обозначено указывающей направление течения стрелкой 22, через сопловые отверстия 20 в канальный элемент 14. Пока ограничитель 17 находится в показанном на фиг.1 открытом положении, воздух может течь прежде всего через длинное плечо L-образного канального элемента 14, как это обозначено указывающей направление течения стрелкой 23, а затем в ограничителе 17 через короткое плечо L-образного канального элемента 14, как это обозначено указывающей направление течения стрелкой 24 на фиг.1. Воздух течет при этом как мимо обращенной к вентиляционному каналу выпуклой стороны 25 ограничителя 17, так и мимо обращенной от вентиляционного канала вогнутой стороны 26 ограничителя 17. Пока разность скоростей течения воздуха мимо обращенной к вентиляционному каналу стороны 25 и мимо обращенной от вентиляционного канала стороны 26 меньше заданного предельного значения, ограничитель 17 остается в открытом положении.
По мере усиления воздушного потока возрастает и разность скоростей. Как только эта разность скоростей превысит заданное предельное значение из-за вызванной этой разностью скоростей разности давлений воздуха, на обеих сторонах ограничителя 17 начнется его перемещение между открытым положением и закрытым положением, показанном на фиг.2. В частности, при расположении ограничителя 17 полностью в коротком плече L-образного канального элемента 14 это начало перемещения происходит не из-за разности давлений за счет непосредственного обтекания обращенной от вентиляционного канала стороны 26, а исключительно из-за разности давлений, возникающей за счет разных скоростей течения воздуха мимо ограничителя 17. Эта возникающая разность давлений известна также как эффект Бернулли. После начала перемещения первоначально обращенная от вентиляционного канала сторона 26 ограничителя 17 непосредственно обтекается протекающим по канальному элементу 14 воздухом, так что происходит дальнейшее перемещение ограничителя 17 между открытым и закрытым положениями также за счет непосредственного обтекания. В закрытом положении ограничитель 17 плотно прилегает к внутренней ограничительной стенке 27 створной рамы 5. Воздушное течение от внешней стороны 2 к внутренней стороне 3 тогда больше невозможно. Это обозначено указывающей направление течения стрелкой 26а на фиг.2.
Скорость течения воздуха в канальном элементе 14 может быть задана посредством ширины и числа сопловых отверстий 20. Несколько канальных элементов 14 могут быть расположены рядом друг с другом перпендикулярно плоскости разреза на фиг.1 и 2. За счет этого можно задавать вентилирующее действие.
На фиг.6-9 изображены два других варианта устройств ограничения воздушного потока. Компоненты, соответствующие компонентам, уже описанным выше со ссылкой на фиг.1-5, обозначены теми же ссылочными позициями и еще раз подробно не поясняются.
Одним из обоих, изображенных на фиг.6 и 7 вариантов является устройство 28 ограничения воздушного потока, склеенное со штапиком 30. Канальный элемент 29 образует вместе с внутренней полой камерой штапика 30 внутренний конечный участок вентиляционного канала.
Штапик 30 защелкнут посредством фиксирующего соединения 31 в створную раму 5 и двумя манжетными уплотнениями 32 прилегает к обрамленному створной рамой 5 стеклопакету 33. Канальный элемент 29 имеет несколько прямоугольных сопловых отверстий 34, расположенных рядом друг с другом перпендикулярно плоскости фиг.6, 7 и отделенных друг от друга перемычками 35. У изображенного на фиг.8 и 9 канального элемента 29 имеется, в общей сложности, семь таких сопловых отверстий 34. Сопловые отверстия 34, как и сопловые отверстия 20 канального элемента 14 на фиг.1-5, расположены рядом друг с другом поперек направления течения воздуха. Также канальный элемент 29 представляет собой сопловое тело.
Так же как канальный элемент 14, канальный элемент 29 с возможностью поворота сочленен с ограничителем 36, выполненным по типу ограничителя 17. Последний изображен на фиг.6 в открытом положении, а на фиг.7 – в закрытом положении. В последнем ограничитель 36 прилегает, с одной стороны, к канальному элементу 29, а с другой стороны – к нижней ограничительной стенке 37 фальца для стекла створной рамы 5. Сам канальный элемент 29 образует упор для ограничителя 36 в закрытом положении. В открытом положении слегка изогнутое поперечное сечение ограничителя 36 проходит приблизительно параллельно и навстречу направлению течения воздуха мимо ограничителя 36 по вентиляционному каналу.
У выполнения рамного блока 4 на фиг.6 и 7 фальцевый участок 9 соединен с внешней полой камерой 38 створной рамы 5 через сквозные отверстия 39. Полая камера 38, в свою очередь, соединена с фальцевым участком 40 для стекла рамного блока 4 через сквозные отверстия 41. Во внутренней ограничительной стенке штапика 30 выполнены выходные отверстия 42.
Устройство 28 ограничения воздушного потока работает следующим образом. Пока ограничитель 36 находится в открытом положении, воздух течет от внешней стороны 2 через фальцевый участок 9, сквозные отверстия 39, полую камеру 38 (указывающая направление течения стрелка 43), сквозные отверстия 41, фальцевый участок 40 для стекла, сопловые отверстия 34 и выходные отверстия 42 к внутренней стороне 3 (указывающая направление течения стрелка 44). Как только разность между скоростью течения воздуха на обращенной к вентиляционному каналу стороне 25 и скоростью течения воздуха на обращенной от вентиляционного канала стороне 26 ограничителя 36 превысит заданное предельное значение, начнется перемещение ограничителя 36 из открытого положения в закрытое положение.
Это начало перемещения происходит исключительно за счет эффекта Бернулли, описанного выше в связи с выполнением на фиг.1-5, а не за счет непосредственного обтекания, например, обращенной от вентиляционного канала стороны 26 ограничителя 36. Как только начнется перемещение, обращенная от вентиляционного канала сторона 26 ограничителя 36 будет также непосредственно обтекаться, что ускоряет перемещение из открытого положения в закрытое. Как только будет достигнуто закрытое положение, вентиляционный канал в зоне канального элемента 29 будет закрыт ограничителем 36, что предотвращает течение воздуха от внешней стороны 2 к внутренней стороне 3. Это обозначено на фиг.7 указывающей направление течения стрелкой 45.
Канальный элемент 29 может быть размещен в неизображенном варианте полностью в полой камере штапика.
Другим из обоих изображенных на фиг.6 и 7 вариантов устройств ограничения воздушного потока является устройство 46 ограничения воздушного потока. Последнее содержит канальный элемент 47, который под внутренним упорным уплотнением 48 рамного блока 4 соединен, например склеен, со створной рамой 5. Канальный элемент 47 и сочлененный с ним ограничитель 49 выполнены по типу соответствующих компонентов устройства 28 ограничения воздушного потока. Вниз по потоку за сопловыми отверстиями 34 канального элемента 47 в створной раме 5 выполнены сквозные отверстия 50. Последние соединяют фальцевый участок 9 с первой створной предкамерой 51 створной рамы 5. Между первой створной предкамерой 51 и расположенной над ней второй створной предкамерой 52 створной рамы 5 выполнены дополнительные сквозные отверстия 53. Вторая створная предкамера 52 связана с внутренней стороной 3 через сквозные отверстия 54.
Канальный элемент 47 может быть полностью размещен в неизображенном варианте осуществления в одной из створных предкамер 51, 52.
Устройство 46 ограничения воздушного потока работает следующим образом. В открытом положении ограничителя 49 воздух может течь от внешней стороны 2 по фальцевому участку 9 через сопловые отверстия 34, сквозные отверстия 50, первую створную предкамеру 51, сквозные отверстия 53, вторую створную предкамеру 52 и сквозные отверстия 54 к внутренней стороне 3, как это обозначено на фиг.6 указывающими направление течения стрелками 55, 56.
Перемещение ограничителя 49 из открытого положения в изображенное на фиг.7 закрытое положение происходит так же, как это описано в связи с ограничителем 36 устройства 28 ограничения воздушного потока. В закрытом положении ограничителей 36 и 49 течение воздуха от внешней стороны 2 к внутренней стороне 3 невозможно, как это обозначено на фиг.7 указывающими направление течения стрелками 57.
Другое выполнение устройства 58 ограничения воздушного потока изображено на фиг.10-13. Компоненты, соответствующие компонентам, уже описанным выше со ссылкой на фиг.1-9, обозначены теми же ссылочными позициями и еще раз подробно не поясняются.
Устройство 58 ограничения воздушного потока содержит поверхностный несущий элемент 59, защелкнутый посредством фиксирующего носика 60 в приемный паз 13 створной рамы 5. В качестве альтернативы возможно защелкивание несущего элемента одного из других описанных здесь вариантов устройства ограничения воздушного потока в приемный паз 13 для внешнего упорного уплотнения 10. Несущий элемент 59 представляет собой профильный конструктивный элемент, который отрезают на желаемую длину перпендикулярно плоскости сечения на фиг.10 и 11.
Под приемным пазом 13 несущий элемент 59 опирается через опорное ребро 61 на внутреннюю ограничительную стенку створной рамы 5 на высоте первой створной предкамеры 51. Рядом с опорным ребром 61 с несущим элементом 59 сочленен ограничитель 62 устройства 58 ограничения воздушного потока. Ограничитель 62 выполнен по типу уже описанных выше ограничителей.
Несущий элемент 59 заменяет по своей длине соответствующий участок не изображенного на фиг.10 и 11 внутреннего упорного уплотнения между створной рамой 5 и коробкой 6. Между несущим элементом 59 и коробкой 6 даже при закрытой створной раме 5 остается промежуток 63, через который возможно прохождение воздуха. Промежуток 63 может быть разделен на несколько отдельных каналов вентиляционного канала посредством отформованных на несущем элементе 59 дистанционных элементов (не показаны). Дистанционные элементы обеспечивают определенное прилегание створной рамы 5 к коробке 6 в зоне несущего элемента 59.
В изображенном на фиг.11 закрытом положении свободный конец ограничителя 62 прилегает к внутренней ограничительной стенке коробки 6 в направлении фальцевого участка 9. За счет этого промежуток 63 воздухонепроницаемо отделен от фальцевого участка 9.
Устройство 58 ограничения воздушного потока работает следующим образом. Пока ограничитель 62 находится в открытом положении, воздух может течь от фальцевого участка 9 через промежуток 63 к внутренней стороне 3, как это обозначено на фиг.10 указывающими направление течения стрелками 64, 65. В открытом положении ограничитель 62 проходит навстречу направлению воздушного потока. Перемещение ограничителя 62 происходит в соответствии с тем, что рассматривалось выше в связи с уже описанными устройствами ограничения воздушного потока. В закрытом положении воздух больше не может течь от фальцевого участка 9 к внутренней стороне 3, как это обозначено указывающей направление течения стрелкой 66.
Другой вариант осуществления устройства 67 ограничения воздушного потока изображен на фиг.16-19. Компоненты, соответствующие компонентам, уже описанным выше со ссылкой на фиг.1-13, обозначены теми же ссылочными позициями и еще раз подробно не поясняются.
Устройство 67 ограничения воздушного потока содержит канальный элемент 68, полностью перекрывающий фальцевый участок 40 для стекла между сквозным отверстием 41 и штапиком 30. Канальный элемент 68 выполнен ответным к внутренней ограничительной стенке 37 фальца для стекла и соединен, в частности склеен, с ней. Канальный элемент 68 может быть соединен с элементом монтажной колодки (не показан) створной рамы 5. Канальный элемент 68 ограничивает вместе со штапиком 30 внутренний конечный участок вентиляционного канала. Нижняя на фиг.14 ограничительная стенка 69 обеспечивает герметичное отделение этого участка вентиляционного канала от остального фальцевого участка 40 для стекла. Канальный элемент 68 имеет со стороны входа сквозное отверстие 70, соосное со сквозным отверстием 41. Со стороны выхода канальный элемент 68 имеет выходное отверстие 71, создающее связь с внутренним пространством штапика 30.
В канальном элементе 68 расположен ограничитель 72. Последний линейно сочленен с нижней на фиг.14 ограничительной стенкой канального элемента, как это описано выше в связи с ограничителями в выполнениях согласно фиг.1-13. Ограничитель 72 изображен на фиг.14 в открытом положении, а на фиг.15 – в закрытом положении.
Устройство 67 ограничения воздушного потока работает следующим образом. Пока ограничитель 72 находится в открытом положении, возможен воздушный поток от внешней стороны 2 через фальцевый участок 9, сквозное отверстие 39, полую камеру 38, сквозное отверстие 41, сквозное отверстие 70, канальный элемент 68, выходное отверстие 71, штапик 30 и выходное отверстие 42 к внутренней стороне 3, как это обозначено на фиг.14 указывающими направление течения стрелками 73, 74. Перемещение ограничителя 72 из открытого положения в закрытое положение происходит, как это описано выше, в связи с устройствами ограничения воздушного потока согласно фиг.1-13. Как только ограничитель 72 окажется в закрытом положении, в котором свободный конец ограничителя 72 прилегает к верхней на фиг.14 и 15 ограничительной стенке канального элемента 68, воздушный поток через канальный элемент 68 блокирован, как это обозначено на фиг.15 указывающей направление течения стрелкой 75.
Все описанные выше варианты осуществления устройств ограничения воздушного потока могут использоваться в рамном блоке 4 по отдельности или в комбинации.
Формула изобретения
1. Рамный блок (4), содержащий створную раму (5), наружную коробку (6), по меньшей мере, один вентиляционный канал между внешней стороной (2) и внутренней стороной (3) рамного блока (4), по меньшей мере, одно расположенное в вентиляционном канале устройство (1; 28; 46; 58; 67) ограничения воздушного потока с поворотным относительно неподвижно установленного на раме несущего элемента (14; 29; 47; 59; 68) поверхностным ограничителем (17; 36; 49; 62; 72), установленным с возможностью начала перемещения между открытым положением, в котором ограничитель (17; 36; 49; 62; 72) открывает вентиляционный канал, и закрытым положением, в котором ограничитель (17; 36; 49; 62; 72), по меньшей мере, частично закрывает вентиляционный канал, причем ограничитель (17; 36; 49; 62; 72) выполнен таким образом, что он находится в открытом положении, пока скорость течения воздуха по вентиляционному каналу ниже предельного значения, отличающийся тем, что ограничитель (17; 36; 49; 62; 72) расположен в вентиляционном канале с возможностью начала перемещения между открытым и закрытым положениями за счет разности между скоростью течения воздуха мимо обращенной к вентиляционному каналу стороны (25) ограничителя (17; 36; 49; 62; 72) и скоростью течения воздуха мимо обращенной от вентиляционного канала стороны (26) ограничителя (17; 36; 49; 62; 72).
2. Блок по п.1, отличающийся тем, что ограничитель (17; 36; 49; 62; 72) выполнен в виде мягкого по сравнению с несущим элементом (14; 29; 47; 59; 68) пластикового язычка.
3. Блок по п.1 или 2, отличающийся тем, что ограничитель (36; 49; 72) в закрытом положении прилегает к упору несущего элемента (29; 47; 68) или рамного блока (4).
4. Блок по п.1, отличающийся тем, что устройство (1; 28; 46) ограничения воздушного потока содержит сопловое тело, по меньшей мере, с одним сопловым отверстием (20; 34), расположенное рядом с ограничителем (17; 36; 49) так, что скорость течения воздуха мимо ограничителя (17; 36; 49) задается посредством ширины соплового отверстия (20; 34).
5. Блок по п.4, отличающийся тем, что сопловые отверстия (20; 34) выполнены одинаково и расположены рядом друг с другом поперек направления течения воздуха.
6. Блок по п.4 или 5, отличающийся тем, что сопловое тело служит одновременно несущим элементом.
7. Блок по п.1, отличающийся тем, что ограничитель (17; 36; 49; 62; 72) и/или несущий элемент (14; 29; 47; 59; 68) выполнен из стандартных секций с заданной шириной поперек направления течения воздуха.
8. Блок по п.1, отличающийся тем, что ограничитель (62) и/или несущий элемент (59) выполнен в виде профильного конструктивного элемента.
9. Блок по п.1, отличающийся тем, что полая камера фальцевого участка (40) для стекла, в частности соединенного со створной рамой (5) штапика (30), образует внутренний конечный участок вентиляционного канала, причем ограничитель (36; 72) расположен, в частности, в полой камере.
10. Блок по п.9, отличающийся тем, что со штапиком (30) или створной рамой (5) соединен канальный элемент (29; 68).
11. Блок по п.10, отличающийся тем, что канальный элемент (68) полностью задает воздушный поток на фальцевом участке (40) для стекла, причем ограничитель (72) расположен, в частности, в канальном элементе (68).
12. Блок по п.10 или 11, отличающийся тем, что канальный элемент (68) соединен с элементом монтажной колодки створной рамы (5).
13. Блок по п.1, отличающийся тем, что канальный участок (63) в предусмотренном для внутреннего упорного уплотнения промежутке (63) между створной рамой (5) и наружной коробкой (6) образует внутренний конечный участок вентиляционного канала, причем ограничитель (17; 62) расположен, в частности, рядом с промежутком (63).
14. Блок по п.13, отличающийся тем, что канальный участок в предусмотренном для внутреннего упорного уплотнения промежутке (63) образован несколькими отдельными каналами, между которыми расположены дистанционные элементы, посредством которых закрытая створная рама (5) прилегает к наружной коробке (6).
15. Блок по п.1, отличающийся тем, что полая камера створной предкамеры (51, 52) створной рамы (5) образует внутренний конечный участок вентиляционного канала, причем ограничитель (49) расположен, в частности, в полой камере или рядом с ней.
16. Блок по п.1, отличающийся тем, что канальный элемент (14), прилегающий к верхней замыкающей стенке (15) верхней при смонтированном рамном блоке (4) створной рамы (5), образует внутренний конечный участок вентиляционного канала, причем ограничитель (17) расположен, в частности, в канальном элементе (14).
17. Блок по п.1, отличающийся тем, что несущий элемент (59) содержит фиксирующее тело (60), которое защелкнуто в участок фиксирующего приемного элемента (13) створной рамы (5) или наружной коробки (6) для упорного уплотнения.
18. Блок по п.1, отличающийся тем, что несущий элемент (14; 29; 47; 59; 68) склеен со створной рамой (5) или наружной коробкой (6).
19. Устройство ограничения воздушного потока для использования в рамном блоке по п.1.
РИСУНКИ
|