|
|
(21), (22) Заявка: 2009103171/28, 30.01.2009
(24) Дата начала отсчета срока действия патента:
30.01.2009
(46) Опубликовано: 20.04.2010
(56) Список документов, цитированных в отчете о поиске:
RU 2178602 С2, 20.01.2002. RU 2231808 C1, 27.06.2004. EP 0777277 A1, 04.06.1997. US 6043495 A, 28.03.2000.
Адрес для переписки:
124460, Москва, г. Зеленоград, проезд 4806, 6, ФГУП “Научно-исследовательский институт физических проблем им. Ф.В. Лукина”, директору А.М. Пилевину
|
(72) Автор(ы):
Васенков Александр Анатольевич (RU), Ильичев Эдуард Анатольевич (RU), Кацоев Валерий Витальевич (RU), Кацоев Леонид Витальевич (RU), Кочержинский Игорь Константинович (RU), Полторацкий Эдуард Алексеевич (RU), Рычков Геннадий Сергеевич (RU), Гнеденко Валерий Герасимович (RU), Федоренко Станислав Николаевич (RU)
(73) Патентообладатель(и):
ФГУП “Научно-исследовательский институт физических проблем им. Ф.В. Лукина” (RU)
|
(54) ДЕТЕКТОР ИОНИЗИРУЮЩИХ ИЗЛУЧЕНИЙ
(57) Реферат:
Изобретение относится к твердотельным детекторам ионизирующих излучений. В твердотельный детектор ионизирующих излучений, содержащий полупроводниковую подложку с омическим контактом к ее тыльной стороне, с расположенным на ее лицевой стороне изотипным подложке полупроводниковым слоем, с расположенным на этом слое полупроводниковым высокоомным слоем, с расположенным на высокоомном слое слоем противоположного подложке типа проводимости и расположенным на последнем контактным слоем, причем последние два слоя выполнены в виде гальванически не связанных областей, дополнительно вводят микроструктурированный слой из алмаза С*, слаболегированный акцепторами, расположенный на упомянутом выше контактном слое, и второй контактный слой, расположенный на лицевой стороне упомянутого алмазного микроструктурированного слоя. Технический результат – повышение чувствительности детектора. 3 ил.
Изобретение относится к твердотельным детекторам ионизирующих излучений.
Твердотельные детекторы ионизирующих излучений являются элементной базой диагностических систем атомных предприятий, геологической разведки, экологического мониторинга окружающей среды и медицинской техники.
Известны детекторы ионизирующих излучений, принцип действия которых основан на ионизации рабочего газа и пропорциональном преобразовании энергии кванта (частицы) в ток упомянутых ионов [1].
Основным достоинством таких детекторов является высокая стойкость к дозовым радиационным нагрузкам. К их недостаткам относится неудовлетворительное пространственное разрешение, что препятствует их использованию в системах позиционирования пучка и распознавания плоских изображений.
В качестве прототипа изобретения предлагается использовать кремниевый твердотельный детектор барьерного типа [2]. Он представляет собой многоэлементный детектор, выполненный на основе барьерной кремниевой p-i-n структуры, использование которой обеспечивает возможность устранения рекомбинационных каналов внутри i-слоя посредством обратного смещения структуры и практически обеспечивает 100% разделение информативных неравновесных носителей со считыванием заряда во внешнюю цепь. Конструкция такого детектора представляет кремниевую подложку с омическим контактом к ее тыльной стороне, несущую многослойную структуру из последовательно расположенных друг на друге следующих полупроводниковых кремниевых слоев: изотипного подложке слоя (например, для подложки n-типа проводимости, слоя n-типа проводимости), высокоомного слоя с проводимостью, близкой к собственной, и высоколегированного слоя, противоположного подложке типа проводимости, с омическим контактом к нему; при этом высоколегированный слой противоположного подложке типа проводимости вместе с контактным слоем разделен на гальванически несвязанные области изолирующими областями (например, разделен воздушным промежутком посредством травления «мез»). Толщины и уровни легирования (уровни концентраций доминирующих равновесных носителей) слоев задают исходя из условий конкретных решаемых задач (типа и энергии детектируемых излучений), и диапазоны их составляют обычно следующие величины: несущая подложка толщиной 300 700 мкм легирована донорами до концентраций
1017 1019 см-3, слой, изотипный подложке (например, n-слой), толщиной 0,5 10,0 мкм с уровнем легирования донорной примесью ~1017 1019 см-3; i-слой (приемный слой) толщиной от 5 мкм до 500 мкм при уровне загрязнения фоновой примесью не выше
1013 см-3; p-слой имеет толщину от 0,1 мкм до 0,5 мкм при легировании примесью акцепторного типа до уровня ~1017 1019 см-3.
Пороговая чувствительность таких детекторов ограничивается токами утечек барьерных контактов и уровнем собственных шумов (в частности, уровнем генерационно-рекомбинационного шума). Исполнение такого детектора в виде многоэлементной конструкции позволяет существенно повысить пространственное разрешение (до 10 мкм), что дает возможность активно использовать Si p-i-n детекторы для задач, связанных с позиционированием пучка, и для дефектоскопии.
Однако в ряде задач, пороговой чувствительности даже этих детекторов оказывается недостаточно. В частности, это характерно при попытках их использования в системах экологического мониторинга либо в системах медицинской диагностики. Причина тому – необходимость работы с чрезвычайно слабыми потоками ионизирующих излучений. Так, при экологическом мониторинге местности, в силу загрязнения остаточными радионуклидами самого материала датчика (кремния), при дозиметрических измерениях детектор, подчас, начинает регистрировать собственный радиационный фон. Те же требования к повышению чувствительности возникают и в медицинских применениях, например при техническом обеспечении диагностических методик радиологических центров. В частности, при типичных для полупроводниковых детекторов (ППД) на основе кремния токах утечки ~5·10-10 A на ячейку в дозиметрических системах контроля с постоянной времени обработки информации ~1 мкс возможна регистрация одиночных квантов лишь в области энергий, превышающих 20 кэВ. Очевидно, что для безопасности пациентов и обслуживающего персонала предпочтительным является воздействие на них малых доз и энергий.
Указанный недостаток прототипа предлагается устранить посредством изготовления однокристальной конструкции, схематически представленной на фиг.1-3, позволяющей перед регистрацией входного потока ионизирующего излучения приемно-преобразовательным высокоомным i-слоем Si p-i-n структуры производить полное либо частичное его преобразование в алмазном слое в поток вторичных электронов с умножением их числа и последующим вводом вторичных электронов в высокоомный i-слой Si p-i-n детекторной структуры.
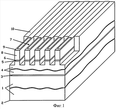
Предлагается в детектор ионизирующих излучений, содержащий полупроводниковую подложку 1 с омическим контактом 2 к ее тыльной стороне, с расположенными на ее лицевой стороне последовательно друг на друге изотипным подложке полупроводниковым слоем 3, полупроводниковым высокоомным слоем 4, полупроводниковым слоем 5 противоположного подложке типа проводимости, контактным слоем 6, при этом последние два из упомянутых слоев 5 и 6 выполнены в виде гальванически не связанных областей (например, отделены воздушными промежутками 7 посредством травления «мез»), дополнительно ввести микроструктурированный (например, выполненный в виде сетки с ячейками микронного либо субмикронного размера) слой 8 из алмаза (С*), слаболегированный акцепторами и расположенный на упомянутом контактном слое 6, и второй контактный слой 9, расположенный на лицевой стороне слоя 8.
На фиг.1-3 представлены схематическое изображение предлагаемого детектора (фиг.1) и его проекции в направлениях А-А (фиг.2) и ВВ (фиг.3), где введены следующие обозначения:
1 – полупроводниковая подложка, 2 – омический контакт к тыльной стороне подложки, 3 – изотипный подложке полупроводниковый слой, 4 – высокоомный приемно-преобразовательный слой, 5 – полупроводниковый слой противоположного подложке типа проводимости, 6 – контактный слой, 7 – воздушные зазоры (изолирующие промежутки), 8 – микроструктурированный слой из алмаза, С*, 9 – второй контактный слой, 10 – межэлектродная изоляция.
Положительный эффект (повышение чувствительности детектора по сравнению с прототипом) обеспечивается тем, что область микроструктурированного слоя из алмаза (С*) р-типа проводимости, в силу отрицательного значения энергии сродства у алмаза к электрону, будет вести себя по отношению к потоку ионизирующих излучений как умножитель потока частиц. Действительно, согласно [3] существует простая связь между количеством вторичных ( -электронов) электронов и энергией первичной частицы (здесь ~10 эВ, есть энергия образования по ионизационному механизму в алмазе -электронов). Так, при энергии первичной частицы ~1 МэВ, одной первичной частицей в микроструктурированной алмазной пленке будет рождено 100000 вторичных электронов. Поэтому вторичные электроны, родившиеся в алмазной сеткообразной пленке, в случае если расстояние между порами (ячейками) сетки не превышает диффузионной длины электрона в алмазе с вероятностью, близкой к единице, покинут пленку, выйдя в воздушный промежуток (в поры микроструктурированного слоя из алмаза). Ускоряясь в направлении к р-слою p-i-n структуры и дополнительно умножаясь, массив из вторичных электронов внедряется в высокоомный i-слой кремния, порождает электронно-дырочные пары, ток которых и будет считан во внешнюю цепь. С целью уменьшения потерь, контактный слой 6 может быть выполнен по топологическому рисунку микроструктурированного алмазного слоя, например, в виде сетки (в частности, например, сетки из молибдена, сформированной в одном фотолитографическом процессе на стадии формирования сетчатого рисунка из нанокристаллических зародышей для роста алмазного С* слоя 8).
Таким образом можно достичь повышения чувствительности (понижения порога чувствительности детектора) за счет умножения первичного потока в микроструктурированном слое из алмаза, С*, детекторной структуры, не увеличивая при этом ток от компонентов собственных шумов детектора (его тепловой, генерационно-рекомбинационной и дробовой компонент). Многоэлементность конструкции, обусловленная разделением воздушными промежутками слоев 5 и 6 на локальные области, позволяет детектировать плоские изображения в слабых потоках частиц либо ионизирующих -излучений.
Работа заявляемого детектора осуществляется следующим образом.
Высокоэнергетические частицы, либо гамма-кванты, взаимодействуют с ионами решетки объема микроструктурированного слоя из алмаза (С*) 8 по одному из известных механизмов, преобразуя энергию ионизирующего излучения в неравновесные электроны [3], с последующим выходом неравновесных электронов в поры алмазного слоя, ускорением их во внешнем поле в направлении р-слоя кремниевой p-i-n структуры с последующим внедрением в высокоомный i-слой. В i-слое происходит преобразование потока вторичных электронов в неравновесные электронно-дырочные пары, заряд которых в поле обратно смещенной p-i-n структуры и будет считан во внешнюю цепь в виде информационного тока. Таким образом, можно осуществить эффективное умножение первичного потока, особенно малых потоков (тяжелых частиц либо медленных электронов). Толщина алмазного слоя С* 8 определяется условиями конкретной задачи (энергией и типом детектируемых высокоэнергетических частиц либо квантов). В частности, для потока первичных электронов с энергией ~1 кэВ оптимальная толщина слоя 8 составит ~3 5 мкм, а для -частиц с энергией 5 МэВ она составит 50 60 мкм.
Назначение контактных слоев 6 и 9 – обеспечить гальваническую связь для задания на структуре разности потенциалов, создающей ускоряющее в слое С* поле, а в i-слое – поле, разделяющее неравновесные электроны и дырки.
Размер локальной области (ячеек приемопреобразовательных областей многоэлементных детекторов) снизу ограничен диффузным размывом изображения, в силу малости времени пролета (~10-9 с) и незначительности градиента концентрации неравновесных носителей (для энергий детектируемых -частиц ~5 МэВ, не превышает величины 106 шт/мкм), он не превышает 1-2 мкм, что делает детектор актуальным для регистрации с высоким пространственным разрешением плоских изображений в потоках ионизирующих излучений. С учетом пространственного разнесения элементов разрешение изображения в плоскости пластины будет зависеть от толщины приемного слоя 3, а значит будет варьироваться в зависимости от типа регистрируемого излучения и его энергетических характеристик.
Заметим, альтернативам материалу Si p-i-n структуры может быть p-i-n структуры из арсенида галлия, теллурида кадмия и т.д. Использование этих материалов позволит, помимо указанных выше преимуществ, реализовать существенно большую (на полтора-два порядка) чем у прототипа стойкость приборов к дозовым радиационным нагрузкам.
Изготовить предлагаемую Si p-i-n/C* гетероструктуру возможно с использованием групповых процессов микроэлектронных технологий, плазмохимического травления и плазмостимулированного газофазного метода (PECVD) роста по заданному рисунку на выбранной p-i-n структуре поликристаллических алмазных пленок.
Для этого на контактный электрод 6 к верхнему слою детекторной p-i-n структуры наносят слой зародышей из нанокристаллитов алмаза и под слоем маски (например, наноразмерной толщины слоя из ванадия и субмикронной толщины слоя алюминия) с помощью фотолитографии и плазмохимического травления формируют требуемый рисунок из упомянутых зародышей и разделительные промежутки в контактном слое и в р-слое, затем снимают маску из алюминия и с помощью PECVD метода выращивают [4] микроструктурированный алмазный слой, слаболегированный акцепторами и требуемой толщины, затем под острым углом (для предотвращения шунтирования умножительных алмазных областей) напыляют верхний контактный электрод к алмазному слою.
Источники информации
Формула изобретения
Детектор ионизирующих излучений, содержащий полупроводниковую подложку с омическим контактом к ее тыльной стороне, последовательно расположенные на лицевой стороне подложки друг на друге: изотипный подложке полупроводниковый слой, полупроводниковый высокоомный слой, полупроводниковый слой противоположного подложке типа проводимости и расположенный на этом слое контактный слой, при этом последние два слоя выполнены в виде гальванически не связанных областей, отличающийся тем, что он дополнительно содержит микроструктурированный слой из алмаза (С*), слабо легированный акцепторами и расположенный на упомянутом контактном слое, на лицевой стороне которого расположен второй контактный слой.
РИСУНКИ
|
|