|
|
(21), (22) Заявка: 2009107808/06, 04.03.2009
(24) Дата начала отсчета срока действия патента:
04.03.2009
(46) Опубликовано: 20.04.2010
(56) Список документов, цитированных в отчете о поиске:
RU 2189543 C1, 20.09.2002. RU 72047 U1, 27.03.2008. RU 2254523 C1, 20.06.2005. RU 2280822 C2, 27.07.2006. EP 1692435 A1 23.05.2006.
Адрес для переписки:
414041, г.Астрахань, ул. Б. Алексеева, 14, кв.70, А.М.Кокареву
|
(72) Автор(ы):
Кокарев Александр Михайлович (RU), Бирюлин Игорь Борисович (RU), Школьник Борис Иосифович (RU), Шамсудинов Тагир Фасхидинович (RU)
(73) Патентообладатель(и):
Кокарев Александр Михайлович (RU), Бирюлин Игорь Борисович (RU), Школьник Борис Иосифович (RU), Шамсудинов Тагир Фасхидинович (RU)
|
(54) СОЛНЕЧНО-ВЕТРОВАЯ ВОДОНАГРЕВАТЕЛЬНАЯ УСТАНОВКА
(57) Реферат:
Изобретение относится к гелиоветроэнергетике и может быть использовано в системах горячего водоснабжения жилых и производственных помещениях. Солнечно-ветровая водонагревательная установка состоит из секционного теплообменника типа «труба в трубе», вертикального секционного теплогенератора, вал которого вращает ветродвигатель, размещенных в помещении, на крыше которого установлена водяная емкость, связанная гидравлически прямым и обратным трубопроводами с ними. Теплообменник установлен за лучепрозрачным экраном с южного фасада здания, сзади которого размещен теплогенератор, имеющий нижнюю – теплогенерирующую, среднюю – теплоаккумулирующую и верхнюю – насосную секции. Рабочее колесо насосной секции, прикрепленное к валу теплогенератора, по трубопроводам прокачивает воду через теплообменник, емкость и обратно в насосную секцию. Нагретая вода в емкости расходуется на нужды потребителя, с поддержанием в ней постоянного объема поплавковым регулятором уровня, связанным с системой холодного водоснабжения. Изобретение позволит комбинировать известное оборудование для обеспечения нагрева воды, используя солнечную и ветровую энергии. 4 ил.
Изобретение относится к гелиоветроэнергетике и может быть использовано в системах горячего водоснабжения жилых и производственных помещений.
Известен многосекционный теплообменник типа «труба в трубе», содержащий секции внутренних и наружных труб, соединенные внахлестку и с помощью втулок, он может быть любой длины при соединении секций по спирали в виде змеевика (а.с. 311124, 1971 г., СССР).
В известном теплообменнике нагрев воды производится высокотемпературным теплоносителем например паром. Солнце и ветер для нагрева воды в нем не используются.
Известен теплогенератор для биореактора, содержащий вертикальный корпус с поярусно размещенными в нем секциями, контактирующие через вал с ветродвигателем, а верхняя секция через нагревательный и всасывающий трубопровод связана с биореактором (патент РФ 2230933, 2004 г.).
В известном теплогенераторе нагрев рабочей жидкости производится за счет преобразования энергии ветра в тепловую, солнечная энергия для нагрева жидкости в нем не используется.
Наиболее близкой по технической сущности к заявляемому решению является пассивная низкотемпературная система солнечного отопления «стена-коллектор», содержащая лучепрозрачный экран, черную лучевоспринимающую поверхность стены и жалюзи (В.Н.Богословский и др. Отопление, 1991 г., Стройиздат, стр.710, Рис.20.5).
В конструкции известной системы не предусмотрен нагрев воды и ее использование. Технический результат заключается в комбинировании известным оборудованием для обеспечения нагрева воды, используя солнечную и ветровую энергии.
Технический результат достигается тем, что солнечно-ветровая водонагревательная установка, состоящая из теплообменника и теплогенератора, размещенные в помещении, на крыше которого установлена водяная емкость, связанная гидравлически прямым и обратным трубопроводами с ними, а также системой подачи холодной воды и потребителем горячей воды, согласно изобретению теплообменник состоит из секций типа «труба в трубе», установленный вертикально за лучепрозрачным экраном, перед которым установлены жалюзи, пропускающие через себя солнечные лучи. Теплогенератор, установленный за теплообменником, содержит цилиндрический корпус с поярусно размещенными в нем секциями, разделенными между собой перегородками, и крышку, через которую проходит вал, через муфту вверху соединенный с валом ветродвигателя. Нижняя секция теплогенератора – теплогенерирующая, средняя секция – теплоаккумулирующая и верхняя секция – насосная, в которой к валу, в верхней части, прикреплено рабочее колесо насоса, через патрубок в крышке теплогенератора производится всасывание жидкости, а через патрубок, прикрепленный сбоку секции, – ее нагнетание. Емкость имеет в верхней части, с левой стороны, патрубок, через вентиль сообщена с системой подачи холодной воды, а в нижней части она имеет патрубок, через вентиль связана с потребителем горячей воды, причем верхний патрубок внутри емкости сообщен с поплавковым регулятором уровня, к которому прикреплен U-образный трубопровод, размещенный в емкости, с выходным его отверстием в ее правой части. Теплообменник с правой стороны имеет вентили, сообщающие его через байпасный трубопровод с вентилем и прямым трубопроводом с емкостью, которая справа в нижней части через вентиль, обратный трубопровод и патрубок в крышке сообщена с теплогенератором, с его насосной секцией, которая через патрубок и вентиль сообщена с байпасным трубопроводом с левой стороны.
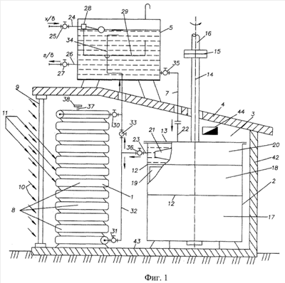
На фиг.1 изображены солнечно-ветровая водонагревательная установка (общий вид), на фиг.2 изображен многосекционный теплообменник типа «труба в трубе» (вид спереди), на фиг.3 изображен теплообменник (вид сверху), на фиг.4 – узел соединения секций теплообменника.
Солнечно-ветровая водонагревательная установка состоит из теплообменника 1 и теплогенератора 2, размещенные в помещении 3, на крыше 4 которого установлена водяная емкость 5, связанная гидравлически прямым 6 и обратным 7 трубопроводами с ними. Теплообменник 1 состоит из секций 8 типа «труба в трубе», установленный вертикально за лучепрозрачным экраном 9, перед которым установлены жалюзи 10, пропускающие через себя солнечные лучи 11. Теплогенератор 2, установленный за теплообменником, содержит цилиндрический корпус с поярусно размещенными секциями, разделенными между собой перегородками 12, и крышку 13, через которую проходит вал 14, через муфту 15 соединенный с валом 16 ветродвигателя (не показан). Нижняя секция 17 теплогенератора 2 – теплогенерирующая – заполнена высоковязкой жидкостью, например трансформаторным маслом, к валу 14, в нижней его части, прикреплены лопатки, выполненные в виде дисков, а к внутренней стенке секции 17 прикреплены неподвижные диски, размещенные между подвижными дисками в горизонтальной плоскости (не показаны). Средняя секция 18 теплогенератора 2 – теплоаккумулирующая – заполнена теплоаккумулирующим веществом фазового перехода и имеет спиралеобразную поверхность 19. Верхняя секция 20 теплогенератора 2 насосная. В ней к валу 14, в верхней части, прикреплено рабочее колесо насоса 21, через патрубок 22 в крышке 13 теплогенератора 2 производится всасывание жидкости, а через патрубок 23, прикрепленный сбоку секции 21, – ее нагревание. Емкость 5 имеет в верхней части, с левой стороны, патрубок 24, через вентиль 25 сообщена с системой подачи холодной воды (не показана), а в нижней части она имеет патрубок 26, через вентиль 27 связана с потребителем горячей воды (не показан). Патрубок 24 сообщен внутри емкости 5 с поплавковым регулятором уровня 28, к которому прикреплен U-образный трубопровод 29, размещенный в емкости 5, с выходным его отверстием в ее правой части. Теплообменник 1 с правой стороны имеет сверху вентиль 30, а снизу – вентиль 31, сообщающие его через байпасный трубопровод 32, и вентиль 33 на нем и прямой трубопровод 6 с емкостью 5. Прямой трубопровод 6 сообщен с вертикальным змеевиковым трубопроводом 34, размещенный в средней части емкости 5, с выходным его отверстием под уровнем воды. Емкость 5 справа в нижней части через вентиль 35, обратный трубопровод 7 и патрубок 22 в крышке 13 сообщена с теплогенератором 2, с его насосной секцией 20, которая через патрубок 23 и вентиль 36 сообщена с байпасным трубопроводом 32 с левой стороны. Сверху теплообменник 1 имеет патрубок 37 с пробкой 38 для заполнения его секций 8 (межтрубное пространство) теплоаккумулирующим веществом фазового перехода, например парафином. Секции 8 состоят из наружной трубы 8 и внутренней трубы 39. Секции внутренней трубы 39 соединены внахлестку, а секции наружной установлены с осевым зазором и соединены с помощью втулки 40, расположенной над местами сочленения 41 внутренних секций. Теплообменник 1 установлен на южном фасаде помещения 3, а теплогенератор – у стенки 42, северная сторона, оба размещены на фундаменте 43 помещения 3. Вентиляционный канал 44 сообщает помещение 3 с атмосферой, или теплый, воздух используют на отопление складских или иных помещений. Всю поверхность теплообменника 1 снаружи окрашивают в черный цвет. Емкость 5 и теплогенератор 2 снаружи имеют слой теплоизоляции (не показана).
Ветродвигатель известной конструкции быстроходный, должен при оптимальной скорости ветра обеспечить нагрев воды в секции 20 теплогенератора 2 до температуры 65-70°С в течение часа.
Размер межтрубного пространства а (см. фиг.4) должен находиться в пределах:
а=(0,5:0,8)dв.тp, где dв.тр – диаметр внутренней трубы 39 мм.
Размер между секциями в (см. фиг.3) должен быть минимально возможным, т.е. в=(1,5:2,0)dн.тр, где dн.тр – диаметр наружной трубы 8 мм. Размер между секциями 8 по высоте (см. фиг.2) должен находиться в пределах с=(0,8:1,2)dн.тр, где dн.тр – диаметр наружной трубы 8 мм.
Солнечно-ветровая водонагревательная установка работает следующим образом.
Теплообменник 1 через патрубок 37, его межтрубное пространство, заполняют расплавленным в жидком состоянии парафином и закрывают пробкой 38. В теплогенераторе 2 секцию 17 заполняют трансформаторным маслом, а секцию 18 – жидким, расплавленным парафином. Закрывают вентиль 27 на емкости 5, а вентили 30, 31, 33, 35 и 36 открывают. При наличие давления в системе холодного водоснабжения открывают вентиль 25 и полностью заполняют водонагревательную установку водой, т.е. теплообменник 1, секцию 20 теплогенератора 2 и емкость 5 (см. фиг.1).
Вал 14 теплогенератора 2 через муфту 15 подсоединяют к валу 16 ветродвигателя. Нагрев воды в солнечную и ветреную погоду установкой осуществляется следующим образом. Закрывают вентиль 33 на байпасном трубопроводе 32, рабочее колесо насоса 21, вращаясь, создает циркуляцию воды через вентиль 36, байпасный трубопровод 32, вентиль 31, секционный теплообменник 1, его внутреннюю трубу 39, вентиль 30, прямой трубопровод 6, емкость 5, вентиль 35 и обратный трубопровод 7. При наличие ветра достаточной силы вязкая жидкость в секции 17 теплогенератора 2 будет постепенно нагреваться и отдавать тепло через перегородки 12, секции 18 и затем секции 20, через которую циркулирует вода. Лучи Солнца через жалюзи 10 и лучепрозрачный экран 9 также начнут нагревать секции 8 теплообменника 1 и через парафин циркулирующую воду во внутренней трубе 39, сообщенную гидравлически с байпасным трубопроводом 32 и прямым трубопроводом 6. При нагреве воды в емкости 5, например, до температуры 60°С вентиль 27 открывают и потребитель начнет ее использовать. Одновременно открывают и вентиль 25, холодная вода начнет поступать в емкость 5, восполнять объем горячей воды, взятый потребителем. Холодная вода поступает в U-образный трубопровод 29, где она частично нагревается от горячей воды, находящейся в емкости 5, и затем захватывается через вентиль 35 и обратный трубопровод 7 в секцию 20 для дальнейшего нагрева. При временной облачности в дневное время разогретый парафин охлаждается и отдает тепло трубопроводу 39, в котором циркулирует вода. При появлении Солнца цикл нагрева воды продолжится. На ночь жалюзи 10 закрывают для сохранения тепла в теплообменнике 1. Открывают вентиль 33, а вентили 30 и 31 закрывают. При наличии ночью ветра вода в емкости 5 будет нагреваться за счет тепла теплогенератора 2, т.е. циркуляции горячей воды из секции 20 через вентили 36, 33, прямой трубопровод 6, емкость 5, вентиль 35, обратный трубопровод 7 и снова секция 20. Утром при появлении Солнца жалюзи 10 и вентили 30 и 31 открывают, а вентиль 33 закрывают и тем самым теплообменник 1 снова вводится в режим циркуляции горячей воды на весь солнечный день.
Предлагаемая солнечно-ветровая водонагревательная установка состоит из известного оборудования, может быть использована как в стационарном, так и в передвижном вариантах в южных регионах России. Проста по устройству и в эксплуатации, надежна в работе, а потому она найдет применение в фермерских хозяйствах, турбазах и отдаленных населенных пунктах, для получения горячей воды круглосуточно и круглогодично.
Формула изобретения
Солнечно-ветровая водонагревательная установка, состоящая из теплообменника и теплогенератора, размещенных в помещении, на крыше которого установлена водяная емкость, связанная гидравлически прямым и обратным трубопроводами с ними, а также с системой подачи холодной воды и потребителем горячей воды, отличающаяся тем, что теплообменник состоит из секций типа «труба в трубе», установлен вертикально за лучепрозрачным экраном, перед которым установлены жалюзи, пропускающие через себя солнечные лучи, теплогенератор, установленный за теплообменником, содержит цилиндрический корпус с поярусно размещенными секциями, разделенными между собой перегородками, и крышку, через которую проходит вал, через муфту вверху соединенный с валом ветродвигателя, нижняя секция теплогенератора – теплогенерирующая, средняя секция – теплоаккумулирующая и верхняя секция – насосная, в которой к валу в верхней части прикреплено рабочее колесо насоса, через патрубок в крышке теплогенератора производится всасывание жидкости, а через патрубок, прикрепленный сбоку секции, – ее нагнетание, емкость имеет в верхней части с левой стороны патрубок, через вентиль связана с системой подачи холодной воды, а в нижней части она имеет патрубок, через вентиль связанный с потребителем горячей воды, причем верхний патрубок внутри емкости соединен с поплавковым регулятором уровня, к которому прикреплен U-образный трубопровод, размещенный в емкости, с выходным его отверстием в ее правой части, теплообменник с правой стороны имеет вентили, соединяющие его через байпасный трубопровод с вентилем и прямой трубопровод с емкостью, которая справа, в нижней части через вентиль, обратный трубопровод и патрубок в крышке соединена с теплогенератором с его насосной секцией, которая через патрубок и вентиль связана с байпасным трубопроводом с левой стороны.
РИСУНКИ
|
|