|
|
(21), (22) Заявка: 2008146012/06, 26.07.2006
(24) Дата начала отсчета срока действия патента:
26.07.2006
(30) Конвенционный приоритет:
03.06.2005 DE 102005025501.9
(46) Опубликовано: 20.04.2010
(56) Список документов, цитированных в отчете о поиске:
GB 1394273 А, 14.05.1975. SU 1777641 А, 23.11.1992. SU 1118974 А, 15.10.1984. RU 2181463 С1, 20.04.2002. GB 981887 А, 27.01.1965. CN 12900061 А, 04.04.2001.
(62) Номер и дата подачи первоначальной заявки, из которой данная заявка выделена: 2006128493 03.05.2006
Адрес для переписки:
191002, Санкт-Петербург, а/я 5, ООО “Ляпунов и партнеры”, пат.пов. Е.Г.Ильмер, рег. 1144
|
(72) Автор(ы):
ФРЕДЕРИКСЕН Бьярне (DK), ГРЕГЕРСЕН Нильс (DK), ЛАРСЕН Арне Боэрге (DK), МАНСЧЕР Мартин (DK)
(73) Патентообладатель(и):
ДАНФОСС А/С (DK)
|
(54) РЕГУЛИРУЮЩАЯ НАСАДКА ДЛЯ КЛАПАНОВ ТЕПЛООБМЕННИКОВ, В ЧАСТНОСТИ ТЕРМОРЕГУЛИРУЮЩАЯ НАСАДКА ДЛЯ РАДИАТОРНЫХ КЛАПАНОВ
(57) Реферат:
Изобретение предназначено для регулирования клапанов теплообменников и может быть использовано в теплотехнике. Насадка оснащена приемником электроэнергии, источником электроэнергии и исполнительным устройством, взаимодействующим с затвором. Источник электроэнергии содержит термоэлектрический генератор, снабжающий электроэнергией приемник электроэнергии. Источник электроэнергии дополнительно оснащен фотоэлектрическим устройством. Изобретение обеспечивает уменьшение габаритов регулирующей насадки. 11 з.п. ф-лы, 3 ил.
Данное изобретение относится к насадке для регулирования клапанов теплообменников, более конкретно – к терморегулирующей насадке для радиаторных клапанов, оснащенной приемником электроэнергии, источником электроэнергии и исполнительным устройством, взаимодействующим с затвором.
Далее изобретение описано на примере терморегулирующей насадки для радиаторных клапанов, являющейся вариантом регулирующей насадки. Однако в принципе такую насадку можно использовать не только в радиаторах отопления, но и в прочих теплообменниках, применяемых для кондиционирования воздуха в помещениях, например в охлаждающих потолках и т.п.
Исполнительное устройство в такой насадке выполнено в виде термостатического элемента, объем которого меняется в зависимости от температуры. Если температура в помещении повышается, то термостатический элемент расширяется и сдвигает затвор в направлении седла клапана, поэтому расход теплоносителя уменьшается. Наоборот, при снижении температуры затвор отходит от седла и через радиатор начинает протекать большее количество теплоносителя.
Для изменения установленного значения температуры можно регулировать, например, положение термостатического элемента или длину приводного звена между термостатическим элементом и толкателем, которое по существу и приводит в действие затвор. Для этого предусмотрен, например, электродвигатель, который в данном случае является приемником электроэнергии.
Однако для двигателя и управления двигателем нужна электрическая энергия. Электроэнергию можно подводить посредством проводов, соединяющих насадку с внешним источником энергии. Разумеется, такой вариант не очень предпочтителен, так как применение проводов сопряжено с дополнительными монтажными расходами.
При использовании же по меньшей мере одной батареи необходимость в дополнительных монтажных расходах отпадает. Однако для размещения батарей необходимо некоторое пространство, иногда значительное.
Регулирующая насадка вышеупомянутого вида известна из документа DE 9312588 U1. В этой насадке наряду с аккумулятором, то есть перезаряжаемой батареей, предусмотрена панель с солнечными элементами. Солнечные элементы представляют собой источник электроэнергии, необходимой для работы регулятора. Понятно, что с одними солнечными элементами регулятор мог бы работать только при дневном свете. Аккумулятор обеспечивает регулирование и в ночное время. Разумеется, для размещения аккумулятора требуется немалое пространство.
В основе изобретения лежит задача в максимальной степени уменьшить габариты регулирующей насадки.
В регулирующей насадке для клапанов теплообменников вышеупомянутого вида эта задача решается посредством того, что источник электроэнергии содержит термоэлектрический генератор.
Термоэлектрический генератор может работать, например, на так называемом эффекте Зеебека. Такой генератор содержит два разных металла или полупроводника, в местах переходов между которыми поддерживается разная температура. В этом случае благодаря так называемому термоэлектрическому эффекту между разными материалами возникает напряжение. Эффект Зеебека противоположен эффекту Пельтье, согласно которому протекание тока вызывает разность температур в месте соединения разных металлов. Если в регулирующей насадке для теплообменника применяется эффект Зеебека, то это значит, что в нем используется перепад температур, существующий в любом теплообменнике, т.е. разность между температурой окружающей среды и температурой теплообменника или протекающего через него теплоносителя. Разность температур присуща почти всем теплообменникам (исключая лишь некоторые из них). Данное обстоятельство обуславливает возможность получения электроэнергии, необходимой для приведения в действие регулирующего устройства. Слишком много места для термоэлектрического генератора не требуется. В частности, он может быть сравнительно плоским, так что габариты регулирующей насадки получаются небольшими. В качестве приемника электроэнергии выступает регулятор, изменяющий взаимосвязь между исполнительным устройством и затвором.
Дополнительно или вместо регулирующего устройства в качестве приемника электроэнергии можно использовать электронные схемы. Эти схемы либо выполняют какие-нибудь задачи управления, либо просто определяют измеряемые значения и передают их дальше в управляющее устройство верхнего уровня. Если вместе с регулирующей насадкой применяется клапан с электроприводом, то в качестве приемника может выступать также двигатель клапана, посредством которого перемещается затвор клапана. Во многих случаях на терморегулирующей насадке имеется дисплей, отображающий определенные параметры, например текущую или заданную температуру. Этот дисплей также может выступать в роли приемника электроэнергии.
Предпочтительно источник электроэнергии дополнительно оснащен фотоэлектрическим устройством. Фотоэлектрическое устройство преобразует световую энергию в электрическую. Известным видом фотоэлектрического устройства являются так называемые солнечные элементы. Однако в общем случае использовать в качестве источника энергии только фотоэлектрическое устройство, действующее на солнечном свете, нецелесообразно. Наиболее предпочтительно сочетать термоэлектрический генератор с фотоэлектрическим устройством в теплое время года. Летом потребность в энергии для отопления невелика, и, соответственно, в распоряжении термоэлектрического генератора имеется лишь незначительная разность температур, поэтому он вырабатывает небольшое количество электрической энергии. Однако в это время года, как правило, имеется достаточное количество света, так что регулятор может приводиться в действие от фотоэлектрического устройства. Зимой, как правило, светоотдача уменьшается. Зато в зимнее время существующей разности температур, используемой для работы термоэлектрического генератора, достаточно для того, чтобы выработать электрическую энергию термическим способом. Сочетание фотоэлектрического устройства с усилителем напряжения дает, в частности, следующее преимущество. Для “разгона” усилителя напряжения, как правило, требуется некоторое напряжение смещения. Это напряжение может быть получено от фотоэлектрического устройства, причем даже в том случае, когда в распоряжении имеется лишь небольшое количество света. Это напряжение, необходимое для запуска усилителя напряжения, следует использовать с учетом того, что нет необходимости развивать слишком большую мощность.
В предпочтительном случае фотоэлектрическое устройство оснащено по меньшей мере одним светочувствительным элементом. Это элемент установлен на кожухе, в который помещен генератор. Таким образом, термоэлектрический генератор скомбинирован со светочувствительным элементом с обеспечением блочной конструкции. В этом случае светочувствительный элемент вырабатывает электрическую энергию под действием света.
В предпочтительном случае генератор с одной стороны соединен с корпусом, в котором протекает теплоноситель (это соединение должно быть теплопроводным), а с другой стороны имеет теплоотвод. С помощью теплоотвода достигается следующее. Одна сторона термоэлектрического генератора по существу принимает температуру помещения. С другой стороны создается температура теплоносителя, поэтому разность между температурой теплоносителя и температурой помещения может быть использована для выработки необходимой электроэнергии. В большинстве случаев разность между температурой теплоносителя и температурой помещения является достаточной для получения необходимого количества энергии.
Предпочтительно, чтобы генератор находился в состоянии теплообмена с корпусом клапана. Клапаны для радиаторов и клапаны для охлаждающих потолков оснащены таким корпусом в силу своей конструкции. Температура этого корпуса с небольшой временной задержкой повторяет температуру теплоносителя, причем разница между указанными температурами является достаточно малой. При таком условии необходимость в дополнительных наружных деталях по существу отпадает.
В предпочтительном случае генератор размещен в насадке, внутрь которой проходит теплопроводный участок. В этом случае габариты насадки остаются по существу неизменными. Теплопроводный участок термически изолирован, поэтому теплом снабжается по существу только генератор. Распространение тепла в корпус, напротив, предотвращено.
Согласно альтернативному варианту генератор можно разместить снаружи насадки. В этом случае насадка не отличается от обычных насадок, в том числе и в отношении своей внутренней конструкции, так что для ее создания нет необходимости перестраивать производственные линии. При размещении термоэлектрического генератора снаружи насадки обеспечивается большая свобода выбора. В конце концов, необходимость в увеличении свободного пространства не возникает.
Кроме того, в предпочтительном случае генератор находится в состоянии теплообмена с участком трубопровода. Участок трубопровода, как правило, также принимает температуру теплоносителя. В этом случае соединять термоэлектрический генератор с корпусом клапана не обязательно.
Участок трубопровода предпочтительно снабдить крепежным кольцом, находящимся в состоянии теплообмена с генератором. Благодаря натяжению кольца, выполненному, например, в виде хомута, обеспечивается достаточная теплопередача от участка трубопровода к теплопроводному участку и термоэлектрическому генератору.
В предпочтительном случае генератор размещен в кожухе, в котором выполнено по меньшей мере одно отверстие для поступления воздуха из помещения. Если насадка используется в радиаторе отопления, то воздух помещения действует в качестве охлаждающего воздуха, создающего необходимую разность температур относительно температуры теплоносителя.
В предпочтительном случае генератор соединен с усилителем напряжения. Если по соображениям экономии места используется термоэлектрический генератор небольших габаритов, то вырабатываемое им напряжение также является не очень большим. Во многих случаях этого напряжения недостаточно для приведения в действие регулятора. Тем не менее, электрическая мощность, развиваемая термоэлектрическим генератором, все-таки достаточно существенна. Поэтому путем усиления напряжения можно добиться того, что генератор сможет приводить в действие регулирующее устройство.
В частном случае усилитель напряжения выполнен в виде усилителя напряжения постоянного тока. Такой усилитель постоянного напряжения можно изготовить известным способом с использованием электродеталей. Следовательно, нет необходимости применять трансформатор, имеющий, как известно, довольно большие размеры.
В предпочтительном случае фотоэлектрическое устройство является источником напряжения для усилителя напряжения. Сочетание фотоэлектрического устройства с усилителем напряжения дает, в частности, следующее преимущество. Для “разгона” усилителя напряжения, как правило, требуется некоторое напряжение смещения. Это напряжение может быть получено от фотоэлектрического устройства, причем даже в том случае, когда в распоряжении имеется лишь небольшое количество света. Это напряжение, необходимое для запуска усилителя напряжения, следует использовать с учетом того, что нет необходимости развивать слишком большую мощность.
Светочувствительный элемент предпочтительно разместить либо на торце насадки, либо на другой поверхности, обращенной в ту же сторону. Если насадка выполнена в виде вращающейся ручки, то торец всегда направлен в одну сторону, то есть при приведении в действие ориентация его не меняется. Однако для размещения светочувствительного элемента можно использовать и другую поверхность, но эта поверхность должна быть ориентирована в том же направлении.
Далее изобретение описано более подробно на примере предпочтительных вариантов его выполнения, приведенных со ссылкой на приложенные чертежи, в числе которых:
фиг.1 изображает первый вариант терморегулирующей насадки для клапана;
фиг.2 изображает второй вариант терморегулирующей насадки для клапана;
фиг.3 изображает третий вариант терморегулирующей насадки для клапана.
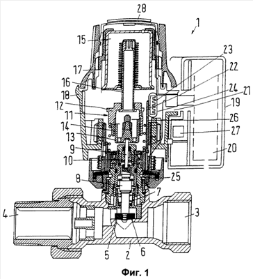
На фиг.1 показана терморегулирующая насадка 1 для радиаторного клапана, закрепляемая на его корпусе 2. В корпусе 2 клапана между впускным отверстием 3 и выпускным отверстием 4 известным образом размещено седло 5 клапана, с которым взаимодействует затвор 6. Затвор 6 подпружинен пружиной 7, действие которой направлено на смещение затвора от седла 5 в направлении открытия. Толкатель 8 выполнен с возможностью смещения затвора 6 к седлу 5, в результате чего он обеспечивает дросселирование потока теплоносителя, проходящего между входным отверстием 3 и выходным отверстием 4.
Толкатель 8 приводится в действие штоком 9, проходящим через сальник 10. На шток 9 воздействует промежуточное звено 11, имеющее верхнюю часть 12 и нижнюю часть 13, соединенные друг с другом посредством резьбового соединения 14. Нижняя часть 13 является фиксированной в отношении вращения, тогда как верхняя часть 12 выполнена вращаемой относительно части 13. Путем вращения верхней части относительно нижней части 13 обеспечивается изменение эффективной длины промежуточного звена 11.
На промежуточное звено 11 действует термостатический элемент 15, смещающий толкатель 16 в направлении седла 5 клапана на расстояние, определяемое температурой окружающей среды. В зависимости от своей длины промежуточное звено 11 при одной и той же температуре может обеспечивать большее или меньшее дросселирование. Следовательно, изменение длины промежуточного звена 11 позволяет изменять заданное значение температуры. Вторая возможность регулирования заданного значения достигается путем вращения ручки 17 насадки 1 относительно основного элемента 18.
Для изменения эффективной длины промежуточного звена 11 используется регулятор 19, оснащенный двигателем 20 (показан схематично). Двигатель 20 путем зацепления (показано схематично) воздействует на верхнюю часть 12 промежуточного звена 11 и поворачивает ее относительно нижней части 13. Для этого в основном элементе 18 выполнено отверстие 21, через которое двигатель может войти в зацепление с внутренней частью основного элемента 18.
К двигателю 20 необходимо подводить электроэнергию. Для выработки электроэнергии предусмотрен термоэлектрический генератор 22, работающий на так называемом эффекте Зеебека. Этот генератор вырабатывает напряжение с помощью устройства, содержащего два разных материала, например два разных металла или полупроводника. В местах перехода между материалами поддерживается разная температура. Этот эффект был открыт немецким физиком Томасом Зеебеком (1770-1831). Его называют также термостатическим эффектом. Данному эффекту соответствует противоположный эффект – эффект Пельтье, при котором протекание тока через переходы между разными материалами вызывает разность температур.
Термоэлектрический генератор 22 с одной стороны соединен с теплоотводом 23, который доводит температуру генератора 22 по существу до температуры окружающей среды. Для обеспечения воздухообмена, выравнивающего температуры, в этом месте в основном элементе 18 выполнено отверстие 24. При необходимости для воздушного потока можно предусмотреть ряд расположенных друг против друга отверстий 24.
Основной элемент 18 установлен на опоре 25, прикрепляемой к корпусу 2 клапана. Такое крепление может быть осуществлено, например, в виде зажима или резьбового соединения. От опоры отходит держатель 26, выполненный из теплопроводящего материала, например меди. Держатель 26 соединен с генератором 22 с другой его стороны. Поэтому на генератор 22 действует разность температур, т.е. разность между температурой корпуса 2 клапана и протекающего через него теплоносителя, с одной стороны, и температурой в помещении, с другой стороны. Эта разность температур может достигать нескольких десятков градусов, так что с ее помощью можно обеспечить электрическую мощность достаточной величины. В случае необходимости держатель 26 в остальных местах можно изолировать от внутренних частей основного элемента 18. Благодаря этому уменьшается термическое влияние на термостатический элемент 15 и снижается падение разности температур между корпусом 2 клапана и генератором 22. Во многих случаях предпочтительно предусмотреть термическую изоляцию между держателем 26 и термостатическим элементом 15, например, в виде экрана (подробно не показан).
Чтобы габариты генератора 22 были не слишком велики, его базовая поверхность должна быть сравнительно небольшой. Поэтому существует вероятность того, что вырабатываемое генератором 22 напряжение окажется недостаточным. По этой причине в регуляторе 19 размещен усилитель 27 напряжения, соединенный с генератором 22. В целях повышения наглядности чертежа необходимые электрические соединения подробно на нем не показаны. Усилитель 27 является усилителем напряжения постоянного тока. Коэффициент усиления может составлять, например, 50, поэтому напряжение 0,06 вольт, вырабатываемое термоэлектрическим генератором 22, преобразуется в выходное напряжение примерно 3 вольта. Этих 3 вольт достаточно для того, чтобы привести в действие двигатель. Напряжение 3 вольта соответствует напряжению трех небольших гальванических элементов типа AAA.
Кроме того, на торце насадки размещен светочувствительный элемент 28 фотоэлектрического устройства. Когда на светочувствительный элемент 28 воздействует световое излучение, он вырабатывает напряжение. Светочувствительный элемент 28 можно использовать как источник напряжения для усилителя 27, так что если для запуска усилителя 27 необходимо вспомогательное напряжение, то он может быть запущен.
При комбинировании термоэлектрического генератора 22 со светочувствительным элементом 28 необходимо учитывать внешние условия, при которых осуществляется отопление. Зимой существует сравнительно большая разность между температурой наружного воздуха и теплоносителя, поэтому термоэлектрический генератор 22 способен вырабатывать электрическую мощность, необходимую для работы регулятора 19. Однако светочувствительный элемент 28 в это время года может давать лишь незначительную электрическую мощность. Напротив, летом разность температур теплоносителя и окружающего воздуха меньше. Таким образом, в теплое время года термоэлектрический генератор 22 может развить лишь незначительную электрическую мощность, тогда как светочувствительный элемент 28 (естественно, можно использовать и несколько светочувствительных элементов 28) способен обеспечить большую электрическую мощность.
Итак, вариант изобретения, изображенный на фиг.1, не требует дополнительного пространства вне насадки 1. Компоненты, объединенные насадкой, то есть термоэлектрический генератор 22 вместе с теплоотводом 23 и светочувствительный элемент 28, могут быть вставлены в существующие насадки по существу без швов.
Согласно другому варианту, который подробно не описан в данной заявке, генератор 22 может быть размещен снаружи, на основном элементе 18 или прямо на корпусе 2 клапана.
В случае указанного размещения снаружи можно использовать вариант, представленный на фиг.2. Здесь элементы, аналогичные элементам, показанным на фиг.1 (в том числе в функциональном отношении), обозначены теми же номерами позиций.
Согласно этому варианту термоэлектрический генератор 22 размещен не внутри насадки 1, а на хомуте 29, закрепляемом на участке 30 трубопровода, по которому в корпус 2 клапана подводится теплоноситель. Поскольку теплопередача к генератору 22 должна быть достаточно эффективной, можно применять и другие способы крепления, например склеивание или пайку. Ввиду этого участок 30 трубопровода нагревается по существу до температуры теплоносителя. Теплоотвод 23 находится на той стороне генератора 22, которая удалена от хомута 29. Светочувствительные элементы 28, которые также можно назвать солнечными элементами, расположены с наружной стороны кожуха 31, предназначенного для защиты термоэлектрического генератора. При этом в кожухе 31 выполнено отверстие 24. Созданная термоэлектрическим генератором 22 и светочувствительным элементом 28 энергия по электрическому проводу 32 передается в регулирующее устройство 19. В данном случае усилитель 27 напряжения целесообразно разместить вблизи термоэлектрического генератора 22.
На фиг.3 представлен модифицированный вариант изобретения, согласно которому генератор 22 установлен внутри корпуса 33 регулятора 19. Светочувствительные элементы 28 находятся с той стороны корпуса 33, которая направлена параллельно торцу 34 насадки 1. Тепло к генератору 23 передается через теплопроводную штангу 35, прикрепленную к подводящей линии также с помощью хомута 29.
Кроме того, в корпусе 33 выполнено отверстие 24, обеспечивающее взаимодействие теплоотвода 23 с окружающим воздухом.
Формула изобретения
1. Насадка для регулирования клапанов теплообменников, в частности терморегулирующая насадка для радиаторных клапанов, оснащенная приемником электроэнергии, источником электроэнергии и исполнительным устройством, взаимодействующим с затвором, в которой источник электроэнергии содержит термоэлектрический генератор (22), снабжающий электроэнергией приемник электроэнергии, отличающаяся тем, что источник электроэнергии дополнительно оснащен фотоэлектрическим устройством.
2. Насадка по п.1, отличающаяся тем, что одна сторона генератора (22) находится в состоянии теплообмена с корпусом (2), через который протекает теплоноситель, а другая его сторона имеет теплоотвод (23).
3. Насадка по п.1, отличающаяся тем, что одна сторона генератора (22) находится в состоянии теплообмена с участком (30) трубопровода, по которому в корпус (2) клапана подводят теплоноситель, а другая его сторона имеет теплоотвод (23).
4. Насадка по п.2, отличающаяся тем, что генератор (22) размещен внутри насадки (1) и имеется теплопроводный участок (26), проходящий в насадку.
5. Насадка по п.3, отличающаяся тем, что генератор (22) размещен снаружи насадки (1).
6. Насадка по п.5, отличающаяся тем, что участок (30) трубопровода оснащен крепежным кольцом (29), находящимся в состоянии теплообмена с генератором (22).
7. Насадка по п.1, отличающаяся тем, что генератор (22) размещен в основном элементе (18), или в кожухе (31), или в корпусе (33), причем в указанном основном элементе (18), или в кожухе (31), или в корпусе (33) выполнено, по меньшей мере, одно отверстие (24) для пропускания воздуха снаружи.
8. Насадка по п.7, отличающаяся тем, что генератор (22) соединен с усилителем (27) напряжения.
9. Насадка по п.8, отличающаяся тем, что усилитель (27) напряжения выполнен в виде усилителя постоянного напряжения.
10. Насадка по п.1, отличающаяся тем, что фотоэлектрическое устройство имеет, по меньшей мере, один светочувствительный элемент (28), установленный с внешней стороны основного элемента (18), или кожуха (31), или корпуса (33), в котором размещен генератор (22).
11. Насадка по п.8, отличающаяся тем, что фотоэлектрическое устройство является источником напряжения для усилителя (27) напряжения.
12. Насадка по п.11, отличающаяся тем, что фотоэлектрическое устройство размещено на торце насадки или на другой поверхности, обращенной в ту же сторону, что и ее торец.
РИСУНКИ
TK4A – Поправки к публикациям сведений об изобретениях в бюллетенях “Изобретения (заявки и патенты)” и “Изобретения. Полезные модели”
Напечатано: (62) 2006128493 03.05.2006
Следует читать: (62) 2006128493 26.07.2006
Номер и год публикации бюллетеня: 11-2010
Код раздела: FG4A
Извещение опубликовано: 27.07.2010 БИ: 21/2010
|
|