|
|
(21), (22) Заявка: 2008147777/06, 03.12.2008
(24) Дата начала отсчета срока действия патента:
03.12.2008
(46) Опубликовано: 20.04.2010
(56) Список документов, цитированных в отчете о поиске:
RU 2320936 C1, 27.03.2008. RU 2091672 C1, 27.09.1997. SU 1527403 A1, 19.08.2003. US 4058253 A, 15.11.1977. DE 202005015903 U1, 22.12.2005.
Адрес для переписки:
660094, г.Красноярск, ул. Павлова, 47А, кв.54, В.Ю. Арефьеву
|
(72) Автор(ы):
Мартынов Виктор Анатольевич (RU), Арефьев Вадим Юрьевич (RU), Поляков Владимир Викторович (RU)
(73) Патентообладатель(и):
Общество с ограниченной ответственностью “ЭкоДом-Енисей” (RU)
|
(54) СПОСОБ ЛОКАЛЬНОЙ ПРИТОЧНОЙ ВЕНТИЛЯЦИИ, СОВМЕЩЕННОЙ С ВОЗДУШНЫМ ОТОПЛЕНИЕМ
(57) Реферат:
Способ предназначен для создания комфортных условий в помещениях. Воздух снаружи поступает через приточный фильтр при помощи приточного вентилятора в утепленный приточный воздуховод, проходящий по коридору и соединенный в конце с утепленным вытяжным воздуховодом, через который воздух вытягивается из помещений при помощи вытяжного вентилятора, в месте же соединения этих приточных и вытяжных воздуховодов имеется обратный клапан для избегания перепада давления в этих воздуховодах, в каждое помещение воздух из приточного воздуховода поступает через приточный воздуховод помещения, проходя при этом приточный потокорегулируемый клапан и канальный нагреватель, которые управляются микропроцессорным блоком по показателям датчиков, установленных в помещениях, далее воздух из каждого помещения удаляется через вытяжной воздуховод помещения, проходя при этом вытяжной потокорегулируемый клапан, также управляемый микропроцессорным блоком, в вытяжной воздуховод, и далее из здания. Технический результат – экономия энергозатрат, создание оптимального микроклимата во всех помещениях по отдельности. 1 ил.
Изобретение относится к вентиляционно-отопительной индустрии, а именно к способу локальной подачи приточного воздуха, совмещенного с воздушным отоплением.
Задачей настоящего изобретения является экономия энергозатрат при использовании предлагаемого способа и создание оптимального микроклимата во всех помещениях по отдельности.
Достигается это тем, что способ локальной приточной вентиляции, совмещенной с воздушным отоплением, включает поступление воздуха через приточный фильтр при помощи приточного вентилятора в утепленный приточный воздуховод, проходящий по коридору и соединенный в конце с утепленным вытяжным воздуховодом, через который воздух вытягивается из помещений при помощи вытяжного вентилятора, в месте же соединения этих приточных и вытяжных воздуховодов имеется обратный клапан для избежания перепада давления в этих воздуховодах в каждое помещение, воздух из приточного воздуховода поступает через приточный воздуховод помещения, проходя при этом приточный потокорегулируемый клапан и канальный нагреватель, которые управляются микропроцессорным блоком по показателям датчиков, установленных в помещениях, далее воздух из каждого помещения удаляется через вытяжной воздуховод помещения, проходя при этом вытяжной потокорегулируемый клапан, также управляемый микропроцессорным блоком, в вытяжной воздуховод и далее из здания.
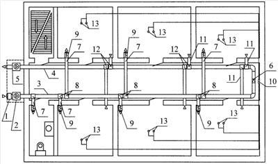
Способ холодной продувки помещений поясняется чертежом, где изображена схема способа локальной приточной вентиляции, совмещенной с воздушным отоплением, где приточный фильтр – 1, приточный вентилятор – 2, приточный воздуховод – 3, вытяжной воздуховод – 4, вытяжной вентилятор – 5, обратный клапан – 6, приточный воздуховод помещения – 7, приточный потокорегулируемый клапан воздуха – 8, канальный нагреватель – 9, микропроцессорный блок – 10, вытяжной воздуховод помещения – 11, вытяжной потокорегулируемый клапан воздуха – 12, датчики – 13.
Способ холодной продувки помещения функционирует следующим образом: воздух снаружи поступает через приточный фильтр (Евро-5) 1 при помощи приточного вентилятора (согласно расчетам) 2 в утепленный (ИЗОВЕР фольгированный, 100 мм) приточный воздуховод 3, проходящий по потолочной части коридора и соединенный в конце с утепленным (ИЗОВЕР фольгированный, 100 мм) вытяжным воздуховодом 4, через который воздух вытягивается из помещений при помощи вытяжного вентилятора (согласно расчетам) 5, в месте же соединения этих приточных и вытяжных воздуховодов имеется обратный клапан 6 для избежания перепада давления в этих воздуховодах, в каждое помещение воздух из приточного воздуховода 3 поступает через приточный воздуховод помещения 7, проходя при этом приточный потокорегулируемый клапан 8 и канальный нагреватель (ЭК-600) 9, которые управляются микропроцессорным блоком (SATeP-03) 10 по показателям датчиков (температурные, по СO2 и другие) 13, установленных в помещениях, далее воздух из каждого помещения удаляется через вытяжной воздуховод помещения 11, проходя при этом вытяжной потокорегулируемый клапан 12, также управляемый микропроцессорным блоком 10, в вытяжной воздуховод 4 и далее из здания.
Приточный 2 и вытяжной 5 вентиляторы работают постоянно. В помещении при снижении температуры, установленной заказчиком, открывается приточный потокораспределительный клапан 8, при этом также включается канальный нагреватель 9, поднимая температуру до 70°С в нем, нагревая помещение до установленной температуры, затем канальный нагреватель 9 отключается и приточный потокораспределительный клапан закрывается 8. В случае превышения норм СО2 в помещении, включаются приточный 8 и вытяжной 12 распределительные клапаны, при этом происходит воздухообмен в помещении до достижения санитарных норм, канальный нагреватель 9 включается на подогрев до 20°С поступаемого воздуха. Также, на свое усмотрение, можно в принудительном порядке включить приточную вентиляцию (в случае наличия дыма от выкуренного табака, посторонних запахов и т.д.), приточный 8 и вытяжной 12 потокораспределительные клапаны открываются, канальный нагреватель 9 включается, если воздух приточный ниже 20°С, и поднимет ее до этой температуры. Если в помещении находится большое количество людей и показатели температурного режима становятся больше нормы или находится в этом помещении какой-либо прибор, излучающий тепло, то в этом помещении создается избыток тепла. Микропроцессорный блок 10 при этом открывает оба клапана – приточный потокораспределительный 8 и вытяжной 12 потокораспределительный и включается канальный нагреватель 9, подогревая поступающий воздух до 18°С или ниже по установке потребителя, тем самым удаляя избыток тепла из помещения.
Способ локальной приточной вентиляции, совмещенной с воздушным отоплением, обладает следующими достоинствами: а) использование приточной вентиляция и воздушного отопления только в конкретном, локальном помещении, когда повышены предельно допустимые нормы по СО2, температурного режима и т.д., посторонних запахов (дым от курения); б) в каждом конкретном, локальном помещении, можно кнопкой на микропроцессорном блоке включить приточную вентиляцию и (или) воздушное отопление независимо от показателей датчиков; в) в случае появления каких-либо посторонних запахов в конкретном, локальном помещении (дым от курения табака, духи, ацетон, формальдегид и т.д.) можно включить вручную или автоматически вентиляцию на основании показателей специализированных датчиков, установленных в помещениях; г) температурный режим устанавливается в каждом конкретном, локальном помещении по усмотрению заказчика; д) в конкретных, локальных помещениях возможно избыточное тепло в случае скопления людей, и при повышении температуры более заданной включается приточный воздух пониженной температуры и при этом удаляется избыточное тепло; е) в помещениях, где не работают люди, можно понизить температуру и не включать вентиляцию.
В совокупности все эти достоинства предлагаемого способа позволяют получить экономию энергозатрат и создать при этом оптимальный микроклимат во всех помещениях по отдельности, в зависимости от потребности человека и санитарных норм.
Формула изобретения
Способ локальной приточной вентиляции, совмещенной с воздушным отоплением, включающий совмещение вентиляции и отопления, отличающийся тем, что воздух снаружи поступает через приточный фильтр при помощи приточного вентилятора в утепленный приточный воздуховод, проходящий по коридору и соединенный в конце с утепленным вытяжным воздуховодом, через который воздух вытягивается из помещений при помощи вытяжного вентилятора, в месте же соединения этих приточных и вытяжных воздуховодов имеется обратный клапан для избежания перепада давления в этих воздуховодах, в каждое помещение воздух из приточного воздуховода поступает через приточный воздуховод помещения, проходя при этом приточный потокорегулируемый клапан и канальный нагреватель, которые управляются микропроцессорным блоком по показателям датчиков, установленных в помещениях, далее воздух из каждого помещения удаляется через вытяжной воздуховод помещения, проходя при этом вытяжной потокорегулируемый, клапан, также управляемый микропроцессорным блоком, в вытяжной воздуховод и далее из здания.
РИСУНКИ
|
|