|
|
(21), (22) Заявка: 2008141224/06, 17.10.2008
(24) Дата начала отсчета срока действия патента:
17.10.2008
(46) Опубликовано: 20.04.2010
(56) Список документов, цитированных в отчете о поиске:
RU 2056577 C1, 20.03.1996. SU 1161779 A, 15.06.1985. RU 2241169 C1, 27.11.2004. US 6076557 A, 20.01.2000. DE 3842298 A1, 21.06.1990.
Адрес для переписки:
117525, Москва, ул. Сумская, 12/17, кв.5, С.Л. Самсоновичу
|
(72) Автор(ы):
Лалабеков Валентин Иванович (RU), Мусвик Александр Борисович (RU), Пестунов Виталий Альфредович (RU), Самсонович Семен Львович (RU), Сячин Анатолий Петрович (RU), Чубиков Валерий Николаевич (RU)
(73) Патентообладатель(и):
Лалабеков Валентин Иванович (RU), Мусвик Александр Борисович (RU), Пестунов Виталий Альфредович (RU), Самсонович Семен Львович (RU), Сячин Анатолий Петрович (RU), Чубиков Валерий Николаевич (RU)
|
(54) СТАБИЛИЗАТОР ДАВЛЕНИЯ
(57) Реферат:
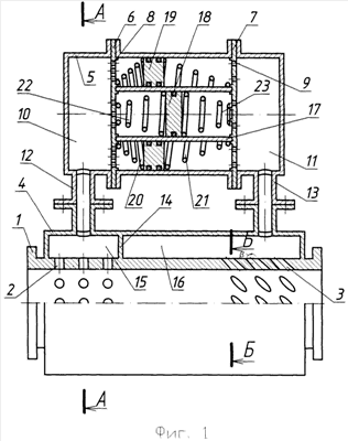
Стабилизатор предназначен для гашения пульсации давления жидкости и газа в трубопроводах. Стабилизатор состоит из трубопровода 1 с перфорационными отверстиями 2 и 3, распределительной расширительной предкамеры 4 и выносных демпфирующих камер 5. Выносные демпфирующие камеры 5 имеют форму цилиндров и расположены вокруг расширительной предкамеры 4 так, что их оси параллельны. Каждая выносная демпфирующая камера 5 разделена торцевыми перегородками 6 и 7 с перфорированными отверстиями 8 и 9 на три объема. Количество и (или) диаметры отверстий 9 меньше, чем количество и диаметры отверстий 8. Боковые объемы демпирующих камер 10 и 11 снабжены патрубками 12 и 13. Расширительная предкамера 4 имеет цилиндрическую форму, охватывающую трубопровод 1. Расширительная предкамера 4 разделена перегородкой 14 на две части: малую 15 и большую 16 так, что малая часть 15 расположена у входа в трубопровод и соединена с патрубками 12 выносных демпфирующих камер 10 и рядами отверстий 2 с трубопроводом 1. Большая часть 16 расширительной предкамеры 4 расположена у выхода трубопровода и соединена с патрубками 13 выносных демпфирующих камер 11 и рядами отверстий 3 с трубопроводом 1. Объем большей части расширительной предкамеры 16 не менее чем в два раза превышает объем малой части расширительной предкамеры 15. Технический результат – повышение эффективности гашения пульсаций. 3 з.п. ф-лы, 4 ил.
Изобретение относится к средствам гашения пульсации давления жидкости и газа, возникающей при включении, работе и выключении насосов, открытии и закрытии клапанов или задвижек в трубопроводах тепловодоснабжения, нефтяной промышленности и в машиностроении.
Известен стабилизатор давления, состоящий из трубопровода [Р.Ф.Ганиев, А.И.Гриценко, В.Х.Галюис, Х.Н.Низамов и Г.Р.Авенисян. Стабилизатор пульсации давления. Описание изобретения к авторскому свидетельству 1161779 по классу F16L 55/04, опубликованное 15.06.85. Бюл. 22] с выносными демпфирующими камерами в виде цилиндров, расположенными вокруг трубы так, что их оси параллельны, каждая выносная демпфирующая камера разделена двумя торцовыми перегородками с перфорированными отверстиями на три объема, центральные объемы соединены патрубками с центральным трубопроводом, а в боковых объемах размещены упругие элементы – сильфоны.
Недостатком этого аналога является неэффективность гашения пульсации выносными демпфирующими камерами из-за использования небольшого расширительного объема и неиспользования энергии самого потока рабочего тела для гашения пульсации.
Наиболее близким по технической сущности к заявленному изобретению (прототипом) является стабилизатор давления [Х.Н.Низамов, В.Н.Применко, Н.Н.Жуков и Е.И.Дербуков. Стабилизатор давления в трубопроводе. Описание изобретения к патенту Российской Федерации 2056577 по классу 6 F16L 55/04, опубликованное 20.03.96. Бюль. 8.], состоящий из трубопровода с расширительной предкамерой цилиндрической формы, охватывающей трубопровод, и выносных демпфирующих камер в виде цилиндров, расположенных вокруг расширительной предкамеры так, что их оси параллельны. Выносные демпфирующие камеры разделены торцовыми перегородками с перфорированными отверстиями на три объема, в центральном объеме которых размещены упругие элементы, гидравлически расширительная предкамера соединена с центральным трубопроводом с помощью рядов отверстий, расположенных в трубопроводе, и с помощью патрубков с боковыми объемами демпфирующих камер.
Недостатком прототипа является низкая эффективность гашения пульсации, так как ряды отверстий в трубопроводе расположены равномерно по всей длине, диаметры отверстий в патрубках и торцовых перегородках демпирующих камер одинаковые, что обуславливает поступление импульса давления в центральный объем демпирующих камер с двух сторон практически одновременно и не позволяет использовать эффект противодействия (гашения) энергии импульса этим же импульсом из-за равенства давлений и отсутствия временного запаздывания действия импульса с обеих сторон в центральные объемы демпирующих камер.
Технической задачей изобретения является повышение эффективности гашения пульсации за счет использования энергии самих импульсов давления.
Результат поставленной задачи обеспечивается тем, что стабилизатор давления состоит из трубопровода с расширительной предкамерой цилиндрической формы, охватывающей трубопровод, и выносных демпфирующих камер, имеющих форму цилиндров и расположенных вокруг расширительной предкамеры так, что их оси параллельны, при этом выносные демпфирующие камеры разделены торцовыми перегородками с перфорированными отверстиями на три объема, в центральном объеме которых размещены упругие элементы, гидравлически расширительная предкамера соединена с трубопроводом с помощью рядов отверстий в трубопроводе и патрубками с боковыми объемами выносных демпфирующих камер, при этом в расширительную предкамеру введена перегородка, делящая ее на две неравные части так, что предкамера, которая расположена у выхода трубопровода имеет объем, превышающий объем предкамеры, расположенной у входа в трубопровод, а перфорированные отверстия в каждой торцовой перегородке выполнены разными диаметрами и (или) количеством так, что суммарные площади отверстий различны.
Наилучший результат достигается, если ряды отверстий, соединяющие трубопровод с расширительной предкамерой, расположенной у входа в трубопровод, выполнены радиальными и расположены равномерно вдоль трубы, а отверстия, соединяющие трубопровод с расширительной предкамерой, расположенной у выхода трубопровода, выполнены под углом к радиальной и продольной осям в направлении от выхода к входу трубопровода и расположены у выхода трубопровода, при этом суммарные площади отверстий в обеих частях расширительных предкамер различны.
В предпочтительном варианте центральный объем выносной демпфирующей камеры разделен трубами на несвязанные между собой гидравлически концентрично расположенные полости, в которых размещены упругие элементы в виде поршней с цилиндрическими или коническими пружинами, при этом пружины каждого поршня выполнены с разной жесткостью и длиной.
В частном случае упругие элементы, расположенные в концентричных полостях центрального объема выносных демпфирующих камер, выполнены в виде пар сильфонов с донышками, закрепленными открытыми торцами в торцовых перегородках с перфорированными отверстиями, а между донышек установлены пружины, при этом пружины в каждой концентричной полости имеют разную жесткость.
На фиг.1 изображен продольный разрез стабилизатора давления. На фиг.2 – поперечный разрез А-А по фиг.1. На фиг.3 – поперечный разрез Б-Б по отверстиям в трубопроводе, соединяющим трубопровод с расширительной предкамерой, расположенной у выхода трубопровода по фиг.1. На фиг.4 изображен вариант конструкции центрального объема выносной демпирующей камеры с сильфонами.
Стабилизатор давления состоит из трубопровода 1 с перфорационными отверстиями 2 и 3, расширительной предкамеры 4 и выносных демпирующих камер 5. Выносные демпирующие камеры 5 имеют форму цилиндров и расположены вокруг расширительной предкамеры 4 так, что их оси параллельны. Каждая выносная демпирующая камера 5 разделена торцевыми перегородками 6 и 7 с перфорированными отверстиями 8 и 9 на три объема. Количество и (или) диаметры отверстий 9 меньше, чем количество и диаметры отверстий 8. Боковые объемы демпирующих камер 10 и 11 снабжены патрубками 12 и 13. Расширительная предкамера 4 имеет цилиндрическую форму, охватывающую трубопровод 1. Расширительная предкамера 4 разделена перегородкой 14 на две части: малую 15 и большую 16 так, что малая часть 15 расположена у входа в трубопровод и соединена с патрубками 12 выносных демпирующих камер 10 и рядами отверстий 2 с трубопроводом 1. Большая часть 16 расширительной предкамеры 4 расположена у выхода трубопровода и соединена с патрубками 13 выносных демпирующих камер 11 и рядами отверстий 3 с трубопроводом 1. Объем большей части расширительной предкамеры 16 не менее, чем в два раза превышает объем малой части расширительной предкамеры 15. Ряды отверстий 2, соединяющие трубопровод 1 с малой расширительной предкамерой 15, расположены равномерно по трубопроводу, а ряды отверстий 3, соединяющие трубопровод с большой частью расширительной предкамеры 16, расположены у края предкамеры со стороны выхода трубопровода 1. Отверстия 2 выполнены радиальными, а отверстия 3 имеют угол наклона относительно радиальной и угол относительно продольной осей, в направлении от выхода к входу трубопровода.
В центральных объемах выносных демпирующих камер между торцевыми перегородками 6 и 7 размещена труба 17 (или трубы разного диаметра), которая делит объем на гидравлически не связанные между собой полости, в которых расположены упругие элементы в виде поршней 18 и 19 с пружинами 20, 21 и 22, 23. Пружины 20, 21 и 22, 23 могут быть цилиндрическими или коническими. При использовании конических пружин поршни имеют наибольший ход, так как в сжатом состоянии толщина пружины равна толщине одного витка. Пружины с каждой стороны поршня имеют равные жесткости и могут быть одинаковыми или разными по длине. Пружины, расположенные ближе к центру, имеют большую жесткость. Согласно экспериментальным данным, амплитуда отрицательных импульсов меньше амплитуды положительных более чем в три раза. Для сокращения габаритов центральных камер выносных демпирующих устройств начальное положение поршней можно устанавливать несимметрично относительно входа и выхода разными по длине пружинами.
В качестве упругих элементов могут быть использованы сильфоны 24 и 25 с донышками 26 и 27. Сильфоны закреплены открытыми торцами в торцовых перегородках 6 и 7 с перфорированными отверстиями. Между донышек 26, 27 установлены пружины 28, 29, которые имеют разную жесткость.
Стабилизатор давления работает следующим образом. В установившимся режиме движения рабочего тела (жидкости, газа или их смеси) при отсутствии пульсации давления заполнены: обе части расширительной предкамеры через перфорированные отверстия 2, 3; боковые объемы 10, 11 выносных демпфирующих камер через патрубки 12, 13 и центральные объемы выносных демпфирующих камер через перфорированные отверстия 8, 9 в торцовых перегородках 6, 7. Поршни 18, 19 находятся в нейтральном положении, характеризуемом равенством сил, создаваемых пружинами 20, 21 и 22, 23.
Появление импульса давления, превосходящего установившееся значение давления на входе в трубопровод 1, приводит к повышению давления в малой расширительной предкамере 15 через перфорированные радиальные отверстия 2, в боковых объемах выносных демпфирующих камер 10 через патрубки 12 и в центральных камерах через перфорированные отверстия 8. В центральных выносных демпфирующих камерах амплитуда давления импульса уменьшена относительно входного импульса за счет расширения объема.
Поступление импульса давления в центральную демпфирующую камеру с одной стороны обуславливает разность давлений на поршнях 18, 19. При наличие перепада давлений начнет двигаться наружный поршень 19 из-за наименьшей жесткости пружины. С увеличением перепада давлений начнут перемещаться и последующие поршни.
Прохождение импульса давления через перфорированные отверстия 3, имеющие наклон относительно радиальной и продольной осей в направлении от выхода к входу трубопровода 1, приводит к закручиванию потока в большой расширительной предкамере 16, что обуславливает рассеивание энергии потока рабочего тела и как следствие уменьшение амплитуды импульса давления, и затягиванию времени его поступления в боковые объемы 11 выносных демпфирующих камер.
Поступление импульса давления через перфорационные отверстия 9 в центральные камеры приводит к уменьшению перепада давления на поршнях 18, 19.
При равенстве давлений поршни 18, 19 последовательно останавливаются, начиная с центрального 18, а при изменении знака разности давлений за счет спада импульсов в боковых камерах 10 и увеличении давления в камерах 11 поршни начнут двигаться в направлении к входу трубопровода 1.
Движение поршней в направлении входа трубопровода 1 приводит к увеличению давления в боковых выносных демпфирующих камерах 10. Однако фронт увеличения давления менее крутой, чем фронт спада импульса, что приводит к сглаживанию общего спада давления.
При уменьшении импульса давления в обоих боковых выносных демпфирующих камерах из-за разности числа и диаметров отверстий 8 и 9 в торцовых перегородках 6 и 7 и угловой направленности перфорированных отверстий 3 в трубопроводе 1 фронт уменьшения давления больше в камерах со стороны входа, что дополнительно приводит к сглаживанию общего спада импульса давления.
При давлении импульса меньше установившегося значения или появлении импульса любого знака на выходе стабилизатора давления работа предлагаемого устройства аналогична.
Таким образом, разделение расширительной предкамеры на две неравные части, выполнение перфорированных отверстий в трубопроводе и торцовых перегородках выносных демпфирующих камер с определенным числом, размерами и расположением относительно входа и выхода, размещение в центральном объеме выносных демпфирующих камер нескольких соосных поршней с упругими элементами различной жесткости позволило каждый импульс давления делить на две части, создать разность амплитуд и фазовый сдвиг между ними и направить навстречу друг другу для погашения их энергии.
В результате энергия самих импульсов используется для стабилизации уровня давления, что существенно повышает эффективность работы стабилизатора давления.
Формула изобретения
1. Стабилизатор давления, состоящий из трубопровода с расширительной предкамерой цилиндрической формы, охватывающей трубопровод, и выносных демпфирующих камер, имеющих форму цилиндров и расположенных вокруг расширительной предкамеры так, что их оси параллельны, при этом выносные демпфирующие камеры разделены торцовыми перегородками с перфорированными отверстиями на три объема, в центральном объеме которых размещены упругие элементы, гидравлически расширительная предкамера соединена с трубопроводом с помощью рядов отверстий в трубопроводе и патрубками с боковыми объемами выносных демпфирующих камер, отличающийся тем, что в расширительную предкамеру введена перегородка, делящая ее на две неравные части так, что предкамера, которая расположена у выхода трубопровода имеет объем превышающий объем предкамеры, расположенной у входа в трубопровод, а перфорированные отверстия в каждой торцовой перегородке выполнены разными диаметрами и (или) количеством так, что суммарные площади отверстий различны.
2. Стабилизатор давления по п.1, отличающийся тем, что ряды отверстий, соединяющие трубопровод с расширительной предкамерой, расположенной у входа в трубопровод, выполнены радиальными и расположены равномерно вдоль трубы, а отверстия, соединяющие трубопровод с расширительной предкамерой, расположенной у выхода трубопровода, выполнены под углом к радиальной и продольной осям в направлении от выхода к входу трубопровода и расположены у выхода трубопровода, при этом суммарные площади отверстий в обеих частях расширительных предкамер различны.
3. Стабилизатор давления по п.1, отличающийся тем, что центральный объем выносной демпфирующей камеры разделен трубами на не связанные между собой гидравлически концентрично расположенные полости, в которых размещены упругие элементы в виде поршней с цилиндрическими или коническими пружинами, при этом пружины каждого поршня выполнены с разными жесткостью и длиной.
4. Стабилизатор давления по п.3, отличающийся тем, что упругие элементы, расположенные в концентричных полостях центрального объема выносных демпфирующих камер, выполнены в виде пар сильфонов с донышками, закрепленными открытыми торцами в торцовых перегородках с перфорированными отверстиями, а между донышками установлены пружины, при этом пружины в каждой концентричной полости имеют разную жесткость.
РИСУНКИ
|
|