|
|
(21), (22) Заявка: 2008130581/11, 23.07.2008
(24) Дата начала отсчета срока действия патента:
23.07.2008
(46) Опубликовано: 20.04.2010
(56) Список документов, цитированных в отчете о поиске:
SU 1771253 С, 27.02.1995. RU 2278999 C1, 27.06.2006. RU 34663 U1,.10.12.2003. RU 2109181 C1, 20.04.1998. DE 2060653 A1, 16.06.1971.
Адрес для переписки:
198095, Санкт-Петербург, ул. Ивана Черных, 4, Санкт-Петербургский государственный технологический университет растительных полимеров
|
(72) Автор(ы):
Шемякин Эдуард Валентинович (RU), Чижик Надежда Алексеевна (RU)
(73) Патентообладатель(и):
Государственное образовательное учреждение высшего профессионального образования “Санкт-Петербургский государственный технологический университет растительных полимеров” (RU)
|
(54) УСТРОЙСТВО ДЛЯ ПОВЫШЕНИЯ ДОЛГОВЕЧНОСТИ ПОДШИПНИКОВОГО УЗЛА
(57) Реферат:
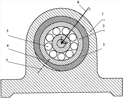
Изобретение относится к области машиностроения и может использоваться в подшипниковых узлах. Устройство подшипникового узла, включающего цапфу вала, корпус (1) и подшипник качения, содержит кольцо (3) с локальной зоной переменной жесткости, имеющее зазор с наружным кольцом (2) подшипника и натяг с корпусом (1), которое можно поворачивать. При изменении направления внешней нагрузки кольцо (3) можно поворачивать, а затем фиксировать в корпусе таким образом, чтобы плоскость (7) минимальной жесткости зоны совпала с вектором (6) радиальной нагрузки на подшипник качения. Размеры и форма локальной зоны (4) задает нужный закон распределения нагрузки между телами качения (5). В результате обеспечивается увеличение долговечности подшипникового узла за счет оптимального распределения нагрузки между телами качения от рабочей нагрузки; сохранения циркуляционного режима нагружения; ликвидации концентрации напряжений и возможности следить за изменением направления нагрузки подшипникового узла. 1 ил.
Предлагаемое изобретение относится к области машиностроения и может использоваться в конструкциях машин, механизмов и, в частности, в подшипниковых узлах (ПУ).
Одной из основных проблем, с которой сталкиваются при эксплуатации подшипников качения (ПК), является их небольшой срок службы из-за очень большой неравномерности распределения нагрузки между телами качения. Например, максимальная нагрузка на самый нагруженный ролик или шарик достигает половины от всей внешней радиальной нагрузки на ПК, а на соседний – в несколько раз меньше (см., например, книгу: Решетов Д.И. Детали машин. М.: Машиностроение, 1974, с.504-505). Поэтому необходимо исправить этот недостаток путем перераспределения нагрузки между телами качения по оптимальному закону.
Известен ПУ, в котором для улучшения распределения нагрузки между телами качения на некоторой части посадочной поверхности в пределах зоны нагружения формируют микрорельеф (патент RU 218897, кл. F16С 35/00, F16С 35/067, 2000 г.).
Недостатки данного способа:
1) в деталях ПК возникает пониженная усталостная прочность из-за повышенной концентрации напряжений, вызванной микрорельефом;
2) сложность изготовления рельефа;
3) невозможность изменения углового положения зоны микрорельефа при изменении направления внешней нагрузки, например, в редукторе при реверсировании вращения валов.
Наиболее близким к предлагаемому решению, принятому за прототип, является устройство для выравнивания нагрузки, при котором, по меньшей мере, одно из колец подшипника снабжено средством разгрузки тел качения от рабочей нагрузки в виде локального изменения кривизны посадочной поверхности кольца (патент RU 1771253, кл. F16С 35/04, 1989).
Недостатками данного устройства являются:
1) образование местного, а не циркуляционного режима нагружения (как в стандартном подшипнике) из-за того, что наружное кольцо ПК устанавливается с натягом в корпусе ПУ и не вращается, что приводит к значительному увеличению числа циклов нагружения местной зоны контакта и, соответственно, к уменьшению долговечности ПК;
2) невозможность поворота зоны локального изменения кривизны посадочной поверхности кольца при изменении направления внешней нагрузки, что приводит к значительному ухудшению распределения нагрузки между телами качения и, соответственно, к снижению долговечности ПК;
3) значительное уменьшение прочности тонких колец ПК вследствие снятия слоя материала с них для изготовления локальной зоны.
Предлагаемым изобретением решается задача увеличения долговечности ПУ за счет оптимального распределения нагрузки между телами качения от рабочей нагрузки; сохранения циркуляционного режима нагружения; ликвидации концентрации напряжений и получения возможности следить за изменением направления нагрузки ПК. Кроме того, исходная конструкция ПК не меняется.
Достижение указанных результатов осуществляется за счет того, что ПУ, содержащий цапфу вала, корпус и ПК, отличается тем, что в нем установлено кольцо с локальной зоной переменной жесткости с зазором между наружным кольцом подшипника и натягом с корпусом, которое можно поворачивать, а затем фиксировать в корпусе таким образом, чтобы плоскость минимальной жесткости локальной зоны совпала с вектором радиальной нагрузки, действующей на подшипник качения, а форма локальной зоны задавала нужный закон распределения нагрузки между телами качения для повышения долговечности подшипника.
Переменная жесткость локальной зоны кольца достигается изменением его толщины посредством снятия слоя материала. Закон изменения толщины кольца определяется в зависимости от типоразмера подшипника, размеров ПУ, задаваемого закона распределения нагрузки и определяется расчетом всего ПУ, используя метод конечных элементов.
Кольцо с локальной зоной переменной жесткости в процессе работы подшипника не вращается относительно корпуса, так как устанавливается с натягом. Однако при изменении направления вектора внешней радиальной нагрузки его можно устанавливать в другое угловое положение так, чтобы плоскость минимальной жесткости кольца совпала с вектором радиальной нагрузки. Наружное кольцо подшипника относительно этого кольца может вращаться, что обеспечивает циркуляционный режим нагружения. Размеры и форму колец и тел качения стандартного ПК не меняют, поэтому их прочность остается неизменной и дополнительная концентрация напряжений не возникает.
Предлагаемое устройство позволяет задавать нагрузку на тела качения по заранее заданному закону за счет, например, переменной толщины локальной зоны кольца, что увеличивает эффективность использования ПУ, его надежность и долговечность.
Сущность предлагаемого изобретения поясняется на чертеже. Между корпусом ПУ 1 и наружным кольцом 2 подшипника устанавливается кольцо переменной жесткости 3. На его наружной поверхности непосредственно в зоне нагружения выполнено симметричное локальное снятие материала, за счет чего достигается переменная толщина и соответственно переменная жесткость локальной зоны 4 кольца, что позволяет задавать оптимальный закон распределения нагрузки по телам качения 5. Между кольцом устройства 3 и наружным кольцом 2 подшипника имеется небольшой зазор, который позволяет медленно вращаться наружному кольцу 2 подшипника (как в серийной конструкции ПУ), обеспечивая циркуляционный режим нагружения. Кольцо 3 можно поворачивать и фиксировать в корпусе неподвижно одним из известных способов при изменении направления вектора 6 внешней нагрузки так, чтобы плоскость 7 минимальной жесткости зоны совпала с вектором 6.
Предлагаемое устройство функционирует следующим образом. Сначала определяют направление внешней нагрузки 6 на ПК, затем кольцо переменной жесткости 3 поворачивают так, чтобы плоскость 7 минимальной жесткости его локальной зоны совпала с вектором радиальной нагрузки на подшипник качения. Тело качения при вращении входит в зону нагружения ПК, нагрузка на тело постепенно возрастает. В стандартном ПУ по мере приближения тела вращения к плоскости действия вектора 6 внешней нагрузки усилие на него возрастает в несколько раз по сравнению с соседними телами качения, что приводит к снижению усталостной прочности материала подшипника и соответственно к значительному уменьшению долговечности ПК.
При работе предлагаемого устройства вследствие переменной толщины кольца 3 его упругие деформации больше там, где больше нагрузка на тела качения и меньше толщина кольца, за счет чего нагрузка на наиболее нагруженные тела качения снижается, а на соседние повышается. Можно добиться примерно одинаковой нагрузки на тела качения, находящиеся в зоне нагружения.
Формула изобретения
Устройство для повышения долговечности подшипникового узла, содержащего цапфу вала, корпус и подшипник качения, отличающееся тем, что содержит кольцо с локальной зоной переменной жесткости, имеющее зазор с наружным кольцом подшипника и натяг с корпусом, которое можно поворачивать, а затем фиксировать в корпусе таким образом, чтобы плоскость минимальной жесткости зоны совпала с вектором радиальной нагрузки на подшипник качения, а форма локальной зоны задала нужный закон распределения нагрузки между телами качения для повышения долговечности подшипника.
РИСУНКИ
|
|