|
|
(21), (22) Заявка: 2008135460/11, 20.01.2007
(24) Дата начала отсчета срока действия патента:
20.01.2007
(30) Конвенционный приоритет:
02.02.2006 (пп.1-15) DE 102006004678.1
(46) Опубликовано: 20.04.2010
(56) Список документов, цитированных в отчете о поиске:
SU 1275141 A1, 07.12.1986. US 6626626 B2, 30.09.2003. US 3156281 А, 10.11.1964. US 6238127 В1, 29.05.2001. SU 377569 A, 17.04.1973.
(85) Дата перевода заявки PCT на национальную фазу:
02.09.2008
(86) Заявка PCT:
EP 2007/000491 20070120
(87) Публикация PCT:
WO 2007/087991 20070809
Адрес для переписки:
129090, Москва, ул.Б.Спасская, 25, стр.3, ООО “Юридическая фирма Городисский и Партнеры”, пат.пов. А.В.Мицу, рег. 364
|
(72) Автор(ы):
КРЕТЬЕН Сильвен (FR), МОР Андреас (DE), ЛУТЦ Карл-Эдуард (DE), ГОМБЕР Стефан (FR), СИРАЗАРО Николя (FR)
(73) Патентообладатель(и):
КАМАКС-ВЕРКЕ РУДОЛЬФ КЕЛЛЕРМАНН ГМБХ УНД КО. КГ (DE), А. РАЙМОН Э КОМПАНИ (FR)
|
(54) МОНТАЖНЫЙ УЗЕЛ ДЛЯ УШКА КРЕПЛЕНИЯ ЗАМКА РЕМНЯ БЕЗОПАСНОСТИ
(57) Реферат:
Изобретение относится к средствам крепежа. Монтажный узел для поворотного и невыпадающего крепления болта на установочной детали содержит болт с головкой, хвостовым участком и нарезным участком с резьбой. Хвостовой участок расположен в области между головкой и нарезным участком. Монтажный узел содержит также монтажное кольцо, расположенное неподвижно в направлении оси болта на хвостовом участке. Монтажное кольцо имеет, по меньшей мере, один стопорный элемент, который выполнен и расположен так, что обеспечивает перемещение установочной детали поверх стопорного элемента и ее закрепление стопорным элементом таким образом, что возможен поворот болта относительно установочной детали, но при этом болт установлен без возможности перемещения в направлении оси болта. Монтажный блок для привинчивания установочной детали к элементу конструкции содержит установочную деталь с отверстием, болт с головкой, хвостовым участком и нарезным участком с резьбой. Хвостовой участок расположен в области между головкой и нарезным участком. Болт проходит через отверстие установочной детали. Монтажный блок содержит также монтажное кольцо, расположенное без возможности перемещения в направлении оси болта на хвостовом участке, имеющее, по меньшей мере, один стопорный элемент, который выполнен и расположен так, что установочная деталь удерживается стопорным элементом таким образом, что болт установлен с возможностью поворота относительно установочной детали, но без возможности перемещения в направлении оси болта. В результате увеличивается прочность конструкции. 2 н. и 13 з.п. ф-лы, 32 ил.
Изобретение относится к монтажному узлу для поворотного и невыпадающего крепления болта на установочной детали, а также к монтажному блоку для привинчивания установочной детали к элементу конструкции.
Относительно установочной детали речь может идти о любой детали, которая в жестко привинченном к элементу конструкции состоянии может поворачиваться и, соответственно, качаться относительно него. В частности, касаясь установочной детали, речь идет об ушке крепления замка ремня безопасности легкового автомобиля, грузового автомобиля или другого автомобиля.
Для грузовых автомобилей фирмы DaimlerChrysler AG известен монтажный узел для поворотной и невыпадающей фиксации ушка крепления замка ремня безопасности (установочная деталь) на части салона (элемент конструкции) грузового автомобиля. Монтажный узел содержит болт с головкой, хвостовым участком и нарезным участком с резьбой. Хвостовой участок расположен в области между головкой и нарезным участком. Далее, монтажный узел содержит подкладную шайбу и две монтажные шайбы. Необходимой частью монтажного узла является далее установочная деталь, без которой не существует никакого монтажного узла, а всего лишь пять отдельных элементов. Для сборки монтажного узла сначала на хвостовой участок болта насаживается подкладная шайба. Подкладная шайба имеет отверстие, внутренний диаметр которого больше, чем наружный диаметр хвостового участка, и меньше головки болта, так что подкладная шайба приходит в контакт с опорной поверхностью головки. Затем установочную деталь проводят ее отверстием по болту до тех пор, пока установочная деталь не войдет в контакт с подкладной шайбой. Внутренний диаметр отверстия в установочной детали также больше, чем наружный диаметр хвостового участка болта. Затем по болту перемещается первая монтажная шайба. Первая монтажная шайба выполнена ступенчатой таким образом, что она имеет первый участок, наружный диаметр которого несколько меньше, чем внутренний диаметр отверстия в установочной детали, и она тогда вдвигается в отверстие в установочной детали. Второй участок имеет больший наружный диаметр и, таким образом, прилегает к внешней поверхности установочной детали. Наконец, невыпадающее соединение монтажного узла обеспечивает вторая монтажная шайба. Вторая монтажная шайба имеет по ее внутренней окружности радиальные зазоры, между которыми таким образом отформованы выступы. При монтаже второй монтажной шайбы эти выступы входят в зацепление в витки резьбы, и вторая монтажная шайба таким образом навинчивается на резьбу болта или при соответствующем упругом выполнении вжимается по резьбе или перемещается до тех пор, пока она не войдет в контакт с первой монтажной шайбой и, таким образом, не зажмет установочную деталь между первой монтажной шайбой и подкладной шайбой. Соответствующим выбором материала обеспечено, чтобы необходимый радиальный зазор между установочной деталью и монтажной шайбой не приводил к трещащим шумам. Этот известный монтажный узел построен сравнительно сложно и требует, наряду с болтом и установочной деталью, трех следующих отдельных частей. Монтажный узел становится невыпадающим только после монтажа установочной детали.
Далее, из уровня техники в автомобильной области известно, что ушко крепления замка ремня безопасности (установочная деталь) легкового автомобиля или грузового автомобиля с возможностью поворота укрепляют на части салона (элемент конструкции) легкового и, соответственно, грузового автомобиля. Для этого никакого монтажного узла не используется. Установочная деталь посредством болта и отдельной, выполненной пружинящей, фасонной шайбы привинчивается к элементу конструкции. Болт имеет головку, хвостовой участок и нарезной участок с резьбой, причем хвостовой участок расположен в области между головкой и нарезным участком. Фасонная шайба имеет отверстие с внутренним диаметром, который больше, чем наружный диаметр хвостового участка. Таким образом, сначала фасонная шайба перемещается по болту до тех пор, пока она не войдет в контакт с головкой болта. При этом, тем не менее, фасонная шайба никаким образом не связана жестко с болтом. Затем по болту также перемещается ушко крепления замка ремня безопасности. В этой свободной позиции трех частей болт завинчивается в отверстие элемента конструкции до тех пор, пока заплечик, ограничивающий хвостовой участок по направлению к нарезному участку болта, не будет плотно прилегать к элементу конструкции. При этом фасонная шайба прилегает одной своей стороной к элементу конструкции, а другой своей стороной – к ушку крепления, так что ушко крепления зажимается. Значит, ушко крепления установлено с возможностью поворота между фасонной шайбой и головкой болта и неподвижно в направлении оси болта. Упругость фасонной шайбы служит для того, что избегать трещащих шумов вследствие осевого зазора ушка крепления.
Из опубликованной под номером DE 10055405 A1 немецкой заявки известен монтажный узел для поворотного и невыпадающего крепления болта на установочной детали. Монтажный узел содержит болт с головкой, хвостовым участком и нарезным участком с резьбой, причем хвостовой участок расположен в области между головкой и нарезным участком с резьбой. Монтажный узел далее содержит монтажное кольцо. Монтажное кольцо состоит из пластмассы и выполнено упругим. Далее, предусмотрены установочная деталь с отверстием, а также элемент конструкции с соответствующим резьбе болта отверстием с внутренней резьбой. За счет некруглого поперечного сечения отверстия установочной детали монтажное кольцо расположено в установочной детали не поворотно. Далее, благодаря краевому выступу и распорному ребру монтажное кольцо расположено относительно установочной детали без возможности перемещения в направлении оси болта. Монтажное кольцо имеет внутренний диаметр, который меньше, чем наружный диаметр резьбы нарезного участка болта. В не полностью завинченном в элемент конструкции положении монтажного узла (фиг.1) монтажное кольцо расположено в области нарезного участка болта. На основе взаимного подбора внутреннего диаметра монтажного кольца и наружного диаметра и, соответственно, внутреннего диаметра резьбы нарезного участка болта монтажное кольцо посредством упругой или также упруго-пластичной деформации может двигаться относительно болта, или, соответственно, болт может завинчиваться или вдавливаться в монтажное кольцо. Только после окончания монтажа установочной детали на элементе конструкции – т.е. если болт полностью завинчен в элемент конструкции (фиг.2) – монтажное кольцо расположено в области хвостового участка болта. В этом положении монтажное кольцо уже исполнило его функцию и в этом смысле является излишним. Оно не является ни поворотным, ни подвижным относительно установочной детали. Монтажное кольцо исполняет таким образом свою собственную функцию в сочетании с нарезным участком болта (фиг.1). Этот документ из уровня техники вообще не занимается таким креплением установочной детали на элементе конструкции, что установочная деталь в привинченном к элементу конструкции состоянии может поворачиваться относительно него.
Следующий монтажный узел для поворотного и невыпадающего крепления болта на установочной детали известен из американского патента US 3156281. Монтажный узел содержит болт с головкой, хвостовым участком и нарезным участком с резьбой. Хвостовой участок расположен в области между головкой и нарезным участком. Далее, монтажный узел содержит монтажное кольцо. Монтажное кольцо выполнено, в частности, из упругой пружинной стали. В не связанном с установочной деталью положении монтажного узла (фиг.3) монтажное кольцо расположено свободно подвижным и поворотным в области стержня болта. Комбинация из болта и монтажного кольца затем вводится в установочную деталь сверху (фиг.4). Монтажное кольцо имеет на его внешней окружности выступающие упругие элементы, которые в известной степени обеспечивают крепление монтажного кольца в отверстии установочной детали. Напротив, болт может свободно поворачиваться относительно монтажного кольца и может свободно перемещаться по интервалу между головкой болта и концом нарезного участка со стороны головки относительно установочной детали и монтажного кольца. Этот документ вообще не занимается таким креплением установочной детали на элементе конструкции, что установочная деталь в привинченном к элементу конструкции состоянии может поворачиваться относительно него.
В основе данного изобретения лежит задача предоставить монтажный узел для поворотного и невыпадающего крепления болта на установочной детали, а также монтажный блок, с помощью которых может реализоваться прочное соединение установочной детали с элементом конструкции, причем установочная деталь в смонтированном положении может поворачиваться относительно болта и, таким образом, – элемента конструкции.
Задача изобретения решается согласно изобретению посредством признаков независимых пунктов 1 и, соответственно, 11 формулы изобретения.
Изобретение относится к монтажному узлу для поворотного и невыпадающего крепления болта на установочной детали. Монтажный узел содержит болт и монтажное кольцо. Болт имеет головку, хвостовой участок и нарезной участок с резьбой, причем хвостовой участок расположен в области между головкой и нарезным участком. Монтажное кольцо расположено на хвостовом участке неподвижно в направлении оси болта. Монтажное кольцо имеет, по меньшей мере, один стопорный элемент, который выполнен и расположен так, что установочная деталь выше стопорного элемента является подвижной и может закрепляться стопорным элементом таким образом, что болт расположен с возможностью поворота относительно установочной детали и неподвижно в направлении оси болта.
Изобретение относится, далее, к монтажному блоку для привинчивания установочной детали к элементу конструкции. Монтажный блок содержит установочную деталь, болт и монтажное кольцо. Болт имеет головку, хвостовой участок и нарезной участок с резьбой, причем хвостовой участок расположен в области между головкой и нарезным участком, и болт проходит через отверстие установочной детали. Монтажное кольцо расположено на хвостовом участке неподвижно в направлении оси болта, причем монтажное кольцо имеет, по меньшей мере, один стопорный элемент, который выполнен и расположен так, что установочная деталь удерживается стопорным элементом таким образом, что болт расположен с возможностью поворота относительно установочной детали и неподвижно в направлении оси болта.
Заявленный монтажный узел содержит, по меньшей мере, две составные части – а именно болт и монтажное кольцо, – которые связаны невыпадающим образом друг с другом. Предпочтительно, он не содержит никаких дополнительных составных частей. Болт и монтажное кольцо образуют таким образом единый монтажный узел, который можно использовать и транспортировать без опасности потери одной из составных частей. Этот монтажный узел раньше или позже снова связывается с установочной деталью, причем в этом смонтированном положении три компонента – болт, монтажное кольцо и установочная деталь – тогда также связаны невыпадающим образом друг с другом и образуют монтажный блок. При этом установочная деталь расположена по существу без возможности перемещения относительно болта и, соответственно, монтажного кольца. Никакого или, по меньшей мере, никакого существенного линейного относительного движения между установочной деталью и монтажным узлом не существует. Под неподвижной установкой болта относительно установочной детали нужно понимать по существу неподвижное расположение. В это понятие включена возможность незначительного смещения в смысле определенного люфтового зазора.
Напротив, расположение выбрано так, что между монтажным узлом и установочной деталью возможно относительное вращательное движение. Для реализации относительного вращательного движения между монтажным узлом и установочной деталью имеются различные возможности. Так, уже монтажное кольцо может быть расположено относительно болта с возможностью поворота на нем. В этом случае установочная деталь может сидеть тогда также либо поворотно, либо жестко – т.е. неповоротно – на монтажном кольце. Если монтажное кольцо расположено неповоротно на болте, тогда необходимое относительное вращательное движение между монтажным узлом и установочной деталью обеспечивается посредством того, что установочная деталь может поворачиваться относительно монтажного кольца.
Этим способом получают комбинацию монтажного узла и установочной детали (монтажный блок), который может привинчиваться посредством наружной резьбы нарезного участка болта монтажного узла в снабженное соответствующей внутренней резьбой отверстие элемента конструкции. Также и после создания этого жесткого соединения установочная деталь является поворотной относительно монтажного узла и, таким образом, элемента конструкции. Подобное жесткое, но поворотное и, соответственно, качающееся соединение предлагается особенно для фиксации ушка крепления замка ремня безопасности легкового автомобиля, грузового автомобиля или другого транспортного средства. Для удобства использования системы пристегивания ремнями безопасности требуется, как известно, ушко крепления, с которым твердым участком ремня безопасности шарнирно соединен собственно замок ремня безопасности, прочно монтировать в области салона транспортного средства, чтобы гарантировать желаемую удерживающую функцию системы ремней безопасности. Для этого требуется, чтобы ушко крепления и, таким образом, замок ремня безопасности транспортного средства были с возможностью поворота и, соответственно, наклона связаны с салоном транспортного средства. Монтажный узел и монтажный блок согласно изобретению впервые гарантируют этот вид соединения, в смысле предварительно монтируемой, невыпадающей сборочной единицы с отказом от известных из уровня техники отдельных элементов.
По меньшей мере, один стопорный элемент может быть упруго податливым и быть выполнен, выступая из монтажного кольца таким образом, что установочная деталь может перемещаться при упругой деформации стопорного элемента вверх по нему и после упругого обратного отжима стопорного элемента может закрепляться стопорным элементом. Другими словами, стопорный элемент выполнен как защелкивающийся элемент, который воздействует в смысле защелкивающегося соединения на установочную деталь и фиксирует ее на монтажном кольце. Установочная деталь двигается своим отверстием по стопорному элементу наверх, причем стопорный элемент упруго деформируется в направлении продольной средней оси монтажного узла и, соответственно, прижимается. После полного проталкивания установочной детали над стопорным элементом и, соответственно, полного введения монтажного узла в отверстие установочной детали, стопорный элемент высвобождается от внутренней поверхности отверстия установочной детали, так что он может упруго отжиматься обратно в его начальную позицию. При этом стопорный элемент контактирует теперь с внешней поверхностью установочной детали и, таким образом, как бы входит с зацеплением в поднутрение отверстия установочной детали. В этой позиции стопорный элемент действенно предотвращает противоположно направленное линейное относительное движение между монтажным узлом и установочной деталью. Для демонтажа стопорный элемент должен осознанно придавливаться снова по направлению продольной средней оси болта до тех пор, пока свободный конец стопорного элемента не войдет с зацеплением снова в отверстие установочной детали. Нежелательный демонтаж таким образом эффективно предотвращается.
Предпочтительно, предусматривается не только один такой стопорный элемент, а несколько стопорных элементов. Они расположены, в частности, с равномерным распределением по окружности монтажного кольца. Таким образом гарантируется надежное и равномерное крепление установочной детали на монтажном узле. Предпочтительно, стопорные элементы отстоят от поверхности монтажного кольца под углом примерно между 5° и 45°, в частности примерно между 25° и 30°.
Монтажное кольцо может иметь, по меньшей мере, один прижимной элемент, причем, по меньшей мере, один стопорный элемент расположен в области обращенного к нарезному участку осевого конца монтажного кольца, и, по меньшей мере, один прижимной элемент расположен в области обращенного к головке осевого конца монтажного кольца, так что установочная деталь может закрепляться без осевого зазора между, по меньшей мере, одним прижимным элементом и, по меньшей мере, одним стопорным элементом. По меньшей мере, один прижимной элемент предоставляет свободное от люфтового зазора и, таким образом, свободное от трещащего шума крепление монтажного узла в отверстии установочной детали. Для этого прижимной элемент предпочтительно является упруго податливым и выполнен для приложения упругого усилия к установочной детали, так что в смонтированном состоянии установочная деталь прижимается к стопорному элементу. Установочная деталь, таким образом, свободна от люфтового зазора между ее обеими внешними поверхностями и зажата без стука между прижимным и стопорным элементами.
Предпочтительно предусмотрен не только один такой прижимной элемент, а несколько прижимных элементов. Они расположены, в частности, с равномерным распределением по окружности монтажного кольца.
Монтажное кольцо может быть выполнено как не замкнутое в направлении внешней окружности кольцо, в частности, из пружинной стали. Подобное незамкнутое гибкое кольцо может насаживаться на болт простым способом, что может вполне поддаваться автоматизации. Для осевого крепления монтажного кольца на болте имеются различные возможности. Первая возможность состоит в том, что болт имеет заплечик, который в направлении по оси болта к нарезному участку примыкает к хвостовому участку и имеет больший наружный диаметр, чем хвостовой участок. После упругого расширения монтажного кольца оно затем входит в захват за заплечиком, который предотвращает линейное движение монтажного кольца назад. Альтернативно или дополнительно, болт может иметь паз, который предусмотрен в области хвостового участка, причем монтажное кольцо имеет, по меньшей мере, один соответствующий фиксирующий элемент, который входит с зацеплением в паз. При этом паз в виде замкнутого кольца может проходить вокруг внешней окружности болта или также содержать несколько раздельных выемок. При первом варианте легко возможно вращение монтажного кольца относительно болта, в то время как второй вариант, по меньшей мере, затрудняет такое вращение.
Предпочтительно, хвостовой участок имеет больший наружный диаметр, чем нарезной участок. Таким образом монтажное кольцо может без проблем перемещаться по нарезному участку болта по направлению к головке болта, без затруднения манипулирования или без риска повреждения резьбы нарезного участка. Однако также могло бы быть возможным, чтобы хвостовой участок имел меньший наружный диаметр, чем нарезной участок, причем в этом случае для гарантии возможности сборки установочной детали с монтажным узлом монтажное кольцо должно иметь большую толщину, чтобы отверстие установочной детали, с одной стороны, могло перемещаться поверх резьбы и, с другой стороны, надежно монтироваться на наружном диаметре монтажного кольца.
Выгодные варианты усовершенствования изобретения вытекают из пунктов формулы изобретения, описания и чертежей. Упомянутые в начале описания преимущества признаков и комбинаций нескольких признаков являются лишь примерами и могут быть задействованы альтернативно или кумулятивно, без того, чтобы преимущества должны были достигаться настоятельно согласно соответствующим изобретению формам выполнения. Дальнейшие признаки можно получить из чертежей, в частности из представленных геометрий и габаритных размеров нескольких элементов конструкции относительно друг к другу, а также их относительного расположения и взаимодействия. Комбинация признаков разных форм выполнения изобретения или признаков разных пунктов формулы изобретения возможна также и отличной от указанных зависимостей пунктов формулы изобретения. Это касается также таких признаков, которые представлены на отдельных чертежах или называются при их описании. Эти признаки могут также комбинироваться с признаками разных пунктов формулы изобретения. Также выведенные в пунктах формулы изобретения признаки могут выпадать для дальнейших форм выполнения изобретения.
В дальнейшем изобретение разъясняется и описывается более подробно посредством представленных на чертежах предпочтительных примеров выполнения.
Фиг.1 показывает первый вид сбоку первого примера выполнения монтажного узла согласно изобретению,
Фиг.2 показывает второй вид сбоку первого примера выполнения монтажного узла согласно изобретению,
Фиг.3 показывает вид сверху первого примера выполнения монтажного узла согласно изобретению,
Фиг.4 показывает вид сбоку болта первого примера выполнения заявленного монтажного узла,
Фиг.5 показывает вид сверху монтажного кольца первого примера выполнения заявленного монтажного узла,
Фиг.6 показывает аксонометрическую проекцию монтажного кольца первого примера выполнения монтажного узла согласно изобретению,
Фиг.7 показывает первый вид сбоку монтажного кольца первого примера выполнения монтажного узла согласно изобретению,
Фиг.8 показывает второй вид сбоку монтажного кольца первого примера выполнения монтажного узла согласно изобретению,
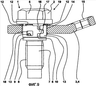
Фиг.9 показывает вид частичного разреза монтируемого в установочной детали первого примера выполнения монтажного узла согласно изобретению,
Фиг.10 показывает аксонометрическую проекцию монтируемого в установочной детали первого примера выполнения монтажного узла согласно изобретению,
Фиг.11 показывает первый вид сбоку второго примера выполнения монтажного узла согласно изобретению,
Фиг.12 показывает второй вид сбоку второго примера выполнения монтажного узла согласно изобретению,
Фиг.13 показывает вид сверху второго примера выполнения монтажного узла согласно изобретению,
Фиг.14 показывает вид сбоку болта второго примера выполнения монтажного узла согласно изобретению,
Фиг.15 показывает вид сверху монтажного кольца второго примера выполнения монтажного узла согласно изобретению,
Фиг.16 показывает аксонометрическую проекцию монтажного кольца второго примера выполнения монтажного узла согласно изобретению,
Фиг.17 показывает первый вид сбоку монтажного кольца второго примера выполнения монтажного узла согласно изобретению,
Фиг.18 показывает второй вид сбоку монтажного кольца второго примера выполнения монтажного узла согласно изобретению,
Фиг.19 показывает первый вид сбоку третьего примера выполнения монтажного узла согласно изобретению,
Фиг.20 показывает второй вид сбоку третьего примера выполнения монтажного узла согласно изобретению,
Фиг.21 показывает вид сверху третьего примера выполнения монтажного узла согласно изобретению,
Фиг.22 показывает вид сбоку болта третьего примера выполнения монтажного узла согласно изобретению,
Фиг.23 показывает вид сверху монтажного кольца третьего примера выполнения монтажного узла согласно изобретению,
Фиг.24 показывает аксонометрическую проекцию монтажного кольца третьего примера выполнения монтажного узла согласно изобретению,
Фиг.25 показывает первый вид сбоку монтажного кольца третьего примера выполнения монтажного узла согласно изобретению,
Фиг.26 показывает второй вид сбоку монтажного кольца третьего примера выполнения монтажного узла согласно изобретению,
Фиг.27 показывает первый вид сбоку четвертого примера выполнения монтажного узла согласно изобретению,
Фиг.28 показывает второй вид сбоку четвертого примера выполнения монтажного узла согласно изобретению,
Фиг.29 показывает вид сверху четвертого примера выполнения монтажного узла согласно изобретению,
Фиг.30 показывает первый вид сбоку пятого примера выполнения монтажного узла согласно изобретению,
Фиг.31 показывает второй вид сбоку пятого примера выполнения монтажного узла согласно изобретению,
Фиг.32 показывает вид сверху пятого примера выполнения монтажного узла согласно изобретению.
На Фиг.1-10 показаны разные проекции первого примера выполнения заявленного монтажного узла 1. Монтажный узел 1 служит для поворотного и невыпадающего крепления болта 2 на установочной детали 3.
Относительно установочной детали 3 в представленном примере речь идет об ушке 4 крепления замка ремня безопасности легкового автомобиля, грузового автомобиля, специализированного автомобиля или другого транспортного средства. Такое ушко 4 крепления служит для крепления известным способом замка ремня безопасности в области салона транспортного средства. Ушко 4 крепления имеет отверстие 15, в которое входит с зацеплением участок ремня безопасности, на котором закрепляется собственно замок ремня безопасности (не представлен). Тем не менее, может речь идти также о любой другой установочной детали 3, которая должна закрепляться и монтироваться описанным ниже способом.
Болт 2 монтажного узла 1 имеет головку 5. Для задействования болта 2 головка 5 имеет контактные поверхности, которые выполнены любым подходящим способом. В представленном примере речь идет о болте с внешней шестигранной головкой. Болт 2 имеет далее хвостовой участок 6 и нарезной участок 7 с резьбой 8. Относительно резьбы 8 речь может идти о любой резьбе. В представленном примере речь идет о метрической наружной резьбе. Резьба 8 может проходить до свободного конца болта 2 или также кончаться раньше. В представленном примере болт 2 имеет с концевой стороны еще одну свободную от резьбы область центрирования. Также возможно предусматривать несколько нарезных участков 7 и при необходимости другие участки вдоль болта 2. Хвостовой участок 6 примыкает своим верхним концом к головке 5 болта 2. Однако вместо этого между хвостовым участком 6 и головкой 5 болта 2 мог бы быть предусмотрен также еще один дополнительный участок. На своем противоположном головке 5 конце хвостовой участок 6 при этом выполнении болта 2 примыкает к заплечику 9, который имеет больший наружный диаметр, чем хвостовой участок 6.
На хвостовом участке 6 расположено монтажное кольцо 10. Монтажное кольцо 10 расположено на хвостовом участке 6 по существу неподвижно в направлении оси 11 болта. В представленном примере выполнения монтажного узла 1 и, соответственно, монтажного кольца 10 по существу неподвижного крепления монтажного кольца 10 достигают посредством того, что оно имеет меньший диаметр, чем заплечик 9, и его размеры согласованы с хвостовым участком 6. Для сборки монтажное кольцо 10 выполнено здесь как не замкнутое в направлении периметра кольцо, в частности, из пружинной стали, с язычком 16 и соответствующей выемкой 17, так что при упругом расширении оно может перемещаться поверх нарезного участка 7 и заплечика 9 в область хвостового участка 6. За счет упругих возвратных усилий, диаметр монтажного кольца 10 после снятия нагрузки сокращается, так что оно в определенной мере входит с зацеплением в образованное заплечиком 9 поднутрение на хвостовом участке 6. Тем не менее, возможны и другие варианты выполнения монтажного кольца 10.
В его обращенной к головке 5 болта 2 концевой области монтажное кольцо 10 имеет несколько прижимных элементов 12. Мог бы быть предусмотрен, тем не менее, даже лишь один прижимной элемент 12, или также не предусмотрено вообще никаких прижимных элементов. В представленном примере в случае прижимных элементов 12 речь идет об отбортованных от кольцеобразной внешней поверхности монтажного кольца 10 участках материала, которые выполнены так, что они обладают упругостью, так что монтажное кольцо 10 зажато между головкой 5 и заплечиком 9 без зазора и без стука.
Далее, монтажное кольцо 10 имеет несколько отходящих в сторону стопорных элементов 13. Оно могло бы иметь вместо этого, однако, всего один стопорный элемент 13. В представленном примере стопорные элементы 13 равномерно распределены по окружности монтажного кольца 10. Стопорные элементы 13 выполнены и расположены так, что установочная деталь 3 своим замкнутым по краю отверстием 14 может перемещаться вверх по стопорным элементам 13 и может закрепляться стопорными элементами 13 на монтажном кольце 10 таким образом, что болт 2 расположен с возможностью поворота относительно установочной детали 3 и неподвижно в направлении оси 11 болта.
Стопорные элементы 13 выполнены в представленном первом примере как упругие защелкивающиеся элементы. Стопорные элементы 13 образованы из материала монтажного кольца 10 и отогнуты от внешней поверхности монтажного кольца 10 наружу, причем их свободные концы указывают по направлению к головке 5 болта 2. Для этого варианта выполнения монтажное кольцо 10 имеет просечки 18, которые позволяют описанное выше образование стопорных элементов 13. Стопорные элементы 13 выступают, таким образом, из просечек 18 вперед. Тем не менее, также возможны другие виды выполнения и расположения стопорных элементов 13. При изготовлении монтажного кольца 10 стопорные элементы 13 будут под упруго-пластичной деформацией отгибаться наружу из поверхности монтажного кольца 10, так что они желаемым способом и под желаемым углом – например примерно 30° – выступают от монтажного кольца 10. Если теперь при сборке установочная деталь 3 своей внутренней поверхностью при сдвигании по направлению к головке 5 болта 2 контактирует со стопорными элементами 13, то они с упругой деформацией будут деформированы обратно, по направлению к кольцевой поверхности монтажного кольца 10. После того как установочная деталь 3 при дальнейшем перемещении по направлению к головке 5 болта 2 деблокирует стопорные элементы 13, они упруго отщелкиваются назад и устанавливают установочную деталь 3 таким образом, как это особенно хорошо видно на фиг.9. Стопорные элементы 13 контактируют таким образом с нижней поверхностью установочной детали 3, в то время как на верхнюю поверхность установочной детали 3 нажимают по направлению к стопорным элементам 13 выполненные упруго-податливыми прижимные элементы 12. Этим способом установочная деталь 3 свободно и без люфтового зазора удерживается на монтажном кольце 10. Таким образом действенно предотвращается нежелательное смещение установочной детали 3 относительно болта 2 в направлении оси 11 болта.
Тем не менее, одновременно установочная деталь 3 является далее поворотной относительно болта 2 и, соответственно, может отклоняться. В данном примере как монтажное кольцо 10 может поворачиваться относительно болта 2, так и установочная деталь 3 – относительно монтажного кольца 10. Тем не менее также возможны другие устройства, в конце концов, до тех пор, пока остается возможным относительное вращение между болтом 2 и установочным элементом 3.
В укрепленном в установочной детали 3 состоянии монтажного узла 1 эти части совместно образуют монтажный блок 19. Монтажный блок 19 может предварительно монтироваться и без опасности потери отдельных составных частей транспортироваться в область элемента конструкции, в которой монтажный блок 19 должен, наконец, устанавливаться. Таким образом, вполне возможна экономичная сборка монтажного блока 19.
Фиг.11-18 показывают соответствующие представления второго примера выполнения заявленного монтажного узла 1. Подразумевается, что этот монтажный узел 1 может монтироваться также в показанной на фиг.9, 10 установочной детали 3 или любой другой установочной детали для образования монтажного блока 19.
Монтажный узел 1 согласно фиг.11-18 имеет ряд общих признаков с монтажным узлом 1 согласно фиг.1-10, так что предлагаются отсылки к показанным выше вариантам выполнения.
В отличие от этого болт 2 не имеет заплечиков с большим диаметром, а вместо этого имеет обегающий паз 20. Тем не менее, вместо обегающего паза 20 могли бы быть также предусмотрены находящиеся на расстоянии друг от друга углубления или т.п. В последнем случае монтажное кольцо 10 может располагаться на стержне 6 болта 2 по существу без возможности проворачивания, так что необходимое относительное вращение происходит здесь между установочной деталью 3 и монтажным кольцом 10. Для осевой фиксации монтажного кольца 10 в области хвостового участка 6 монтажное кольцо 10 имеет несколько соответствующих фиксирующих элементов 21, которые входят с зацеплением в паз 20. Тем не менее, мог бы быть предусмотрен даже единственный фиксирующий элемент. В представленном примере в случае фиксирующих элементов 21 речь идет об участках монтажного кольца 10, которые вдвигаются внутрь монтажного кольца 10. Речь идет, в частности, о вмятинах на поверхности монтажного кольца 10.
Фиг.19-26 показывают третий пример выполнения предложенного монтажного узла 1. Для общих признаков снова даются ссылки на показанные выше варианты выполнения. Особенность состоит в данном случае в том, что монтажное кольцо 10 не имеет никаких прижимных элементов.
Фиг.27-29 показывают четвертый пример выполнения монтажного узла 1. Для совпадающих признаков предлагаются отсылки к предшествующим выполнениям и, в частности, относительно первого примера выполнения монтажного узла 1. В данном четвертом примере монтажное кольцо 10 имеет Г-образную просечку 22, из которой, наряду со стопорным элементом 13, выступает следующий элемент 23. Элемент 23 имеет задачу уравнивать неизбежный вследствие допусков люфтовый зазор между наружным диаметром монтажного кольца 10 и внутренним диаметром отверстия 14 установочной детали 3 и предотвращать возможные за счет этого трещащие шумы. Несколько распределенных по окружности элементов 23 прилегают, таким образом, к внутренней поверхности отверстия 14 установочной детали 3.
Фиг.30-32 показывают, наконец, пятый пример выполнения заявленного монтажного узла 1. В этом случае монтажное кольцо 10 имеет отбортовку 24. Для крепления монтажного кольца 10 на хвостовом участке 6 болта 2 служат несколько фиксирующих элементов 25 в форме захватов. Монтажное кольцо 10 с небольшим зазором расположено на хвостовом участке 6 болта 2. Так как в отношении монтажного кольца 10 речь идет при этом, в частности, о пластмассовом кольце и оно с его фиксирующими элементами 25 сравнительно плотно сидит на поверхности хвостового участка 6, тем не менее, этот зазор не является невыгодным, так как трещащие шумы появляться не могут. Нежелательное осевое перемещение монтажного кольца 10 по направлению к свободному концу болта 2 надежно предотвращается заплечиком 9.
Перечень основных обозначений
1 монтажный узел
2 болт
3 установочная деталь
4 ушко крепления
5 головка
6 хвостовой участок
7 нарезной участок
8 резьба
9 заплечик
10 монтажное кольцо
11 ось болта
12 прижимной элемент
13 стопорный элемент
14 отверстие
15 отверстие
16 язычок
17 выемка
18 просечка
19 монтажный блок
20 паз
21 фиксирующий элемент
22 просечка
23 элемент
24 отбортовка
25 фиксирующий элемент
Формула изобретения
1. Монтажный узел (1) для поворотного и невыпадающего крепления болта (2) на установочной детали (3), содержащий: болт (2) с головкой (5), хвостовым участком (6) и нарезным участком (7) с резьбой (8), причем хвостовой участок (6) расположен в области между головкой (2) и нарезным участком (7); и монтажное кольцо (10), причем монтажное кольцо (10) расположено неподвижно в направлении оси (11) болта на хвостовом участке (6), причем монтажное кольцо (10) имеет, по меньшей мере, один стопорный элемент (13), который выполнен и расположен так, что обеспечивает перемещение установочной детали (3) поверх стопорного элемента (13) и ее закрепление стопорным элементом (13) таким образом, что возможен поворот болта (2) относительно установочной детали (3), но при этом болт (2) установлен без возможности перемещения в направлении оси (11) болта.
2. Монтажный узел (1) по п.1, отличающийся тем, что, по меньшей мере, один стопорный элемент (13) является защелкивающимся элементом, который выполнен упругоподатливым и выступает из монтажного кольца (10) так, что установочная деталь (3) может при упругой деформации защелкивающегося элемента перемещаться поверх него и после упругого обратного отжима защелкивающегося элемента закрепляться с помощью него.
3. Монтажный узел (1) по п.1 или 2, отличающийся тем, что монтажное кольцо имеет, по меньшей мере, один прижимной элемент (12), причем, по меньшей мере, один стопорный элемент (13) в области обращенного к нарезному участку (7) осевого конца монтажного кольца (10) и, по меньшей мере, один прижимной элемент (12) в области обращенного к головке (5) осевого конца монтажного кольца (10) расположены так, что между, по меньшей мере, одним прижимным элементом (12) и, по меньшей мере, одним стопорным элементом (13) установочная деталь (3) может закрепляться без осевого зазора.
4. Монтажный узел (1) по п.3, отличающийся тем, что, по меньшей мере, один прижимной элемент (12) выполнен упругоподатливым для приложения упругого усилия к установочной детали (3), так что в смонтированном состоянии установочная деталь (3) прижата, по меньшей мере, к одному стопорному элементу (13).
5. Монтажный узел (1) по п.1, отличающийся тем, что монтажное кольцо (10) выполнено как незамкнутое в направлении периметра кольцо, в частности, из пружинной стали.
6. Монтажный узел (1) по п.1, отличающийся тем, что болт (2) имеет заплечик (9), который в направлении по оси (11) болта к нарезному участку (7) примыкает к хвостовому участку (6) и имеет больший наружный диаметр, чем хвостовой участок (6).
7. Монтажный узел (1) по п.1 или 6, отличающийся тем, что болт (2) имеет паз (20), который предусмотрен в области хвостового участка (6), и монтажное кольцо (10) имеет, по меньшей мере, один ответный фиксирующий элемент (21), который входит с зацеплением в паз (20).
8. Монтажный узел (1) по п.7, отличающийся тем, что хвостовой участок (6) имеет больший наружный диаметр, чем нарезной участок (7).
9. Монтажный узел (1) по п.1, отличающийся тем, что установочная деталь (3) имеет замкнутое по краю отверстие (14), через которое в смонтированном состоянии установочной детали (3), по меньшей мере, частично проходит болт (2) с закрепленным на болте (2) монтажным кольцом (10).
10. Монтажный узел (1) по п.1, отличающийся тем, что установочная деталь (3) представляет собой ушко (4) крепления замка ремня безопасности легкового автомобиля, грузового автомобиля или другого специализированного автомобиля.
11. Монтажный блок (19) для привинчивания установочной детали (3) к элементу конструкции, содержащий: установочную деталь (3) с отверстием (14); болт (2) с головкой (5), хвостовым участком (6) и нарезным участком (7) с резьбой (8), причем хвостовой участок (6) расположен в области между головкой (2) и нарезным участком (7), причем болт (2) проходит через отверстие (14) установочной детали (3); и монтажное кольцо (10), причем монтажное кольцо (10) расположено без возможности перемещения в направлении оси (11) болта на хвостовом участке (6), причем монтажное кольцо (10) имеет, по меньшей мере, один стопорный элемент (13), который выполнен и расположен так, что установочная деталь (3) удерживается стопорным элементом (13) таким образом, что болт (2) установлен с возможностью поворота относительно установочной детали (3), но без возможности перемещения в направлении оси (11) болта.
12. Монтажный узел (19) по п.11, отличающийся тем, что, по меньшей мере, один стопорный элемент (13) выполнен упругоподатливым и выступающим из монтажного кольца (10) так, что установочная деталь (3) из несмонтированного положения может при упругой деформации стопорного элемента (13) перемещаться поверх него и после упругого обратного отжима стопорного элемента (13) быть закреплена в смонтированном положении с помощью стопорного элемента (13).
13. Монтажный блок (19) по п.11 или 12, отличающийся тем, что монтажное кольцо (10) имеет, по меньшей мере, один прижимной элемент (12), причем, по меньшей мере, один стопорный элемент (13) в области обращенного к нарезному участку (7) осевого конца монтажного кольца (10) и, по меньшей мере, один прижимной элемент (12) в области обращенного к головке (5) осевого конца монтажного кольца (10) расположены так, что между, по меньшей мере, одним прижимным элементом (12) и, по меньшей мере, одним стопорным элементом (13) установочная деталь (3) закреплена без осевого зазора.
14. Монтажный блок (19) по п.13, отличающийся тем, что, по меньшей мере, один прижимной элемент (12) выполнен упругоподатливым для приложения упругого усилия к установочной детали (3), так что установочная деталь (3) прижата, по меньшей мере, к одному стопорному элементу (13).
15. Монтажный блок (19) по п.11, отличающийся тем, что установочная деталь (3) представляет собой ушко (4) крепления замка ремня безопасности легкового автомобиля, грузового автомобиля или другого специализированного автомобиля.
РИСУНКИ
|
|