|
|
(21), (22) Заявка: 2008150665/06, 23.12.2008
(24) Дата начала отсчета срока действия патента:
23.12.2008
(46) Опубликовано: 20.04.2010
(56) Список документов, цитированных в отчете о поиске:
RU 2179660 С2, 20.02.2002. SU 1439292 A1, 21.11.1988. SU 1520267 A1, 07.11.1989. US 6302655 B1, 16.10.2001. US 4792284 A, 20.12.1988.
Адрес для переписки:
142100, Московская обл., г. Подольск, ул. Большая Зеленовская, 60, кв.102, Г.К.Зиберту
|
(72) Автор(ы):
Зиберт Генрих Карлович (RU), Валиуллин Илшат Минуллович (RU), Зиберт Алексей Генрихович (RU)
(73) Патентообладатель(и):
Валиуллин Илшат Минуллович (RU), Зиберт Генрих Карлович (RU)
|
(54) СПОСОБ УТИЛИЗАЦИИ НИЗКОПОТЕНЦИАЛЬНЫХ УГЛЕВОДОРОДНЫХ ГАЗОВ И УСТАНОВКА ДЛЯ ЕГО ОСУЩЕСТВЛЕНИЯ
(57) Реферат:
Способ и установка относится к струйной технике. Способ включает эжекционное сжатие двух низкопотенциальных газов различного состава высоконапорной жидкостью, от насоса рециркуляции, с подачей каждого низкопотенциального газа в самостоятельные эжекторы и последующее разделение смеси на сжатый газ, жидкость углеводородную и водную фазы, подачу газа и углеводородной жидкости потребителю, при этом разделение смеси, сбор разделенных фаз и их отбор проводят в одном трехфазном сепараторе, из которого водную жидкость отбирают для каждого состава сжимаемого газа индивидуальными насосами. Установка содержит несколько ступеней сжатия, линию рециркуляции с последовательно соединенными по жидкости насосом, эжектором, трехфазным сепаратором, патрубок подвода газа к эжектору с линией для подачи низкопотенциальной газовой среды, линию сжатого газа из сепаратора, трехфазный сепаратор, снабженный двумя линиями рециркуляции для сжатия газов разного давления и состава, при этом ступени сжатия газа расположены с противоположных сторон трехфазного сепаратора, а линии отбора разделенных фаз расположены в его центральной части. Единый технический эффект заключается в снижении энергетических (эксплуатационных) и капитальных затрат на утилизацию низкопотенциальных газов. 2 н. и 6 з.п. ф-лы, 2 ил.
Группа изобретений относится к струйной технике, в частности к способу утилизации низкопотенциальных (низконапорных) углеводородных газов путем их эжекционного сжатия для дальнейшей подготовки, переработки или использования. В качестве низкопотенциальных газов могут утилизироваться газы первой, второй, конечной ступеней сепарации нефти, газы отпарки установок регенерации гликолей, факельные газы и др.
Известен способ утилизации низкопотенциальных газов (патент РФ 1805727, МПК F04F 5/54), в котором низконапорный газ подают в первичный сепаратор, откуда его эжектируют жидкостью, поступающей из первичного сепаратора через насос при подаче смеси во вторичный сепаратор, а подачу жидкости из вторичного сепаратора в первичный на рециркуляцию осуществляют с одновременным ее охлаждением. Недостатками этого способа являются:
– повышенные энергетические затраты на поднятие давления в насосе от давления жидкости, равное низконапорному газу, до давления на выходе насоса, необходимое для эжектирования газа;
– невозможность эжектирования двух и более потоков с разными параметрами (давлением, температурой) или различными по составу;
– проведение процесса в двух аппаратах, сепараторе и трехфазном разделителе, что ведет к повышенным капитальным затратам.
Известен способ утилизации низкопотенциальных углеводородных газов (патент РФ 2179660, МПК F04F 5/54, приоритет 25.05.2000 – прототип), включающий эжекционное сжатие двух низкопотенциальных газов различного состава высоконапорной жидкостью (одного состава, давления и температуры) и последующее разделение смесей в отдельных сепараторах на сжатый газ и жидкость, подачу газов потребителю. В указанном способе устранен недостаток по невозможности эжектирования двух и более потоков.
Недостаток по повышенным энергетическим затратам на насосах устранен частично, т.к. давление насосом поднимают не от давления низкопотенциальных газов, а от давления, равного давлению на выходе эжекторов, т.е. от давления сжатых газов. Однако при разных давлениях низконапорных газов давление активной жидкости необходимо поддерживать максимальное, исходя из компримирования газа более низкого давления, что ведет к повышенным энергетическим затратам.
Недостаток по проведению процесса в двух сепараторах различной конструкции сохраняется. Кроме этого активная жидкость, рециркулируемая насосом, насыщается различными газами, что не всегда допустимо с точки зрения пожарной безопасности или насыщения жидкости коррозионными компонентами.
Известна насосно-эжекторная установка для утилизации газов сепарации нефти (Авторское свидетельство 1439292, МКИ 4: F04F 5/54, приоритет 23.11/1987), содержащая сепаратор, соединенный последовательно по жидкости рециркулируемой линией с насосом, эжектором, сепаратором; патрубок подвода низкопотенциальной газовой среды эжектора с сепаратором нефти, при этом на рециркулируемой линии перед эжектором установлен теплообменник для охлаждения потока нефтью, а сепаратор снабжен линией отбора сжатого газа сепарации.
Недостатком этой установки является утилизация газа только одной ступени сепарации нефти. Для утилизации газов второй ступени сепарации с другим давлением, составом необходима еще одна аналогичная установка, что повышает капитальные и энергетические затраты на утилизацию низкопотенциальных газов.
Известна насосно-эжекторная установка (Авторское свидетельство 1535114, МКИ F04F 5/48 – прототип), содержащая сепаратор первой ступени сжатия, соединенный последовательно по жидкости линией рециркуляции с насосом, эжектором, сепаратором, а патрубок подвода газа к эжектору соединен с линией низкопотенциальной газовой среды из нефти; линия сжатого газа сепаратора первой ступени соединена с патрубком подвода газа к эжектору второго контура сжатия газа, при подаче на него жидкости от насоса первой ступени, при этом линия рециркуляции первого контура снабжена линиями подачи регенерированного абсорбента и отбора насыщенного абсорбента. Преимуществом этой установки, по сравнению с аналогом, является возможность повышения давления низконапорных газов в две ступени. Возможность одновременного сжатия и осушки газа.
Недостатком этого технического решения является возможность утилизации газа одного давления, т.е. газа одной ступени сепарации.
Задача, на решение которой направлена заявляемая группа изобретений, заключается в снижении энергетических (эксплуатационных) и капитальных затрат на утилизацию низкопотенциальных газов.
Единый технический результат при осуществлении группы изобретений по объекту – способу достигается тем, что в способе утилизации низкопотенциальных газов, включающем эжекционное сжатие двух низкопотенциальных газов различного состава высоконапорной жидкостью, от насоса рециркуляции, с подачей каждого низкопотенциального газа в самостоятельные эжекторы и последующее разделение смеси на сжатый газ, жидкость углеводородную и водную фазы, подачу газа и углеводородной жидкости потребителю, разделение смеси, сбор разделенных фаз и их отбор проводят в одном трехфазном сепараторе, из которого водную жидкость отбирают для каждого состава сжимаемого газа индивидуальными насосами. Подачу низкопотенциального газа одного состава для эжекционного сжатия высоконапорной жидкостью в двухпоточный трехфазный сепаратор осуществляют с одной стороны, а другого состава – с противоположной стороны, при этом отбор разделенных фаз проводят в центральной части сепаратора. Сжатый низкопотенциальный газ дополнительно сжимают жидкостно-струйным эжектированием. Сжатый низкопотенциальный газ охлаждают, сепарируют, после чего нагревают на 20-40°С выше температуры сепарации.
Единый технический результат при осуществлении группы изобретений по объекту – устройство достигается тем, что в насосно-эжекторной установке для осуществления предложенного способа, содержащей несколько ступеней сжатия, линию рециркуляции с последовательно соединенными по жидкости насосом, эжектором, трехфазным сепаратором, патрубок подвода газа к эжектору с линией для подачи низкопотенциальной газовой среды, линию сжатого газа из сепаратора, трехфазный сепаратор снабжен двумя линиями рециркуляции для сжатия газов разного давления и состава, при этом ступени сжатия газа расположены с противоположных сторон трехфазного сепаратора, а линии отбора разделенных фаз расположены в его центральной части. На линии сжатого газа из сепаратора последовательно по ходу газа дополнительно установлена ступень эжекционного сжатия. На линии сжатого газа последовательно установлены холодильник, сепаратор, нагреватель газа. Трехфазный сепаратор снабжен перед линиями отбора разделенных фаз сегментными сепарационно-коалесцирующими насадками.
В объекте – способ.
Проведение разделения смеси, сбора разделенных фаз и их отбора в одном трехфазном сепараторе, из которого водную жидкость отбирают для каждого состава сжимаемого газа индивидуальными насосами позволило снизить энергетические, эксплуатационные и капитальные затраты на утилизацию низкопотенциальных газов за счет индивидуального повышения давления для каждого низкопотенциального газа до общего давления в трехфазном сепараторе.
Осуществление подачи низкопотенциального газа одного состава для эжекционного сжатия высоконапорной жидкостью в двухпоточный трехфазный сепаратор осуществляют с одной стороны, а другого состава – с противоположной стороны, и проведение отбора разделенных фаз в центральной части сепаратора позволило сократить число технологических аппаратов, упростить их обвязку, сократить число регулирующих, предохранительных устройств и фундаментов, снизить энергетические затраты на сжатие двух газов различного давления и состава.
Проведение отбора разделенных фаз в его центральной части, обеспечение возможности дополнительного сжатия низкопотенциального газа жидкостно-струйным эжектированием, охлаждение сжатого низкопотенциального газа, его сепарация и последующее нагревание на 20-40°С выше температуры сепарации, позволило кроме компримирования осуществить подготовку газа по ГОСТ 5542-87.
В объекте – устройство.
Снабжение трехфазного сепаратора двумя линиями рециркуляции для сжатия газов разного давления и состава и расположение ступеней сжатия газов с противоположных сторон трехфазного сепаратора, а линий отбора разделенных фаз в его центральной части позволило снизить капитальные затраты на оборудовании, фундаментах, площади застройки, сократить количество регулирующей арматуры, приборов контроля и автоматики, за счет осуществления сжатия двух газов различного состава и давления в одном аппарате.
Установление на линии сжатого газа из сепаратора последовательно по ходу газа дополнительной ступени эжекционного сжатия позволило повысить давление подготовленного газа.
Установление на линии сжатого газа из сепаратора последовательно по ходу газа холодильника, сепаратора и подогревателя газа позволило, кроме сжатия газа, осуществить его подготовку для исключения выпадения из него жидкости при подаче его потребителю.
Снабжение трехфазного сепаратора перед линиями отбора разделенных фаз сегментными сепарационно-коалесцирующими насадками позволило уменьшить габариты аппарата за счет уменьшения диаметра аппарата, высоты сепарационной зоны и зоны осаждения разделяемых жидкостей (углеводородной и водной) и повысить эффективность сепарации фаз (газовой и жидкостной, двух несмешивающихся жидкостей – водной и углеводородной).
Заявителем и авторами не известны аналогичные признаки способов и установок, которые могли бы обеспечить повышение эффективности процесса утилизации низкопотенциальных газов без увеличения капитальных и эксплуатационных затрат.
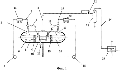
На фиг.1 изображена схема установки, иллюстрирующая предлагаемый способ утилизации низкопотенциальных газов.
На фиг.2 изображена схема установки, иллюстрирующая предлагаемый способ утилизации двух низкопотенциальных газов с дополнительной ступенью эжекционного сжатия.
Объект – способ утилизации двух низкопотенциальных газов различного состава и давления осуществляется следующим образом.
Первый низкопотенциальный газ (например, газ первой ступени сепарации нефти), фиг.1, подают по линии 1 в эжектор 2, в котором его эжектируют высоконапорной жидкостью (в качестве высоконапорной жидкости используют воду или водный раствор гликоля), поступающей в эжектор 2 по линии 3 от насоса 4. Газожидкостную смесь с давлением выше давления низкопотенциального газа из эжектора 2 подают в трехфазный сепаратор 5 в левую секцию разделения 6, в которой смесь выветривается, разделяется на газ, углеводородную и водную жидкости. Газ сепарируют от жидкости на сегментной сепарационно-коалесцирующей насадке 7, после чего его отбирают по линии 8. Улеводородную жидкость на сегментной сепарационо-коалесцирующеи насадке 9 окончательно разделяют на углеводородную и водную жидкие фазы. Более легкую углеводородную фазу отбирают в отсек сбора легкой жидкой фазы 10, тяжелую фазу подают на рециркуляцию, то есть насос 4. Тепло, выделяемое при сжатии первого низкопотенциального газа, снимают рециркулируемой жидкостью, а затем отводят на воздушном холодильнике 11.
Второй низкопотенциальный газ (например, газ второй ступени сепарации нефти) подают по линии 12 в эжектор 13, в котором его эжектируют высоконапорной жидкостью (вода или водный раствор гликоля), поступающей в эжектор 13 по линии 14 от насоса 15. Газожидкостную смесь с давлением, равным давлению сжатого первого низкопотенциального газа 1, из эжектора 13 подают в трехфазный сепаратор 5 в правую секцию разделения 16, в которой смесь разделяется на газ, углеводородную и водную жидкости. Газ сепарируют от жидкости на сегментной сепарационно-коалесцирующей насадке 17, после чего его отбирают по линии 8 совместно с первым сжатым газом. Углеводородную жидкость на сегментной сепарационно-коалесцирующей насадке 19 окончательно разделяют на углеводородную и водную жидкие фазы. Более легкую углеводородную фазу отбирают в отсек сбора легкой жидкой фазы 10, тяжелую фазу подают на рециркуляцию, то есть вход насоса 15. Тепло, выделяемое при сжатии второго низкопотенциального газа, снимают рециркулируемой водной жидкостью, а затем отводят на воздушном холодильнике 20.
Жидкую углеводородную смесь левой и правой зон разделения из отсека сбора легкой жидкой фазы 10 отбирают потребителю по линии 21.
Давление сжатого газа в линии 8 поддерживают регулятором давления 22. Для подготовки газа потребителю из газа после регулятора давления отделяют жидкость в сепараторе 23, который затем по линии 24 направляют в подогреватель газа 25, где повышают температуру газа на 20-40°С выше температуры сепарации газа для исключения выпадения жидкости.
Для повышения давления сжатого газа, полученного в сепараторе 5, выше давления одноступенчатого эжекционного сжатия применяется ступень дополнительного сжатия 26 (фиг.2) предварительно сжатого газа. В этом случае сжатый газ по линии 8 подают на ступень дополнительного сжатия газа 26, в эжектор 27, в котором его сжимают высоконапорной водной фазой, поступающей от насоса 28, через воздушный холодильник 29, по линии 30. Газ и жидкости из эжектора подают в разделитель фаз 31. Разделенную водную фазу подают по линии 32 на рециркуляцию вход насоса 28. Легкую жидкую фазу отбирают потребителю из отсека сбора легкой жидкой фазы 33, по линии 34. Из дополнительной ступени сжатия 26 сжатый газ подают по линии 35 через регулятор давления 22 в сепаратор 23, который затем по линии 24 направляют в подогреватель газа 25, где повышают температуру сжатого газа на 20-40°С выше температуры сепарации газа для исключения выпадения жидкости (аналогично способу по фиг.1).
Пример.
Расход низкопотенциального газа первой ступени
эжектирования – газа первой ступени сепарации нефти, кг/с – 0,38.
Расход низкопотенциального газа второй ступени
эжектирования – газа второй ступени сепарации нефти, кг/с – 0,39.
Давление абсолютное низкопотенциального газа первой ступени
эжектирования, МПа – 0,25.
Давление абсолютное низкопотенциального газа второй ступени
эжектирования, МПа – 0,1094.
Давление абсолютное циркулирующей водной жидкости первой ступени эжектирования, МПа – 3,5.
Давление абсолютное циркулирующей водной жидкости второй ступени эжектирования, МПа – 4,0.
Расход циркулирующей водной жидкости первой ступени
эжектирования, м3/ч – 64.
Расход циркулирующей водной жидкости второй ступени эжектирования, м3/ч – 112.
Расход сжатого газа двух ступеней эжектирования, кг/с – 0,77.
Давление сжатого газа, МПа – 0,6.
Температура сепарации сжатого газа, °С – 25-30.
Температура газа, направляемого потребителю – на выходе подогревателя, °С – 60-65.
Отбор легкой углеводородной жидкости, кг/ч – 90.
Объект устройство – установка для осуществления способа утилизации нескольких низкопотенциальных газов различного состава и давления (фиг.1) содержит трехфазный сепаратор 5 с эжектором 2 подачи газожидкостной смеси в зону отстоя 6 и эжектором подачи газожидкостной смеси 13 в зону отстоя 16 и с общим отсеком отбора разделенной легкой жидкой фазы 10 с линией отбора 21. Между эжекторами 2, 13 и отсеком отбора 10 установлены сепарационно-коалесцирующие сегментные насадки – по газу 7, 17 и по жидкости 9, 19. Трехфазный сепаратор 5 в средней верхней части снабжен общей линией отбора сжатого газа 8 и линией рециркуляции водной жидкости 3 для сжатия одного низкопотенциального газа, поступающего по линии 1 на эжектор 2 и линией 14, для сжатия другого низкопотенциального газа, поступающего на эжектор 13 по линии 12. На линии рециркуляции водной жидкости 3 последовательно установлены насос 4 и воздушный холодильник 11, а на линии 14 – последовательно насос 15 и воздушный холодильник 20. На линии сжатого газа 8 последовательно размещены: регулятор давления 22, сепаратор 23, который линией 24 соединен с подогревателем газа 25.
На фиг.2 показана установка для утилизации низкопотенциальных газов с дополнительной ступенью сжатия газа – системой компримирования 26, которая соединена последовательно с основной ступенью сжатия низкопотенциальных газов линией 8 для дополнительного повышения давления сжатого газа. Установка в этом варианте включает дополнительно разделитель фаз 31 с линией 32 рециркуляции водной жидкости насосом 28 через воздушный холодильник 29, линию подачи высоконапорной жидкости 30 на эжектор 27. Разделитель фаз 31 включает отсек сбора легкой жидкой фазы 33 с линией ее отбора 34 потребителю, линию сжатого газа 35, соединенную с регулятором давления 22.
Установка для осуществления способа утилизации низкопотенциальных газов различного состава и давления (фиг.1) работает следующим образом.
Низкопотенциальный газ одного состава и давления (фиг.1) подают по линии 1 в эжектор 2, в котором повышают его давление высоконапорной жидкостью (водой или водным раствором гликоля). Газожидкостную смесь подают в горизонтальный трехфазный сепаратор 5 с левой стороны, где она делится на сжатый газ, который отбирают по линии 8, воду или водный раствор гликоля, который отбирают по линии рециркуляции 3 насосом 4, через воздушный холодильник 11, и жидкие углеводороды, которые отбирают по линии 21. Низкопотенциальный газ другого состава и давления (фиг.1) подают по линии 12 в эжектор 13, в котором повышают его давление высоконапорной жидкостью. Газожидкостную смесь подают в горизонтальный трехфазный сепаратор 5 с правой стороны, где она делится на сжатый газ, который отбирают по линии 8, воду или водный раствор гликоля, которую отбирают по линии рециркуляции 14 насосом 15, через воздушный холодильник 20, и жидкие углеводороды, которые отбирают по линии 21. Сжатый газ первой и второй ступени сепарации нефти из линии 8 направляют на регулятор давления 22, откуда направляют в сепаратор 23. Газ из сепаратора 23 подают по линии 24 на подогреватель 25 для нагрева выше температуры сепарации на 20-40°С с целью исключения выпадения жидкой фазы.
Для дополнительного повышения давления сжатого газа может быть подключена система компримирования 26 (фиг.2).
Использование предлагаемой группы изобретений – способа утилизации низкопотенциальных газов и установки для его осуществления позволило снизить энергетические затраты на рециркуляционных насосах, за счет индивидуального повышения давления для каждого низконапорного газа до общего давления в трехфазном сепараторе; снизить капитальные затраты на оборудовании, фундаментах, площади застройки, сократить количество регулирующей арматуры, приборов контроля и автоматики, за счет осуществления сжатия низкопотенциальных газов различного состава и давления в одном аппарате.
Формула изобретения
1. Способ утилизации низкопотенциальных газов, включающий эжекционное сжатие двух низкопотенциальных газов различного состава высоконапорной жидкостью от насоса рециркуляции с подачей каждого низкопотенциального газа в самостоятельные эжекторы и последующее разделение смеси на сжатый газ, жидкость углеводородную и водную фазы, подачу газа и углеводородной жидкости потребителю, отличающийся тем, что разделение смеси, сбор разделенных фаз и их отбор проводят в одном трехфазном сепараторе, из которого водную жидкость отбирают для каждого состава сжимаемого газа индивидуальными насосами.
2. Способ утилизации низкопотенциальных газов по п.1, отличающийся тем, что подачу низкопотенциального газа одного состава для эжекционного сжатия высоконапорной жидкостью в двухпоточный трехфазный сепаратор осуществляют с одной стороны, а другого состава – с противоположной стороны, при этом отбор разделенных фаз проводят в центральной части сепаратора.
3. Способ утилизации низкопотенциальных газов по п.1, отличающийся тем, что сжатый низкопотенциальный газ дополнительно сжимают жидкостно-струйным эжектированием.
4. Способ утилизации низкопотенциальных газов по п.1, отличающийся тем, что сжатый низкопотенциальный газ охлаждают, сепарируют, после чего нагревают на 20-40°С выше температуры сепарации.
5. Насосно-эжекторная установка для утилизации низкопотенциальных газов, содержащая несколько ступеней сжатия, линию рециркуляции с последовательно соединенными по жидкости насосом, эжектором, трехфазным сепаратором, патрубок подвода газа к эжектору с линией для подачи низкопотенциальной газовой среды, линию сжатого газа из сепаратора, отличающаяся тем, что трехфазный сепаратор снабжен двумя линиями рециркуляции для сжатия газов разного давления и состава, при этом ступени сжатия газа расположены с противоположных сторон трехфазного сепаратора, а линии отбора разделенных фаз расположены в его центральной части.
6. Насосно-эжекторная установка для утилизации низкопотенциальных газов по п.5, отличающаяся тем, что на линии сжатого газа из сепаратора последовательно по ходу газа дополнительно установлена ступень эжекционного сжатия.
7. Насосно-эжекторная установка для утилизации низкопотенциальных газов по п.5, отличающаяся тем, что на линии сжатого газа последовательно установлены холодильник, сепаратор, нагреватель газа.
8. Насосно-эжекторная установка для утилизации низкопотенциальных газов по п.5, отличающаяся тем, что трехфазный сепаратор снабжен перед линиями отбора разделенных фаз сегментными сепарационно-коалесцирующими насадками.
РИСУНКИ
|
|