Патент на изобретение №2386848

Published by on




РОССИЙСКАЯ ФЕДЕРАЦИЯ



ФЕДЕРАЛЬНАЯ СЛУЖБА
ПО ИНТЕЛЛЕКТУАЛЬНОЙ СОБСТВЕННОСТИ,
ПАТЕНТАМ И ТОВАРНЫМ ЗНАКАМ
(19) RU (11) 2386848 (13) C1
(51) МПК

F02M27/00 (2006.01)
F01N3/00 (2006.01)
F02B51/04 (2006.01)

(12) ОПИСАНИЕ ИЗОБРЕТЕНИЯ К ПАТЕНТУ

Статус: по данным на 28.09.2010 – действует

(21), (22) Заявка: 2008134231/06, 22.08.2008

(24) Дата начала отсчета срока действия патента:

22.08.2008

(46) Опубликовано: 20.04.2010

(56) Список документов, цитированных в отчете о
поиске:
FR 2865003 A1, 15.07.2005. SU 1282849 A1, 15.09.1987. RU 2178098 C2, 10.01.2002. RU 2164166 C2, 20.03.2001. RU 2229620 C1, 27.05.2004. WO 90/10149 A1, 07.09.1990. US 2005019230 A1, 27.01.2005. CA 2274400 A, 11.07.2000. JP 2006052662 A, 23.02.2006. JP 2006226171 A, 31.08.2006. JP 2005299585 A, 27.10.2005. EP 1469180 A2, 20.10.2004. JP 62255720 A, 07.11.1987. GB 717705 A, 03.11.1954.

Адрес для переписки:

123458, Москва, ул. Таллинская, 17, корп.2, кв.122, А.Е. Иванову

(72) Автор(ы):

Иванов Анатолий Ефимович (RU),
Иванов Сергей Анатольевич (RU)

(73) Патентообладатель(и):

Иванов Анатолий Ефимович (RU),
Иванов Сергей Анатольевич (RU)

(54) СПОСОБ ПОВЫШЕНИЯ КПД И ПОЛНОТЫ СГОРАНИЯ УГЛЕВОДОРОДНОГО ТОПЛИВА В ДВИГАТЕЛЯХ ВНУТРЕННЕГО СГОРАНИЯ, РАБОТАЮЩИХ ПО ЦИКЛУ ОТТО И ДИЗЕЛЯ

(57) Реферат:

Изобретение относится к двигателестроению, в частности к системам обработки топлива в двигателях внутреннего сгорания. Изобретение позволяет улучшить процесс горения и снизить содержание токсичных веществ в отработавших газах. Способ повышения КПД и полноты сгорания топлива двигателей внутреннего сгорания, работающих по циклу Отто и Дизеля, заключается в том, что газовоздушную смесь одновременно подвергают обработке электрическим полем коронного разряда и магнитным полем путем введения в камеру сгорания вдоль оси цилиндра электрода в виде тонкого металлического стержня (проволоки), на который подается потенциал от 3,8 до 6,8 кВ, и создания вокруг цилиндра соленоида или постоянного магнита. 2 ил.

Изобретение относится к области двигателестроения и позволяет повысить КПД двигателей внутреннего сгорания, работающих по циклу Отто и Дизеля, и снизить содержание токсичных веществ в отработавших газах.

Известен способ предотвращения самовоспламенения горючих газовоздушных смесей (прототип – Авторское свидетельство 1282849, SU 1282849 А1, А62С 3/04, опубл. 15.9.1986.), заключающийся в повышении температуры самовоспламенения легковоспламеняющихся и горючих жидкостей с помощью электрического поля коронного разряда, для чего газовоздушная смесь подвергалась обработке электрическим полем путем введения в нее электрода в виде тонкого металлического стержня (проволоки), на который подавали положительный потенциал от 3,8 до 6,8 кВ.

Недостатком прототипа является недостаточное смешивание и турбулизация компонентов топлива и окислителя в камере сгорания, что является причиной неполного сгорания горючего.

Задача, на решение которой направлено изобретение, заключается в улучшении процесса горения и снижения содержания токсичных веществ в отработавших газах.

Указанная задача решается тем, что в способе подготовки газовоздушной смеси двигателя внутреннего сгорания, заключающемся в воздействии на нее электрического поля коронного разряда, согласно изобретению одновременно с воздействием электрического поля смесь подвергают обработке магнитным полем в камере сгорания. При этом векторы напряженности электрического и магнитного полей не должны быть коллинеарны. В этом случае сила Лоренца «закручивает» хемионы разных знаков так, что они движутся по окружностям (или по винтовым линиям) навстречу друг другу, происходят смешивание и турбулизация компонентов топлива и окислителя в камере сгорания, что обусловливает повышение полноты сгорания топлива.

Таким образом, одновременно в результате обработки газовоздушной смеси в камере сгорания электрическим полем коронного разряда повышается температура горения, что повышает КПД, придается скорость хемионам и воздействием на процесс горения магнитным полем турбулизируются и перемешиваются положительные и отрицательные ионы горючего и окислителя, что обеспечивает повышение полноты сгорания топлива.

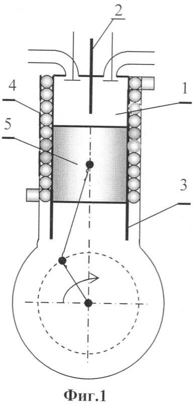
На фиг.1 представлена схема устройства. В камере сгорания 1 двигателя внутреннего сгорания поле коронного разряда создает помещенный на оси цилиндра двигателя тонкий металлический стержень (тонкая проволока) 2, являющийся положительным электродом (анодом) с напряжением 5,5-6,8 кВ. Роль противоположного электрода играет заземленный цилиндр 3. Магнитное поле создается соленоидом 4, навитым на цилиндр двигателя, в котором движется поршень 5.

На фиг.2 представлена схема устройства, в которой вместо соленоида (позиция 4 на фиг.1) магнитное поле в камере сгорания создается постоянным магнитом (позиция 6 на фиг.2).

Формула изобретения

Способ повышения КПД и полноты сгорания топлива двигателей внутреннего сгорания, работающих по циклу Отто и Дизеля, отличающийся тем, что газовоздушную смесь одновременно подвергают обработке электрическим полем коронного разряда и магнитным полем путем введения в камеру сгорания вдоль оси цилиндра электрода в виде тонкого металлического стержня (проволоки), на который подается потенциал от 3,8 до 6,8 кВ, и создания вокруг цилиндра соленоида или постоянного магнита.

РИСУНКИ

Categories: BD_2386000-2386999