|
(21), (22) Заявка: 2007131902/06, 22.08.2007
(24) Дата начала отсчета срока действия патента:
22.08.2007
(43) Дата публикации заявки: 27.02.2009
(46) Опубликовано: 20.04.2010
(56) Список документов, цитированных в отчете о поиске:
RU 2267016 C1, 27.12.2005. DE 4105020 A1, 27.08.1992. EP 0134880 A, 27.03.1985. DE 2137159 A1, 01.02.1973. RU 2057948 C1, 10.04.1996. RU 2196237 C1, 10.01.2003. SU 1423753 A1, 15.09.1988. DE 2552575 A1, 02.06.1977.
Адрес для переписки:
454136, г.Челябинск, до востребования, В.А.Баринову
|
(72) Автор(ы):
Баринов Василий Александрович (RU)
(73) Патентообладатель(и):
Баринов Василий Александрович (RU)
|
(54) БЕСШАТУННЫЙ ДВИГАТЕЛЬ ВНУТРЕННЕГО СГОРАНИЯ
(57) Реферат:
Изобретение относится к двигателестроению и может быть использовано в качестве источника механической энергии. Техническим результатом является повышение мощностных и экономических показателей двигателя, надежности и долговечности, улучшение уравновешенности. Сущность изобретения заключается в том, что в цилиндрах двигателя устанавливаются кольцевые поршни с возможностью образования с каждой стороны торцев поршней камер сгорания, а внутри каждого из упомянутых поршней размещен вал, соединенный с другими валами цилиндрическими шестернями для передачи вращения на маховик двигателя. При этом кольцевые поршни взаимодействуют с валами посредством передаточного механизма, преобразующего возвратно-поступательное движение поршней во вращательное движение вала и включающего две оси, жестко закрепленные на поршне, и подвижные ролики, контактирующие с бесконечным зигзагообразным пазом, выполненным на цилиндрической поверхности вала. От проворачивания поршни зафиксированы посредством продольных пазов на наружной поверхности поршней и входящих в пазы роликов на осях, укрепленных на блоке цилиндров. 4 ил.
Изобретение относится к области машиностроения, в частности к двигателю, и может быть использовано в качестве источника механической энергии в любых транспортных средствах, а также в мобильных и стационарных установках.
Известны конструкции бесшатунных двигателей внутреннего сгорания, например двигатель Ванкеля.
Двигатель Ванкеля (Ормен А.С. и др. Двигатель внутреннего сгорания. Устройство и работа поршневых и комбинированных двигателей. – М.: Машиностроение, 1990, с.223) содержит корпус, ротор, камеру сгорания, планетарный ряд и выходной вал.
В таком двигателе усилие от действия газов передается на вращающийся ротор (поршень) и через планетарный ряд шестерен к выходному валу.
Известен бесшатунный двигатель по патенту РФ 2110691 С1, НПК в F02B 75/32, включающий корпус с гильзой цилиндра, поршни с бесконечными криволинейными пазами, шлицевые валы, передаточный механизм, шестерни с валами и продувочные и выпускные окна.
В этом двигателе давление газов от поршней передается к валам через передаточный механизм, взаимодействующий с бесконечными криволинейными пазами поршней, и таким образом происходит преобразование поступательного движения поршней во вращательное движение основного вала двигателя, при этом поршни получают еще и вращательное движение.
Известен бесшатунный двигатель внутреннего сгорания по патенту РФ 2267016 С1, МПК F02B 75/26, включающий цилиндр с криволинейными пазами, гильзу, поршень со штоком, передаточный механизм, состоящий из шайбы с криволинейным профилем, подшипников качения на оси, и коническую передачу для привода механизма газораспределения.
В этом двигателе преобразование поступательного движения поршня во вращательное движение выходного вала двигателя происходит за счет того, что давление газов передается на поршень со штоком и передаточный механизм, который взаимодействует с криволинейными пазами цилиндра двигателя с криволинейным профилем шайбы, укрепленной в корпусе двигателя.
При этом поршень при возвратно-поступательном движении получает еще вращательное движение.
Недостатками такого двигателя являются: снижение мощностных и экономических показателей за счет значительного увеличения сил трения при вращении поршня относительно гильзы цилиндра, а также в системе: передаточный механизм – криволинейный паз на гильзе цилиндра и криволинейный профиль на шайбе; в системе: шлицевой конец штока – шлицевая втулка с конической шестерней;
конструктивная и технологическая сложность и трудоемкость изготовления основных деталей двигателя, в первую очередь, гильзы цилиндра с криволинейным пазом на ее внутренней поверхности, и, как следствие, высокая стоимость изготовления основных деталей;
снижение надежности и долговечности двигателя вследствие значительного износа основных деталей двигателя, в первую очередь, пары гильза цилиндра – поршень, из-за дополнительных сил трения.
Целью предлагаемого изобретения является устранение указанных недостатков.
Поставленная цель достигается тем, что в цилиндрах двигателя установлены кольцевые поршни с возможностью образования с каждой стороны торцев поршней герметичных объемов, называемых камерами сгорания, а внутри упомянутых поршней вращаются главный и дополнительный валы, соединенные цилиндрическими шестернями и передающие мощность на маховик двигателя, при этом кольцевые поршни взаимодействуют с валами посредством специального механизма, преобразующего возвратно-поступательное движение поршня во вращательное движение вала и включающего каждый две оси, жестко закрепленные на поршне, и подвижные ролики на осях, контактирующие с бесконечным зигзагообразным пазом, выполненным на цилиндрической поверхности каждого вала, а от проворачивания поршни зафиксированы посредством продольных пазов на наружной поверхности поршней и входящих в пазы роликов на осях, укрепленных на блоке цилиндров.
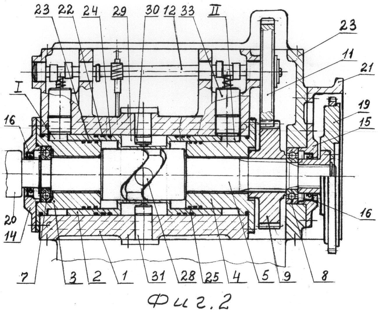
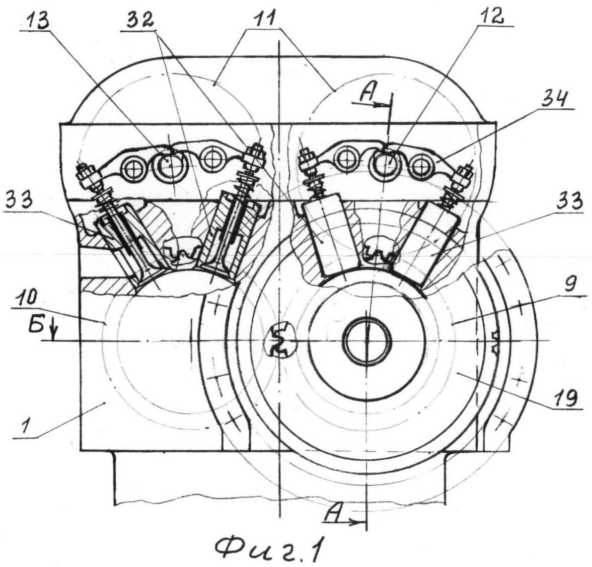
Сущность изобретения поясняется чертежами, где на Фиг.1 изображен двигатель – вид с маховика; на Фиг.2 – вид А-А на Фиг.1; на Фиг.3 – вид Б-Б на Фиг.1; на Фиг.4:
а) и б) – схема сил, действующих в цилиндре двигателя, при возвратно-поступательном движении поршня;
в) – схема сил, образующих крутящий момент;
г) – схема сил, действующих при положении поршня в одном из крайних положений.
Поскольку системы предлагаемого двигателя принципиально не отличаются от известных двигателей, то в описании конструкции и на чертежах не показаны.
Двигатель по предлагаемому изобретению включает блок цилиндров 1, внутри которых установлены кольцевые поршни 2, а с торцев цилиндры герметизированы крышками 3 и 4.
Внутри кольцевых поршней 2 вращаются главный 5 и дополнительный 6 валы, установленные на подшипниках качения соответственно 7 и 8.
На валах 5 и 6 жестко закреплены цилиндрические шестерни 9 и 10, находящиеся в постоянном зацеплении друг с другом, а также с шестернями 11, укрепленными на газораспределительных валах 12 и 13.
Подшипники 7 и 8 главного вала закрыты крышками соответственно 14 и 15 с уплотнителями 16, а дополнительный вал 6 закрыт глухими крышками 17 и 18.
На заднем конце главного вала жестко укреплен маховик 19, а на переднем конце – шкив 20 привода вспомогательных механизмов двигателя.
Маховик 19 закрыт кожухом 21, жестко присоединенным к блоку цилиндров 1.
Кольцевые поршни 2 по наружному и внутреннему диаметрам уплотнены компрессионными кольцами 22 и 23, а также маслосъемными кольцами 24 и 25.
В средней части поршней 2 жестко закреплены оси 26, а на них подвижные ролики 27, контактирующие с боковыми поверхностями бесконечного зигзагообразного паза 28, выполненного на цилиндрической поверхности главного 5 и дополнительного валов 6.
Кроме этого поршни 2 имеют продольные пазы 29, выполненные на наружной поверхности и взаимодействующие с подвижными роликами 30, смонтированными на осях 31, жестко закрепленных на блоке цилиндров 1.
Для впуска горячей смеси (карбюраторный двигатель) и воздуха (для дизелей) предусмотрены клапанные механизмы 32 соответственно впускных клапанов, а для выпуска отработавших газов – клапанные механизмы 33 соответственно выпускных клапанов.
Своевременное открытие и закрытие впускных клапанов обеспечивается наличием коромысел 34, на которые при вращении воздействуют кулачки газораспределительных валов 12 и 13.
Конструкция предлагаемого двигателя позволяет в одном цилиндре иметь две камеры сгорания I и II (см. Фиг.2 и Фиг.3), что уменьшает количество поршней в два раза, а также некоторых других деталей.
Кинематика зигзагообразного паза 28 обеспечивает четыре хода поршня (четыре такта двигателя) за один оборот двигателя, тогда как у современных двигателей с кривошипно-шатунным механизмом это происходит за два оборота.
Таким образом, предлагаемый двигатель значительно превосходит все упомянутые двигатели по основным технико-экономическим показателям.
Принцип действия предлагаемого двигателя заключается в следующем. В процессе сгорания и расширения газы (рабочее тело), находящиеся в цилиндре, заставляют кольцевой поршень перемещаться из одного крайнего положения в другое, т.е. из положения I в положение II, или наоборот.
При этом на торцы поршня будет воздействовать сила Fг (сила давления газов), которая через передаточный механизм, а именно через оси роликов, через сами ролики и зигзагообразный паз передается на вал.
Согласно законам механики сила, действующая на наклонную поверхность (см. Фиг.4, вариант а и б), раскладывается на составляющие, одна из которых осевая, а другая тангенциальная .
Эта сила на плече «Z» (см. Фиг.4, вариант в) создает крутящий момент (Мкр), который, конечно, будет непостоянным по величине (это известно), но ровно в два раза равномернее, чем у известных двигателей, «Z»=Const.
Таким образом, полученный крутящий момент Мкр на каждом валу суммируется благодаря цилиндрической передаче и передается на маховик двигателя, который за счет определенной массы обеспечивает равномерное вращение.
Кроме этого маховик обеспечивает также перемещение поршней из «мертвых» положений (см. Фиг.4, вариант г).
Формула изобретения
Бесшатунный двигатель внутреннего сгорания, включающий блок цилиндров, камеры сгорания, механизм газораспределения, передаточный механизм, поршни и вал, отличающийся тем, что в цилиндрах двигателя установлены кольцевые поршни с возможностью образования с каждой стороны торцов поршней камер сгорания, а внутри каждого из упомянутых поршней размещен вал на подшипниках, соединенный с другими валами цилиндрическими шестернями для передачи вращения на маховик двигателя, при этом кольцевые поршни взаимодействуют с валом посредством передаточного механизма, преобразующего возвратно-поступательное движение поршней во вращательное движение вала и включающего две оси, жестко закрепленные на поршне, и подвижные ролики, контактирующие с бесконечным зигзагообразным пазом, выполненным на цилиндрической поверхности вала, а от проворачивания поршни зафиксированы посредством продольных пазов на наружной поверхности поршней и входящих в пазы роликов на осях, укрепленных на блоке цилиндров.
РИСУНКИ
|