|
|
(21), (22) Заявка: 2008150396/03, 19.12.2008
(24) Дата начала отсчета срока действия патента:
19.12.2008
(46) Опубликовано: 20.04.2010
(56) Список документов, цитированных в отчете о поиске:
RU 2285088 C1, 10.10.2005. SU 1150306 A, 15.04.1985. RU 2097490 С1, 27.11.1997. RU 47388 U1, 27.08.2005. US 3583497 А, 08.06.1971. US 3871617 A, 18.03.1973.
Адрес для переписки:
119313, Москва, ул. Гарибальди, 11, кв.380, В.В. Иванову
|
(72) Автор(ы):
Борщевский Александр Алексеевич (RU), Иванов Василий Викторович (RU)
(73) Патентообладатель(и):
Государственное унитарное предприятие “Институт московского строительства “НИИМосстрой” (RU)
|
(54) ВИБРАЦИОННОЕ УСТРОЙСТВО ДЛЯ ПОГРУЖЕНИЯ ЭЛЕМЕНТА КАРКАСА СВАИ
(57) Реферат:
Вибрационное устройство относится к области строительства и может быть использовано для погружения, например, каркасов свай при сооружении свайных фундаментов. Эта задача решается тем, что вибрационное устройство для погружения каркасов свай содержит захват с проходным отверстием в центре, выполненный в виде клеммы, и два вибровозбудителя с дебалансными валами, установленные на захвате. В качестве вибровозбудителей использованы мотор-вибраторы на лапах. Кинематическая связь между дебалансными валами вибровозбудителей отсутствует, а требуемый характер колебаний поддерживается за счет возникновения явления самосинхронизации. Дебалансные валы установлены с возможностью перекрещивания друг относительно друга. Именно за счет такой установки возникают вынуждающие силы, создающие вращающий момент, обеспечивающий вращательные колебания погружаемого элемента, что, в свою очередь, приводит к увеличению скорости погружения. В качестве вибровозбудителей использованы мотор-вибраторы на лапах. Захват выполнен в виде клеммы, состоящей из секторов, соединенных между собой шарнирно, что облегчает монтаж вибрационного устройства на арматурный каркас и обеспечивает плотное и равномерное ее обжатие. Данное техническое решение позволяет повысить скорость погружения элемента каркаса сваи. 4 ил.
Вибрационное устройство относится к области строительства и может быть использовано при сооружении фундаментов для погружения каркаса сваи.
Известно вибрационное устройство для погружения свай, содержащее захват, закрепленный на погружаемом элементе, два вибровозбудителя с дебалансными валами, установленные на захвате (см. авторское свидетельство СССР 1150306, МКИ E02D 7/18, 01.04.1983).
Данное устройство может быть установлено только на верхний конец погружаемого элемента. Для длинных каркасов, не обладающих достаточной изгибной жесткостью, такая установка может привести к потере устойчивости и деформации погружаемого элемента.
Наиболее близким техническим решением к заявляемому является вибрационное устройство, содержащее закрепленный на погружаемом элементе захват с проходным отверстием в центре, два вибровозбудителя с дебалансными валами, установленные на захвате (см. патент РФ 2285088, МКИ E02D 7/18, 27.04.2005). В этом решении погружение сваи обеспечивается только вертикально направленными колебаниями погружаемого элемента, что приводит к невысокой скорости погружения.
Задачей заявляемого изобретения является повышение скорости погружения элемента каркаса сваи.
Эта задача решается тем, что вибрационное устройство для погружения элемента каркаса сваи в качестве вибровозбудителей содержит мотор-вибраторы на лапах, а их дебалансные валы установлены с возможностью поворота относительно оси, перпендикулярной оси погружаемого элемента, при этом закрепленный на последнем захват выполнен в виде состоящей из секторов, соединенных между собой шарнирно, клеммы, снабженной запорным устройством в виде П-образной пластины и гидроцилиндра.
В качестве погружаемого элемента каркаса сваи преимущественно может быть использован пространственный арматурный каркас круглого сечения, а также металлическая труба круглого сечения.
При установке элемента каркаса сваи с помощью предлагаемого устройства в процессе его работы возникают вынуждающие силы, создающие вращающий момент, обеспечивающий вращательные колебания погружаемого элемента, что, в свою очередь, приводит к увеличению скорости погружения.
В качестве вибровозбудителей могут быть использованы мотор-вибраторы на лапах, клемма снабжена опорной пластиной с отверстиями для установки вибровозбудителя с возможностью поворота относительно оси, перпендикулярной оси погружаемого элемента.
Захват выполнен в виде клеммы, состоящей из секторов, соединенных между собой шарнирно.
Клемма имеет запорное устройство, включающее П-образную запорную пластину и гидроцилиндр.
Вибрационное устройство для погружения элемента каркаса сваи изображено на фиг.1 – общий вид, на фиг.2 – вид сверху, на фиг.3 – вид справа на опорную пластину вибровозбудителя, на фиг.4 – схема установки вибрационного устройства на каркас.
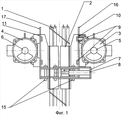
Вибрационное устройство (фиг.1 и 2) для погружения каркасов свай 1, содержащее захват 2 с проходным отверстием в центре, закрепленный на каркасе сваи 1, два вибровозбудителя 3 и 4 с дебалансными валами 5 и 6, установленные на захвате 2. Дебалансные валы 5 и 6 установлены с возможностью перекрещивания друг относительно друга. Захват 2 снабжен запорным устройством, включающим П-образную запорную скобу 7 и гидроцилиндр 8.
В качестве вибровозбудителей 3 и 4 использованы мотор-вибраторы на лапах. Вибровозбудители 3 и 4 устанавливаются при помощи болтов 9 на опорные пластины 10 и 11, закрепленные с противоположных сторон клеммы.
Опорные пластины 10 и 11 снабжены крепежными отверстиями 12, 13, 14, которые позволяют устанавливать вибровозбудители 3 и 4 симметрично относительно плоскости разъема захвата 2, при этом оси вращения дебалансных валов 5 и 6 могут быть либо параллельны, либо перекрещиваться под углом от 45 до 90 градусов (фиг.3).
Обмотки вибровозбудителей 3 и 4 соединены таким образом, чтобы их дебалансные валы 5 и 6 вращались в противоположные стороны. Условия, необходимые для возникновения самосинхронизации, достигаются за счет гибкости каркаса 1 и возможности его горизонтального и углового перемещения в скважине.
Захват 2 представляет собой разрезную клемму, состоящую из секторов, соединенных шарнирами 15. Захват 2 снабжен строповочными петлями 16 и 17 для подъема вибропогружателя краном.
Вибрационное устройство для погружения каркасов свай работает следующим образом (см. фиг.4). Каркас 1 подается краном, устанавливается в устье скважины и центрируется. Ослабляя натяжение троса крана, каркас 1 погружают в скважину под действием собственного веса. При возникновении затруднений в дальнейшем погружении на каркасе закрепляют захват 2 на требуемой высоте. Раскрытая на шарнирах 15 клемма, при откинутой запорной скобе 7, свободно надевается сбоку на каркас сваи 1, установленный в скважину (фиг.4а, б). Затем запорную скобу 7 закрывают и поднимают захват 2 до необходимой высоты, где он обжимается на каркасе 1 при помощи гидроцилиндра 8 (фиг.4в, г).
При включении вибровозбудителей 3 и 4 происходит погружение каркаса 1 в скважину до достижения захватом 2 отметки устья скважины, затем гидроцилиндр 8 отпускают, поднимают вибропогружатель по каркасу вверх и снова обжимают захват 2 на каркасе 1. Процесс повторяют до погружения каркаса на проектную величину.
Использование предлагаемого устройства, которое можно устанавливать на каркасе на требуемой высоте, существенно упростит технологический процесс погружения и установки арматурного каркаса сваи в скважину, заполненную бетонной смесью, и снизит затраты на устройство сваи. Приближение вибропогружателя к устью скважины позволит использовать воздействие вибрации для уплотнения бетонной смеси в верхней части сваи.
Формула изобретения
Вибрационное устройство для погружения элемента буронабивной сваи, включающее два вибровозбудителя с дебалансными валами и закрепленный на погружаемом элементе захват с проходным отверстием в центре, отличающееся тем, что в качестве вибровозбудителей устройство содержит мотор-вибраторы на лапах, а дебалансные валы установлены с возможностью поворота относительно оси, перпендикулярной оси погружаемого элемента, при этом закрепленный на последнем захват выполнен в виде состоящей из секторов, соединенных между собой шарнирно, клеммы, снабженной запорным устройством в виде П-образной пластины и гидроцилиндра.
РИСУНКИ
|
|