|
|
(21), (22) Заявка: 2008147019/13, 28.11.2008
(24) Дата начала отсчета срока действия патента:
28.11.2008
(46) Опубликовано: 20.04.2010
(56) Список документов, цитированных в отчете о поиске:
СТЕПАНЕНКО П.П. Руководство к лабораторным занятиям по микробиологии молока и молочных продуктов. – М.: Издательский дом «Лира», 2005, с.70-71, 95. SU 1785529 A3, 30.12.1992. RU 2292387 C2, 10.09.2006. RU 71118 U1, 27.02.2008.
Адрес для переписки:
109378, Москва, ул. Ак. Скрябина, 28, кор.1, кв.150, Т.Н. Данильчук
|
(72) Автор(ы):
Данильчук Татьяна Николаевна (RU)
(73) Патентообладатель(и):
Данильчук Татьяна Николаевна (RU)
|
(54) ЛАБОРАТОРНАЯ УСТАНОВКА ДЛЯ КУЛЬТИВИРОВАНИЯ МИКРООРГАНИЗМОВ НА ПЛОТНЫХ ПИТАТЕЛЬНЫХ СРЕДАХ
(57) Реферат:
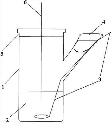
Изобретение относится к пищевой промышленности и биотехнологии, а именно к устройствам для изучения особенностей роста микроорганизмов, и может найти применение в микробиологии. Установка содержит двугорлый сосуд 1, заполненный ниже уровня боковой горловины плотной питательной средой 2, застывшей в виде столбика. В питательную среду на дно сосуда помещен электрод 3, выполненный в виде петли из проволоки, загнутой кольцом, токоотвод которого выведен через боковую горловину сосуда. Боковая горловина закрыта ватно-марлевой пробкой 4, которая должна плотно прижимать токоотвод к стенке сосуда, но при этом не затруднять снабжение культуры воздухом. Верхняя горловина сосуда плотно закрыта пробкой 5, через которую введена бактериологическая игла 6, представляющая собой металлическую проволоку диаметром 0,5-1 мм. Игла является вторым электродом и опущена в столбик с питательной средой. Электроды выполнены с возможностью подключения к источнику тока. Использование позволяет путем сочетания различных параметров электрофизического воздействия ускорить рост медленно растущих микроорганизмов – продуцентов биологически активных веществ, подавить рост нежелательной микрофлоры, управлять биосинтетической активностью культуры микроорганизма. 1 ил.
Изобретение относится к пищевой промышленности и биотехнологии, а именно к устройствам для изучения особенностей роста микроорганизмов, и может найти применение в микробиологии.
Известно устройство, представляющее собой лабораторную установку для изучения проращивания зерна, содержащую емкость для зерна, два электрода и два слоя водопоглощающего материала, которая позволяет изменять скорость проращивания зерна при одновременном ее исследовании (RU, патент 2145159, A01C 1/00, 1/02, 2000). Скорость роста зерна изменяют пропусканием постоянного электрического тока через массу зерна. Недостатком устройства является невозможность его использования для культивирования микроорганизмов, так как конструкция емкости, в которой производится обработка биологического объекта током, не позволяет проводить стерилизацию автоклавированием и должным образом обеспечить асептические условия.
Наиболее близким к заявленному изобретению является устройство для посева и культивирования микроорганизмов, состоящее из пробирки, выполненной из стекла пирекс, которая содержит плотную питательную среду, застывшую в виде столбика, и закрыта ватно-марлевой пробкой. Посев микроорганизмов производят уколом в столбик бактериологической иглой или бактериологической петлей с соблюдением строгой стерильности (Степаненко П.П. Руководство к лабораторным занятиям по микробиологии молока и молочных продуктов. – М.: Издательский дом «Лира», 2005, с.70-71, 95). К недостатку этого устройства можно отнести невозможность менять скорость роста культуры микроорганизма в процессе культивирования.
Целью настоящего изобретения является устранение этого недостатка, а именно – создание устройства, позволяющего изменять в процессе культивирования при соблюдении асептических условий скорость роста культуры микроорганизма и одновременно изучать особенности роста культуры.
Указанная цель достигается за счет создания лабораторной установки для обработки микроорганизмов микроэлектротоком при их культивировании на плотных средах.
Сечение установки приведено на чертеже.
Установка содержит двугорлый сосуд 1, выполненный из стекла пирекс и заполненный ниже уровня боковой горловины плотной питательной средой 2, застывшей в виде столбика. В питательную среду на дно сосуда помещен электрод 3, выполненный в виде петли из проволоки, загнутой кольцом, токоотвод которого выведен через боковую горловину сосуда. Боковая горловина закрыта ватно-марлевой пробкой 4, которая должна плотно прижимать токоотвод к стенке сосуда, но при этом не затруднять снабжение культуры воздухом. Верхняя горловина сосуда плотно закрыта пробкой из термостойкой пищевой резины 5. Через эту пробку введена бактериологическая игла 6, представляющая собой металлическую проволоку диаметром 0,5-1 мм. Игла является вторым электродом и опущена в столбик с питательной средой в верхней его части. Для изготовления электродов можно использовать хромоникелевую проволоку, а также проволоку из нержавеющей стали, платины, вольфрама.
Установка работает следующим образом. Изготавливают электрод-петлю и ватно-марлевую пробку. Электрод-петлю помещают на дно сосуда, токоотвод выводят через боковую горловину и закрывают боковую горловину ватно-марлевой пробкой. Через верхнюю горловину заполняют сосуд на 1/3 объема расплавленной стерильной питательной средой таким образом, чтобы избежать образования пузырьков воздуха и чтобы электрод-петля находился в питательной среде. Закрывают горловину стерильной пробкой из термостойкой пищевой резины. После застывания питательной среды пробку протыкают металлической проволокой. Электроды из проволоки фламбируют перед помещением в сосуд. Сосуд и ватно-марлевую пробку предварительно стерилизуют в сушильном шкафу 1-2 ч при 165-170°С. Подготовленную таким образом установку стерилизуют в автоклаве вместе с питательной средой. Посев культуры осуществляют уколом с соблюдением строгой стерильности: стерильной иглой, зафиксированной в пробке из термостойкой пищевой резины, набирают посевной материал, плотно закрывают пробкой сосуд, опускают иглу таким образом, чтобы она проколола столбик питательной среды и вошла в нее на глубину 5-8 мм. Электроды подсоединяют к источнику тока. В качестве источника тока используют любое известное устройство, обеспечивающее протекание постоянного, переменного или пульсирующего микроэлектротока через объем питательной среды. Управление процессом роста культуры осуществляют путем изменения параметров микроэлектротока и продолжительности его воздействия. Скорость роста оценивают по нарастанию культуры вдоль линии укола.
Предлагаемая лабораторная установка позволяет менять значения таких биофизических факторов среды культивирования, как pH, окислительно-восстановительный потенциал, скорость поглощения кислорода, которые влияют на скорость роста, выход биомассы, метаболизм и химический состав микроорганизмов.
Использование изобретения в зависимости от задач, поставленных в конкретном биотехнологическом процессе, позволит путем сочетания различных параметров электрофизического воздействия:
– ускорить рост медленно растущих микроорганизмов – продуцентов биологически активных веществ,
– подавить рост нежелательной микрофлоры,
– управлять биосинтетической активностью культуры микроорганизма.
Формула изобретения
Лабораторная установка для культивирования микроорганизмов на плотных питательных средах, выполненная из стекла пирекс и содержащая плотную питательную среду, застывшую в виде столбика, отличающаяся тем, что содержит двугорлый сосуд, заполненный плотной питательной средой ниже уровня боковой горловины, в питательную среду на дно сосуда помещен электрод, выполненный в виде петли из проволоки, загнутой кольцом, токоотвод которого выведен через боковую горловину сосуда, при этом боковая горловина закрыта ватно-марлевой пробкой, которая плотно прижимает токоотвод к стенке сосуда, верхняя горловина сосуда плотно закрыта пробкой из термостойкой пищевой резины, через которую введена бактериологическая игла, являющаяся электродом, опущенным в столбик с питательной средой в верхней его части, и представляющая собой металлическую проволоку диаметром 0,5-1 мм, электроды выполнены с возможностью подсоединения к источнику тока и могут быть изготовлены из хромоникелевой, платиновой, вольфрамовой проволоки или проволоки из нержавеющей стали.
РИСУНКИ
|
|