Патент на изобретение №2386576

Published by on




РОССИЙСКАЯ ФЕДЕРАЦИЯ



ФЕДЕРАЛЬНАЯ СЛУЖБА
ПО ИНТЕЛЛЕКТУАЛЬНОЙ СОБСТВЕННОСТИ,
ПАТЕНТАМ И ТОВАРНЫМ ЗНАКАМ
(19) RU (11) 2386576 (13) C1
(51) МПК

B65D65/26 (2006.01)

(12) ОПИСАНИЕ ИЗОБРЕТЕНИЯ К ПАТЕНТУ

Статус: по данным на 28.09.2010 – действует

(21), (22) Заявка: 2008145613/12, 19.11.2008

(24) Дата начала отсчета срока действия патента:

19.11.2008

(46) Опубликовано: 20.04.2010

(56) Список документов, цитированных в отчете о
поиске:
US 5370883 А, 06.12.1994. US 3281051 А, 25.10.1966. US 5709308 А, 20.01.1998. US 3615707 А, 26.10.1971. JP 53096258 U, 04.08.1978.

Адрес для переписки:

119049, Москва, 4-й Добрынинский пер., 2/10, кв.38, А.Ю. Гаврилову

(72) Автор(ы):

Гаврилова Эмилия Евгеньевна (RU)

(73) Патентообладатель(и):

Гаврилова Эмилия Евгеньевна (RU)

(54) УСТРОЙСТВО УПАКОВКИ С ПРИСПОСОБЛЕНИЕМ ДЛЯ БЫСТРОЙ ПОДГОТОВКИ К ПРОМЕЖУТОЧНОМУ ХРАНЕНИЮ

(57) Реферат:

Изобретение относится к области устройств упаковок, используемых для размещения в них продуктов или товаров, в частности нарезных. Задачей изобретения является создание простого и удобного устройства, позволяющего обеспечить легкое вскрытие и закрытие уже вскрытой упаковки для промежуточного хранения продукта или товара. Сущность изобретения состоит в том, что содержащая продукт упаковка дополнительно содержит выполненную из листового пластически деформируемого материала наружную составную часть, которая неразъемно соединена с упомянутой упаковкой и служит для неоднократного перезакрытия продукта после вскрытия данной упаковки. Технический результат заявленного изобретения заключается в сокращении времени подготовки продукта к промежуточному хранению, в снижении проникновения в упаковку посторонних запахов после ее вскрытия, а также в улучшении сохранения свежести продуктов при их хранении после вскрытия и в повышении надежности вскрытия и закрытия упаковки. 24 з.п. ф-лы, 3 ил., 1 табл.

Область техники

Изобретение относится к области устройств упаковок, используемых для размещения в них продуктов или товаров, в частности нарезных.

Оно может быть применено в пищевой промышленности, например, для размещения кондитерских изделий, таких как щербеты, кексы, печенье, конфеты и пр., а также для размещения мясных и молочных изделий, таких как колбасы, ветчины, мясные деликатесы, сыры, а также их нарезки и пр., рыбных продуктов, круп, полуфабрикатов, в том числе замороженных, таких как пельмени, овощи, котлеты, блинчики и пр.

Указанное изобретение также может быть использовано для упаковки кормов для животных.

Изобретение может найти применение и в химической промышленности, например, для чистящих средств, в частности гранулированных или порошкообразных, в машиностроении, например, для упаковки мелких групповых изделий, таких как гайки, гвозди, шурупы, шайбы, а также в других отраслях промышленности.

В целом предлагаемое изобретение может найти применение при сопровождении продуктов и товаров, предполагающих порционное использование с промежуточным хранением остатков.

Уровень техники

Коэкструзионная пленка для повторного открытия состоит из несущего слоя, перманентно адгезионного сварного слоя и лежащего между ними слоя клея. При открытии запечатанной упаковки слой клея обнажается и тем самым позволяет повторно ее закрыть. Область ее применения, например, упаковка сыра, колбасных изделий или снеков.

Достоинством упаковки с такой пленкой является возможность ее неоднократного перезакрытия (до 10 раз).

Недостатком такой упаковки является ограниченное число раз перезакрытия, значительное ухудшение свойств клеящего слоя при попадании на него частей продукта, особенно жиросодержащих, что делает такую упаковку применимой в основном только для сухих и/или некрошащихся продуктов. Также такая упаковка не может быть использована для замороженных продуктов, поскольку при попадании влаги на клеящий слой последний при замораживании теряет свои свойства.

Сущность изобретения

Задачей предлагаемого изобретения является создание простого и удобного устройства, позволяющего обеспечить легкое вскрытие и закрытие уже вскрытой упаковки для промежуточного хранения продукта или товара.

Поставленная задача решается благодаря достижению следующего технического результата:

1) увеличение числа перезакрытий упаковки;

2) сокращение времени подготовки продукта к промежуточному хранению;

3) возможность использования для замороженных продуктов;

4) пригодность для хранения с возможностью перезакрытия упаковки жирных и/или влагосодержащих продуктов;

5) снижение проникновения в упаковку посторонних запахов после ее вскрытия;

6) снижение распространения запаха продукта из упаковки во внешнюю среду;

7) улучшение сохранения свежести продуктов при их хранении после вскрытия упаковки;

8) повышение надежности вскрытия и закрытия упаковки.

Технический результат достигается благодаря включению в служащее для быстрой подготовки к промежуточному хранению в процессе расходования содержимого устройство упаковки продукта, содержащее упакованный продукт и тару с подлежащим вскрытию для получения первичного доступа к последнему функциональным элементом, включающим две области, первая из которых предназначена для частичного или полного накрытия или окружения продукта, а вторая – для обеспечения герметизации или закрытия последнего, следующих отличительных признаков.

Дополнительно устройство должно содержать выполненную из листового пластически деформируемого материала толщиной, лежащей в пределах от 2,5 мкм до 1 мм, наружную составную часть, которая, в свою очередь, должна включать две области, площадью внешних поверхностей более 10 мм2 каждая, первая из которых предназначена для неразъемного соединения с упомянутым элементом, а вторая – для повторного закрытия продукта с использованием упомянутой деформации после упомянутого вскрытия.

Также устройство может включать поддон для размещения продукта. При этом элемент может представлять собой пленку, выполненную с возможностью приварки или приклейки к сопрягаемым поверхностям поддона.

Элемент может представлять собой пакет для размещения продукта, выполненный с возможностью сварки или склейки стенок либо с возможностью их обжима зажимом.

Составная часть может быть выполнена из материала, включающего металл, или из композиционного материала.

В качестве основного материала составной части может выступать алюминий или алюминий в комбинации с полимерными материалами.

Составная часть может быть выполнена из многослойного материала.

Как минимум, один из слоев упомянутого многослойного материала может включать металл.

Площадь внешних поверхностей составной части может не превышать таковую самой упаковки.

Составная часть может крепиться к элементу в области, предназначенной для частичного или полного накрытия или окружения продукта. В этом случае составная часть может крепиться к элементу по периметру области, предназначенной для обеспечения герметизации или закрытия продукта, непрерывно или местами;

– место крепления составной части к элементу может отступать от области, предназначенной для обеспечения герметизации или закрытия продукта, как минимум, на 0,2 мм.

Составная часть может крепиться к элементу и в области, предназначенной для обеспечения герметизации или закрытия продукта. В этом случае составная часть может крепиться к элементу непрерывно или местами по всей области, предназначенной для обеспечения герметизации или закрытия продукта.

Составная часть может присоединяться к элементу методом термосварки или приклеивания.

Составная часть может включать окно, располагаемое над областью, предназначенной для частичного или полного накрытия или окружения продукта.

Окно может содержать ребра жесткости.

Устройство может включать желоб, глубина которого должна превосходить 0,2 мм. При этом желоб должен располагаться вдоль, как минимум, части области, предназначенной для обеспечения герметизации или закрытия продукта, либо вдоль всей такой области.

Устройство может включать вставку с повышенной твердостью, расположенную под желобом.

Устройство дополнительно может содержать, как минимум, одну полость для размещения в ней влагонакопителя, и такая полость должна быть выполнена протяженной в одном направлении с шириной, меньшей минимального размера продукта либо минимального размера свободно отделяемой части продукта.

Устройство может включать газостравливающую мембрану-клапан.

Устройство может включать приспособление для облегчения вскрытия упаковки.

Упомянутое приспособление может представлять собой штырь или фрагмент струны, проходящие сквозь вторую область элемента.

Внутренний объем упаковки, определяющий максимальный объем размещаемого в ней продукта, может быть меньше 5 л.

Масса упаковки может не превышать 200 г.

Перечень чертежей

Представляемый материал иллюстрируется чертежами.

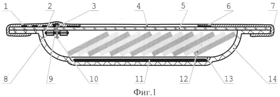
На фиг.1 изображен один из вариантов упаковки, содержащей продукт, выполненный с устройством для облегчения вскрытия при отсутствии традиционных приспособлений.

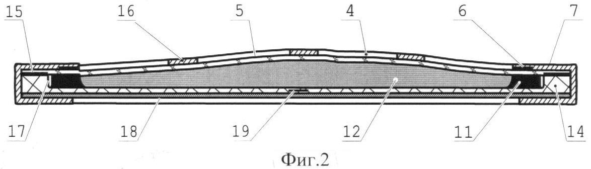
На фиг.2 изображен другой вариант упаковки, имеющий желоб для углубления в него режущего инструмента для ее вскрытия, а также обеспечивающие жесткость и сохранение целостности упаковки ребра.

На фиг.3 изображен еще один вариант упаковки, имеющий в качестве первичного укупоривающего элемента зажим.

Фиг.1 приведена для иллюстрации устройства упаковки в виде контейнера, закрытого герметизирующей пленкой.

Фиг.2 приведена для иллюстрации устройства упаковки в виде плоского поддона с поверхностью для присоединения к нему пленки в процессе герметизации упаковки.

Фиг.3 приведена для иллюстрации устройства упаковки в виде пакета.

На чертежах приняты следующие обозначения:

1 – петля – приспособления для выдергивания штыря и прорезания с его помощью пленки, герметизирующей упаковку;

2 – развальцованная с обоих торцов ось, имеющая в центральной части уширение с отверстием под штырь;

3 – выполненный из пластичного материала герметизирующий колпак, плотно, например, по прессовой посадке, сидящий на штыре;

4 – окно в дополнительном покрытии упаковки, выполненном из пластически деформируемого материала;

5 – предпочтительно прозрачная пленка, герметизирующая упаковку и предназначенная для вскрытия с целью получения доступа к продукту;

6 – место присоединения (например, посредством приклеивания или приваривания) дополнительного покрытия упаковки к пленке либо к другому элементу упаковки, предназначенному для вскрытия с целью получения доступа к продукту;

7 – дополнительное покрытие упаковки, выполненное из пластически деформируемого материала, в качестве которого может быть использована фольга, многослойная композиция из фольги и полимеров, иной композиционный материал;

8 – ролик, свободно сидящий на оси (имеющий возможность свободно вращаться вокруг последней);

9 – уширение оси;

10 – штырь, развальцованный при сборке приспособления для упрощения вскрытия упаковки;

11 – элемент конструкции, предназначенный для поглощения влаги;

12 – продукт;

13 – выемка в поддоне для поглотителя влаги;

14 – поддон с поверхностью для присоединения к нему пленки в процессе герметизации упаковки;

15 – место герметизации или закрытия упаковки;

16 – защитные ребра дополнительного покрытия;

17 – желоб для углубления в него режущего инструмента при вскрытии упаковки;

18 – вставка с повышенной относительно поддона твердостью (может быть выполнена кольцевой);

19 – мембрана-клапан;

20 – зажим;

21 – пакет.

Сведения о возможности реализации изобретений

Устройство содержит выполненную из листового пластически деформируемого материала толщиной, лежащей в пределах от 2,5 мкм до 1 мм, наружную составную часть 7 (фиг.1, 2 и 3), которая, в свою очередь, включает две области, площадью внешних поверхностей более 10 мм2 каждая, первая из которых (поз.6 на фиг.1, 2 и 3) предназначена для неразъемного соединения с упомянутым элементом, а вторая – для повторного закрытия продукта 12 (фиг.1, 2 и 3) с использованием упомянутой деформации после упомянутого вскрытия.

Также устройство может включать поддон 14 (фиг.1 и 2) для размещения продукта. При этом элемент может представлять собой пленку 5 (фиг.1 и 2), выполненную с возможностью приварки или приклейки к сопрягаемым поверхностям поддона.

Элемент может представлять собой пакет 21 (фиг.3) для размещения продукта, выполненный с возможностью сварки или склейки стенок либо с возможностью их обжима зажимом 20 (фиг.3).

Составная часть может быть выполнена из материала, включающего металл, или из композиционного материала.

В качестве основного материала составной части может выступать алюминий или алюминий в комбинации с полимерными материалами.

Составная часть может быть выполнена из многослойного материала.

Как минимум, один из слоев упомянутого многослойного материала может включать металл.

Площадь внешних поверхностей составной части может не превышать таковую самой упаковки.

Составная часть может крепиться к элементу в области, предназначенной для частичного или полного накрытия или окружения продукта. В этом случае составная часть может крепиться к элементу по периметру области 15 (фиг.2), предназначенной для обеспечения герметизации или закрытия продукта, непрерывно или местами;

– место крепления составной части к элементу может отступать от области 15 (фиг.3), предназначенной для обеспечения герметизации или закрытия продукта, как минимум, на 0,2 мм.

Составная часть может крепиться к элементу и в области, предназначенной для обеспечения герметизации или закрытия продукта. В этом случае составная часть может крепиться к элементу непрерывно или местами по всей области, предназначенной для обеспечения герметизации или закрытия продукта.

Составная часть может присоединяться к элементу методом термосварки или приклеивания.

Составная часть может включать окно 4 (фиг.1 и 2), располагаемое над областью, предназначенной для частичного или полного накрытия или окружения продукта.

Окно может содержать ребра жесткости 16 (фиг.2).

Устройство может включать желоб 17 (фиг.2), глубина которого должна превосходить 0,2 мм. При этом желоб должен располагаться вдоль, как минимум, части области, предназначенной для обеспечения герметизации или закрытия продукта, либо вдоль всей такой области.

Устройство может включать вставку 18 (фиг.2) с повышенной твердостью, расположенную под желобом.

Устройство дополнительно может содержать, как минимум, одну полость 13 (фиг.1) для размещения в ней влагонакопителя 11 (фиг.1 и 2), и такая полость должна быть выполнена протяженной в одном направлении с шириной, меньшей минимального размера продукта либо минимального размера свободно отделяемой части продукта.

Устройство может включать газостравливающую мембрану-клапан 19 (фиг.2).

Устройство может включать приспособление для облегчения вскрытия упаковки.

Упомянутое приспособление может представлять собой штырь 10 (фиг.1) или фрагмент струны, проходящие сквозь вторую область элемента. Также это приспособление может включать петлю 1 (фиг.1) для выдергивания штыря и прорезания с его помощью пленки, герметизирующей упаковку. Штырь может крепиться с использованием развальцованной с обоих торцов оси 2 (фиг.1), имеющей в центральной части уширение 9 (фиг.1) с отверстием под штырь, и выполненного из пластичного материала герметизирующего колпака 3 (фиг.1), плотно, например, по прессовой посадке, сидящего на штыре, а также ролика 8 (фиг.1), свободно сидящего на оси (имеющего возможность свободно вращаться вокруг последней).

Внутренний объем упаковки, определяющий максимальный объем размещаемого в ней продукта, может быть меньше 5 л.

Масса упаковки может не превышать 200 г.

Использование заявляемого устройства просто.

Пользователь вскрывает пленку, герметизирующую упаковку, либо, удалив зажим, раскрывает пакет. Использовав часть продукта, содержащегося в упаковке, пользователь может вновь закрыть упаковку посредством упомянутой наружной составной части, либо загибая ее за край упаковки, либо просто сминая ее фрагменты.

Следует отметить, что взаимное расположение областей элемента и составной части может быть различным.

Так, например, (фиг.3) сначала может располагаться область, предназначенная для обеспечения герметизации или закрытия продукта, затем область, предназначенная для неразъемного соединения с элементом, и далее область, предназначенная для повторного закрытия продукта.

В этом случае после первичного вскрытия упаковки перед ее закрытием фрагменты составной части сначала выворачивают в сторону места, в котором было осуществлено вскрытие, а затем, например, сминают их.

В ином исполнении область, предназначенная для обеспечения герметизации или закрытия продукта, может быть накрыта областью, предназначенной для повторного закрытия последнего, тогда как область, предназначенная для неразъемного соединения с элементом, может располагаться на расстоянии порядка 5 мм от границ области, упомянутой первой.

В этом случае перед вскрытием сначала потребуется, развернув фрагменты составной части, открыть область, упомянутую первой, и осуществить вскрытие, а затем при закрытии упомянутые фрагменты вновь завернуть.

Связь отличительных признаков с техническим результатом представлена в следующей таблице.

Технический результат Отличительные признаки (номера пп. Формулы изобретения)
1) 1, 4-7
2) 1, 2, 4-7, 22-25
3) 1, 3-7
4) 1-7, 20
5) 1
6) 1
7) 1, 21, 24, 25
8) 1, 2, 4-19

Формула изобретения

1. Устройство упаковки продукта, содержащее упакованный продукт и тару с подлежащим вскрытию для получения первичного доступа к последнему функциональным элементом, включающим две области, первая из которых предназначена для частичного или полного накрытия или окружения продукта, а вторая – для обеспечения герметизации или закрытия последнего, служащая для быстрой подготовки к промежуточному хранению в процессе расходования содержимого, дополнительно содержит выполненную из листового пластически деформируемого материала толщиной, лежащей в пределах от 2,5 мкм до 1 мм, наружную составную часть, которая, в свою очередь, также включает две области, площадью внешних поверхностей более 10 мм2 каждая, первая из которых предназначена для неразъемного соединения с упомянутым элементом, а вторая – для повторного закрытия продукта с использованием упомянутой деформации после упомянутого вскрытия.

2. Устройство по п.1, отличающееся тем, что оно содержит поддон для размещения продукта, а элемент представляет собой пленку, выполненную с возможностью приварки или приклейки к сопрягаемым поверхностям поддона.

3. Устройство по п.1, отличающееся тем, что элемент представляет собой пакет, выполненный с возможностью сварки или склейки стенок либо с возможностью их обжима зажимом.

4. Устройство по п.1, отличающееся тем, что составная часть выполнена из материала, включающего металл, или из композиционного материала.

5. Устройство по п.4, отличающееся тем, что в качестве основного материала составной части выступает алюминий или алюминий в комбинации с полимерными материалами.

6. Устройство по п.1, отличающееся тем, что составная часть выполнена из многослойного материала.

7. Устройство по п.6, отличающееся тем, что как минимум один из слоев упомянутого многослойного материала включает металл.

8. Устройство по п.1, отличающееся тем, что площадь внешних поверхностей составной части не превышает таковую самой упаковки.

9. Устройство по п.1, отличающееся тем, что составная часть крепится к элементу в области, предназначенной для частичного или полного накрытия или окружения продукта.

10. Устройство по п.9, отличающееся тем, что составная часть крепится к элементу по периметру области, предназначенной для обеспечения герметизации или закрытия продукта, непрерывно или местами.

11. Устройство по п.9, отличающееся тем, что место крепления составной части к элементу отступает от области, предназначенной для обеспечения герметизации или закрытия продукта, как минимум на 0,2 мм.

12. Устройство по п.1, отличающееся тем, что составная часть крепится к элементу в области, предназначенной для обеспечения герметизации или закрытия продукта.

13. Устройство по п.12, отличающееся тем, что составная часть крепится к элементу непрерывно или местами по всей области, предназначенной для обеспечения герметизации или закрытия продукта.

14. Устройство по п.1, отличающееся тем, что составная часть присоединяется к элементу методом термосварки или приклеивания.

15. Устройство по п.1, отличающееся тем, что составная часть включает окно, располагаемое над областью, предназначенной для частичного или полного накрытия или окружения продукта.

16. Устройство по п.15, отличающееся тем, что окно содержит ребра жесткости.

17. Устройство по п.1, отличающееся тем, что оно включает желоб, глубина которого превосходит 0,2 мм.

18. Устройство по п.17, отличающееся тем, что желоб расположен вдоль как минимум части области, предназначенной для обеспечения герметизации или закрытия продукта, либо вдоль всей такой области.

19. Устройство по п.17, отличающееся тем, что оно включает вставку с повышенной твердостью, расположенную под желобом.

20. Устройство по п.1, отличающееся тем, что оно дополнительно содержит как минимум одну полость для размещения в ней влагонакопителя и такая полость выполнена протяженной в одном направлении с шириной, меньшей минимального размера продукта либо минимального размера свободно отделяемой части продукта.

21. Устройство по п.1, отличающееся тем, что оно включает газостравливающую мембрану-клапан.

22. Устройство по п.1, отличающееся тем, что имеет в своем составе приспособление для облегчения вскрытия упаковки.

23. Устройство по п.22, отличающееся тем, что упомянутое приспособление представляет собой штырь или фрагмент струны, проходящие сквозь вторую область элемента.

24. Устройство по п.1, отличающееся тем, что внутренний объем упаковки, определяющий максимальный объем, размещаемого в ней продукта, меньше 5 л.

25. Устройство по п.1, отличающееся тем, что масса упаковки не превышает 200 г.

РИСУНКИ

Categories: BD_2386000-2386999