Патент на изобретение №2386572

Published by on




РОССИЙСКАЯ ФЕДЕРАЦИЯ



ФЕДЕРАЛЬНАЯ СЛУЖБА
ПО ИНТЕЛЛЕКТУАЛЬНОЙ СОБСТВЕННОСТИ,
ПАТЕНТАМ И ТОВАРНЫМ ЗНАКАМ
(19) RU (11) 2386572 (13) C1
(51) МПК

B64G1/50 (2006.01)

(12) ОПИСАНИЕ ИЗОБРЕТЕНИЯ К ПАТЕНТУ

Статус: по данным на 28.09.2010 – действует

(21), (22) Заявка: 2008145256/11, 17.11.2008

(24) Дата начала отсчета срока действия патента:

17.11.2008

(46) Опубликовано: 20.04.2010

(56) Список документов, цитированных в отчете о
поиске:
RU 2209750 С2, 10,08.2003. RU 2151722 С1, 27.06.2000. RU 96104884 A, 27.06.1998. FR 2128656 A, 20.10.1972.

Адрес для переписки:

662972, Красноярский край, г. Железногорск, ЗАТО Железногорск, ул. Ленина, 52, ОАО “ИСС”, Р.П. Туркеничу

(72) Автор(ы):

Халиманович Владимир Иванович (RU),
Акчурин Владимир Петрович (RU),
Алексеев Николай Григорьевич (RU),
Воловиков Виталий Гавриилович (RU),
Доставалов Александр Валентинович (RU),
Загар Олег Вячеславович (RU),
Колесников Анатолий Петрович (RU),
Сергеев Юрий Дмитриевич (RU),
Шилкин Олег Валентинович (RU)

(73) Патентообладатель(и):

Открытое акционерное общество “Информационные спутниковые системы” имени академика М.Ф. Решетнева” (RU)

(54) СИСТЕМА ТЕРМОРЕГУЛИРОВАНИЯ КОСМИЧЕСКОГО АППАРАТА

(57) Реферат:

Изобретение относится к космической технике и может быть использовано при разработке систем терморегулирования (СТР) систем телекоммуникационных спутников. СТР содержит два независимых, одинаковых по составу бортовых циркуляционных тракта с теплоносителем, размещенных рядом друг с другом в сотовых панелях. Каждый из трактов имеет входной и выходной гидроразъемы, соединенные с соответствующими гидроразъемами съемного блока системы. Последний также имеет два одинаковых жидкостных тракта, каждый из которых включает в себя первый и второй теплообменники. Первые жидкостные полости теплообменников соединены последовательно, а вторые полости сообщены с циркуляционным трактом хладоносителя наземной системы обеспечения теплового режима по противоточной схеме циркуляции теплоносителя и хладоносителя в полостях теплообменников. Выход этой наземной системы сообщен с входом второй полости второго теплообменника первого тракта съемного блока, выполненного в виде единой конструкции. Выход второй полости указанного теплообменника сообщен с входом второй полости второго теплообменника второго тракта блока. Выход этой последней соединен с входом второй полости первого теплообменника, расположенного в этом же тракте блока, выход которого сообщен с входом второй полости первого теплообменника первого тракта блока. Выход указанной второй полости соединен с входом наземной системы обеспечения теплового режима. Технический результат изобретения состоит в упрощении конструкции съемного блока СТР, наземных испытательных средств и процедуры испытаний космического аппарата. 3 ил.

Изобретение относится к космической технике, в частности к системам обеспечения теплового режима телекоммуникационных спутников, и создано авторами в порядке выполнения служебного задания.

Известны системы терморегулирования (СТР) космических аппаратов (КА) по патентам Российской Федерации 2151722 [1], 2209750 [2], которые содержат бортовую часть СТР (функционирующую как при наземных испытаниях, так и при работе на орбите) и соединенную с бортовой частью через гидроразъемы наземную (съемную) часть СТР, т.е. блок съемного оборудования СТР, включающий в себя теплообменники, используемый в составе СТР только при наземных испытаниях, в т.ч. при испытаниях КА в термобарокамере; вышеуказанные теплообменники при наземных испытаниях соединены с наземной системой обеспечения теплового режима (представляет собой достаточно сложную и дорогостоящую конструкцию).

В настоящее время с целью обеспечения высоконадежного функционирования вновь создаваемого нашим предприятием КА с длительным (15 и более лет) сроком эксплуатации его СТР выполнена из двух независимых и одинаковых по составу параллельно встроенных в сотовые панели трактов теплоносителя (см. фиг.1). Для такого КА при его наземных испытаниях, в т.ч. при термовакуумных испытаниях, проводимых в термобарокамере, необходимо подтвердить обеспечение требуемых рабочих температур приборов КА, установленных на сотовых панелях, при циркуляции теплоносителя с требуемым расходом и температурой теплоносителя на выходе из блоков съемного оборудования (на входе в бортовую часть СТР) как при работе каждого отдельного циркуляционного тракта СТР, так и при одновременной работе двух указанных трактов СТР.

Следовательно, согласно известным техническим решениям к бортовой части СТР, содержащей два независимых тракта теплоносителя, должно быть присоединено два одинаковых (с одинаковыми гидравлическими сопротивлениями трактов и одинаковыми теплообменниками) блока съемного оборудования СТР, которые, в свою очередь, должны быть соединены с достаточно сложными (и дорогостоящими) двумя независимыми наземными системами обеспечения теплового режима; кроме того, из-за использования двух указанных систем необходимо предусмотреть, в частности, дополнительную систему гермоввода в термобарокамеру, усложняющую ее конструкцию; также при этом усложняется процедура проведения наземных испытаний из-за наличия двух наземных систем обеспечения теплового режима – и все это приводит к существенным дополнительным материальным и трудовым затратам.

Анализ источников информации по патентной и научно-технической литературе показал, что наиболее близким по технической сути прототипом предлагаемого технического решения является система терморегулирования космического аппарата по патенту Российской Федерации 2209750 [2].

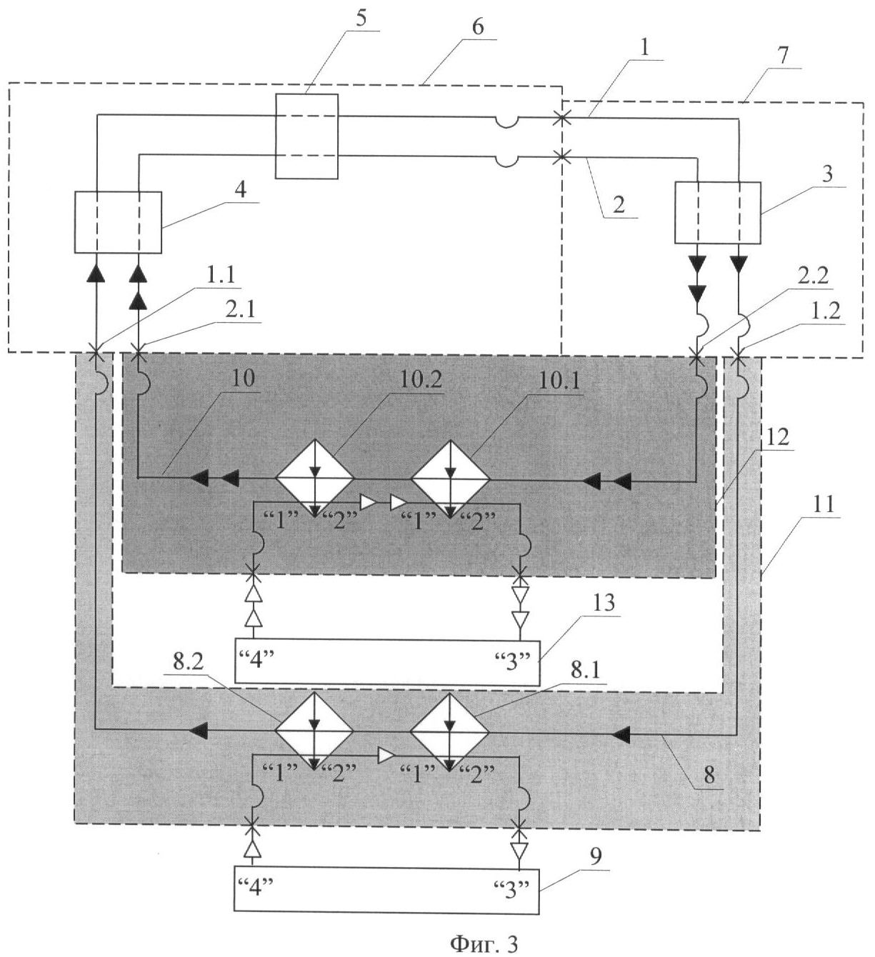
Известная согласно [2] СТР КА (см. фиг.3), выполненного из двух модулей: модуля полезной нагрузки (МПН) 7 и модуля служебных систем (МСС) 6, включает в себя: бортовые циркуляционные тракты теплоносителя 1 и 2, встроенные в сотовые панели 3, 4, 5; выходные 1.2 и 2.2 и входные 1.1 и 2.1 гидроразъемы бортовой части СТР; съемные блоки 11 и 12, подключенные своими входными и выходными гидроразъемами к выходным 1.2 и 2.2 и входным 1.1 и 2.1 гидроразъемам бортовой части СТР; поз.9 и 13 – наземные системы обеспечения теплового режима.

Как показано выше, существенные недостатки известного технического решения следующие: если по нему выполнять СТР КА, содержащую два независимых параллельных тракта теплоносителя, то существенно усложняется как наземная съемная часть СТР (потребуется два раздельных съемных блока), так и усложняется остальное наземное испытательное оборудование, используемое при наземных испытаниях КА (потребуются две наземные системы обеспечения теплового режима и необходима доработка термобарокамеры из-за этого), а также усложняется процедура проведения испытаний (приходится работать с двумя наземными системами обеспечения теплового режима) – все это потребует немалых дополнительных материальных и трудовых затрат.

Целью предлагаемого авторами технического решения является устранение вышеперечисленных существенных недостатков.

Поставленная цель достигается выполнением системы терморегулирования космического аппарата (содержащей два независимых одинаковых по составу и размещенных рядом друг с другом в сотовых панелях бортовых циркуляционных тракта с теплоносителем, каждый из которых имеет входной и выходной гидроразъемы, соединенные с соответствующими гидроразъемами съемного блока системы, имеющего два одинаковых жидкостных тракта, каждый из которых включает в себя первый и второй теплообменники по направлению циркуляции теплоносителя, первые жидкостные полости которых соединены последовательно, а вторые полости теплообменников, каждая из которых имеет один вход и один выход, сообщены с циркуляционным трактом с холодоносителем наземной системы обеспечения теплового режима, имеющей один вход и один выход, по противоточной схеме циркуляции теплоносителя и холодоносителя в полостях теплообменников) таким образом, что выход наземной системы обеспечения теплового режима сообщен с входом второй полости второго теплообменника первого тракта съемного блока, выполненного в виде единой конструкции, при этом выход второй полости вышеуказанного теплообменника сообщен с входом второй полости второго теплообменника второго тракта блока, а ее выход соединен с входом второй полости первого теплообменника, расположенного в этом же тракте блока, выход которого сообщен с входом второй полости первого теплообменника первого тракта блока, а выход ее соединен с входом наземной системы обеспечения теплового режима, что и является, по мнению авторов, существенными отличительными признаками предлагаемого авторами технического решения.

В результате анализа, проведенного авторами известной патентной и научно-технической литературы, предложенное сочетание существенных отличительных признаков заявляемого технического решения в известных источниках информации не обнаружено и, следовательно, известные технические решения не проявляют тех же свойств, что в заявляемой системе терморегулирования.

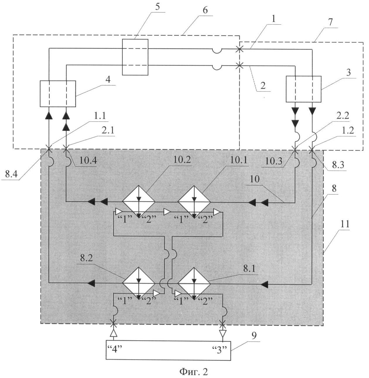
Предлагаемая СТР КА, выполненного из двух модулей: МПН 7 и МСС 6 (см. фиг.1, где изображена принципиальная схема СТР в условиях эксплуатации на орбите, и фиг.2, где изображена принципиальная схема СТР при испытаниях КА в наземных условиях), включает в себя:

1) первый бортовой циркуляционный тракт теплоносителя 1, встроенный в сотовые панели 3, 4, 5; выходной и входной гидроразъемы бортовой части СТР 1.2 и 1.1; съемный блок 11, выполненный как единое конструктивное целое, подключенный своими первыми выходным 8.4 и входным 8.3 гидроразъемами к входному 1.1 и выходному 1.2 гидроразъемам бортовой части СТР соответственно; поз.8 и 10 – первый и второй тракты съемного блока 11;

2) выходной и входной гидроразъемы 2.2 и 2.1 другого (второго) циркуляционного тракта 2, также встроенного в сотовые панели 3, 4, 5 рядом с трактом 1, соединены со вторыми входным 10.3 и выходным 10.4 гидроразъемами блока 11 соответственно;

3) выход “4” наземной системы обеспечения теплового режима 9 сообщен с входом “1” второй полости второго теплообменника 8.2 первого тракта 8 съемного блока 11, выполненного в виде единой конструкции; при этом выход “2” второй полости вышеуказанного теплообменника 8.2 сообщен с входом “1” второй полости второго теплообменника 10.2 второго тракта 10 блока 11, а ее выход “2” соединен с входом “1” второй полости первого теплообменника 10.1, расположенного в этом же тракте 10 блока 11, выход “2” которого сообщен с входом “1” второй полости первого теплообменника 8.1 первого тракта 8 блока 11, а выход “2” ее соединен с входом “3” наземной системы обеспечения теплового режима 9. В результате теплового и гидравлического анализа работы комплекса: СТР КА, содержащей два независимых бортовых циркуляционных тракта 1 и 2, плюс присоединенного к СТР съемного блока 11 СТР, выполненного в виде конструктивного единого целого с унифицированными (одинаковыми) теплообменниками 8.1, 8.2, 10.1, 10.2, плюс одной наземной системы обеспечения теплового режима 9, а также в результате анализа опытных данных по теплообменникам авторами установлено, что только вышеуказанная последовательность соединений полостей холодоносителя теплообменников, установленных по два в каждом жидкостном тракте 8 и 10 съемного блока 11, между собой и с наземной системой обеспечения теплового режима 9 обеспечивает отвод требуемой (определенной) величины избыточного тепла, выделяющегося при работе приборов КА в процессе наземных испытаний, в наземную систему обеспечения теплового режима и поддержание требуемой температуры теплоносителя при этом на входе в бортовые циркуляционные тракты, как при работе бортовых циркуляционных трактов по отдельности, так и при их совместной работе;

4) следует отметить, что, как показал анализ, данное техническое решение может использоваться как в СТР с жидким теплоносителем, так и с двухфазным теплоносителем.

Работа СТР при наземных испытаниях КА, в частности, при термовакуумных испытаниях в термобарокамере, происходит следующим образом. КА установлен в термобарокамере, где имитируются окружающие КА условия космического пространства.

СТР имеет конфигурацию, предназначенную для наземных испытаний: к бортовой части СТР подключен съемный блок СТР 11, а к нему подключена наземная система обеспечения теплового режима 9 (тракты заправлены теплоносителем).

Включают в работу тракт 1 СТР (тракт 2 СТР не работает, т.е. не производится циркуляция теплоносителя по ее тракту), затем – систему обеспечения теплового режима 9. Включают в работу приборы КА.

Определенное избыточное тепло, выделяющееся при работе приборов, отводится циркулирующим теплоносителем тракта 1 и передается в теплообменниках 8.1 и 8.2 съемного блока 11 наземной системе обеспечения теплового режима 9.

Контролируют расход и температуру теплоносителя на входе в тракт 1 и температуры приборов – они должны находиться в требуемых рабочих диапазонах.

Таким образом подтверждается работоспособность СТР при работе только тракта 1.

Затем повторяют вышеуказанные испытания при работе тракта 2 при неработающем тракте 1 и при работе одновременно обоих трактов 1 и 2 и подтверждают работоспособность – отвод определенного количества тепла при работе только тракта 2 и при одновременной работе обоих трактов.

Как видно из вышеизложенного, в результате выполнения СТР КА согласно предложенному авторами техническому решению обеспечивается упрощение конструкции съемного блока СТР и наземных испытательных средств и процедуры наземных испытаний КА, повышающее экономическую эффективность при создании КА, т.е. тем самым достигаются цели изобретения.

В настоящее время предложенное авторами техническое решение отражено в технической документации на вновь разрабатываемый телекоммуникационный спутник.

Формула изобретения

Система терморегулирования космического аппарата, содержащая два независимых, одинаковых по составу и размещенных рядом друг с другом в сотовых панелях бортовых циркуляционных тракта с теплоносителем, каждый из которых имеет входной и выходной гидроразъемы, соединенные с соответствующими гидроразъемами съемного блока системы, имеющего два одинаковых жидкостных тракта, каждый из которых включает в себя первый и второй теплообменники по направлению циркуляции теплоносителя, первые жидкостные полости которых соединены последовательно, а вторые полости теплообменников, каждая из которых имеет один вход и один выход, сообщены с циркуляционным трактом с холодоносителем наземной системы обеспечения теплового режима, имеющей один вход и один выход, по противоточной схеме циркуляции теплоносителя и холодоносителя в полостях теплообменников, отличающаяся тем, что выход наземной системы обеспечения теплового режима сообщен с входом второй полости второго теплообменника первого тракта съемного блока, выполненного в виде единой конструкции, при этом выход второй полости вышеуказанного теплообменника сообщен с входом второй полости второго теплообменника второго тракта блока, а ее выход соединен с входом второй полости первого теплообменника, расположенного в этом же, втором, тракте блока, выход которого сообщен с входом второй полости первого теплообменника первого тракта блока, а выход ее соединен с входом наземной системы обеспечения теплового режима.

РИСУНКИ

Categories: BD_2386000-2386999