|
|
(21), (22) Заявка: 2008124857/11, 17.06.2008
(24) Дата начала отсчета срока действия патента:
17.06.2008
(43) Дата публикации заявки: 27.12.2009
(46) Опубликовано: 20.04.2010
(56) Список документов, цитированных в отчете о поиске:
RU 2243116 C1, 27.12.2004. RU 2090404 C1, 20.09.1997. JP 2008265569 A, 06.11.2008.
Адрес для переписки:
622007, Свердловская обл., г. Нижний Тагил, Восточное ш., 28, ОАО “НПК “Уралвагонзавод”, руководителю патентной службы, А.Б. Левину
|
(72) Автор(ы):
Парахин Владимир Иванович (RU), Любимов Юрий Андреевич (RU), Бамбулевич Валентин Брониславович (RU), Шишков Вениамин Алексеевич (RU), Парахин Сергей Владимирович (RU), Парахин Евгений Владимирович (RU), Тыкало Анна Семеновна (RU)
(73) Патентообладатель(и):
Открытое акционерное общество “Научно-производственная корпорация “Уралвагонзавод” имени Ф.Э. Дзержинского” (RU)
|
(54) ГАСИТЕЛЬ КОЛЕБАНИЙ ТЕЛЕЖКИ ЖЕЛЕЗНОДОРОЖНОГО ТРАНСПОРТНОГО СРЕДСТВА
(57) Реферат:
Изобретение относится к железнодорожному транспорту. Гаситель колебаний тележки железнодорожного транспортного средства содержит пружины рессорного подвешивания, поддерживающие надрессорную балку, фрикционные планки, а также установленные между пружинами рессорного подвешивания симметрично относительно вертикальной оси гасителя колебаний упругие элементы, представляющие собой изогнутые пластины, фрикционно взаимодействующие с надрессорной балкой и боковой рамой тележки и содержащие последовательно расположенные опорные части и загнутые концы с отверстиями для установки фрикционных планок. Свободные концы опорных частей изогнутых пластин зафиксированы в упорах, расположенных на основании боковой рамы, а на загнутых концах пластин выполнены просечки по всей их длине, включая радиус загиба, с образованием веерообразного расхождения краев загнутых концов. Достигается упрощение конструкции, улучшение плавности гашения боковых нагрузок. 5 ил.
Изобретение относится к железнодорожному транспорту и касается конструкции центрального рессорного подвешивания тележки грузового вагона, а именно гасителя колебаний.
Известен гаситель колебаний тележки железнодорожного транспортного средства (п. 2299824, опубл. 27.05.2007 г., б. 15), содержащий пружины рессорного подвешивания, поддерживающие надрессорную балку, фрикционные планки, упругий элемент, установленный между пружинами рессорного подвешивания и представляющий собой изогнутую пластину, фрикционно взаимодействующую с надрессорной балкой и боковой рамой тележки, причем изогнутая пластина состоит из -образного основания, продолжением которого являются симметричные относительно вертикальной оси и расположенные последовательно опорные части и загнутые концы с отверстиями для установки фрикционных планок. Это устройство наиболее близко к предлагаемому и выбрано в качестве прототипа.
К недостаткам известного устройства относятся:
– значительный вес упругой пластины из-за монолитности ее конструкции и громоздкости -образного основания, что делает сборку более трудоемкой;
– недостаточная плавность гашения боковых нагрузок.
От этих недостатков свободен предлагаемый гаситель колебаний тележки железнодорожного транспортного средства. Предлагаемым изобретением решается задача: упрощения конструкции, облегчения ее сборки, улучшения плавности гашения боковых нагрузок. При этом достигается следующий технический результат: создание простого упругого элемента и его надежное крепление в устройстве.
Для достижения указанного технического результата в гасителе колебаний тележки железнодорожного транспортного средства, содержащем пружины рессорного подвешивания, поддерживающие надрессорную балку, фрикционные планки, а также установленные между пружинами рессорного подвешивания симметрично относительно вертикальной оси гасителя колебаний упругие элементы, представляющие собой изогнутые пластины, фрикционно взаимодействующие с надрессорной балкой и боковой рамой тележки и содержащие последовательно расположенные опорные части и загнутые концы с отверстиями для установки фрикционных планок, свободные концы опорных частей обеих изогнутых пластин зафиксированы в упорах, расположенных на основании проема боковой рамы, а на загнутых концах по всей их длине, включая радиус загиба, выполнены просечки с образованием веерообразного расхождения краев загнутых концов пластин.
Признаки, отличающие предлагаемое изобретение от прототипа: свободные концы опорных частей обеих изогнутых пластин зафиксированы в упорах, расположенных на основании проема боковой рамы, а на загнутых концах по всей их длине, включая радиус загиба, выполнены просечки с образованием веерообразного расхождения краев загнутых концов пластин.
Эти признаки обусловили упрощение конструкции и снижение ее веса, т.к. по сравнению с прототипом изогнутая упругая пластина стала короче и проще в изготовлении, снизилась трудоемкость сборки. Конструкция гасителя колебаний стала более надежна в эксплуатации, т.к. свободные концы опорных частей пластин надежно зафиксированы в упорах, установленных на основании проема боковой рамы, а благодаря слабому веерообразному расхождению краев загнутых концов влево вправо, в результате просечек, загнутые концы пластины с краев становятся шире и выступают за боковые стороны опорных частей пластины и надежно прижимаются к месту их установки. Такое крепление исключает смещение изогнутых пластин. Кроме надежности в работе эта конструкция обеспечивает и более плавное гашение боковых нагрузок, т.к. они распределяются и угасают постепенно (плавная амортизация). Благодаря упругости пластин и просечкам, выполненным на загнутых концах с охватом радиуса загиба, обеспечивается плавность хода.
Совокупность существенных признаков предлагаемого изобретения неизвестна из уровня техники – значит изобретение соответствует критерию – «новизна», а также явным образом не следует из уровня техники для специалиста, значит обеспечено соответствие критерию патентоспособности – «изобретательский уровень».
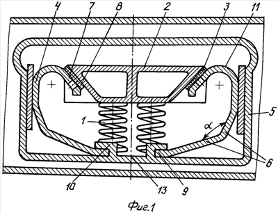
Предлагаемое устройство представлено на чертежах, где на фиг.1 изображен гаситель колебаний в сборе, общий вид в разрезе по продольной оси боковой рамы, на фиг.2 – то же, но с другим вариантом изгиба упругой пластины, на фиг.3 – упругая изогнутая пластина (основной вид и вид сбоку в сечении), на фиг.4 – то же, но другой вариант изгиба пластины, на фиг.5 – основание проема боковой рамы с «вырывом» надрессорной балки по торцам по наклонным площадкам.
Гаситель колебаний тележки железнодорожного транспортного средства содержит две пары витых пружин 1 рессорного подвешивания, поддерживающие надрессорную балку 2, фрикционные планки 3, два упругих элемента – пластины 4, установленных симметрично друг другу относительно вертикальной оси и фрикционно взаимодействующих с надрессорной балкой 2 и боковой рамой 5 тележки. Упругие элементы пластины 4 содержат опорные части 6 и загнутые концы 7 с отверстиями 8 для установки фрикционных планок 3. Свободные концы 9 опорных частей 6 зафиксированы в упорах 10, расположенных на основании проема 13 боковой рамы 5. На загнутых концах 7 пластин 4 по всей их длине, включая радиус загиба 11, выполнены продольные просечки 12, в результате чего получилось веерообразное расхождение краев загнутых концов 7 (фиг.3, 4, 5) с выступанием их за боковые стороны опорных частей 6 (т.е. относительно размера А, фиг.3 и 4) пластины 4. Просечек 12 может быть, по меньшей мере, одна, а может быть и больше (на фиг.3, 4, 5 выполнено по 2 просечки на каждой пластине).
Изгибы упругих элементов универсальны, они могут иметь разные варианты (указаны 2 варианта – фиг.1, 2, 3, 4). В зависимости от требуемой плавности хода транспортного средства угол изгиба может быть либо тупым (фиг.1, 3), либо острым (фиг.2, 4), в связи с чем загнутые концы 7 пластины 4 выгнуты соответственно вовнутрь или наружу.
При работе расширенные (из-за веерообразного расхождения) загнутые концы 7 упругой пластины 4 упираются в место установки (в надрессорную балку 2 или боковую раму 5). А при возникновении боковых нагрузок (указаны стрелкой на фиг.5) надрессорная балка 2 давит на загнутые концы 7 упругих пластин 4, веерообразные края которых расширяются. При снятии нагрузок расходящиеся концы 7 плавно возвращаются в исходное положение. Создается плавное гашение боковых нагрузок. Кроме того, улучшились амортизационные возможности и качество амортизации, улучшилась динамика системы вагон-путь и сама конструкция гасителя, снижен вес, увеличился срок эксплуатации подвижного железнодорожного состава и пути, что экономически выгодно.
Предлагаемое изобретение собрано в железнодорожном цехе завода и испытано, показав хорошие технико-эксплуатационные качества и промышленную применимость.
Формула изобретения
Гаситель колебаний тележки железнодорожного транспортного средства, содержащий пружины рессорного подвешивания, поддерживающие надрессорную балку, фрикционные планки, а также установленные между пружинами рессорного подвешивания симметрично относительно вертикальной оси гасителя колебаний упругие элементы, представляющие собой изогнутые пластины, фрикционно взаимодействующие с надрессорной балкой и боковой рамой тележки, содержащие последовательно расположенные опорные части и загнутые концы с отверстиями для установки фрикционных планок, отличающийся тем, что свободные концы опорных частей обеих изогнутых пластин зафиксированы в упорах, расположенных на основании проема боковой рамы, а на загнутых концах по всей их длине, включая радиус загиба, выполнены просечки с образованием веерообразного расхождения краев загнутых концов пластин.
РИСУНКИ
|
|