|
|
(21), (22) Заявка: 2008148398/03, 08.12.2008
(24) Дата начала отсчета срока действия патента:
08.12.2008
(46) Опубликовано: 20.04.2010
(56) Список документов, цитированных в отчете о поиске:
RU 2317155 C1, 20.02.2008. SU 1080879 A, 23.03.1984. SU 1651998 A1, 30.05.1991. SU 1518017 A1, 30.10.1989. RU 2193459 A, 27.11.2002. RU 2255817 C1, 10.07.2005. RU 2171720 C2, 10.08.2001. GB 454815 A, 08.10.1936.
Адрес для переписки:
656038, Алтайский край, г.Барнаул, пр. Ленина, 46, АлтГТУ, ОИПС
|
(72) Автор(ы):
Злочевский Валерий Львович (RU)
(73) Патентообладатель(и):
Государственное образовательное учреждение высшего профессионального образования “Алтайский государственный технический университет им. И.И. Ползунова” (АлтГТУ) (RU), Злочевский Валерий Львович (RU)
|
(54) СПОСОБ ПНЕВМОИНЕРЦИОННОГО ОТДЕЛЕНИЯ ПРОДУКТОВ РАЗМОЛА И ПЫЛИ
(57) Реферат:
Изобретение относится к отделению продуктов размола и очистки воздуха в процессе пневмотранспортирования и может найти применение в зерноперерабатывающей промышленности и агропромышленном комплексе, а также на всех предприятиях, связанных с пылеочисткой. Способ пневмоинерционного отделения продуктов размола и пыли включает ввод аэросмеси в корпус при закрутке в конфузорном пространстве с образованием во внутренней полости корпуса вращающихся объемов аэросмеси и транспортирование аэросмеси при закрутке внутрь конической части корпуса посредством системы соосно расположенных с корпусом усеченных конусов, образующих кольцевые полости, вывод крупных и тяжелых фракций, а также более легких фракций через кольцевые полости. Аэросмесь вводят в корпус при закрутке в конфузорном пространстве верхнего улиточного тангенциального завихрителя и транспортируют внутрь конической части корпуса через сообщенное с верхним усеченным конусом выходное отверстие завихрителя в соосную с последним систему усеченных конусов, постоянно вращая, прижимая крупные и тяжелые фракции к стенкам усеченных конусов и направляя их вниз к выводному устройству корпуса, а также захватывая образовавшимся воздушным вихрем более легкие частицы, направляя их в зависимости от дисперсности вниз по оси корпуса к выводному устройству или через кольцевые полости усеченных конусов в процессе распада воздушного вихря в кольцевое пространство между усеченными конусами и охватывающей их конической частью корпуса и далее – в конфузорное пространство нижнего улиточного тангенциального завихрителя, расположенного соосно с верхним завихрителем, для интенсивного вращения и прижатия этих частиц к стенкам конической части корпуса и их направления вниз к выводному устройству, при этом очищенный воздух выводят через нижний улиточный тангенциальный завихритель. Технический результат – повышение эффективности отделения продуктов размола от пыли. 1 ил.
Изобретение относится к отделению продуктов размола и очистки воздуха в процессе пневмотранспортирования и может найти применение в зерноперерабатывающей промышленности и агропромышленном комплексе, а также на всех предприятиях, связанных с пылеочисткой.
Известен способ улавливания пыли и отделения продуктов размола, включающий ввод аэросмеси во вращающийся корпус циклона при закрутке в конфузорном пространстве улиточного тангенциального завихрителя с образованием во внутренней полости корпуса вихревых объемов аэросмеси, транспортирование аэросмеси сверху вниз внутрь нижней конической части корпуса и вывод из него осажденного продукта. Вывод очищенного воздуха из циклона производят снизу вверх из нижней части корпуса через внутреннюю трубу (Штокман Е.А. Очистка воздуха от пыли на предприятиях пищевой промышленности / Е.А.Штокман. – М.: Пищевая промышленность, 1977. – С.45-69).
Основным недостатком этого способа является низкая эффективность пылеочистки вследствие изменения направления движения воздуха на обратное – снизу вверх, что неизбежно сопровождается захватом мелких частиц с их выносом.
Наиболее близким к предлагаемому изобретению по технической сущности (прототипом) является способ аэроцентробежного разделения продуктов размола, включающий ввод аэросмеси в корпус через камеру при закрутке в конфузорном пространстве пустотелой турбины вокруг ее горизонтальной оси вращения с образованием в ее внутренней полости и на внешних поверхностях вращающихся объемов, выделяя и выводя при взаимодействии указанных объемов крупные и тяжелые фракции, транспортирование обогащенной аэросмеси внутрь конической части корпуса при его дополнительной закрутке во вращающемся патрубке с соосным ему неподвижным шнеком и его направлении вниз посредством системы соосно расположенных с корпусом усеченных вращающихся виброконусов и названного шнека. Вывод более легких фракций производят через кольцевые регулируемые каналы, представляющие собой кольцевые полости, в нижний выход конической части корпуса после перемещения вниз параллельно шнеку и по поверхностям усеченных вращающихся виброконусов, и вывод тонкодисперсной смеси осуществляют в верхний выход конической части корпуса (патент RU 2317155, МПК В07В 7/08 (2006/01)).
Недостатком описанного способа является невысокая эффективность аэроцентробежного разделения продуктов размола вследствие недостаточной крутки аэросмеси вращающимися поверхностями.
Предлагаемым изобретением решается задача повышения эффективности отделения продуктов размола от пыли путем увеличения эффекта центробежного разделения.
Поставленная задача решается тем, что в способе пневмоинерционного отделения продуктов размола и пыли, включающем ввод аэросмеси в корпус при закрутке в конфузорном пространстве с образованием во внутренней полости корпуса вращающихся объемов аэросмеси и транспортирование аэросмеси при закрутке внутрь конической части корпуса посредством системы соосно расположенных с корпусом усеченных конусов, образующих кольцевые полости, вывод крупных и тяжелых фракций, а также более легких фракций через кольцевые полости, согласно изобретению аэросмесь вводят в корпус при закрутке в конфузорном пространстве верхнего улиточного тангенциального завихрителя и транспортируют внутрь конической части корпуса через сообщенное с верхним усеченным конусом выходное отверстие завихрителя в соосную с последним систему усеченных конусов, постоянно вращая, прижимая крупные и тяжелые фракции к стенкам усеченных конусов и направляя их вниз к выводному устройству корпуса, а также захватывая образовавшимся воздушным вихрем более легкие частицы, направляя их в зависимости от дисперсности вниз по оси корпуса к выводному устройству или через кольцевые полости усеченных конусов в процессе распада воздушного вихря в кольцевое пространство между усеченными конусами и охватывающей их конической частью корпуса и далее – в конфузорное пространство нижнего улиточного тангенциального завихрителя, расположенного соосно с верхним завихрителем, для интенсивного вращения и прижатия этих частиц к стенкам конической части корпуса и их направления вниз к выводному устройству. Очищенный воздух выводят через нижний улиточный тангенциальный завихритель.
Увеличение эффекта центробежного разделения обеспечивается посредством поддержания высокой степени крутки аэросмеси за счет возрастающего ускорения при реализации осесимметричного движения воздушной среды, так как аэросмесь закручивают в верхнем улиточном тангенциальном завихрителе, выходное отверстие которого сообщено с системой усеченных конусов, расположенных соосно под ним, и транспортируют внутрь конической части корпуса через указанное отверстие; при этом производятся постоянное вращение и прижатие крупных и тяжелых фракций к стенкам усеченных конусов, их направление вниз в выводное устройство и захват более легких частиц образовавшимся воздушным вихрем; в процессе распада воздушного вихря более легкие частицы воздушными потоками выводятся через кольцевые полости усеченных конусов и попадают в кольцевое пространство между системой усеченных конусов и охватывающей их конической частью корпуса, которое с конфузорным пространством нижнего улиточного тангенциального завихрителя обеспечивает интенсивное вращение, прижатие этих частиц к стенкам конической части корпуса и их направление также вниз в выводное устройство, а очищенный воздух выводится через нижний улиточный тангенциальный завихритель.
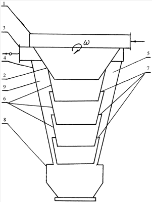
На приведенном чертеже изображена схема осуществления способа пневмоинерционного отделения продуктов размола и пыли.
Дополнительно на чертеже обозначено сплошной линией со стрелкой направление ввода аэросмеси; линией со стрелкой и кружком – направление вывода очищенного воздуха; пунктирной линией со стрелкой – направление вывода осажденного продукта; – угловая скорость закрутки аэросмеси в конфузорном пространстве верхнего улиточного тангенциального завихрителя.
Способ пневмоинерционного отделения продуктов размола и пыли реализуется при помощи верхнего улиточного тангенциального завихрителя 1, который связан через выходное отверстие с верхним усеченным конусом 2, являющимся продолжением верхнего улиточного тангенциального завихрителя 1, а также посредством нижнего улиточного тангенциального завихрителя 3, который связан с конической частью 4 корпуса 5. Таким образом, нижний улиточный тангенциальный завихритель 3 расположен под верхним улиточным тангенциальным завихрителем 1, но не соединен с ним, а выходное отверстие верхнего улиточного тангенциального завихрителя 1 связано через верхний усеченный конус 2 с системой 6 усеченных конусов, соосной с верхним улиточным тангенциальным завихрителем 1 и охваченной вместе с верхним усеченным конусом 2 конической частью 4 корпуса 5. Система 6 усеченных конусов, образующая кольцевые полости 7, и выводное устройство 8 корпуса 5, которое связано кольцевой полостью 9 с нижним улиточным тангенциальным завихрителем 2, размещены ниже верхнего усеченного конуса 1 соосно и последовательно по отношению к нему.
Способ пневмоинерционного отделения продуктов размола и пыли осуществляется следующим образом. Аэросмесь вводят в корпус 5 при закрутке в конфузорном пространстве верхнего улиточного тангенциального завихрителя 1 с угловой скоростью , которая поддерживается соосными системой 6 усеченных конусов и верхним усеченным конусом 2, с образованием во внутренней полости корпуса 5 вращающихся объемов аэросмеси. Аэросмесь транспортируют внутрь конической части 4 корпуса 5 через сообщенное с верхним усеченным конусом 2 выходное отверстие завихрителя 1 в соосную с последним систему 6 усеченных конусов, постоянно вращая, прижимая крупные и тяжелые фракции к стенкам усеченных конусов и направляя их вниз к выводному устройству 8 корпуса 5. Таким образом, в процессе вращения аэросмеси обеспечивается прижатие крупных и тяжелых фракций к стенкам конусов; при этом крупные и тяжелые фракции, переходя с конуса на конус системы 6 усеченных конусов, перемещаются вниз и попадают в выводное устройство 8. Более легкие частицы аэросмеси при транспортировании захватывают образовавшимся воздушным вихрем, направляя их в зависимости от дисперсности вниз по оси корпуса 5 к выводному устройству 8 или через кольцевые полости 7 усеченных конусов системы 6 усеченных конусов в процессе распада воздушного вихря – в кольцевое пространство, ограниченное кольцевой полостью 9, между усеченными конусами и охватывающей их конической частью 4 корпуса 5 и далее – в конфузорное пространство нижнего улиточного тангенциального завихрителя 3, расположенного соосно с верхним улиточным тангенциальным завихрителем 1, для интенсивного вращения и прижатия этих частиц к стенкам конической части 4 корпуса 5 и их направления вниз к выводному устройству 8.
Так, первая часть более легких частиц аэросмеси попадает в выводное устройство 8, а вторая их часть в процессе распада воздушного вихря, изменяемого сопротивления и расхода воздушного потока выводится через кольцевые полости 7 между конусами системы 6 усеченных конусов; после этого вторая часть более легких частиц попадает в кольцевое пространство, ограниченное кольцевой полостью 9, между усеченными конусами и охватывающей их конической частью 4 корпуса 5, связанное с нижним улиточным тангенциальным завихрителем 3, вследствие чего происходит усиление крутки потока и оставшиеся твердые частицы прижимаются к стенкам конической части 4 корпуса 5 и также направляются вниз в выводное устройство 8.
Очищенный воздух выводят через нижний улиточный тангенциальный завихритель 3.
Применение предложенного способа пневмоинерционного отделения продуктов размола и пыли позволит повысить эффективность отделения продуктов размола от пыли путем увеличения эффекта центробежного разделения, уменьшить сопротивление системы и тем самым энергозатраты на разделение на 40-50%, а также снизить сложность изготовления оборудования, реализующего способ, вследствие отсутствия принудительно вращающихся элементов, что приведет к повышению его эксплуатационной надежности в 1,5-2,0 раза.
Формула изобретения
Способ пневмоинерционного отделения продуктов размола и пыли, включающий ввод аэросмеси в корпус при закрутке в конфузорном пространстве с образованием во внутренней полости корпуса вращающихся объемов аэросмеси и транспортирование аэросмеси при закрутке внутрь конической части корпуса посредством системы соосно расположенных с корпусом усеченных конусов, образующих кольцевые полости, вывод крупных и тяжелых фракций, а также более легких фракций через кольцевые полости, отличающийся тем, что аэросмесь вводят в корпус при закрутке в конфузорном пространстве верхнего улиточного тангенциального завихрителя и транспортируют внутрь конической части корпуса через сообщенное с верхним усеченным конусом выходное отверстие завихрителя в соосную с последним систему усеченных конусов, постоянно вращая, прижимая крупные и тяжелые фракции к стенкам усеченных конусов и направляя их вниз к выводному устройству корпуса, а также захватывая образовавшимся воздушным вихрем более легкие частицы, направляя их в зависимости от дисперсности вниз по оси корпуса к выводному устройству или через кольцевые полости усеченных конусов в процессе распада воздушного вихря в кольцевое пространство между усеченными конусами и охватывающей их конической частью корпуса и далее – в конфузорное пространство нижнего улиточного тангенциального завихрителя, расположенного соосно с верхним завихрителем, для интенсивного вращения и прижатия этих частиц к стенкам конической части корпуса и их направления вниз к выводному устройству, при этом очищенный воздух выводят через нижний улиточный тангенциальный завихритель.
РИСУНКИ
|
|