Патент на изобретение №2386487

Published by on




РОССИЙСКАЯ ФЕДЕРАЦИЯ



ФЕДЕРАЛЬНАЯ СЛУЖБА
ПО ИНТЕЛЛЕКТУАЛЬНОЙ СОБСТВЕННОСТИ,
ПАТЕНТАМ И ТОВАРНЫМ ЗНАКАМ
(19) RU (11) 2386487 (13) C1
(51) МПК

B07B4/02 (2006.01)
A01F12/44 (2006.01)

(12) ОПИСАНИЕ ИЗОБРЕТЕНИЯ К ПАТЕНТУ

Статус: по данным на 28.09.2010 – действует

(21), (22) Заявка: 2009104178/03, 09.02.2009

(24) Дата начала отсчета срока действия патента:

09.02.2009

(46) Опубликовано: 20.04.2010

(56) Список документов, цитированных в отчете о
поиске:
SU 435866 A, 15.07.1974. SU 180903 A, 26.03.1966. RU 2001706 C1, 30.10.1993. RU 2186636 C2, 10.08.2002. RU 50879 U1, 27.01.2006. RU 2192318 C1, 10.11.2002. GB 1025299 A, 06.04.1966. DE 2710840 A1, 29.07.1977.

Адрес для переписки:

394053, г.Воронеж, Московский пр-кт, 101, кв.56, А.П. Тарасенко

(72) Автор(ы):

Тарасенко Александр Павлович (RU),
Оробинский Владимир Иванович (RU),
Сундеев Александр Арсентьевич (RU),
Гиевский Алексей Михайлович (RU),
Радченко Роман Сергеевич (RU)

(73) Патентообладатель(и):

Общество с ограниченной ответственностью “СемМаш” (RU)

(54) УСТРОЙСТВО ДЛЯ ПОСЛЕРЕШЕТНОЙ ПНЕВМОСЕПАРАЦИИ ЗЕРНОВОГО ВОРОХА

(57) Реферат:

Изобретение предназначено для разделения зернового вороха и может быть использовано в сельскохозяйственном производстве и зерноперерабатывающей промышленности для очистки и сортировки зерна. Устройство для послерешетной пневмосепарации зернового вороха включает пневмосепарирующий канал, соединенный в верхней части с осадочной камерой и расположенный прямо над перемещаемым материалом с подвижной нижней его частью, обеспечивающей ее положение непосредственно на уровне высоты слоя перемещаемого материала и предотвращающей подсос воздуха из атмосферы, устройство для изменения положения подвижной части канала, аспирационный клапан, расположенный в нижней части пневмосепарирующего канала с возможностью регулирования скорости воздушного потока в зоне сепарации, подканальную колеблющуюся сетку для подачи материала в зону сепарации и вывода из нее. Пневмосепарирующий канал разделен на две полости с размещенным на разделительной стенке аспирационного клапана с возможностью регулирования соотношения скоростей воздушного потока в каждой из полостей. В первой полости со стороны ввода материала скорость воздушного потока должна быть 1,5-2,0 м/с, а во второй – больше скорости витания биологически неполноценных зерновок. Под каждой из полостей пневмосепарирующего канала размещены подканальные сетки с возможностью перестановки сетки, расположенной под второй полостью, по высоте для вывода биологически неполноценного зерна, сосредоточенного в нижнем слое первой полости в разгрузочный канал до его подачи во вторую полость. Технический результат – повышение эффективности пневмосепарации и выделения трудновыделимых засорителей. 1 з.п. ф-лы, 2 ил.

Изобретение предназначено для разделения зернового вороха и может быть использовано в сельскохозяйственном производстве и зерноперерабатывающей промышленности для очистки и сортировки зерна.

Известны устройства для послерешетной пневмосепарации зернового вороха, в которых он вбрасывается в пневмосепарирующий канал с помощью катушки, валика, самотеком и т.д. Недостатком таких устройств является неравномерное распределение зернового вороха по сечению пневмосепарирующего канала, т.е. получаем различную концентрацию материала по его сечению. При этом большая часть воздушного потока проходит в тех участках канала, где наблюдается меньшая концентрация обрабатываемого материала в воздушном потоке. Это приводит к уменьшению полноты выделения необходимых компонентов зернового вороха.

Известно так же устройство для послерешетной пневмосепарации зернового вороха, включающее однополостной пневмосепарирующий канал с расположенной под ним сеткой, совершающей возвратно-поступательное движение, примененное на машине «Петкус-Селектра» К-218/1 (Германия). Обрабатываемый материал проходит через пневмосепарирующий канал по колеблющейся сетке, обеспечивая при этом одинаковую концентрацию на различных участках его сечения. Для уменьшения подсоса воздуха при подаче материала в пневмосепарирующем канале предусмотрена регулировка входного отверстия (Механизация послеуборочной обработки зерна. – М.: Колос, 1973. – С.32.).

Технический результат предлагаемого изобретения заключается в повышении полноты выделения трудновыделимых засорителей, зерна в пленке и биологически неполноценных зерновок.

Технический результат достигается тем, что пневмосепарирующий канал разделен на две полости с размещением на разделительной стенке аспирационного клапана с возможностью регулирования соотношения скоростей воздушного потока в каждой из полостей, причем в первой полости со стороны ввода материала скорость воздушного потока должна быть 1,52,0 м/с, а во втором – больше скорости витания биологически неполноценных зерновок, а подканальная сетка состоит из двух частей с возможностью перестановок выходной части, расположенной под второй полостью пневмосепарирующего канала, по высоте для вывода биологически полноценного зерна, сосредоточенного в нижнем слое первой полости до его подачи во вторую полость.

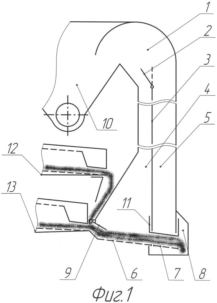
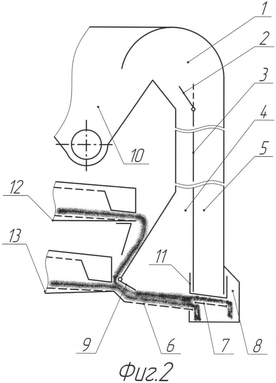
На фиг.1 изображена схема устройства для послерешетной сепарации зернового вороха при расположении подканальных сеток в одной плоскости, а на фиг.2 – при их расположении на разных уровнях.

Устройство для послерешетной пневмосепарации зернового вороха включает пневмосепарирующий канал 1, соединенный в верхней части с осадочной камерой 10 и разделенный на две полости 4 и 5 разделительной стенкой 3 с размещенным на ней аспирационным клапаном 2 с возможностью регулирования соотношения скоростей воздушного потока в каждой из полостей. Нижняя часть 11 второй полости 5 пневмосепарирующего канала выполнена подвижной с механизмом, обеспечивающим ее положение непосредственно на уровне высоты слоя перемещаемого материала (не показан).

Под первой 4 и второй 5 полостями установлены подканальные сетки 6 и 7, которые при малой толщине перемещаемого слоя (невысокая производительность машины) устанавливают на одном уровне (фиг.1) и при большой – (высокая производительность машины) на разных уровнях (фиг.2). Растояние между подканальными сетками 6 и 7 по высоте изменяют перестановкой подканальной сетки 7. На выходе зернового вороха установлен разгрузочный канал 8.

Все элементы подвижной части устройства для послерешетной пневмосепарации зернового вороха смонтированы в единый блок, крепящийся к решетному стану и колеблющийся вместе с ним.

Предлагаемое техническое решение работает следующим образом.

Зерновой ворох после очистки на решетных станах 12 и 13 объединяется в единый поток и поступает на подканальную сетку 6 для ввода его в пневмосепарирующий канал 4. Для предотвращения подсоса воздуха установлены секционные клапаны 9. Подканальная сетка 6 совершает колебания вместе с решетным станом зерноочистительной машины и при этом зерновой ворох перемещается по ней от входа к выходу.

При скорости воздушного потока в первой полости 4, равной 1,52,0 м/с, перемещаемый по подканальной сетке 6 материал приобретает псевдоожиженное состояние, и биологически полноценные зерновки, имеющие большую плотность, перемещаются в нижнюю часть слоя, а биологически неполноценные, с меньшей плотностью, перемещаются в верхний слой. Это способствует повышению полноты выделения биологически неполноценных зерновок, а так же зерна в пленке и части трудновыделимых засорителей во второй полости 5 пневмосепарирующего канала 1, где скорость воздушного потока больше скорости витания биологически неполноценного зерна. Например, при очистке зернового вороха пшеницы во второй полости 5 пневмосепарирующего канала скорость воздушного потока должна быть 8,59,5 м/с. Следовательно, в первой полости 4 проиходит подготовка зернового вороха к последующей его пневмосепарации во второй полости 5, т.е. за счет создания псевдоожиженного состояния зернового вороха в первой полости зерновки с большей плотностью опускаются вниз, а менее плотные (биологически неполноценные) перемещаются вверх. При таком расположении частиц в зерновом ворохе, перемещаемом по подканальной сетке 7, повышается полнота выделения биологически неполноценных зерновок во второй полости 5 пневмосепарирующего канала 1.

При небольшой толщине перемещаемого слоя подканальные сетки 6 и 7 располагают на одном уровне, а при большой (большая производительность зерноочистительной машины) – подканальную сетку 7 устанавливают выше, т.е. между сетками 6 и 7 образуется зазор для схода нижней части подаваемого слоя в разгрузочный канал 8. В этом случае перемещаемый по подканальной сетке 6 ворох доходит до подканальной сетки 7, расположенной выше, которая разделяет его на две части. Нижняя более полноценная часть вороха поступает в разгрузочный канал 8, а верхняя – менее полноценная – перемещается по подканальной сетке 7 во вторую полость пневмосепарирующего канала 1, где из нее восходящим воздушным потоком выделяются биологически неполноценные зерновки, зерно в пленке и часть трудновыделимых засорителей, а оставшаяся часть поступает в разгрузочный канал 8. При этом за счет уменьшения подачи зернового вороха во вторую полость 5 пневмосепарирующего канала 1 уменьшается концентрация материала в нем.

Использование предлагаемого технического решения позволит повысить полноту выделения биологически полноценных зерновок, зерна в пленке и трудновыделимых засорителей.

Формула изобретения

1. Устройство для послерешетной пневмосепарации зернового вороха, включающее пневмосепарирующий канал, соединенный в верхней части с осадочной камерой и расположенный прямо над перемещаемым материалом с подвижной нижней его частью, обеспечивающей ее положение непосредственно на уровне высоты слоя перемещаемого материала и предотвращающей подсос воздуха из атмосферы, устройство для изменения положения подвижной части канала, аспирационный клапан, расположенный в нижней части пневмосепарирующего канала с возможностью регулирования скорости воздушного потока в зоне сепарации, подканальную колеблющуюся сетку для подачи материала в зону сепарации и вывода из нее, отличающееся тем, что пневмосепарирующий канал разделен на две полости с размещенным на разделительной стенке аспирационного клапана с возможностью регулирования соотношения скоростей воздушного потока в каждой из полостей, причем в первой полости со стороны ввода материала скорость воздушного потока должна быть 1,5-2,0 м/с, а во второй больше скорости витания биологически неполноценных зерновок.

2. Устройство по п.1, отличающееся тем, что под каждой из полостей пневмосепарирующего канала размещены подканальные сетки с возможностью перестановки сетки, расположенной под второй полостью, по высоте для вывода биологически неполноценного зерна, сосредоточенного в нижнем слое первой полости в разгрузочный канал до его подачи во вторую полость.

РИСУНКИ

Categories: BD_2386000-2386999