|
|
(21), (22) Заявка: 2008142961/13, 29.10.2008
(24) Дата начала отсчета срока действия патента:
29.10.2008
(46) Опубликовано: 20.04.2010
(56) Список документов, цитированных в отчете о поиске:
RU 2169615 С2, 27.06.2001. RU 2091162 С1, 27.09.1997. RU 2119820 C1, 10.10.1998. RU 2050978 C1, 27.12.1995. RU 2164170 C2, 20.03.2001.
Адрес для переписки:
656038, Алтайский край, г.Барнаул, пр. Ленина, 46, АлтГТУ, ОИПС
|
(72) Автор(ы):
Ильичев Геннадий Николаевич (RU), Овчаренко Алексей Владимирович (RU)
(73) Патентообладатель(и):
Государственное образовательное учреждение высшего профессионального образования “Алтайский государственный технический университет им. И.И. Ползунова” (АлтГТУ) (RU)
|
(54) СПОСОБ ТЕРМОБАРОМЕТРИЧЕСКОЙ ОБРАБОТКИ ЗЕРНА ОВСА
(57) Реферат:
Изобретение относится к мукомольно-крупяной промышленности и может быть применено преимущественно на овсозаводах. Способ термобарометрической обработки зерна овса заключается в том, что зерно увлажняют водой, отволаживают в течение 30 мин, сушат и подвергают шелушению. Сушку зерна овса производят путем поверхностного нагрева, перемещая зерно вдоль термобарометрической камеры посредством вращающегося цилиндра с лопатками, под избыточным давлением 1,2 МПа и при температуре стенок камеры и цилиндра 220°С в течение 1 мин. После этого зерно овса подвергают аэродинамическому шелушению путем подачи зерна через форсунки вместе с потоком воздуха под избыточным давлением 1,2 МПа в замкнутой камере шелушения с последующим демпфированием избыточного давления. Изобретение позволяет снизить продолжительность процесса обработки зерна овса, энерго- и материальные затраты и повысить выход целого ядра при условии снижения себестоимости производства овсяной крупы. 2 ил.
Изобретение относится к мукомольно-крупяной промышленности и может быть применено преимущественно на овсозаводах.
Известен способ гидротермической обработки (ГТО) зерна овса, включающий увлажнение зерна водой, его отволаживание и сушку. При этом увлажнение зерна ведут в увлажнительной машине при атмосферном давлении до влажности 18,0-20,0%, отволаживание – в бункерах в течение 11-14 ч и сушку – в сушилке при температуре агента сушки 150-160°С в течение 3-5 мин (патент RU 2119820, МПК6 В02В 1/08).
Основными недостатками описанного способа ГТО являются большая продолжительность процесса ГТО зерна овса, до 14 ч, вызванная необходимостью его длительного отволаживания, что требует соответственно больших производственных площадей для размещения бункеров для отволаживания; повышенные энергозатраты, обусловленные энергоемкой сушкой зерна. Кроме того, не предусмотрена возможность осуществления в едином комплексе с ГТО процесса шелушения зерна овса, а последующий процесс шелушения в центробежных шелушителях не обеспечивает высокий выход целого ядра.
Наиболее близким к предлагаемому изобретению по технической сущности, принятым за прототип, является способ ГТО зерна овса, включающий увлажнение зерна водой, его отволаживание и сушку. При этом увлажнение зерна проводят при создании (наборе) вакуума с остаточным давлением 0,03-0,05 МПа и подаче воды в зерно в течение 10-60 с с последующим механическим удалением излишков поверхностной влаги в отжимной колонке. Для подачи зерна в отжимную колонку можно использовать такое транспортное оборудование, как самотечные трубы и норию. Отволаживание зерна осуществляют в течение 2,5-4 ч в бункерах, а сушку в сушилке при температуре агента сушки 130-160°С до влажности 12-14% (патент RU 2169615, МПК6 В02В 1/08).
Следует отметить достаточно большую продолжительность описанного процесса ГТО зерна овса, до 4 ч, и повышенные энерго- и материальные затраты из-за осуществления увлажнения зерна при создании разрежения воздуха и использования в технологической линии, реализующей процесс ГТО, отжимной колонки для механического удаления излишков поверхностной влаги и транспортного оборудования для подачи зерна в отжимную колонку. Кроме того, не предусмотрена возможность осуществления в едином комплексе с ГТО процесса шелушения зерна овса, а последующий процесс шелушения в центробежных шелушителях не обеспечивает высокий выход целого ядра. Названные недостатки способствуют повышенной себестоимости производства крупы.
Задачей изобретения является снижение продолжительности процесса обработки зерна овса, энерго- и материальных затраты затрат и повышение выхода целого ядра в свою очередь при снижении себестоимости производства овсяной крупы.
Поставленная задача решается тем, что в способе термобарометрической обработки зерна овса, включающем увлажнение зерна, отволаживание в течении 30 мин, сушку и шелушение, согласно изобретению сушку зерна овса производят путем поверхностного нагрева, перемещая зерно вдоль термобарометрической камеры посредством вращающегося цилиндра с лопатками, под избыточным давлением 1,2 МПа и при температуре стенок камеры и цилиндра 220°С в течение 1 мин, после чего зерно овса подвергают аэродинамическому шелушению путем подачи зерна через форсунки вместе с потоком воздуха под избыточным давлением 1,2 МПа в замкнутой камере шелушения с последующим демпфированием избыточного давления.
Снижение продолжительности процесса обработки зерна овса, энерго- и материальных затрат обусловлено тем, что сушку зерна овса путем поверхностного нагрева, перемещая зерно вдоль термобарометрической камеры посредством вращающегося цилиндра с лопатками в течение 1 мин, и аэродинамическое шелушение путем подачи зерна через форсунки с потоком воздуха осуществляют циклично, в один этап, как единый технологический процесс, объединяющий сушку зерна путем поверхностного нагрева и аэродинамическое шелушение, реализуемые на одной единице оборудования, за исключением увлажнения зерна водой на увлажнительной машине и отволаживания, причем последнее производят в течение 30 мин. В результате обеспечивается отсутствие необходимости в создании разрежения воздуха с последующим механическим удалением из зерна излишков поверхностной влаги, что позволяет снизить себестоимость производства крупы.
Повышение выхода целого ядра за счет снижения выхода дробленого ядра обусловлено введением аэродинамического шелушения зерна овса с низким, но достаточным для эффективного шелушения механическим воздействием воздухом на зерновку, осуществляемым после подготовительной ГТО. Таким образом, снижение выхода дробленого ядра на 7-10% соответственно повышает выход целого ядра на соответствующую величину, что в свою очередь повышает прибыль предприятия и рентабельность производства овсяной крупы.
Температура поверхностного нагрева зерна, составляющая 220°С, является оптимальной, так как при поверхностном нагреве зерна свыше 220°С процесс удаления излишков поверхностной влаги из зерна в значительной степени интенсифицируется, происходит излишнее подсушивание зерна, что ухудшает его технологические свойства и снижает выход готовой продукции, а при поверхностном нагреве зерна менее 220°С на оборот происходит излишнее увлажнение зерна, что влечет за собой резкое снижение эффективности шелушения.
Величина избыточного давления воздуха при аэродинамическом шелушении, составляющая 1,2 МПа, является оптимальной, так как при избыточном давлении воздуха выше 1,2 МПа эффективность шелушения зерна значительно не увеличивается, а при избыточном давлении воздуха ниже 1,2 МПа происходит постепенное снижение эффективности шелушения
Время поверхностного нагрева зерна овса, составляющее 1 мин, является оптимальным, вследствие того, что достигается наибольшая разность в прочности оболочек и ядра.
Увлажнение осуществляется на увлажнительных машинах. Марка увлажнительной машины особого влияния на конечную эффективность обработки не оказывает.
Отволаживание в течение 30 мин является оптимальным, так как достигается требуемая влажность зерна и оптимальное распределение влаги в зерновке. При времени отволаживания менее 30 мин влага в зерне не распределяется должным образом, в большинстве своем присутствуя лишь в оболочках зерна, а при времени свыше 30 мин, наоборот, перераспределяется в ядро.
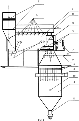
На приведенном чертеже представлена схема установки периодического действия, реализующей предлагаемый способ термобарометрической обработки, – фигура 1, схема плиты с форсунка, являющейся частью установки, осуществляющая шелушения зерна овса, – фигура 2.
Кроме того, на чертеже дополнительно обозначено следующее:
– вертикальной линией со стрелкой показано направление подачи зерна овса в термобарометрическую камеру и камеру шелушения;
– несколькими пунктирными вертикальными линиями со стрелками показано направление перемещения зерна овса во вращающийся цилиндр;
– штрихпунктирной линией со стрелкой показано направление движенийя зерна овса из термобарометрической камеры в камеру шелушения;
– горизонтальными линиями со стрелками показаны направления подачи сжатого воздуха в термобарометрическую камеру и камеру шелушения;
– Р – давление воздуха.
Способ термобарометрической обработки зерна овса заключается в увлажнении зерна водой, отволаживании в течение 30 мин, сушке и аэродинамическом шелушении зерна. Далее производят разделение шелушенного и нешелушенного зерна. Сушку зерна овса производят путем поверхностного нагрева, перемещая зерно вдоль термобарометрической камеры посредством вращающегося цилиндра с лопатками, под избыточным давлением 1,2 МПа и при температуре стенок камеры и цилиндра 220°С в течение 1 мин. Аэродинамическое шелушение зерна овса осуществляют путем подачи зерна через форсунки с потоком воздуха под избыточным давлением 1,2 МПа в замкнутой камере шелушения с последующим демпфированием избыточного давления.
Установка периодического действия для термобарометрической обработки и шелушения зерна овса содержит термобарометрическую камеру 1 с приемным устройством 2 и нагревательными элементами 3, соединенную с замкнутой камерой 4 шелушения, а также ресивер (на чертеже не показан). В термобарометрической камере 1 размещен цилиндр 5 со сквозными отверстиями 6 для ввода зерна овса из объема термобарометрической камеры 1, лопатками (на чертеже не показаны) и нагревательными элементами 3. Лопатки размещены внутри этого цилиндра. Цилиндр 5 связан с приводом 7. Кроме того, термобарометрическая камера 1 снабжена каналом 8 подачи сжатого воздуха от ресивера.
Камера 4 шелушения оборудована пластиной 13 с форсунками, которые связаны с каналом 9 подачи сжатого воздуха от ресивера, имеет демпферный канал 10 и выпускное приспособление 11 пробкового типа. Каждая форсунка снабжена пневмоклапаном, что обеспечивает их одновременное открытие всех форсунок и исключает потерю давления.
На поверхностях термобарометрической камеры 1 и камеры 4 шелушения установлены датчики 12 температуры.
Способ термобарометрической обработки зерна овса осуществляется следующим образом. Зерно овса после очистки от примесей увлажняют на увлажительной машине, отволаживают в течение 30 мин и направляют на сушку в термобарометрическую камеру 1. Производят сушку зерна овса путем поверхностного нагрева нагревательными элементами 3, перемещая зерно вдоль термобарометрической камеры 1 посредством вращающегося цилиндра 5 с лопатками, способствующими движению зерна внутри этого цилиндра, под избыточным давлением 1,2 МПа и при температуре стенок камеры 1 и цилиндра 5 – 220°С в течение 1 мин. Нагрев ведут нагревательными элементами 3 как от стенок камеры 1, так и от стенок цилиндра 5, что обеспечивает равномерность нагрева находящегося в камере 1 зерна, а набор избыточного давления из ресивера через канал 8 осуществляют в течение 1 мин.
После сушки зерно овса вместе с потоком воздуха подают на аэродинамическое шелушение в камеру 4 шелушения. После того, как все зерно из термобарометрической камеры 1 попадает на пластину 13, пневмоклапаны форсунок открываются и производят шелушение зерна через эти форсунки с потоком воздуха от ресивера через канал 9 под избыточным давлением 1,2 МПа в замкнутой камере 4 шелушения с последующим демпфированием избыточного давления через демпферный канал, который обеспечивает удаление избыточного давления и относов части лузги. При этом диаметр отверстий форсунок составляет 5-7 мм и подбирается экспериментально.
После аэродинамического шелушения зерно выводят через выпускное приспособление 11. Далее производят разделение шелушенного и нешелушенного зерна с использованием соответствующих систем разделения.
Таким образом, осуществляется сокращение процесса обработки зерна овса, снижение энерго- и материальных затрат, повышение эффективности технологии переработки зерна овса, уменьшение числа перемещений зерна по технологической линии и количества технологического и транспортного оборудования для реализации предлагаемого способа, повышение выхода целого ядра на 7-10% за счет снижения выхода дробленого ядра, снижение себестоимости производства крупы и повышение прибыли на овсозаводах. Следовательно, использование предлагаемого способа позволяет решить комплексную проблему низкого выхода целого ядра на овсозаводах.
Формула изобретения
Способ термобарометрической обработки зерна овса, включающий увлажнение зерна водой, отволаживание в течение 30 мин, сушку и шелушение, отличающийся тем, что сушку зерна овса производят путем поверхностного нагрева, перемещая зерно вдоль термобарометрической камеры посредством вращающегося цилиндра с лопатками, под избыточным давлением 1,2 МПа и при температуре стенок камеры и цилиндра 220°С в течение 1 мин, после чего зерно овса подвергают аэродинамическому шелушению путем подачи зерна через форсунки вместе с потоком воздуха под избыточным давлением 1,2 МПа в замкнутой камере шелушения с последующим демпфированием избыточного давления.
РИСУНКИ
|
|