|
|
(21), (22) Заявка: 2008129148/14, 21.12.2006
(24) Дата начала отсчета срока действия патента:
21.12.2006
(30) Конвенционный приоритет:
22.12.2005 KR 20-2005-0036077
(46) Опубликовано: 20.04.2010
(56) Список документов, цитированных в отчете о поиске:
KR 10-2000-31855 A, 05.06.2000. USD 525712 S, 25.07.2006. JP 200108997 A, 16.01.2001. JP 8-215180 A, 27.08.1996. SU 15882 A, 08.03.1929.
(85) Дата перевода заявки PCT на национальную фазу:
22.07.2008
(86) Заявка PCT:
KR 2006/005634 20061221
(87) Публикация PCT:
WO 2007/073106 20070628
Адрес для переписки:
191002, Санкт-Петербург, а/я 5, ООО “Ляпунов и партнеры”, пат.пов. Е.Г.Ильмер, рег. 1144
|
(72) Автор(ы):
КИ Ен-хо (KR)
(73) Патентообладатель(и):
КИ Ен-хо (KR)
|
(54) УСТРОЙСТВО ДЛЯ АКУПРЕССУРЫ ГОЛОВЫ С ПРИМЕНЕНИЕМ ДАВЛЕНИЯ ВОЗДУХА
(57) Реферат:
Изобретение относится к медицине. Устройство содержит шлем с внутренней и внешней оболочками и полостью, выполненной между оболочками; группу пневматических цилиндрических элементов, установленных радиально в полости шлема, причем каждый пневматический цилиндрический элемент содержит собственно цилиндр цилиндрической формы с воздушным патрубком, выполненным в его верхней части; нажимную пластину, установленную внутри цилиндра; шток, верхний конец которого жестко прикреплен к нижней стороне нажимной пластины, а нижний конец выдается наружу сквозь нижний торец пневматического цилиндра; акупрессурную насадку, с натягом надетую на нижний конец штока. Насадка является регулируемой по высоте и выполнена из полиуретана или силикона. Нижний конец штока проходит сквозь внутреннюю оболочку шлема. Генератор пневматического давления выполнен с возможностью создания давления воздуха, передаваемого внутрь цилиндра, и содержит воздушный насос и воздушный клапан. Изобретение обеспечивает длительное применение для массажа головы. 3 з.п. ф-лы, 9 ил.
Изобретение относится к пневматическим устройствам для акупрессуры (точечного массажа) волосистой части головы, в частности к таким пневматическим устройствам для акупрессуры волосистой части головы, в которых в полости между внутренней и внешней оболочками, выполненными из экструдированного вспененного синтетического полимерного материала, радиально расположена группа пневматических цилиндров, каждый из которых содержит акупрессурную насадку, а генератор пневматического давления, приводящий в действие пневматические цилиндры, установлен отдельно от шлема, благодаря чему общий вес оказывается небольшим, не возникает шума и вибрации, и аппарат очень просто использовать и переносить.
Уровень техники
Для акупрессуры кожи волосистой части головы известны устройства различных типов, предназначенные для пациентов, нуждающихся в акупрессурном массаже волосистой части головы, например для пациентов, страдающих от алопеции или хронической головной боли. Например, в опубликованном патентном документе Республики Корея 2000-31855 (опубликован 5 июня 2000 г.) раскрыто устройство прибора для акупрессурного массажа волосистой части головы, в котором внутри шлема радиально устанавливается несколько сотен гидравлических шприцев, каждый из которых на нижнем дистальном конце имеет наконечник, способный оказывать акупрессурное воздействие на волосистую часть головы пользователя. Однако описание прибора для акупрессурного массажа в указанной патентной заявке Республики Корея нигде не содержит подробных чертежей или комментариев к тому, как работают гидравлические шприцы в конструктивном отношении, в частности, как внутри шлема установлена гидравлическая трубка для передачи гидравлического давления к каждому гидравлическому шприцу. В связи с этим нельзя считать, что специалисту в данной области техники легко изготовить прибор для акупрессурного массажа волосистой части головы, который мог бы работать на основании технического содержания, раскрытого в указанном патентном документе Республики Корея.
Хотя на основании конструкции, раскрытой в опубликованном патентном документе Республики Корея 2000-31855, изготовлено устройство для акупрессурного массажа волосистой части головы, оно, тем не менее, не лишено недостатков, в частности обладает большим весом и размерами из-за того, что в нем используются гидравлические устройства. Такой гидравлический прибор для акупрессуры волосистой части головы обладает серьезным недостатком, поскольку из-за большого веса и размеров он не подходит пользователям, которым нужно носить его для продолжительного массажа волосистой части головы.
Такие известные приборы для акупрессуры волосистой части головы неудобны в использовании, так как их вес и размеры слишком велики. Кроме того, некоторые приборы часто обладают тем серьезным недостатком, что шум или вибрация, генерируемые при их эксплуатации, прямо воздействуют на голову пользователя или что они излучают электромагнитные волны, вредные для человека, представляя, таким образом, угрозу для здоровья пользователя.
Раскрытие сущности изобретения
Техническая задача
С учетом вышесказанного настоящее изобретение представляет собой попытку отреагировать на вышеназванные проблемы, известные на сегодняшний день, и решить их. Цель настоящего изобретения заключается в обеспечении пневматического устройства для акупрессуры волосистой части головы, в котором группа пневматических цилиндров, каждый из которых имеет акупрессурную насадку, расположена в заданной полости, сформированной между внутренней и внешней оболочками, изготовленными из вспененного синтетического полимерного материала и обладающими малым весом и превосходной прочностью, при этом общий вес оказывается небольшим, не возникает шума и вибрации, и устройство очень легко использовать и переносить.
Техническое решение
Для достижения поставленной цели в настоящем изобретении предложено пневматическое устройство для акупрессуры волосистой части головы, содержащее: шлем, содержащий внутреннюю и внешнюю оболочки, имеющие форму полусферы и выполненные из вспененного синтетического полимерного материала, и полость, сформированную между внутренней оболочкой и внешней оболочкой; группу пневматических цилиндрических элементов, установленных радиально в полости шлема, причем на нижнем конце каждого пневматического цилиндра установлена акупрессурная насадка, проходящая сквозь внутреннюю оболочку шлема; генератор пневматического давления, создающий давление воздуха, подаваемое внутрь каждого из пневматических цилиндрических элементов, причем генератор пневматического давления содержит воздушный насос и воздушный клапан, связанные с группой пневматических цилиндров посредством пневмопровода, и блок управления, управляющий работой воздушного насоса и воздушного клапана.
Согласно настоящему изобретению каждый из пневматических цилиндрических элементов содержит собственно цилиндр цилиндрической формы с воздушным патрубком, выполненным в его верхней части; нажимную пластину, установленную внутри цилиндра; шток, верхний конец которого жестко прикреплен к нижней стороне нажимной пластины, а нижний конец выдается наружу сквозь нижний торец цилиндра; пружину, надетую на шток таким образом, что она находится между нижней стороной нажимной пластины и нижней поверхностью цилиндра; акупрессурную насадку, с натягом надетую на нижний конец штока.
Также, согласно настоящему изобретению, в пневматическом устройстве для акупрессуры волосистой части головы внутренняя оболочка шлема, предпочтительно, может дополнительно содержать установленные на ее внутренней поверхности светодиоды дальнего инфракрасного диапазона, испускающие излучение дальнего инфракрасного диапазона.
Описание чертежей
На фиг.1 показано в аксонометрии пневматическое устройство для акупрессуры волосистой части головы согласно настоящему изобретению;
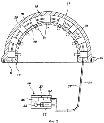
на фиг.2 показан вид в разрезе пневматического устройства для акупрессуры волосистой части головы согласно настоящему изобретению;
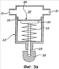
на фиг.3а, б показан вид в разрезе пневматического цилиндрического элемента 20 пневматического устройства для акупрессуры волосистой части головы согласно настоящему изобретению;
на фиг.4а-4г показан вид в разрезе, иллюстрирующий примерную форму акупрессурной насадки 26 пневматического устройства для акупрессуры волосистой части головы согласно альтернативным реализациям настоящего изобретения; и
на фиг.5 схематически показано расположение акупрессурных насадок 26 и светодиодов, испускающих излучение дальнего инфракрасного диапазона, которые установлены на внутренней поверхности внутренней оболочки 12 шлема пневматического устройства для акупрессуры волосистой части головы согласно одной из реализаций настоящего изобретения.
Оптимальный вариант реализации
Ниже приводится подробное описание предпочтительной реализации настоящего изобретения со ссылкой на прилагаемые чертежи.
Как показано на фиг.1, пневматический аппарат для акупрессуры волосистой части головы согласно настоящему изобретению содержит шлем 10, группу пневматических цилиндров 20 (на фиг.1 не показаны), установленных радиально внутри шлема 10, и генератор 30 пневматического давления, связанный с группой пневматических цилиндров 20 через пневмопровод 31 таким образом, что создаваемое давление воздуха передается внутрь пневматических цилиндрических элементов. На фиг.1 обозначение 32 относится к электрическому проводу, не показанному на чертеже.
Как показано на фиг.2, шлем 10 имеет двойную конструкцию, содержащую внутреннюю оболочку 12 и внешнюю оболочку 14. Внутренняя оболочка 12 выполнена в форме полусферы и на нижнем торце имеет бортик 11, проходящий по периметру нижнего края и направленный наружу. Внутренняя оболочка 12 также имеет группу отверстий, предназначенных для установки в них группы пневматических цилиндрических элементов 20. Внешняя оболочка 14 также имеет форму полусферы, при этом край нижней стороны по периметру контактирует с верхней поверхностью отходящего наружу бортика 11 внутренней оболочки 12. Контактирующая часть между внутренней оболочкой 12 и внешней оболочкой 14 может быть склеена воедино посредством клейкого вещества или же может быть скреплена посредством крепежного винта с возможностью сборки и разборки. Равноудаленные друг от друга внутренняя оболочка 12 и внешняя оболочка 14 ограничивают полость 15.
В заявленном изобретении шлем 10 выполнен из экструдированного вспененного синтетического полимерного материала, который является легким и жестким, предпочтительно из экструдированного пенополистирола (так называемого, экструдированного стирофома). Наружная поверхность внешней оболочки 14 окрашена в различные цвета в зависимости от предпочтений пользователей. Для удобства пользователя у нижнего края шлема 10 может быть прикреплен подбородочный ремень (не показан).
Далее, как показано на фиг.3, в полости 15 шлема 10 радиально установлена группа пневматических цилиндрических элементов 20, причем каждый пневматический цилиндрический элемент содержит собственно цилиндр 22 цилиндрической формы; шток 23, вставленный своим верхним концом в цилиндр 22 и имеющий такую длину, что его нижний конец, выходя из цилиндра 22, выдвигается внутрь внутренней оболочки 12; нажимную пластину 24, установленную на верхней поверхности штока 23; пружину 25, надетую на шток 23 таким образом, что она располагается между нижней 5 стороной нажимной пластины 24 и нижней поверхностью цилиндра 22; акупрессурную насадку 26, надетую с натягом на нижний конец штока 23. Нижний конец штока 23 проходит сквозь внутреннюю оболочку 12 шлема 10, при этом акупрессурная насадка 26 находится внутри внутренней оболочки 12 шлема 10.
Цилиндр 22 предпочтительно имеет два воздушных патрубка 21 с обеих сторон своей верхней части. Воздушные патрубки 21 соединяются с воздушными патрубками 21 соседних цилиндров 22 посредством пневмопровода 31 и, в конечном счете, соединяются с генератором 30 пневматического давления. Таким образом, между верхней границей 15 цилиндра 22 и верхней поверхностью нажимной пластины 24 формируется пневмокамера 27, что позволяет нагнетать через пневмопровод 31 пневматическое давление в пневмокамеру 27, оказывая пневматическое воздействие. Между нижней стороной нажимной пластины 24 и нижним основанием цилиндра 22 действует сила упругого восстановления пружины 25. Пневмокамеры 27 всех цилиндров 22 соединены друг с другом посредством пневмопровода 31 с возможностью протекания среды, что объединяет их в одну пневматическую систему.
В предпочтительной реализации настоящего изобретения, как показано на фиг.3, на верхней поверхности нажимной пластины 24 установлена герметизированная пластина 28, изготовленная из силикона или резины. Гибкая герметизированная пластина 28 имеет круглую форму, и ее наружный край по периметру закреплен на ступенчатом участке, выполненном по периметру внутренней поверхности цилиндра 22, сохраняя герметичность внутри пневмокамеры 27. Герметизированная пластина 28 изготавливается из гибкого материала, который может легко растягиваться при расширении пневмокамеры 27. По периметру внешнего края герметизирующей пластины 28 предпочтительно выполнен кольцевой изогнутый участок. При расширении пневмокамеры 27, как показано на фиг.3, герметизированная пластина 28 с усилием надавливает на нажимную пластину 24 вниз, одновременно растягиваясь вниз.
Согласно настоящему изобретению акупрессурная насадка 26 с натягом надета на нижний конец штока 23 с возможностью быть снятой со штока 23. Акупрессурная насадка 26 выполнена из полиуретана или силикона, обладающих соответствующей прочностью для того, чтобы прикладывать физическое акупрессурное воздействие на волосистую часть головы пользователя, не подвергая ее в то же время чрезмерному ударному воздействию. Материал акупрессурной насадки 26 может, при необходимости, содержать анионитные или бактерицидные материалы, например древесный уголь, турмалин, биокамень, наносеребро и др.
Согласно настоящему изобретению акупрессурной насадке 26 могут быть приданы при изготовлении различная форма и высота, что позволяет выбирать необходимый вариант в зависимости от потребностей пользователя. Так, акупрессурная насадка 26b, показанная на фиг.4б, выше, чем насадка, показанная на фиг.4а, а акупрессурная насадка 26с, показанная на фиг.4в, имеет большую поверхность, чем насадка, показанная на фиг.4а. Далее, в акупрессурной насадке 26d, показанной на фиг.4г, выполнено несколько пазов на верхней поверхности и несколько выступов на нижней поверхности таким образом, что пазы и выступы соответствующим образом зацепляются друг за друга, позволяя регулировать высоту акупрессурной насадки 26d. Выступы, образованные на нижней стороне акупрессурной насадки 26d, предназначены для усиления эффекта акупрессурного массажа.
Наконец, генератор 30 пневматического давления создает давление воздуха и передает его внутрь пневмокамеры 27 пневматического цилиндрического элемента 20; он включает в себя воздушный насос 33 и воздушный клапан 34, связанные с группой пневматических цилиндров 20 посредством пневмопровода 31; двигатель 35, приводящий в действие воздушный насос 33; блок управления 36, управляющий работой воздушного насоса 33, воздушного клапана 34 и двигателя 35. При запуске воздушного насоса 33 пневматическое давление через пневмопровод 31 нагнетается в пневмокамеры 27 всех пневматических цилиндрических элементов 20. Когда внутреннее давление пневмокамеры 27 превышает силу упругого восстановления пружины 25, нажимная пластина 24 и шток 23 опускаются, при этом акупрессурные насадки 26 оказывают акупрессурное воздействие на волосистую часть головы пользователя, как показано на фиг.3б. И, наоборот, при открытии воздушного клапана 34 пневматическое давление пневмокамеры 27 спускается через воздушный клапан 34. При этом, когда внутреннее давление пневмокамеры 27 окажется меньше силы упругого восстановления пружины 25, нажимная пластина 24 и шток 23 поднимаются, благодаря чему акупрессурные насадки 26 отходят на некоторое расстояние от волосистой части головы пользователя, как показано на фиг.3а. Таким образом группа акупрессурных насадок 26 многократно перемещается по вертикали, оказывая акупрессурное воздействие на волосистую часть головы пользователя.
Согласно настоящему изобретению можно, например, посредством блока управления 36 установить продолжительность работы воздушного насоса 33 в три секунды и продолжительность открытия воздушного клапана 34 в одну секунду. С помощью управляющего устройства 36 можно также установить продолжительность работы воздушного насоса 33 от шести до девяти секунд и продолжительность открытия воздушного клапана 34 от двух до трех секунд.
Кроме этого, в другой реализации настоящего изобретения, как показано в фиг.5, внутренняя оболочка 12 шлема 10 может дополнительно содержать на своей внутренней поверхности светодиоды 40, испускающие излучение дальнего инфракрасного диапазона. Светодиоды 40 дальнего инфракрасного диапазона устанавливаются в двух или трех местах между акупрессурными насадками 26 и соединяются с управляющим устройством 36 и источником питания посредством электрического провода 32. Известно, что инфракрасное излучение дальнего диапазона, испускаемое светодиодами 40 дальнего инфракрасного диапазона, стимулирует функцию клеток волосяных фолликулов на поверхности головы пользователя и кровообращение в капиллярах, окружающих волосяные фолликулы, что предотвращает облысение и способствует росту волос.
Промышленная применимость
Как было раскрыто выше, в пневматическом аппарате для акупрессуры волосистой части головы согласно настоящему изобретению в заданной полости, сформированной между внутренней и внешней оболочками, выполненными из экструдированного вспененного синтетического полимерного материала, радиально установлена группа пневматических цилиндров, каждый из которых содержит акупрессурную насадку, а генератор пневматического давления, приводящий в действие пневматические цилиндры, устанавливается отдельно от шлема, благодаря чему общий вес оказывается небольшим, не возникает шума и вибрации и аппарат очень легко использовать и переносить.
В связи с этим можно ожидать, что будет развернуто массовое производство пневматических аппаратов для акупрессуры волосистой части головы, обладающих признаками настоящего изобретения, что позволит поставлять такие аппараты пользователю по относительно низкой цене, таким образом, еще больше пациентов, страдающих от алопеции или хронической головной боли, смогут приобрести их для домашнего или личного применения и с удобством пользоваться ими всякий раз, когда будет показан акупрессурный массаж.
Хотя изобретение было описано применительно к тому, что в настоящее время рассматривается как практические примерные реализации изобретения, следует понимать, что настоящее изобретение не ограничивается раскрытыми реализациями, а напротив, охватывает различные модификации и эквивалентные конструкции, соответствующие духу и содержанию пунктов прилагаемой формулы изобретения.
Формула изобретения
1. Пневматическое устройство для акупрессуры волосистой части головы, содержащее: шлем, содержащий внутреннюю оболочку и внешнюю оболочку, имеющие форму полусферы и изготовленные из экструдированного вспененного синтетического полимерного материала, и полость, выполненную между внутренней оболочкой и внешней оболочкой; группу пневматических цилиндрических элементов, установленных радиально в полости шлема, причем каждый пневматический цилиндрический элемент содержит собственно цилиндр цилиндрической формы с воздушным патрубком, выполненным в его верхней части; нажимную пластину, установленную внутри цилиндра; шток, верхний конец которого жестко прикреплен к нижней стороне нажимной пластины, а нижний конец выдается наружу сквозь нижний торец пневматического цилиндра; пружину, надетую на шток таким образом, что она расположена между нижней стороной нажимной пластины и нижней поверхностью цилиндра и акупрессурную насадку, с натягом надетую на нижний конец штока, причем акупрессурная насадка является регулируемой по высоте и выполнена из полиуретана или силикона; нижний конец штока проходит сквозь внутреннюю оболочку шлема, при этом акупрессурная насадка находится внутри внутренней оболочки шлема; и генератор пневматического давления, выполненный с возможностью создания давления воздуха, передаваемого внутрь цилиндра цилиндрической формы, и содержащий воздушный насос и воздушный клапан, связанные с группой пневматических цилиндров посредством пневмопровода, и блок управления, выполненный с возможностью управления работой воздушного насоса 33 и воздушного клапана 34.
2. Пневматическое устройство по п.1, в котором внутренняя оболочка шлема дополнительно содержит на своей внутренней поверхности светодиоды дальнего инфракрасного диапазона, имеющие возможность испускания излучения дальнего инфракрасного диапазона.
3. Пневматическое устройство по п.1 или 2, в котором цилиндр каждого пневматического цилиндрического элемента содержит ступенчатый участок, выполненный вдоль внутреннего периметра стенки, с возможностью закрепления на нем гибкой герметизированной пластины, при этом нажимная пластина установлена с нижней стороны герметизированной гибкой пластины.
4. Пневматическое устройство по п.1 или 2, в котором акупрессурная насадка является съемной со штока.
РИСУНКИ
|
|