Патент на изобретение №2386425

Published by on




РОССИЙСКАЯ ФЕДЕРАЦИЯ



ФЕДЕРАЛЬНАЯ СЛУЖБА
ПО ИНТЕЛЛЕКТУАЛЬНОЙ СОБСТВЕННОСТИ,
ПАТЕНТАМ И ТОВАРНЫМ ЗНАКАМ
(19) RU (11) 2386425 (13) C1
(51) МПК

A61F13/15 (2006.01)
A61F13/56 (2006.01)

(12) ОПИСАНИЕ ИЗОБРЕТЕНИЯ К ПАТЕНТУ

Статус: по данным на 28.09.2010 – действует

(21), (22) Заявка: 2008129664/14, 21.12.2005

(24) Дата начала отсчета срока действия патента:

21.12.2005

(46) Опубликовано: 20.04.2010

(56) Список документов, цитированных в отчете о
поиске:
US 6004306, 21.12.1999. ЕР 0910323, 28.04.1999. RU 94027296, 10.08.1996.

(85) Дата перевода заявки PCT на национальную фазу:

21.07.2008

(86) Заявка PCT:

SE 2005/002008 20051221

(87) Публикация PCT:

WO 2007/073255 20070628

Адрес для переписки:

129090, Москва, ул.Б.Спасская, 25, стр.3, ООО “Юридическая фирма Городисский и Партнеры”, пат.пов. С.А.Дорофееву, рег. 146

(72) Автор(ы):

ЯНССОН Филип (SE)

(73) Патентообладатель(и):

СКА ХАЙДЖИН ПРОДАКТС АБ (SE)

(54) БОКОВАЯ ВСТАВКА ДЛЯ АБСОРБИРУЮЩЕГО ИЗДЕЛИЯ, ТАКОГО КАК ПОДГУЗНИК, ЗАЩИТНОЕ ИЗДЕЛИЕ ПРИ НЕДЕРЖАНИИ ИЛИ ПОДОБНОЕ

(57) Реферат:

Изобретение относится к медицине, а именно к абсорбирующему изделию, такому как подгузник, защитное средство при недержании, имеющему переднюю область, заднюю область и ластовичную область, расположенную между передней и задней областями. Изделие включает в себя центральную часть с двумя продольными краями и двумя поперечными краями и боковые вставки, расположенные в задней области изделия, расположенные вдоль продольных краев центральной части. Каждая боковая вставка включает в себя заднюю часть и переднюю часть, которые вытянуты в поперечном направлении от центральной части, и передняя часть расположена на продольном крае центральной части на первом расстоянии от поперечного края на задней области. Задняя часть является эластичной, и передняя часть является, по существу, не эластичной. Изобретение позволяет улучшить облегаемость и мягкость изделия. 9 з.п. ф-лы, 7 ил.

Область техники

Изобретение относится к боковой вставке для абсорбирующего изделия, такого как подгузник, защитное средство при недержании или подобное, в котором боковая вставка включает в себя заднюю эластичную часть и, по существу, не эластичную переднюю часть. Абсорбирующее изделие имеет проницаемый для жидкости верхний слой, защитный слой и абсорбирующую основную часть, заключенную между ними. Изделие дополнительно имеет переднюю область, заднюю область и ластовичную часть, расположенную между передней и задней областями.

Уровень техники

Традиционные абсорбирующие изделия такого типа обычно имеют застегивающую систему для застегивания абсорбирующего изделия вокруг пользователя. Изделие обеспечивается так называемыми боковыми вставками, которые плотно прилегают к телу пользователя в области вокруг бедер пользователя так, что изделие надежно облегает тело пользователя эластичным образом, что предоставляет пользователю движение без затруднений. Боковые вставки можно изготовить из того же типа материала, что и остальную часть изделия, и они часто образуют удлинение материала защитного слоя и верхнего слоя изделия в поперечном направлении изделия. Недостаток этого типа традиционных боковых вставок заключается в том, что боковые вставки часто сгибаются, когда изделие находится на пользователе. Согнутые боковые вставки придают изделию плохое прилегание, которое может привести к натиранию или раздражению кожи. Для предоставления лучшего прилегания боковые вставки можно эластифицировать. Эластичная боковая вставка имеет недостаток, который заключается в том, что она является дорогостоящей по сравнению с традиционным типом боковых вставок, а также их труднее оптимизировать с точки зрения материала, для получения хорошего прилегания. Другой недостаток заключается в том, что традиционные эластичные боковые вставки иногда не взаимодействуют с другими эластичными элементами в абсорбирующем изделии эффективным образом. Примеры эластичных боковых вставок даются в WO 03/047488 и ЕР 0729332.

Сущность изобретения

Задача настоящего изобретения заключается в обращении к вышеупомянутым проблемам и предоставлении абсорбирующего изделия с боковой вставкой, которая имеет относительно низкую стоимость материала и изготовления и которая одновременно позволяет изделию стабильно облегать пользователя, и которая также мягкая и удобная по отношению к телу человека, использующего изделие.

Абсорбирующее изделие в соответствии с настоящим изобретением отличается тем, что оно включает в себя подгузник, защитное средство при недержании или подобное, в котором изделие имеет переднюю область, заднюю область и ластовичную область, расположенную между передней и задней областями. Изделие включает в себя центральную часть с двумя продольными краями и двумя поперечными краями. Боковые вставки располагаются на задней области изделия, располагаясь на каждой стороне центральной части вдоль продольных краев центральной части. Каждая боковая вставка включает в себя заднюю часть и переднюю часть, которые вытягиваются в поперечном направлении от центральной части. Передняя часть боковой вставки располагается на продольном крае центральной части на первом расстоянии от поперечного края на задней области. Задняя часть боковой вставки является эластичной, и передняя часть является, по существу, не эластичной.

Описание изобретения

Посредством настоящего изобретения предоставлено абсорбирующее изделие типа, упомянутого во введении, причем изделие, по существу, избегает описанных ранее проблем.

Абсорбирующее изделие предназначено для заключения нижней части туловища пользователя подобно паре абсорбирующих трусов. Оно имеет переднюю область, предназначенную для обращения вперед на пользователе при применении, заднюю область, предназначенную для обращения назад на пользователе при применении, и более узкую ластовичную область, расположенную между передней и задней областью, которая предназначена для размещения в ластовице пользователя между его ногами.

Абсорбирующее изделие в соответствии с изобретением состоит из подгузника или защитного средства при недержании, включающего в себя центральную часть, которая имеет два продольных края и два поперечных края. Боковые вставки располагаются на задней области изделия так, что они располагаются на соответствующих сторонах центральной части в поперечном направлении вдоль продольных краев центральной части. Центральная часть включает в себя проницаемый для жидкости верхний слой, материал защитного слоя и абсорбирующую основную часть, заключенную между ними. Для получения стабильной надежности изделия на пользователе боковые вставки должны объединяться с другими компонентами абсорбирующего изделия, которые вносят вклад в хорошее прилегание. Следовательно, боковые вставки в соответствии с изобретением включают в себя заднюю часть и переднюю часть, которые вытягиваются в поперечном направлении от центральной части. Таким образом, задняя часть может объединяться с задней областью изделия для получения хорошего прилегания вокруг талии пользователя, и передняя часть может объединяться с эластичными элементами в ластовичной области изделия. Для того чтобы задние и передние части боковых вставок не сгибались в области вокруг бедер пользователя, передняя часть располагается на первом расстоянии от поперечного края на задней области на продольных краях центральной части. Также важно, чтобы изделие не облегало слишком плотно талию пользователя и также предлагало пользователю гибкость и мягкость, когда изделие располагается на теле пользователя. Следовательно, задняя часть боковой вставки изготавливается из эластичного материала. Однако передняя часть боковой вставки должна гарантировать хорошее безопасное прилегание, а также объединяться эффективно с теми эластичными элементами, которые располагаются на ластовичной области изделия. Это достигается передней частью боковых вставок, которая является, по существу, не эластичной.

По меньшей мере, одна застегивающая планка располагается на передней или задней части абсорбирующего изделия для прикрепления абсорбирующего изделия вокруг талии пользователя. Застегивающая планка предназначена для соединения задней и передней областей абсорбирующего изделия друг к другу с помощью застегивающего элемента, расположенного на застегивающей планке, которая пристегивается относительно принимающей части для застегивающего элемента, которая располагается на передней или задней части абсорбирующего изделия. В соответствии с подходящим вариантом осуществления изделие обеспечивается двумя застегивающими планками, расположенными на задних боковых вставках изделия, одной застегивающей планкой на каждой задней боковой вставке и принимающей частью на передней области изделия. Принимающая часть подходящим образом выполняется в форме полосы, которая вытягивается в поперечном направлении параллельно или, по существу, параллельно с передним конечным краем подгузника вдоль относительно большой части поперечного края на передней области. Принимающая часть включает в себя материал, который приспособлен для объединения с застегивающим элементом. Предпочтительно принимающая часть включает в себя охватывающий элемент (петлю) застежки типа крючок-петля, и застегивающий элемент включает в себя охватываемый элемент (крючок) застежки типа крючок-петля. Охватывающий и охватываемый элементы застежки типа крючок-петля обычно состоят из материала-носителя и материала, расположенного на материале-носителе, который образует либо ободы или петли, либо захваты или крючки соответственно.

Когда изделие правильно соответствует пользователю, т.е. когда пользователь носит изделие правильного размера, оно должно быть сформировано так, чтобы оно прилегало стабильно к телу пользователя. Для получения стабильного застегивания изделия застегивающий элемент застегивающих планок должен застегиваться относительно принимающей части так, чтобы застегивающая система объединялась с другими компонентами изделия наиболее подходящим образом.

Краткое описание чертежей

Далее изобретение будет описываться более подробно со ссылкой на варианты осуществлений, показанные на чертежах.

Фиг.1 показывает вид сверху подгузника в соответствии с изобретением.

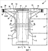
Фиг.2 показывает поперечное сечение по линии II-II по подгузнику Фиг.1.

Фиг.3 и 4 показывают виды сверху различных вариантов осуществлений подгузников в соответствии с изобретением.

Фиг.5 показывает вид сверху боковой вставки в соответствии с изобретением.

Фиг.6а-6с показывают виды сверху различных вариантов осуществлений боковых вставок в соответствии с изобретением.

Фиг.7а-7с показывают виды сверху различных вариантов осуществлений боковых вставок в соответствии с изобретением.

Подробное описание чертежей и вариантов осуществлений

Абсорбирующее изделие, показанное на фиг.1-2, включает в себя подгузник или защитное средство при недержании 1. При использовании подгузник предназначен для охватывания нижней части живота пользователя подобно паре абсорбирующих трусов. Подгузник имеет центральную часть 1а, которая включает в себя проницаемый для жидкости верхний слой 2, защитный слой 3 и абсорбирующую основную часть 4, заключенную между ними. Центральная часть включает в себя два продольных края 5 и два поперечных края 6. Подгузник имеет переднюю область 7, предназначенную для обращения вперед на пользователе при использовании, заднюю область 8, предназначенную для обращения назад на пользователе при использовании, и ластовичную область 9, расположенную между передней и задней областью, которая предназначена для размещения в ластовице пользователя между его ногами. Подгузник также включает в себя боковые вставки 1b, расположенные на задней области, которые располагаются вдоль продольных боковых краев 5 центральной части.

Как показано на фиг.1, центральная часть 1а имеет форму, которая является удлиненной в продольном направлении. Центральная часть 1а, показанная на фиг.1, имеет форму песочных часов с шириной в поперечном направлении, которая больше в передней области 7 и задней области 8, чем в ластовичной области 9. Форма песочных часов придает подгузнику хорошее прилегание, которое позволяет ему прилегать плотно вокруг пользователя подходящим образом. Центральная часть 1а также может быть, например, прямоугольной, см. фиг.3, или Т-образной, см. фиг.4. Прямоугольная центральная часть имеет продольные края 5, которые, по существу, параллельны друг другу, и поперечные края 6, которые, по существу, параллельны друг другу. Прямоугольная форма имеет преимущество в том, что ее просто изготовить, и также она является относительно дешевой, так как при изготовлении можно избежать ненужных потерь материала, когда составляющий материал может соответствовать ширине центральной части в поперечном направлении. Т-образная центральная часть 1а шире в передней области 7 в поперечном направлении, чем в ластовичной и задней областях 9, 8, см. фиг.4. Т-образная форма имеет преимущество в том, что она предоставляет подгузнику форму, которая имеет удобное и стабильное прилегание, при котором передняя область 7 прилегает удобным образом вокруг пользователя на области вокруг талии пользователя с большей шириной в передней области 7, чем в случае прямоугольной центральной части.

Подгузник подходящим образом является симметричным по отношению к выровненной продольно оси 10 подгузника. Поперечное направление подгузника является направлением, которое вытягивается через изделие и является параллельным или, по существу, параллельным поперечной оси 11, которая образует прямой угол с продольной осью 10.

Проницаемый для жидкости верхний слой 2 предпочтительно состоит из материала, который проявляет свойства, такие как сухость и мягкость при использовании абсорбирующего изделия, так как этот слой прилегает к телу пользователя. Желательно, чтобы слой имел мягкую и похожую на текстиль поверхность, которая остается сухой даже при повторном увлажнении. Верхний слой можно образовать, например, из нетканого материала с мягкой и гладкой поверхностью, такого как например, спряденные полипропиленовые волокна, вспученный материал или скрепленный кардный волокнистый материал. Для того чтобы сохранить сухой поверхность, самую близкую к коже пользователя, можно применять гидрофобный нетканый материал, который перфорирован так, чтобы образовались отверстия на материале, которые больше, чем пространство между волокнами в материале. Таким образом, жидкость может поступать через перфорированные отверстия в верхнем слое вниз к нижележащей абсорбирующей основной части. Другими примерами материалов верхнего слоя могут являться, например, перфорированные пластичные пленки, такие как, например, перфорированная полиэтиленовая пленка.

Материал защитного слоя 3 является подходящим образом непроницаемым для жидкости и его можно образовать из тонкой пленки полиэтилена (РЕ), полипропилена (РР) или другого подходящего материала, гидрофобного нетканого слоя или ламината тонкой пленки и нетканого материала. Этот тип ламината часто применяется для получения мягкой и похожей на текстиль внешней поверхности защитного слоя. Для предоставления более воздушного и удобного изделия также возможно использовать воздухопроницаемые защитные слои, которые предотвращают выделение жидкости из абсорбирующего изделия, но которые позволяют вентиляцию влаги. Эти воздухопроницаемые защитные слои можно изготовить из однократного материального слоя или ламината, например, выдувных или сформованных полиэтиленовых волокон, которые ламинируются, например, с нетканым слоем спряденного или спряденного-вспученного-спряденного материала (SMS).

Материалы верхнего слоя 2 и защитного слоя 3 имеют до некоторой степени большую плоскую протяженность, чем абсорбирующая основная часть 4, и выступают за пределы ее краев. Слои 2 и 3 скрепляются внутри с выступающими частями, например, посредством склеивания или сваривания при нагревании или ультразвука. Их также можно скрепить с адсорбирующей основной частью, например, с помощью клея.

Абсорбирующая основная часть 4 может быть любого традиционного типа. Обычно абсорбирующая основная часть формируется из одного или более слоев волокон целлюлозы, например распушенной массы целлюлозы. Другими материалами, которые можно применять, являются, например, абсорбирующий нетканый материал, вспененный материал, синтетический волокнистый материал или торф. Кроме волокон целлюлозы или другого абсорбирующего материала, абсорбирующая основная часть может также содержать сверхабсорбирующий материал, так называемый SAP (сверхабсорбирующие полимеры), т.е. материал в форме волокон, частиц, гранул, пленок или подобного, который имеет способность абсорбировать жидкость, эквивалентную нескольким разам массы сверхабсорбирующего материала. Сверхабсорбирующий материал улавливает жидкость и образует содержащий жидкость гель. Абсорбирующая основная часть может дополнительно включать в себя связующее вещество, стабилизирующий форму компонент или подобное. Кроме того, можно также применять абсорбирующие слои, которые улучшают абсорбирующие свойства, такие как различные типы распределяющего жидкость материального слоя или вкладыша, так называемой подкладки. Абсорбирующую основную часть 4 можно химически или физически обработать для изменения ее абсорбирующих свойств. Например, возможно предоставить абсорбирующий слой со сжатиями для регулирования потока жидкости в абсорбирующую основную часть. Также возможно заключить абсорбирующий слой или абсорбирующие слои в оболочку, например, тканевого материала. Абсорбирующая основная часть 4 обычно имеет продольно вытянутую форму и может, например, быть, по существу, прямоугольной, Т-образной или в форме песочных часов. Абсорбирующая основная часть 4 подходящим образом подгоняется к форме центральной части 1а, см. фиг.1, 3 и 4. Также возможно комбинировать различные формы центральной части 1а и абсорбирующей основной части 4. В Т-образной абсорбирующей основной части более широкая часть в поперечном направлении предназначена для обращения к передней области абсорбирующего изделия при использовании так, чтобы она пролегала в области вокруг брюшной полости пользователя при применении. Абсорбирующая основная часть в форме песочных часов шире в передней и задней областях, чем в ластовичной области так, чтобы обеспечить эффективное поглощение жидкости, в то же самое время, так как конструкция делает более легким для изделия принимать форму и уплотняться плотно вокруг пользователя.

Части, которые выступают за пределы абсорбирующей основной части на соответствующих сторонах ластовичной области 9 в поперечном направлении, предпочтительно обеспечиваются одним или более эластичными элементами 12, которые вытягиваются, по существу, в продольном направлении подгузника, см. фиг.1 и 2. Эластичные элементы 12 функционируют как ножные резинки и предназначены для предотвращения вытекания жидкости и фекальных масс через продольные края подгузника и таким образом образуют барьеры для жидкости. Эластичные элементы могут включать в себя одну или более эластичных нитей или полос, которые применяются в натянутом состоянии между защитным слоем и верхним слоем. Также возможно применять резинку на внешней стороне защитного слоя или на внутренней стороне верхнего слоя. Эластичные элементы можно также образовать из эластичного вспененного материала, например полиуретановой пены, которая применяется между обоими слоями таким же образом, как и эластичные нити.

Для того чтобы дополнительно препятствовать вытеканию жидкости или фекальных масс, абсорбирующее изделие можно обеспечить внутренними барьерами 13 для жидкости на стороне, которая обращается к пользователю, которые фиксируются в связи с продольными краями на внутренней стороне внешних барьеров для жидкости, см. фиг.1 и 2. Внутренние барьеры 13 для жидкости предпочтительно образуются, по существу, из непроницаемого для жидкости материала, такого как гидрофобный нетканый материал или пластичная пленка, и они сформированы как продольная кромка с первым краем 14, который присоединяется к абсорбирующему изделию, и вторым свободным краем 15, который предназначен для пролегания прямо напротив пользователя при применении абсорбирующего изделия. Второй свободный край обеспечивается одним или более эластичными элементами 16, предпочтительно эластичной нитью, которая в сжатом состоянии натягивает второй свободный край вместе так, чтобы образовался вертикальный барьер. Внутренний барьер можно образовать как полосу однократного слоя, в которой второй свободный край 15 сгибается так, чтобы оградить эластичные элементы и предотвратить прямой контакт между эластичными нитями и пользователем. Альтернативно барьер можно образовать из двух соединенных слоев с эластичными нитями, зафиксированными между слоями на крае свободного края. Внутренний слой барьера может здесь включать в себя протяженность верхнего слоя и защитного слоя, по существу, проницаемого для жидкости материала, или внутренний и внешний слой барьера можно образовать из такой же материальной полосы, которая обертывается вокруг эластичных нитей.

Заднюю и/или переднюю области также можно снабдить так называемой резинкой на талии 17, которая образуется из эластичных элементов, расположенных вдоль поперечных краев 6 на задней области 8 и/или передней области 7 так, что изделие окружает талию пользователя мягким и гибким образом. Эластичные элементы 17 подходящим образом фиксируются между материалом защитного слоя и верхним слоем с помощью склеивания или сваривания, например ультразвукового сваривания. Эластичные элементы 17 могут включать в себя одну или более эластичных нитей, которые применяются в натянутом состоянии между слоями и таким образом образуют резинку на талии. Другим распространенным типом подходящей резинки является эластичный вспененный материал, включающий в себя тонкую полосу, например, полиуретановой пены, которая может применяться между обоими слоями таким же образом, как и эластичные нити. Конечно, также возможно поместить эластичный элемент резинки на талии на внешней стороне защитного слоя или на внутренней стороне верхнего слоя.

Как ранее описывалось, боковые вставки 1b располагаются на задней области 8 и располагаются на соответствующих сторонах центральной части 1а вдоль продольных краев 5 центральной части. Боковые вставки 1b вытягиваются в поперечном направлении от центральной части 1а, см. фиг.1, и включают в себя в соответствии с изобретением заднюю часть 18 и переднюю часть 19, которые вытягиваются в поперечном направлении от центральной части 1а. Протяженность боковых вставок в поперечном направлении можно адаптировать к центральной части 1а, на которой они применяются, в зависимости от общей ширины, которую изделие должно иметь в поперечном направлении. Протяженность боковых вставок 1b в продольном направлении подгузника можно также адаптировать различными способами в зависимости от подгузника, на котором их следует применять, а также от свойств, которые подгузник должен иметь. Цель разделения боковых вставок 1b на заднюю часть 18 и переднюю часть 19 заключается в гарантии того, что подгузник обеспечивает хорошее прилегание при использовании. Подгузник должен прилегать надежно и удобно к телу пользователя, а также быть гибким и удобным, когда пользователь двигается с подгузником, застегнутым на его теле.

Задние части 18 боковых вставок 1b имеют проксимальные края 20, вытягивающиеся в продольном направлении подгузника, которые скрепляются с продольными краями 5 на задней области 8 центральной части 1а, а также дистальные края 21, которые соединяются с дистальными краями 23 передней части 19 боковых вставок, см. фиг.1 и 5. Таким же образом, как и для задних частей 18, передние части 19 имеют проксимальные края 22, вытягивающиеся в продольном направлении, которые соединяются с центральной частью 1а. Следует отметить, что нет необходимости, чтобы продольные края 5 центральной части были параллельными продольной оси 10. В соответствии с изобретением они могут также вытягиваться под углом к продольной оси, до тех пор пока они имеют протяженность от заднего поперечного края 6 подгузника и по направлению к ластовичной области 9. То же самое можно применить к проксимальным краям 20, так как они соединяются с продольными краями 5 на задней области 8. Протяженность задних частей 18 в поперечном направлении можно варьировать различными способами в зависимости от подгузника, на котором они применяются. Задний край 33 и передний край 24 задних частей 18 могут быть или параллельными к поперечной оси 11, или вытягиваться под углом к поперечной оси 11, см. фиг.5. Задний край 33 может или быть параллельным передним краям 24, или вытягиваться не параллельно с передними краями 24. Так как задние части 18 должны объединяться наиболее эффективным возможным способом с задней областью 8 центральной части и любой резинкой на талии 17, для специалиста возможно регулировать части относительно друг друга рядом различных способов в рамках сферы применения изобретения. Задние части 18, показанные на фиг.1, имеют проксимальные края 20 и дистальные края 21, которые вытягиваются, по существу, параллельно продольной оси 10. Задние края 33 и передние края 24 являются, по существу, параллельными друг другу и вытягиваются под углом по направлению к передней части, вычисленным из проксимального края 20 к дистальному краю 21 по отношению к поперечной оси 11.

Задние части 18 боковых вставок 1b образуют протяженность задней части задней области 8 центральной части в поперечном направлении, см. фиг.1, и вносят вклад, как ранее описывалось, в хорошее прилегание подгузника вокруг талии пользователя. Задние части 18 соединяются с материалом на задней области 8 центральной части 1b так, что материал вытягивается вместе с задней частью 18 боковой вставки 1b при использовании подгузника к пользователю. Подгузник подходящим образом обеспечивается резинкой на талии 17 на задней области 8, так как это дает очень хорошее прилегание на пользователе. Для того чтобы различные части задней области подгузника объединялись наиболее эффективным образом, задние части 18 боковых вставок 1b являются эластичными. Под эластичным подразумевается, что материал имеет такие свойства, что материал может вытягиваться, когда он подвергается воздействию силы, а затем, по существу, возвращается к своей первоначальной длине, когда сила больше не прикладывается к материалу. Тем, что задние части 18 являются эластичными, они объединяются эффективным образом с резинкой на талии 17, а также с передними частями 19 боковых вставок 1b и обеспечивают очень безопасное и удобное прилегание вокруг тела пользователя.

Задние части 18 боковых вставок можно, например, изготовить из эластичного ламината. Ламинат можно образовать из различных типов двух или более материалов. Подходящей комбинацией материалов является применение двух слоев нетканого материала на любой стороне эластичной пленки. Примеры ламинатов этого типа даются в WO 03/047488 и ЕР 0729332. Также возможно применять эластичную пленку в комбинации только с одним слоем нетканого материала или нескольких слоев эластичного материала в комбинации с одним или более неткаными слоями. Другая возможность заключается в применении двух или более не эластичных материалов и предоставлении их с эластичными элементами 27 в форме нитей, полос или вспененного материала, см. фиг.6а. Один возможный вариант осуществления заключается в применении одинакового материала на задних частях 18 боковых вставок 1b как на верхнем слое 2, так и на защитном слое 3 центральной части 1а. Растянутые эластичные нити можно затем применить между верхним слоем и защитным слоем для придания задним частям 18 эластических свойств. Эластичные нити 27 можно прикрепить к окружающему материалу клеем или материалами, приваренными прочно друг к другу таким образом, что нити 27 приклеиваются между материальными слоями. Те части задних частей 18, которые обращены к телу пользователя, следует формировать из мягкого и удобного материала, так как он прилегает прямо напротив тела пользователя при применении подгузника.

Задние части 18 боковых вставок 1b можно образовать из полностью отдельных частей, которые прикрепляются к продольным краям 5 на задней области 8 центральной части 1а, а также к передним частям 19, см. фиг.1. Если применяются отдельные части, их можно, например, приклеить к окружающим частям или прикрепить с помощью ультразвуковой сварки или некоторого другого типа термического скрепления. Также возможно, чтобы задние части 18 боковых вставок 1b были изготовлены из такого же материала, как и центральная часть на области за пределами абсорбирующей основной части 4, см. фиг.6b. В соответствии с этим вариантом осуществления задние части 18 не образуются из отдельных материальных кусков, но предпочтительнее вместо этого включают в себя протяженность верхнего слоя 2 и защитного слоя 3 или только некоторую часть верхнего слоя 2 или защитного слоя 3 вместе с некоторым типом эластичного средства 27.

Передние части 19 боковых вставок 1b предназначены для присоединения дистальных краев 21 задних частей 18 боковых вставок 1b с теми частями продольных краев 5 задней области 8 центральной части 1а, которые граничат на ластовичной области 9, см. фиг.1. Как ранее описывалось, ножные резинки вытягиваются в ластовичной области 9, которые включают в себя эластичные элементы 12, и имеют функцию удерживания подгузника в положении так, что он уплотняется вокруг тела пользователя. Когда подгузник наполняется жидкостью или твердыми фекальными массами, важно, чтобы он удерживался безопасным способом так, чтобы избежать протекания. При гарантии, что эластичное средство 12 в ластовичной области 9 вытягивается и прилегает к телу пользователя до наибольшей возможной степени, получается прилегание, которое сводит к минимуму риск протекания. Следовательно, передние части 19 боковых вставок 1b образуются так, чтобы они объединялись с эластичным средством 12 эффективным образом. Когда подгузник застегивается на пользователе, передние части 19 вытягивают эластичные элементы 12 в ластовичной области. Поэтому, чтобы получить хорошее растягивание, важно, чтобы передние части 19 были, по существу, не эластичными так, чтобы передача натяжения происходила между проксимальными краями 22 передних частей благодаря эластичным элементам 12 и дистальным краям 23, которые соединяются с задними частями 18. Под по существу не эластичным материалом подразумевается материал, который нормально применяется в этом типе абсорбирующего изделия и который не снабжается эластичными элементами в форме нитей или полос или альтернативно эластичными ламинатами, или пленками, в которых эластичными свойствами можно пренебречь. Передние части 19 можно, например, изготовить из нетканого материала или пластичных пленок, или комбинаций этих материалов. Другая возможность состоит в применении одинакового типа эластичного ламината, который применяется в задних частях 18, но в котором резинка сделана неэффективной, например, при термообработке, такой как ультразвуковая сварка. Таким же образом, как и для задних частей 18, стороны передних частей 19, которые обращаются к телу пользователя, следует изготавливать из мягкого и удобного материала.

Передние части 19 боковых вставок 1b имеют проксимальные края 22, вытянутые в продольном направлении подгузника, которые присоединяются к продольным краям 5 в задней области 8 центральной части 1а, а также дистальные края 23, которые совпадают с дистальными краями 21 задних частей 18. Проксимальные края 22 могут быть параллельными продольной оси 10 или вытягиваться под углом к продольной оси в зависимости от того, как образуются продольные края 5. Протяженность передних частей 19 в поперечном направлении может варьироваться различными способами в зависимости от подгузника, на котором они применяются. Передние края 26 и задние края 25 передних частей 19 вытягиваются назад подходящим образом под углом относительно поперечной оси 11, как вычисляется из проксимального края 22 к дистальному краю 23, см. фиг.5. Задние края 25 могут или вытягиваться параллельно с передними краями 26 или вытягиваться не параллельно с передними краями 26. Передние части 19, иллюстрированные на фиг.1, имеют проксимальные края 22 и дистальные края 23, которые вытягиваются, по существу, параллельно продольной оси 10. Задние края 25 и передние края 26 являются, по существу, параллельными друг другу.

Таким же образом, как описывалось для задних частей 18, передние части 19 боковых вставок 1b можно образовать из полностью отдельных частей, которые прикрепляются к продольным краям 5 на задней области 8 центральной части 1а, а также к задним частям 18, см. фиг.1. Если применяются отдельные части, их можно, например, приклеить к окружающим частям или прикрепить с помощью ультразвуковой сварки или некоторого другого типа термокрепления. Также возможно дать возможность, чтобы передние части 19 боковых вставок 1b производились из того же материала, что и центральная часть на области за пределами абсорбирующей основной части 4, см. фиг.6b. В соответствии с этим вариантом осуществления передние части 19 не образуются из отдельных материальных кусков, а предпочтительнее вместо этого включают в себя растяжение верхнего слоя 2 и защитного слоя 3 или только некоторой части верхнего слоя 2 или защитного слоя 3. На варианте осуществления в соответствии с фиг.6b как задние части 18, так и передние части 19 являются растяжениями материальных слоев в центральной части 1а. Здесь в материале сделан вырез 28 для гарантии, что эластичные задние части 18 могут объединяться с резинкой на талии 17 и, по существу, не эластичные передние части 19 могут объединяться с эластичным элементом 12 в ластовичной области 9.

В соответствии с дополнительным вариантом осуществления задние части 18 и передние части 19 изготавливаются из одинакового отдельного куска материала, см. фиг.6с. Кусок материала в боковой вставке 1b, таким образом, сформирован в форме полосы подходящего материала, который сгибается вокруг общих дистальных краев 21, 23. Полосу можно образовать из не эластичного материала или ламината, в котором задняя часть 18 обеспечивается эластичным средством. Также возможно образовать полосу, например, эластичного ламината, в котором передние части 19 изготовлены не эластичными, как ранее описывалось.

Для гарантии, что передние части 19 боковых вставок 1b объединяются наиболее эффективным образом возможно с эластичным средством 12 в ластовичной области 9, задние края 25 располагаются на первом расстоянии D1 от поперечных краев 6 задней области 8 на продольных краях 5 центральной части, см. фиг.5. Первое расстояние D1 может варьироваться в рамках сферы применения изобретения рядом различных способов в зависимости от того, на каком типе подгузника они применяются, и в зависимости от формы передних частей 19. Для хорошего объединения между различными компонентами подгузника важно, чтобы первое расстояние D1 было больше, чем расстояние между поперечным краем 6 на задней области 8 и задними краями 33 задних частей 18 на продольных краях 5 центральной части. Когда задние части 18 имеют задние края 33, которые располагаются так, что первое расстояние D1 больше, чем расстояние между поперечным краем 6 на задней области 8 и задними краями 33 задних частей 18 на продольных краях 5 центральной части, передние части 19 могут объединяться с эластичным средством 12 в ластовичной области 9 и задние части 18 с резинкой на талии 17, таким образом обеспечивая хорошее прилегание подгузника. Для детского подгузника меньшего размера первое расстояние D1 можно при желании получить очень коротким. Самая небольшая подходящая длина первого расстояния D1 для детского подгузника составляет 15 мм, так как передние части 19 должны быть способны объединяться с эластичным средством на ластовичной области без значительного влияния на резинку на талии 17. Для подгузника при недержании для взрослых людей первое расстояние D1 может варьироваться в рамках очень широкого интервала, так как существует ряд различных размеров и моделей подгузников, на которых этот тип боковой вставки можно применить. Эксперименты на больших типах подгузников при недержании показали, что первое расстояние D1 может иметь длину до 395 мм. Это означает, что первое расстояние D1 подходящим образом пролегает в рамках интервала 15-395 мм.

Задние части 18 имеют первую длину L1 в продольном направлении подгузника на проксимальных краях 20, которые вытягиваются от поперечных краев 6 на задней области 8 и вдоль продольных краев 5 в задней области центральной части 1а в направлении передней области, см. фиг.5. Передние части 19 имеют вторую длину L2 в продольном направлении на проксимальных краях 22, которая начинается на первом расстоянии D1 от поперечных краев 6 в задней области и вытягивается вперед вдоль продольных краев 5 в задней области, см. фиг.5. Первая длина L1 задних частей может быть такой, что задние части 18 не вытягиваются до передних частей 19 на продольных краях 5, как показано на фиг.1. В соответствии с подобным вариантом осуществления первая длина L1 задних частей 18 короче, чем первое расстояние D1, и задние края 25 передних частей 19 располагаются на втором расстоянии D2 от передних краев 24 задних частей, см. фиг.1 и 5. Также возможно регулировать первую длину L1 задних частей 18 так, чтобы они частично или полностью перекрывали передние части 19 на проксимальных краях 20, 22 вдоль продольных краев 5 центральной части. Когда задние части 18 частично перекрывают передние части 19, первая длина L1 является больше, чем первое расстояние D1, но меньше, чем сумма первого расстояния D1 и второй длины L2, см. фиг.7а. Когда задние части 18 полностью перекрывают передние части 19, первая длина L1 является настолько большой, как сумма первого расстояния D1 и второй длины L2, или больше, чем данная сумма, см. фиг.7b и 7с. Задние части 18 могут перекрывать передние части 19 так, что задние части 18 пролегают ближе всего к телу пользователя и передние части 19 пролегают на внешней стороне задних частей. Альтернативно передние части 19 могут располагаться на стороне, которая при применении подгузника обращается к пользователю, и задние части 18 за пределами передних частей 19. Даже когда первая длина L1 короче, чем первое расстояние D1, задние части 18 и передние части 19 могут перекрывать друг друга в области на дистальных краях 21, 23, см. фиг.1. Также здесь возможно поместить задние части 18 так, чтобы область, которая перекрывает передние части 19, пролегала прямо напротив тела пользователя, и наоборот, чтобы передние части 19 располагались так, чтобы прилегать ближе всех к телу пользователя на перекрывающейся области.

Задние части 18 имеют третью длину L3 в продольном направлении подгузника на дистальных краях 21, и передние части 19 имеют четвертую длину L4 в продольном направлении на дистальных краях 23. В соответствии с вариантом осуществления на фиг.1 третья и четвертая длины являются равнодлинными, но возможно предоставить, чтобы третья длина L3 была больше, чем четвертая длина L4, см. фиг.7b и 7с, или наоборот, предоставить, чтобы четвертая длина L4 была больше, чем третья длина L3.

Различные длины и расстояния, описанные выше, можно регулировать различными способами, и их можно также варьировать в зависимости от типа подгузника. Так как этот тип боковой вставки является подходящим как для детских подгузников, так и для подгузников при недержании для взрослых людей, длина первой длины L1 и второй длины L2 может варьироваться в рамках широких интервалов. Эксперименты показали, что первая длина L1 должна составлять по меньшей мере 15 мм, и вторая длина L2-5 мм. Первую длину L1 можно сделать очень большой на более крупном типе подгузника при недержании для взрослых людей, если так желательно, и в данном документе показано, что первая длина L1 может быть настолько большой, как 400 мм. Вторая длина L2 может подходящим образом составлять до 100 мм на большом подгузнике при недержании. Это означает, что первая длина L1 подходящим образом пролегает в интервале 15-400 мм и, что вторая длина L2 пролегает в интервале 5-100 мм. Варианты осуществлений, имеющие второе расстояние D2, могут также варьироваться рядом различных способов, которые приводят к тому, что длина второго расстояния D2 может варьироваться специалистом рядом различных способов в рамках сферы применения изобретения. Таким же образом, третья длина L3 и четвертая длина L4 могут также варьироваться в рамках сферы применения изобретения.

Также возможно применять этот тип боковых вставок в так называемых изделиях с поясом. Под изделиями с поясом подразумеваются подгузники или защитные средства при недержании, которые имеют единые пояса или сегменты пояса для застегивания подгузника или защитного средства при недержании на пользователе. В изделии с поясом в соответствии с изобретением боковые вставки 1b включают в себя или полный пояс, или часть пояса. Примеры изделий с поясом даются в WO 94/26222, WO 02/22065 и US 2002/0193776.

Застегивающая система для удерживания абсорбирующего изделия вокруг пользователя располагается на боковых вставках 1b подгузника. Застегивающая система состоит по меньшей мере из одной застегивающей планки 29 вместе с принимающей частью 30 для застегивающей планки 29. Застегивающая планка 29 предоставляется для соединения задней и передней областей абсорбирующего изделия одна к другой благодаря застегивающему средству 31, расположенному на застегивающей планке 29, которая застегивается к принимающей части 30, расположенной на передней области изделия. Предпочтительно изделие предоставляется с двумя застегивающими планками, расположенными на боковых вставках 1b, одна застегивающая планка на каждой боковой вставке, а также принимающая часть 30 на передней области 7 изделия на стороне, которая обращается от пользователя при применении изделия, т.е. на внешней стороне защитного слоя.

Застегивающие планки 29 присоединяются к боковым вставкам 1b на области вокруг дистальных краев 21, 23 задних частей 18 и передних частей 19, см. фиг.1. Присоединение может быть достигнуто, например, с помощью клея, тесьмы, уплотнения нагреванием или свариванием на дискретных точках, линиях или непрерывных поверхностных областях. Застегивающие планки 29 можно присоединить к обратной стороне боковых вставок, на той же стороне, как и верхний слой подгузника, между передними частями 19 и задними частями 18 или образовать так, чтобы планки застегивались так, что часть планки пролегает на внешней стороне боковой вставки, и другая часть планки пролегает на внутренней стороне боковой вставки, т.е. на стороне верхнего слоя, которая обращается к пользователю.

В настоящем изобретении застегивающее средство 31 предпочтительно включает в себя охватываемую часть застежки крючок-петля. Застегивающее средство 31 застегивается на застегивающей планке 29, например, с помощью клея, тесьмы, посредством термокрепления или любого другого подходящего застегивающего агента на части застегивающей планки 29, которая обращается к принимающей части 30 при применении подгузника. Часть застегивающей планки 29, которая располагается за пределами застегивающего средства 31 в поперечном направлении, может включать в себя захватываемую планку 32, которая играет роль получения более легкого применения и удаления застегивающего средства к принимающей части 30.

Принимающая часть 30 предпочтительно образуется как вытянутая полоса, которая вытягивается, по существу, параллельно поперечному краю 6 подгузника в передней области 7, т.е. в поперечном направлении подгузника, и включает в себя материал, который конструируется для объединения с застегивающим средством 31. Протяженность принимающей части в поперечном направлении подгузника может варьироваться в зависимости от типа и размера, и может, следовательно, вытягиваться над всем поперечным краем подгузника или над его частью. Подходящим образом принимающая часть вытягивается над относительно большой частью поперечного края 6 так, чтобы можно было получить прилегание подгузника к пользователю, которое является настолько хорошим, насколько возможно. Растяжение принимающей части 30 в продольном направлении подгузника может также варьироваться в зависимости от того, как ее следует применять к подгузнику, но она подходящим образом применяется к растяжению застегивающего средства 31 в том же направлении. Предпочтительно принимающая часть 30 включает в себя охватывающие части (части петли) застежки крючок-петля, и застегивающее средство 31 включает в себя охватываемые части (части крючка) застежки крючок-петля. Также должно быть возможным применять части крючка и петли другим способом, но части петли лучше подходят в качестве принимающей части, так как они не имеют таких же проблем, как часть крючка, которая легко приклеивается к одежде или другому материалу.

Охватываемые и охватывающие части застежки крючок-петля обычно состоят из опорного средства и материала, расположенного на опорном средстве, которое включает в себя либо петли или обода, либо крючки или захваты. Производство принимающего или застегивающего средства не будет далее описываться в этом изобретении, так как может применяться любой подходящий способ получения застежек крючок-петля с опорным средством и застегивающим агентом. Подходящим материалом для принимающей части или застегивающего средства может являться, например, полиэтилен, полипропилен, сложный полиэфир, полиамид или любой другой термопластик, а также биологически разлагаемый материал, такой как, например, полилактид, поликапролактон или другие полигидроалканоаты и материалы, например полимерные материалы, образованные из возобновляемых источников, такие как, например, кукурузный крахмал или целлюлоза. Примеры способов получения охватываемых или охватывающих частей для застегивающего средства описываются более тщательно в US 5830298, US 5611791, US 5032122 и US 5318741 и биологически разлагаемый материал в US 5939467 и WO 00/01339. Общее для описанных застегивающих средств и способов их получения заключается в том, что застежка крючок-петля собирается на субстрате или опорной части и что материал в форме крючков или петель располагается на субстрате.

Также возможно образовать принимающую часть 30 в качестве ламината нетканого материала или пластичной пленки и непрерывных волокон, так называемой пакли. Волокна могут быть прямыми, скрученными или извитыми. В данном документе нетканый слой или пластичная пленка включает в себя опорное средство для непрерывных волокон. Волокна скрепляются с нетканым слоем так, что образуются петли или крючки, которые застегивающее средство 31 может зацеплять. Непрерывные волокна можно получить отдельно до применения в процессе для изготовления принимающей части. Волокна часто предоставляются в длинных волокнистых пучках или блоках с рядом волокон, расположенных рядом друг с другом. До того, как волокна скрепляются с нетканым слоем, их следует сначала разделить так, чтобы они располагались плоско лежащими, по существу, параллельно друг другу так, чтобы их можно было присоединить к нетканому слою подходящим образом. Это может, например, происходить в ходе производственного процесса так, чтобы волокнистый пучок вытягивался и покрывал слой, по существу, равномерной толщины. Другой способ может состоять в том, что ряд волокон, расположенных рядом друг с другом на плоскости, вводят в производственный процесс. Непрерывные волокна затем скрепляются только на перемежающихся скрепляющих областях, а на всех остальных являются не скрепленными. Скрепление получается благодаря, например, ультразвуковой сварке или другому термоскреплению при одновременном сжатии. Другие возможные способы связывания волокон с опорным материалом могут происходить благодаря связующим агентам или механическому пневмоперепутыванию. Подходящими материалами для волокон в пакле могут быть полиэтилен, полипропилен, полиамид, сложный полиэфир, поливинилацетат, ацетат целлюлозы, волокна регенерированной целлюлозы или двухкомпонентные волокна. Пример обработки пакли в производственных процессах дается, например, в ЕР 0937792. Один или оба из компонентов, включающих в себя ламинат, можно также изготовить из биологически разлагаемого материала, такого как, например, полилактид, поликапролактон или другого полигидроксиалканоата. Таким образом, принимающая часть, которая изготавливается полностью из биологически разлагаемого материала, является подходящей для применения в абсорбирующем изделии, которое может ее содержать. Защитный слой 3 также можно изготовить из материала, который сам действует как принимающая часть для застегивающего средства 31. Материал защитного слоя 31 может, например, иметь похожую на текстиль поверхность с волокнами, которые застегивающее средство может зацеплять, и в подобном варианте осуществления отдельную принимающую часть можно полностью исключить.

Изобретение не следует рассматривать как ограниченное приведенными выше вариантами осуществления, так как они просто предназначены для иллюстрации изобретения. Также возможно комбинировать особенности различных вариантов осуществлений друг с другом, в то же время оставаясь в рамках объема изобретения.

Формула изобретения

1. Абсорбирующее изделие (1), такое как подгузник, защитное средство при недержании, имеющее переднюю область (7), заднюю область (8) и ластовичную область (9), расположенную между передней и задней областями, в котором изделие включает в себя центральную часть (1а) с двумя продольными краями (5) и двумя поперечными краями (6) и боковыми вставками (1b), расположенными в задней области изделия, расположенными вдоль продольных краев центральной части, в котором каждая боковая вставка включает в себя заднюю часть (18) и переднюю часть (19), которые вытянуты в поперечном направлении от центральной части, и передняя часть расположена на продольном крае центральной части на первом расстоянии (D1) от поперечного края на задней области (8), отличающееся тем, что задняя часть (18) является эластичной, и передняя часть (19) является, по существу, не эластичной.

2. Абсорбирующее изделие по п.1, отличающееся тем, что задние части (18) имеют задние края (33), которые расположены так, что первое расстояние (D1) больше, чем расстояние между поперечными краями (6) на задней области (8) и задними краями (33) задней части (18) на продольных краях (5).

3. Абсорбирующее изделие по п.1 или 2, отличающееся тем, что задние части (18) имеют первую длину (L1), которая вытянута от поперечного края (6) задней области (8) в направлении к передней области (7) на продольных краях (5) центральной части, в котором первая длина (L1) меньше, чем первое расстояние (D1).

4. Абсорбирующее изделие по п.1 или 2, отличающееся тем, что задние части (18) имеют первую длину (L1), которая вытянута от поперечных краев (6) на задней области (8) в направлении передней области (7) на продольных краях (5) центральной части, и передние части (19) имеют вторую длину (L2), которая начинается на первом расстоянии (D1) от поперечного края (6) на задней области (8) и вытянута вперед вдоль продольных краев (5) центральной части, в котором первая длина (L1) больше, чем первое расстояние (D1), но меньше, чем сумма первого расстояния (D1) и второй длины (L2).

5. Абсорбирующее изделие по п.1 или 2, отличающееся тем, что задние части (18) имеют первую длину (L1), которая вытянута от поперечного края (6) на задней области (8) в направлении передней области (7) на боковых краях (5) центральной части, и передние части (19) имеют вторую длину (L2), которая начинается на первом расстоянии (D1) от поперечного края (6) на задней области (8) и вытянута вперед вдоль продольных краев (5) центральной части, в котором первая длина (L1) имеет такой же размер или больше, чем сумма первого расстояния (D1) и второй длины (L2).

6. Абсорбирующее изделие по п.1 или 2, отличающееся тем, что первое расстояние (D1) находится внутри интервала 15-395 мм.

7. Абсорбирующее изделие по п.3, отличающееся тем, что первая длина (L1) находится внутри интервала 15-400 мм.

8. Абсорбирующее изделие по п.4, отличающееся тем, что вторая длина (L2) находится внутри интервала 5-100 мм.

9. Абсорбирующее изделие по п.1 или 2, отличающееся тем, что задние части (18) изготовлены из эластичного ламината.

10. Абсорбирующее изделие по п.1 или 2, отличающееся тем, что задние части (18) снабжены эластичными элементами (27) в форме нитей, полос или вспененного материала.

РИСУНКИ

Categories: BD_2386000-2386999