Патент на изобретение №2386383

Published by on




РОССИЙСКАЯ ФЕДЕРАЦИЯ



ФЕДЕРАЛЬНАЯ СЛУЖБА
ПО ИНТЕЛЛЕКТУАЛЬНОЙ СОБСТВЕННОСТИ,
ПАТЕНТАМ И ТОВАРНЫМ ЗНАКАМ
(19) RU (11) 2386383 (13) C1
(51) МПК

A47L9/10 (2006.01)
A47L9/20 (2006.01)

(12) ОПИСАНИЕ ИЗОБРЕТЕНИЯ К ПАТЕНТУ

Статус: по данным на 28.09.2010 – действует

(21), (22) Заявка: 2009110762/12, 30.03.2007

(24) Дата начала отсчета срока действия патента:

30.03.2007

(30) Конвенционный приоритет:

25.08.2006 JP 2006-229886

(46) Опубликовано: 20.04.2010

(56) Список документов, цитированных в отчете о
поиске:
GB 571584 А, 30.08.1945. US 2364877 А, 12.12.1944. JP 08-294470 А, 12.11.1996. JP 52-118572 U, 08.09.1977. US 2405129 А, 06.08.1946. WO 85/02528 A1, 20.06.1985. RU 2253347 C2, 10.06.2005.

(85) Дата перевода заявки PCT на национальную фазу:

25.03.2009

(86) Заявка PCT:

JP 2007/057209 20070330

(87) Публикация PCT:

WO 2008/023474 20080228

Адрес для переписки:

103735, Москва, ул.Ильинка, 5/2, ООО “Союзпатент”, пат.пов. М.Н.Стручкову, рег. 1102

(72) Автор(ы):

ТАКЕМОТО Рицуо (JP),
ТАНАКА Масатоси (JP),
ТОРИЗАВА Ю (JP),
СУЗУКИ Хитоси (JP),
ЦУТИЯ Ёсихиро (JP),
МАТИДА Юкио (JP),
МУРАТА Хиромицу (JP),
КОДЗИМА Кендзи (JP),
МАЦУНО Маи (JP)

(73) Патентообладатель(и):

КАБУСИКИ КАЙСЯ ТОСИБА (JP),
ТОСИБА КОНСЬЮМЕР ЭЛЕКТРОНИКС ХОЛДИНГЗ КОРПОРЕЙШН (JP),
ТОСИБА ХОУМ ЭПЛАЙЕНСИЗ КОРПОРЕЙШН (JP)

(54) ПЫЛЕСОС

(57) Реферат:

Изобретение относится к пылесосу, который содержит секцию отделения пыли для разделения пыли и воздуха, всасываемых с помощью электрического вентилятора, секцию сбора пыли, отделенной от воздуха в секции отделения пыли, фильтрующую секцию, установленную с возможностью вращения в кожухе контейнера, расположенную после секции отделения пыли и выполненную с возможностью отделения мелкой пыли, прошедшей через секцию отделения пыли, от воздуха, и привод вращения фильтрующей секции. В кожухе контейнера выполнено отверстие для ввода внешнего воздуха в кожух контейнера. Пылесос имеет элемент открывания/закрывания отверстия ввода внешнего воздуха, канал сообщения, предназначенный для соединения секции отделения пыли и кожуха контейнера, и элемент открывания/закрывания канала сообщения воздуха. Пылесос содержит модуль управления потоком воздуха для образования при обычной чистке первого пути потока воздуха для прохождения потока воздуха через секцию отделения пыли, через канал, сообщающий секцию отделения пыли с кожухом контейнера, и через фильтрующую секцию для всасывания этого потока электрическим вентилятором и для очистки воздухом кожуха контейнера, и для образования при очистке воздуха второго канала для прохождения всасываемого электрическим вентилятором потока через фильтрующую секцию отделения без подачи воздуха из отверстия ввода внешнего воздуха. Пылесос снабжен механизмом взаимной блокировки элемента открывания или закрывания внешнего воздуха и элемента открывания или закрывания канала, сообщающего секцию отделения пыли с кожухом контейнера, в зависимости от направления вращения приводом фильтрующей секции, так что при вращении фильтрующей секции в одном направлении образуется указанный первый канал путем открывания элемента открывания/закрывания канала, сообщающего секцию отделения пыли с кожухом контейнера, и закрывания элемента открывания/закрывания отверстия ввода внешнего воздуха. При вращении фильтрующей секции в другом направлении образуется указанный второй канал путем закрывания элемента открывания/закрывания канала, сообщающего секцию отделения пыли с кожухом контейнера, и открывания элемента открывания/закрывания отверстия ввода внешнего воздуха. Технический результат состоит в предотвращении прилипания к фильтрующей секции упавшей с нее пыли. 3 з.п. ф-лы, 37 ил.

Область техники, к которой относится изобретение

Изобретение относится к пылесосу, в котором имеются секция отделения пыли от воздуха и фильтрующая секция, предназначенная для отделения пыли, прошедшей через секцию отделения пыли.

Уровень техники

Из заявки JP 2004-358135 известен пылесос, в основном корпусе которого имеется съемный контейнер для сбора пыли.

Основной корпус пылесоса имеет установочный участок, на котором установлен контейнер для сбора пыли, электрический вентилятор, расположенный по потоку за камерой контейнера для сбора пыли, корпус гофрированного фильтра, который представляет собой вторичный фильтр и установлен в отверстии задней поверхности контейнера для сбора пыли с возможностью отсоединения, модуль удаления пыли, предназначенный для стряхивания пыли, прилипшей к корпусу гофрированного фильтра, и т.п.

Модуль удаления пыли имеет кольцевое зубчатое колесо большого диаметра, установленное напротив гофрированного фильтра с возможностью вращения, и расположенный на зубчатом колесе выступ, контактирующий с гофрированным фильтром. При наматывании провода электропитания на катушку кольцо приводится во вращение, и выступ перемещается по гребням гофрированной поверхности гофрированного фильтра, в результате чего происходит вибрация гофрированного фильтра, и прилипшая к нему пыль стряхивается.

Раскрытие изобретения

Однако в таком пылесосе пыль, упавшая с гофрированного фильтра (фильтрующая секция), снова прилипает к нему при включении электрического вентилятора.

Задача настоящего изобретения заключается в создании пылесоса, в котором упавшая с фильтрующей секции пыль не прилипает снова к фильтрующей секции.

Указанная задача решена в пылесосе, содержащем:

секцию отделения пыли, предназначенную для разделения пыли и воздуха, всасываемых с помощью электрического вентилятора;

секцию сбора пыли для сбора пыли, отделенной от воздуха в секции отделения пыли;

фильтрующую секцию, установленную с возможностью вращения в кожухе контейнера, расположенного по потоку за секцией отделения пыли, и отделяющую мелкую пыль, прошедшую через секцию отделения пыли;

привод вращения фильтрующей секции;

отверстие в кожухе контейнера для ввода внешнего воздуха;

элемент для открывания/закрывания отверстия ввода внешнего воздуха;

канал, сообщающий секцию отделения пыли с кожухом контейнера;

элемент для открывания/закрывания указанного канала,

который снабжен блоком управления потоком воздуха для образования при обычной чистке первого пути потока воздуха для прохождения потока воздуха через секцию отделения пыли, через канал, сообщающий секцию отделения пыли с кожухом контейнера, и через фильтрующую секцию, для всасывания этого потока электрическим вентилятором и для очистки воздухом кожуха контейнера; и для образования при очистке воздуха второго канала для прохождения всасываемого электрическим вентилятором потока через фильтрующую секцию отделения без подачи воздуха из отверстия ввода внешнего воздуха;

а также механизмом взаимной блокировки элемента открывания или закрывания внешнего воздуха и элемента открывания или закрывания канала, сообщающего секцию отделения пыли с кожухом контейнера, в зависимости от направления вращения приводом фильтрующей секции так, что при вращении фильтрующей секции в одном направлении образуется указанный первый канал путем открывания элемента открывания/закрывания канала, сообщающего секцию отделения пыли с кожухом контейнера, и закрывания элемента открывания/закрывания отверстия ввода внешнего воздуха; а при вращении фильтрующей секции в другом направлении образуется указанный второй канал путем закрывания элемента открывания/закрывания канала, сообщающего секцию отделения пыли с кожухом контейнера, и открывания элемента открывания/закрывания отверстия ввода внешнего воздуха.

Изобретение позволяет предотвратить повторное прилипание пыли, падающей из фильтрующей секции в результате воздействия на нее модуля удаления пыли. Кроме того, поскольку при открытом клапане открывания/закрывания внешнего воздуха элемент открывания/закрывания закрывается в результате вращения фильтрующей секции отделения, не требуется двигатель для открывания или закрывания соединительного клапана открывания/закрывания или клапана открывания/закрывания внешнего воздуха.

Краткое описание чертежей

На фиг.1 показан пылесос в соответствии с настоящим изобретением, внешний вид в перспективе;

на фиг.2 показан в перспективе основной корпус пылесоса по фиг.1 со снятой крышкой кожуха;

на фиг.3 показан основной корпус пылесоса по фиг.2, вид в плане;

на фиг.4 показан в перспективе фрагмент основного корпуса пылесоса по фиг.2 со снятым контейнером для сбора пыли;

на фиг.5 показана витая пружина 18 кручения, закрепленная на цилиндрической оси основного корпуса пылесоса;

на фиг.6 показана взаимосвязь между фиксирующим выступом фиксатора и соединительным элементом крышки;

на фиг.7 показана схема, иллюстрирующая механизм выдвижения контейнера для сбора пыли;

на фиг.8 показан фиксатор, вид в плане;

на фиг.9 показана схема, иллюстрирующая разблокированное состояние крышки и фиксированное состояние кожуха для сбора пыли;

на фиг.10 показан внешний вид модуля сбора пыли, вид в перспективе;

на фиг.11 показан внешний вид контейнера для сбора пыли, вид в перспективе;

на фиг.12 показано поперечное сечение модуля сбора пыли;

на фиг.13 показан внешний вид секции отделения пыли, вид в перспективе;

на фиг.14 показано поперечное сечение основного корпуса пылесоса;

на фиг.15 показана схема, иллюстрирующая состояние, в котором контейнер для сбора пыли выдвинут вверх;

на фиг.16 показан основной корпус пылесоса, вид сбоку для пояснения открытого состояния крышки;

на фиг.17 показана схема, иллюстрирующая состояние, в котором контейнер для сбора пыли выдвинут вверх;

на фиг.18 схематично показано сечение передней стенки модуля удаления пыли и кожуха контейнера;

на фиг.19 показан в перспективе механизм открывания/закрывания;

на фиг.20 показаны в перспективе механизм открывания/закрывания и секция отделения пыли;

на фиг.21 показана принципиальная схема воздушного канала при обычной очистке;

на фиг.22 показана принципиальная схема воздушного канала при очистке воздуха;

на фиг.23 показана в горизонтальном разрезе секция отделения пыли в соответствии с данным вариантом осуществления изобретения;

на фиг.24 схематично показаны секция отделения пыли и труба возврата воздуха;

на фиг.25 – то же, при открытом клапане открывания/закрывания;

на фиг.26 показан внешний вид секции отделения пыли и трубы возврата воздуха по фиг.23, вид в перспективе;

на фиг.27 показан основной корпус пылесоса в продольном разрезе;

на фиг.28 показан в перспективе кожух контейнера;

на фиг.29 показан кожух контейнера, изображенный на фиг.28, вид сзади;

на фиг.30 показан в перспективе внешний вид модуля сбора пыли;

на фиг.31 схематично показаны рычаг и третий клапан, установленные на кожухе контейнера;

на фиг.32 показаны в перспективе рычаг и третий клапан;

на фиг.33 показан в перспективе внешний вид модуля сбора пыли с открытым шестым клапаном;

на фиг.34 схематично показаны шестой клапан и отверстие ввода внешнего воздуха;

на фиг.35 показан в поперечном сечении модуль удаления пыли;

на фиг.36 показан продольный разрез модуля удаления пыли, изображенного на фиг.35;

на фиг.37 показана блок-схема системы управления.

Номера ссылочных позиций

24 – электрический вентилятор;

52 – секция отделения пыли;

81 – кожух контейнера;

84А – соединительное отверстие;

84F – отверстие ввода наружного воздуха;

100 – корпус гофрированного фильтра (фильтрующая секция);

К3 – третий клапан (клапан открывания/закрывания канала, сообщающего секцию отделения пыли с кожухом контейнера);

К6 – шестой клапан (клапан открывания/закрывания внешнего воздуха).

Осуществление изобретения

Ниже со ссылкой на прилагаемые чертежи описан в качестве примера вариант выполнения электрического пылесоса в соответствии с настоящим изобретением.

Электрический пылесос 10, показанный на фиг.1, содержит основной корпус 11, шланг 12 для сбора пыли, один конец которого соединен с возможностью отсоединения с присоединительным отверстием 11А основного корпуса 11 пылесоса, а на другом конце шланга 12 имеются труба 13 с рукояткой, удлиняемая труба 14, соединенная с возможностью отсоединения с трубой 13, и всасывающий элемент 15, соединенный с возможностью отсоединения на конце удлиняемой трубы 14. На трубе 13 с рукояткой имеется секция 13А управления, в которой расположены выключатель 13а привода электрического вентилятора 24 и переключатель 13b для регулировки мощности электрического вентилятора 24 и т.п.

Во всасывающем элементе 15 сформирована камера всасывания (не показана), в которой имеется отверстие (не показано) для всасывания пыли с нижней поверхности. Эта камера всасывания сообщена с всасывающим каналом 57а модуля сбора пыли (фиг.10), расположенного в основном корпусе 11 пылесоса, через удлиняемую трубу 14, шланг 12 и присоединительное отверстие 11А.

В основном корпусе 11 пылесоса имеются кожух 20, модуль 50 сбора пыли (фиг.2), установленный внутри кожуха 20, и электрический вентилятор 24.

Как показано на фиг.2-4, на передней стороне кожуха 20 основного корпуса сформирована камера 22 модуля сбора пыли с верхним проемом 22А и крышкой 500 (фиг.1), установленной на верхней части кожуха 20 с возможностью открывания или закрывания. С помощью такой крышки 500 весь внутренний участок кожуха 20 основного корпуса закрыт вместе с камерой 22 модуля для сбора пыли. Кожух 20 основного корпуса выполнен таким образом, что он не закрывается герметично крышкой 500.

Кроме того, в камере 22 модуля сбора пыли имеется выдвижной механизм 1000 (фиг.7), предназначенный для выдвижения контейнера 410 для сбора пыли (фиг.11), в качестве секции для сбора пыли, которая будет описана ниже.

Как показано на фиг.1, на нижних участках обеих сторон крышки 500 сформирована пара ножек 501, направленных диагонально вниз, причем нижние участки 501А ножек 501 установлены с возможностью вращения на цилиндрической оси 17 (фиг.5), расположенной на кожухе 20 корпуса. На цилиндрической оси 17 установлены также задние колеса 16. Кроме того, как показано на фиг.5, внутри цилиндрической оси 17 установлена витая пружина 18 кручения, один конец которой закреплен на цилиндрической оси 17, в другой конец 18А – на ножке 501 (фиг.1). Витая пружина 18 кручения поджимает крышку 500 по направлению против часовой стрелки вокруг цилиндрической оси 17, как показано на фиг.1.

На цилиндрической оси 17 установлена с возможностью вращения поворотная деталь 900 (фиг.2), содержащая рычаг 901 с выступом 902, на котором зафиксирован другой конец 18А витой пружины 18 кручения (фиг.14). При этом рычаг 901 зафиксирован на ножке 501 крышки 500, так что крышка 500 поджимается в направлении по часовой стрелке.

Кроме того, при вращении крышки 500 по часовой стрелке вокруг цилиндрической оси 17 крышка 500 открывается, как показано пунктирной линией на фиг.16.

Как показано на фиг.6 и 7, на передней стороне крышки 500 расположен соединительный элемент 510, имеющий по существу форму перевернутой буквы L.

Кроме того, с передней стороны (левая сторона на фиг.1) электрического вентилятора 24 в кожухе 20 основного корпуса сформирован цилиндрический соединительный воздушный канал 25 (фиг.27) с отверстием 25В (фиг.14), причем соединительный воздушный канал 25 сообщен с всасывающим отверстием 24А электрического вентилятора 24.

В переднем отверстии 25В соединительного воздушного канала 25 имеется вращающийся решетчатый элемент 600, как показано на фиг.14, приводящийся во вращение посредством двигателя M1 (фиг.37).

Как показано на фиг.27, в соединительном воздушном канале 25 имеется всасывающая труба 27, сообщенная с всасывающим отверстием 24А электрического вентилятора 24. На дальнем оконечном участке всасывающей трубы 27 расположен четвертый клапан 28 для открывания или закрывания отверстия 27А. Открывание/закрывание четвертого клапана 28 осуществляется с помощью двигателя М2 (фиг.37).

На решетчатом элементе 600 образовано множество выступов 601, (фиг.14), каждый из которых контактирует с углубленной частью (канавкой фильтра) гофрированного фильтра 104 (фиг.13) для вращения корпуса гофрированного фильтра 100, который будет описан ниже. При вращении корпуса 100 гофрированного фильтра модуль 2100 удаления пыли устройства 2000 удаления пыли (фиг.31) удаляет пыль, прилипшую к гофрированному фильтру 104.

На присоединительном отверстии 11А кожуха 20 основного корпуса имеется фиксатор 700 закрытого положения крышки 500.

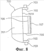
Как показано на фиг.7 и 8, фиксатор 700 имеет управляющую часть 701, имеющую верхнюю изогнутую поверхность. На обеих сторонах задней поверхности 701А управляющей части 701 сформированы направленные назад (в правую сторону на фиг.7 и 8) опорные плоские элементы 702, на которых образованы полуоси 703.

Как показано на фиг.3, полуоси 703 удерживаются с возможностью вращения несущими элементами 27, расположенными в кожухе 20 основного корпуса. Фиксатор 700 поджимается с помощью пружины (не показана) по часовой стрелке вокруг полуосей 703, как показано на фиг.7. Фиксатор 700 регулируется с помощью элемента регулирования (не показан) так, чтобы он не поворачивался по часовой стрелке из положения, показанного на фиг.7.

Когда на управляющую часть 701 нажимают вниз с верхней стороны, фиксатор 700 поворачивается против часовой стрелки вокруг полуосей 703 из положения, показанного на фиг.7, преодолевая силу упругости пружины (не показана).

На переднем конце управляющей части 701 сформирована направленная вниз передняя стенка 704, на нижнем участке которой образован прижимной участок 705, направленный назад. От задней части прижимного участка 705 отходит вверх опорный участок 706 с фиксирующим выступом 707 в верхней части.

Как показано на фиг.6 и 7, фиксирующий выступ 707 взаимодействует с концом 511 соединительного элемента 510 крышки 500 для фиксации крышки 500 на кожухе 20 основного корпуса.

Когда фиксатор 700 поворачивают по часовой стрелке, как показано на фиг.9, фиксирующий выступ 707 фиксатора 700 отсоединяется от конца 511 соединительного элемента 510 крышки 500, и крышка 500 разблокируется.

Как показано на фиг.10, модуль 50 для сбора пыли содержит блок 400 отделения пыли и контейнер 410 для сбора пыли, соединенный с блоком 400 отделения пыли с возможностью отсоединения.

В блоке 400 отделения пыли расположена секция 52 отделения пыли и фильтрующая секция 80, выполненная как единое целое с секцией 52 отделения пыли.

Как показано на фиг.10 и 12, в секции 52 отделения пыли имеется камера 54 отделения (входной проход для воздуха) в виде цилиндра с внешней кольцевой стенкой 53, модуль 55 отделения пыли по существу конической формы, расположенный в камере 54 отделения вдоль ее оси, участок (направляющий воздушный канал) 56 канала всасывания воздуха, расположенный снаружи правой стенки 54А камеры 54 отделения, и корпус 57 канала для направления воздуха из соединительного канала (канала высасывания пыли) 57а в камеру 54 отделения. Когда блок 400 отделения пыли закреплен в камере 22 модуля сбора пыли основного корпуса 11 пылесоса, соединительный всасывающий канал 57а соединен с присоединительным отверстием 11А основного корпуса 11 пылесоса. Участок 56 канала всасывания воздуха расположен ниже корпуса 57 канала направления воздуха.

Как показано на фиг.12, в верхнем участке внешней кольцевой стенки 53 камеры 54 отделения выполнено отверстие 53А для ввода отделенной от воздуха пыли в контейнер 410 для сбора пыли. Кроме того, как также показано на фиг.23, в нижней части внешней кольцевой стенки 53, образующей круглую поверхность, выполнено возвратное отверстие 53D. В возвратном отверстии 53D имеется второй клапан К2 открывания/закрывания, выполненный с возможностью его открывания или закрывания. Как показано на фиг.24 и 25, с возвратным отверстием 53D соединен один конец трубы 2510 возврата воздуха. Труба 2510 возврата воздуха образует обратный канал 2511 для воздуха (фиг.21 и 22).

Как показано на фиг.24, на одном конце второго клапана К2 открывания/закрывания выполнен осевой элемент KJ1, шарнирно установленный на передней стороне камеры 54 отделения. Другой конец второго клапана К2 открывания/закрывания расположен на задней стороне камеры 54 отделения. Второй клапан К2 открывания/закрывания, как показано на фиг.25, открывается при повороте против часовой стрелки вокруг осевого элемента KJ1.

Второй клапан К2 открывания/закрывания закрывается с помощью воздуха, подаваемого через соединительное отверстие 54Аа, которое будет описано ниже, в камеру 54 отделения, и открывается с помощью воздуха, поступающего из трубы 2510 возврата воздуха в камеру 54 отделения.

Как показано на фиг.24, второй клапан К2 открывания/закрывания имеет такую же кривизну, что и внутренняя поверхность стенки камеры 54 отделения, и выполнен таким образом, что он устанавливается заподлицо с внутренней поверхностью кольцевой стенки.

Как показано на фиг.23, в корпусе 57 канала направления воздуха сформировано соединительное отверстие 54Аа, сообщающееся с камерой 54. В этом соединительном отверстии 54Аа имеется первый клапан К1 открывания/закрывания, выполненный с возможностью его открывания или закрывания. Когда первый клапан К1 открывания/закрывания переключен в положение, обозначенное сплошной линией, соединительное отверстие 54Аа закрыто, а когда он переключен в положение, обозначенное пунктирной линией, соединительное отверстие 54Аа открыто. Воздух, подаваемый из корпуса 57 канала направления воздуха через соединительное отверстие 54Аа в камеру 54 отделения, поворачивается против часовой стрелки, как показано на фиг.10.

Кроме того, в правой боковой стенке 54А камеры 54 отделения выполнены круглое отверстие 154А (фиг.10) и секторное отверстие 154В (фиг.12 и 24). В отверстии 154А установлен модуль 55 отделения пыли, а в отверстии 154В – сетчатый фильтр NF2 (фиг.24).

Модуль 55 отделения пыли состоит из множества рамок 55а, а сетчатый фильтр NF1 закреплен по внешнему контуру рамок 55а. Участок 56 канала всасывания воздуха через отверстие 154А (фиг.10) на правой боковой стенке 54А и сетчатый фильтр NF1 (фиг.12) сообщается с внутренней частью камеры 54 отделения, а через сетчатый фильтр NF2 отверстия 154В на правой боковой стенке 54А сообщается с внутренней частью камеры 54 отделения.

Как показано на фиг.12, в нижнем участке участка 56 канала всасывания воздуха выполнено отверстие 56D, в котором установлен фильтр (гофрированный фильтр) PF. Один конец перепускной трубы 2501, формирующей перепускной воздушный канал 2500 (фиг.21), соединен с отверстием 56D, как показано на фиг.26.

Другой конец перепускной трубы 2501 соединен с всасывающей трубой 27 (фиг.27), а участок 56 всасывающего канала для воздуха через перепускную трубу 2501 сообщен с всасывающей трубой 27. В перепускной трубе 2501 имеется пятый клапан (электромагнитный клапан) 2502 открывания/закрывания.

Участок 56 всасывающего воздушного канала сообщается с внутренней частью кожуха 81 контейнера фильтрующей секции 80, которая будет описана ниже, и также сообщается с камерой 73 для сбора пыли участка 74 кожуха для сбора пыли, который будет описан ниже, через соединительное отверстие 56А, выполненное в правой части 156 боковой стенки (фиг.12).

Как показано на фиг.11 и 12, контейнер 410 для сбора пыли имеет соединительный кожух 72 с каналом 71 связи, сформированным на верхней части и проходящим в горизонтальном направлении, и часть 74 кожуха для сбора пыли с камерой 73 сбора пыли, проходящей вниз от правого конца соединительного кожуха 72 (фиг.12).

В нижней поверхности соединительного кожуха 72 выполнено отверстие 72А, сообщающееся с каналом 71 связи (см. фиг.12). На нижней поверхности соединительного кожуха 72 также выполнены крюк 72F и выемка 76, как показано на фиг.11. В выемке 76 имеется вертикальное ребро 72R. Отверстие 72А соединено с отверстием 53А ввода секции 52 отделения пыли (фиг.12).

Кроме того, в левой боковой стенке участка 74А части 74 кожуха для сбора пыли выполнено соединительное отверстие 75, поверх которого установлен сетчатый фильтр NF3.

Часть 74 кожуха для сбора пыли имеет крышку 74А, которая может быть открыта или закрыта (фиг.11). На нижней части крышки 74А выполнено направленное вниз ребро 74R. Крышка 74А установлена с возможностью поворота вокруг оси 74J так, что ее можно открывать или закрывать.

Когда контейнер 410 для сбора пыли установлен в блоке 400 отделения пыли, как показано на фиг.12, отверстие 53А секции 52 отделения пыли соединяется с отверстием 72А контейнера 410 для сбора пыли, а соединительное отверстие 75 контейнера 410 для сбора пыли соединяется с соединительным отверстием 56А участка 56 канала всасывания воздуха в блоке 400 отделения пыли.

Как показано на фиг.13, фильтрующая секция 80 имеет открытый сзади цилиндрический кожух 81, внутри которого установлен с возможностью вращения корпус (вторичный фильтр) 100 гофрированного фильтра, используемый как фильтрующая секция отделения. Этот корпус 100 гофрированного фильтра состоит из гофрированного фильтра 104, как элемента фильтра, и опорной рамы (не показана) для удержания гофрированного фильтра 104. На передней стенке 84 кожуха 81 контейнера сформирована секция 52 отделения пыли (фиг.10), как единая с ним деталь.

Как показано на фиг.12 и 13, в передней стенке 84 кожуха 81 контейнера выполнено соединительное отверстие 84А, соединенное с участком 56 канала всасывания воздуха. Это соединительное отверстие 84А связывает внутреннее пространство кожуха 81 и участок 56 канала всасывания воздуха. Участок 56 канала всасывания воздуха представляет собой канал для пропуска воздуха, через который секция 52 отделения пыли и корпус 100 гофрированного фильтра сообщаются друг с другом.

Как показано на фиг.29, в передней стенке 84 кожуха 81 контейнера выполнено отверстие 84F ввода внешнего воздуха в кожух 81. Также на передней стенке 84 кожуха 81 контейнера установлен шестой клапан (элемент открывания/закрывания внешнего воздуха) К6, предназначенный для открывания или закрывания отверстия 84F (фиг.30). Шестой клапан К6 открывания/закрывания прижимается упругим элементом 86 в направлении закрывания отверстия 84F ввода внешнего воздуха.

Для шестого клапана К6 открывания/закрывания имеется контактная часть 87, показанная на фиг.29 таким образом, что она проходит в кожух 81 контейнера от отверстия 84F ввода внешнего воздуха. В контактной части 87 имеется наклонная поверхность 87а, величина продолжения которой в кожух 81 контейнера увеличивается по мере того, как она проходит вправо (на фиг.29). В результате прижима контактной части 87 под действием упругого элемента 86 шестой клапан К6 открывания/закрывания открывается таким образом, что внешний воздух поступает из отверстия 84F ввода внешнего воздуха в кожух 81 контейнера.

Как показано на фиг.28, в нижней части кольцевой стенки 82 кожуха 81 выполнено отверстие 82А, с которым соединен другой конец трубы 2510 возврата воздуха. Внутренний объем кожуха 81 контейнера со стороны перед корпусом 100 гофрированного фильтра, который будет описан ниже, и внутренний объем камеры 54 секции 52 отделения пыли соединены друг с другом посредством трубы 2510 возврата воздуха (фиг.21).

Как показано на фиг.21, воздушный поток от соединительного всасывающего отверстия 57а к всасывающему 24А, показанный сплошными стрелками, образует первый путь потока воздуха. Второй путь потока воздуха, показанный на фиг.22 пунктирными стрелками, проходит от отверстия 84F ввода внешнего воздуха к отверстию 24А всасывания.

Первый путь потока воздуха не ограничивается проходом воздуха, показанным на фиг.21, необходимо только, чтобы воздух проходил по меньшей мере через секцию 52 отделения пыли и корпус 100 фильтра. Второй путь потока воздуха также не ограничивается описанным выше проходом воздуха, необходимо лишь, чтобы воздух проходил по меньшей мере через кожух 81 контейнера.

Как показано на фиг.13, корпус 100 гофрированного фильтра содержит гофрированный фильтр 104, складки которого расположены радиально от участка 101А вала, который расположен в центральной части кожуха 81 контейнера. Этот участок 101А вала установлен с возможностью вращения на валу 2001 (фиг.31), который будет описан ниже.

Когда модуль 50 для сбора пыли установлен на камере 22 модуля сбора пыли кожуха 20 основного корпуса, отверстие на задней поверхности кожуха 81 контейнера совмещено с отверстием 25В в передней поверхности соединительного воздушного канала 25 в кожухе 20 основного корпуса (фиг.14).

Как показано на фиг.7, выдвижной механизм 1000 содержит пару выдвижных модулей 1100 (фиг.3) для выдвижения контейнера 410 для сбора пыли (подъема контейнера 410 для сбора пыли с помощью пружины), модуль 1200 фиксации контейнера 410 для сбора пыли в положении крепления блока 400 отделения пыли и модуль 1300 разблокирования модуля 1200 фиксации.

Выдвижной модуль 1100 содержит направленный вверх цилиндрический направляющий корпус 1101 прямоугольного сечения, расположенный на верхней поверхности внешней кольцевой стенки 53 секции 52 отделения пыли в блоке 400 для отделения пыли, и пружину 1102 (не показана на фиг.3), установленную в направляющем корпусе 1101. В направляющем корпусе 1101 выполнена пара вертикальных прорезей 1103 (фиг.3).

Выдвижной модуль 1110 содержит цилиндрический направляющий корпус 1111 (фиг.3), аналогично расположенный в камере 22 модуля сбора пыли, и установленную в нем пружину 1112. В направляющем корпусе 1111 выполнена пара вертикальных прорезей 1113 (фиг.3).

Когда контейнер 410 для сбора пыли установлен на блоке 400 отделения пыли, ребра 72R и 74R (фиг.11) контейнера 410 для сбора пыли входят в прорези 1103 и 1113 направляющих корпусов 1101 и 1111, сжимая пружины 1102 и 1112 (фиг.7). Контейнер 410 для сбора пыли выталкивается вверх силой упругости пружин 1102 и 1112.

Модуль 1200 фиксации содержит скользящий элемент 1201, расположенный на верхней части направляющего корпуса 57 канала для пропуска воздуха и установленный с возможностью перемещения в продольном направлении (горизонтальное направление на фиг.7), вытянутую в продольном направлении направляющую крышку 1202 (фиг.4) для закрывания и направления скользящего элемента 1201 в продольном направлении и пружину (не показана) для прижима скользящего элемента 1201 в направлении влево (на фиг.7).

На задней части скользящего элемента 1201 выполнен выступающий вверх цилиндрический элемент 1203 прямоугольного сечения, проходящий через отверстие 1202А (фиг.3) в направляющей крышке 1202. Чтобы не мешать движению скользящего элемента 1201 в продольном направлении, длина цилиндрического элемента 1203 в продольном направлении меньше ширины отверстия 1202А.

В верхней поверхности цилиндрического элемента 1203 выполнено отверстие 1204, и когда контейнер 410 для сбора пыли закреплен на блоке 400 отделения пыли, крюк 72F контейнера 410 входит в отверстие 1204 и соединяется с его кромкой (модуль фиксации) 1204а, в результате чего контейнер 410 для сбора пыли фиксируется в положении (положении крепления), показанном на фиг.7.

Модуль 1300 разблокирования включает в себя скользящий элемент 1201 и прижимного участка 705 фиксатора 700 для перемещения скользящего элемента 1201 вправо (фиг.7). Когда нажимают сверху на управляющую часть 701, поворачивая ее (фиг.9), прижимной участок 705 фиксатора 700 входит в контакт с дальним концом 1201 а скользящего элемента 1201 для передвижения скользящего элемента 1201 вправо, преодолевая усилие пружины (не показана). В соответствии с таким движением крюк 72F контейнера 410 для сбора пыли отсоединяется от кромки 1204а отверстия 1204 на цилиндрическом элементе 1203 скользящего элемента 1201, и контейнер 410 для сбора пыли высвобождается.

Как показано на фиг.31 и 32, устройство 2000 удаления пыли содержит вал 2001, установленный с возможностью вращения в центральной части кожуха 81 контейнера, закрепленный на валу 2001 рычаг 2002, направленный вверх, и модуль 2100 удаления пыли, расположенный на верхнем конце рычага 2002. Нижняя часть рычага 2002 образует третий клапан (элемент открывания/закрывания канала сообщения воздуха) К3 открывания/закрывания, который вращается вместе с рычагом 2002 и валом 2001. Когда третий клапан К3 повернут в положение, показанное на фиг.31, он закрывает соединительное отверстие 84А кожуха 81 контейнера.

Когда рычаг 2002 и третий клапан К3 поворачивают против часовой стрелки в положение, обозначенное пунктирной линией, соединительное отверстие 84А кожуха 81 контейнера открывается.

Как показано на фиг.34, когда рычаг 2002 находится в положении, показанном на фиг.31, элемент 2011 на дальнем конце рычага 2002 входит в контакт с наклонной поверхностью 87а контактной части 87 шестого клапана К6 открывания/закрывания для воздействия на этот клапан К6 с преодолением усилия упругого элемента 86, в результате чего шестой клапан К6 открывается, как показано на фиг.33.

Как показано на фиг.32, 35 и 36, модуль 2100 удаления пыли содержит элемент 2101, установленный с возможностью вращения на центральной оси 2002А, выполненной на дальнем конце рычага 2002, пару стоек 2102, отходящих от элемента 2101, ролики 2103, установленные с возможностью вращения на концах стоек 2102, и выступ (элемент для удаления пыли) 2104, выступающий наружу от элемента 2101. Две стойки 2102 расположены под заданным углом относительно друг друга, а выступ 2104 расположен со стороны, противоположной стойкам 2102, на линии, делящей пополам указанный заданный угол.

Как показано на фиг.18, ролик 2103 вводится в контакт с нижней поверхностью 84Ма канавки 84М на передней стенке 84 кожуха 81 контейнера, а выступ 2104 вводится в контакт с участком гребня гофрированного фильтра 104. Канавка 84М выполнена дугообразной формы, как показано на фиг.29 и 31, и ее концы ограничивают поворот рычага 2002, т.е. рычаг 2002 может поворачиваться в пределах протяженности канавки 84М (в пределах от положения, обозначенного сплошной линией, и положения, обозначенного пунктирной линией, показанных на фиг.31).

Выступ 2104 может поворачиваться в горизонтальном направлении (фиг.35) вокруг оси 2002А вместе с элементом 2101 и возвращаться в исходное положение, показанное на фиг.32 и 35 под действием пружины BN (фиг.18).

Затем, при вращения гофрированного фильтра 104 выступ 2104, контактирующий с гребнем гофрированного фильтра 104, поворачивается вокруг оси 2002А вместе с элементом 2101. При повороте гофрированного фильтра 104 на заданный угол выступ 2104 перемещается по гребню гофрированного фильтра 104 и возвращается в исходное положение под действием пружины BN. После этого выступ 2104 попадает в следующий участок углубления гофрированного фильтра 104, в результате чего гофрированный фильтр 104 вибрирует, стряхивая с себя прилипшую мелкую пыль.

Как показано на фиг.19, расположенный в кожухе 81 контейнера вал 2001 проходит через переднюю стенку 84 кожуха 81 контейнера и выступает вперед, как показано на фиг.18. На конце вала 2001 установлено зубчатое колесо 2201 механизма 2200 открывания/закрывания, предназначенного для открывания или закрывания первого клапана К1.

Механизм 2200 открывания/закрывания содержит, как показано на фиг.19 и 20, входящую в зацепление с зубчатым колесом 2201 зубчатую рейку 2202, установленную на скользящей пластине 2203, имеющей возможность перемещения в горизонтальном направлении. От одного конца (левый конец на фиг.19) скользящей пластины 2203 отходит направленный вперед кронштейн 2204, на конце которого выполнен палец 2205. Механизм 2200 открывания/закрывания содержит также рычаг 2208 с пазом, в котором расположен палец 2205, причем рычаг 2208 отходит от вала 2207 первого клапана К1 открывания/закрывания.

В скользящей пластине 2203 выполнено продолговатое отверстие (паз) 2203А, через которое проходит вал 2001. Тем самым обеспечивается возможность движения скользящей пластины 2203 в горизонтальном направлении без помехи со стороны вала 2001.

Соответственно, палец 2205, расположенный в пазу 2206 рычага 2208, движется вдоль этого паза 2206. Таким образом, в соответствии с движением скользящей пластины 2203 в горизонтальном направлении, рычаг 2208 поворачивается совместно с валом 2207, в результате чего первый клапан К1 открывания/закрывания открывается или закрывается.

Например, когда скользящая пластина 2203 расположена в положении, показанном на фиг.19 и 20, первый клапан К1 закрывает соединительное отверстие 54Аа в направляющем корпусе 57 канала направления воздуха, как показано на фиг.23. В это время шестой клапан К6 открывается, а третий клапан К3 закрывает соединительное отверстие 84А в кожухе 81 контейнера, как показано на фиг.31.

Когда скользящая пластина 2203 движется из положения, показанного на фиг.19 и 20, вправо, первый клапан К1 перемещается в положение, обозначенное на фиг.23 пунктирной линией, при этом соединительное отверстие 54Аа открывается, шестой клапан К6 закрывается, как показано на фиг.30, а третий клапан К3 перемещается в положение, обозначенное на фиг.31 пунктирной линией, для открывания соединительного отверстия 84А кожуха 81 контейнера.

На фиг.37 показана блок-схема системы управления пылесосом. Контроллер 200 предназначен для управления двигателями M1, M2 и электромагнитным клапаном 2502 на основе работы блока 13А управления. Клапаны K1-К3, К6, 28, 2502, двигатели M1 и M2 и контроллер 200 составляют модуль управления потоком воздуха.

Ниже описана работа описанного выше пылесоса.

Прежде всего, как показано на фиг.2, в камеру 22 модуля сбора пыли основного корпуса 11 пылесоса устанавливается модуль 50 сбора пыли. Шланг 12 присоединяется к отверстию 11А основного корпуса 11 пылесоса, а с другой стороны шланга к нему через трубой 13 с рукояткой и через удлиняемую трубу 14 присоединяется всасывающий элемент 15, как показано на фиг.1.

В это время, как показано на фиг.21, первый клапан K1, третий клапан К3 и четвертый клапан 28 открыты, а второй клапан К2, пятый клапан 2502 и шестой клапан К6 закрыты.

То есть, скользящая пластина 2203 была перемещена вправо из положения, показанного на фиг.19 и 20, из-за чего первый клапан K1 переместился в положение, обозначенное на фиг.23 пунктирной линией, соединительное отверстие 54Аа открыто, шестой клапан Кб закрыт, как показано на фиг.30, а третий клапан К3 переместился в положение, показанное на фиг.31 пунктирной линией, открывая соединительное отверстие 84А в кожухе 81 контейнера.

Когда включают переключатель 13b на блоке 13А управления на трубе 13 с рукояткой, приводится в действие электрический вентилятор 24. В результате воздух всасывается через отверстие 24А электрического вентилятора 24, внутри кожуха 81 контейнера модуля 50 сбора пыли образуется разрежение, через соединительный участок для пропуска воздуха (не показан) образуется разрежение части 74 кожуха для сбора пыли и через всасывающий участок 56 для пропуска воздуха – в камере 54 секции 52 отделения пыли,. Это разрежение передается через шланг 12 и удлиняемую трубу 14 во всасывающий элемент 15, и пыль с воздухом всасывается во всасывающий элемент 15.

Всасываемая пыль поступает в соединительный всасывающий канал 57а соединительной секции модуля 50 сбора пыли через удлинительную трубу 14 и шланг 12. Пыль и воздух, всасываемые в соединительный всасывающий канал 57а, поступают в камеру 54 секции 52 отделения пыли через корпус 57 канала направления воздуха и вращаются в камере 54 отделения против часовой стрелки (фиг.10). В соответствии с этим потоком воздуха второй клапан К2 принудительно закрывается, даже если он был открыт.

Второй клапан К2 имеет такую же кривизну, что и внутренняя кольцевая поверхность камеры 54 отделения, и установлен заподлицо с внутренней кольцевой поверхностью, следовательно, этот клапан не оказывает сопротивление воздуху, протекающему через камеру 54 отделения.

В соответствии с упомянутым выше вращением пыль и воздух разделяются под действием сил инерции, и воздух поступает через сетчатый фильтр NF1 (фиг.12) модуля 55 отделения пыли и сетчатый фильтр NF2 (фиг.24) в отверстии 154В в участок 56 канала всасывания воздуха и всасывается в кожух 81 контейнера фильтрующей секции 80.

Отделенная под действием сил инерции пыль поступает с частью воздуха из отверстия 53А камеры 54 отделения в соединительный кожух 72 контейнера 410 для сбора пыли. Подаваемая пыль и воздух всасываются в камеру 73 для сбора пыли через канал 71 связи соединительного кожуха 72, и пыль собирается в камере 73.

Воздух, поступающий в камеру 73, всасывается в участок 56 канала всасывания воздуха через сетчатый фильтр NF3 и, кроме того, всасывается в кожух 81 контейнера фильтрующей секции 80.

Воздух, всасываемый в кожух 81 контейнера, проходит через гофрированный фильтр 104 корпуса 100 гофрированного фильтра и всасывается во всасывающую трубу 27 (фиг.21) соединительного участка 25 канала сообщения воздуха основного корпуса 11 пылесоса, а затем всасывается во всасывающее отверстие 24А электрического воздушного вентилятора 24.

Воздух, всасываемый во всасывающее отверстие 24А электрического вентилятора 24, выпускается после электрического вентилятора 24 из выпускного отверстия 20Н (фиг.21) основного корпуса 11 пылесоса, показанного на фиг.2.

Если после окончания чистки собравшуюся в контейнере 410 пыль требуется удалить, нажимают с верхней стороны на управляющую часть 701 фиксатора 700. При этом фиксатор 700 поворачивается против часовой стрелки вокруг полуосей 703 из положения, показанного на фиг.7, преодолевая усилие пружины (не показана).

Когда фиксатор 700 поворачивается против часовой стрелки, как показано на фиг.9, фиксирующий выступ 707 фиксатора 700 выходит из дальнего конца 511 соединительного элемента 510 крышки 500, и крышка 500 освобождается. Когда крышка разблокирована, она открывается под действием витой пружины 18 кручения (фиг.5), как показано пунктирной линией на фиг.16.

С другой стороны, если фиксатор 700 поворачивается, как показано на фиг.9, его нажимной участок 705 передвигает скользящий элемент 1201 вправо, в результате чего крюк 72F контейнера 410 для сбора пыли отсоединяется от кромки 1204а отверстия 1204 в скользящем элементе 1201, и контейнер 410 для сбора пыли высвобождается. Кроме того, ребра 72R, 74R контейнера 410 для сбора пыли, как показано на фиг.15, выталкиваются вверх под действием усилия пружин 1102 и 1112 в направляющих корпусах 1101 и 1111. Таким образом, контейнер 410 выталкивается вверх под пружинами 1102 и 1112, как показано на фиг.17.

Из-за зазора между нажимным участком 705 фиксатора 700 и дальним концом 1201а скользящего элемента 1201 при нажатии на управляющую часть 701 фиксатора 700 крышка 500 открывается, и затем выдвигается контейнер 410 для сбора пыли.

Таким образом, поскольку крышка 500 открывается, а контейнер 410 для сбора пыли выдвигается вверх, в результате лишь нажатия на управляющую часть 701 фиксатора 700 контейнер 410 для сбора пыли можно легко вынуть из основного корпуса 11 пылесоса.

Когда выключатель 13а на блоке 13А управления трубы 13 с рукояткой переключают, как показано на фиг.22, четвертый клапан 28 закрывается, а пятый клапан 2502 открывается, в результате чего решетчатый элемент 600 поворачивается посредством двигателя M1 (фиг.37).

При повороте решетчатого элемента 600 корпус 100 гофрированного фильтра поворачивается, и когда выступ 2104 рычага 2002 устройства 2000 удаления пыли упирается в выступ гофрированного фильтра 104, рычаг 2002 и вал 2001 поворачиваются по часовой стрелке из положения, обозначенного на фиг.31 пунктирной линией, вместе с корпусом 100 гофрированного фильтра.

Когда рычаг 2002 поворачивается в положение, показанное на фиг.31, его положение определяется конечным участком канавки 84М, при этом вращение рычага 2002 и вала 2001 прекращается, и только гофрированный корпус 100 гофрированного фильтра поворачивается.

Когда рычаг 2002 поворачивается в положение, показанное на фиг.31, третий клапан К3 закрывает соединительное отверстие 84А кожуха 81 контейнера, а элемент 2011 на дальнем конце рычага 2002 прижимает контактную часть 87 шестого клапана Кб и открывает его. То есть отверстие 84F ввода наружного воздуха в кожухе 81 контейнера открывается, как показано на фиг.33.

С другой стороны, когда вал 2001 поворачивается вместе с рычагом 2002, зубчатое колесо 2201 механизма 2200 открывания/закрывания поворачивается, вызывая движение скользящей пластины 2203 влево в положение, показанное на фиг.19 и 20. В результате движения скользящей пластины 2203, как показано на фиг.23, первый клапан К1 перемещается в положение, обозначенное сплошной линией, из положения, обозначенного пунктирной линией, и закрывает соединительное отверстие 54Аа направляющего корпуса 57.

Таким образом, как показано на фиг.22, первый и третий клапаны К1 и К3 закрываются, а шестой клапан К6 открывается, как показано на фиг.19 и 20.

Кроме того, электрический вентилятор 24 приводят в действие с заданной мощностью, и поскольку шестой клапан К6 открыт, а крышка 500 не герметизирована или не закрыта, в кожух 20 основного корпуса поступает внешний воздух из отверстия 84F ввода наружного воздуха в кожух 81 контейнера, как показано на фиг.22.

С другой стороны, когда вращение рычага 2002 прекращается, выступ 2104 рычага 2002 движется над выступами гофрированного фильтра 104 с соответствии с вращением гофрированного фильтра 104, и каждый раз, проходя мимо гребня, он ударяет по этому гребню гофрированного фильтра 104 и стряхивает прилипшую к нему мелкую пыль.

Мелкая пыль, стряхиваемая с гофрированного фильтра 104, возвращается внешним воздухом, подаваемым через отверстие 84F ввода внешнего воздуха, в камеру 54 секции 52 отделения пыли через обратный канал 2511 для воздуха. То есть мелкая пыль, удаляемая из гофрированного фильтра 104, выводится из кожуха 81 контейнера в камеру 54 разделения.

Поскольку внешний воздух, подаваемый из отверстия 84F ввода внешнего воздуха, обтекает гофрированный фильтр 104, гофрированный фильтр 104 очищается.

Поскольку второй клапан К2 открывается под действием внешнего воздуха, протекающего через обратный канал 2511 (фиг.25), мелкая пыль, стряхиваемая с гофрированного фильтра 104, может быть надежно возвращена в камеру 54 секции 52 отделения пыли.

Внешний воздух и мелкая пыль, поступающие в камеру 54 отделения, вращаются против часовой стрелки (на фиг.10), в результате чего мелкая пыль и воздух разделяются под действием сил инерции. Отделенная мелкая пыль собирается под действием сил инерции из отверстия 53А ввода камеры 54 отделения через участок 72 соединительного кожуха контейнера 410 в камеру 73 сбора пыли.

Отделенный от мелкой пыли воздух протекает через сетчатый фильтр NF1 (фиг.12) модуля 55 отделения пыли и сетчатый фильтр NF2 (фиг.25) в отверстия 154В и дополнительно всасывается во всасывающий участок 56 пропуска воздуха. Внешний воздух, всасываемый в участок 56 канала всасывания воздуха, всасывается во всасывающую трубу 27 через перепускной воздушный канал 2500 и затем всасывается во всасывающее отверстие 24А электрического вентилятора 24, после чего выпускается через отверстие 20Н в основном корпусе 11 пылесоса.

Таким образом, поскольку стряхиваемая с гофрированного фильтра 104 мелкая пыль возвращается в камеру 54 секции 52 отделения пыли, предотвращается повторное налипание пыли на гофрированный фильтр 104.

Кроме того, поскольку рычаг 2002 вращается в результате вращения гофрированного фильтра 104 таким образом, что он закрывает третий клапан К3 и открывает шестой клапан К6, больше не требуется наличия отдельного двигателя для открывания третьего клапана К3, шестого клапана К6 и т.п.

По окончании определенного времени привод электрического вентилятора 24 выключают, решетчатый элемент 600 поворачивается назад только на заданный угол, и как показано на фиг.21, первый клапан К1, третий клапан К3 и четвертый клапан 28 открываются, а второй клапан К2, пятый клапан 2502 и шестой клапан К6 закрываются.

В соответствии с этим вариантом осуществления изобретения, поскольку второй клапан К2 открывается или закрывается под действием потока воздуха, вся конструкция может быть упрощена.

Хотя в описанном варианте осуществления изобретения подаваемый из отверстия 84F внешний воздух продувают непосредственно через гофрированный фильтр 104, настоящее изобретение не ограничивается этим. То есть вариант выполнения пылесоса может включать в себя, кроме того, что описано выше, такую конструкцию, в которой воздух не попадает непосредственно на гофрированный фильтр 104, и мелкую пыль, плавающую в пространстве на передней стороне гофрированного фильтра 104 в кожухе 81 контейнера, и мелкую пыль, собираемую с нижней части кожуха 81 контейнера, выпускают с помощью поступающего в отверстие 84F внешнего воздуха наружу из кожуха 81 контейнера через отверстия 82А.

Кроме того, в описанном варианте осуществления изобретения после прохождения выступа 2104 над выступающими участками гофрированного фильтра 104 этот выступ 2104 удаляет пыль, ударяя по гребням фильтра гребня, но настоящее изобретение не ограничивается этим. Например, элемент удаления пыли – выступ 2104 может ударять по раме держателя корпуса 100 гофрированного фильтра, и его вибрация будет передаваться на гофрированный фильтр 104, удаляя тем самым пыль с гофрированного фильтра 104.

Кроме того, когда элемент удаления пыли – выступ 2104 входит в контакт с выступающим участком гофрированного фильтра 104, вращение гофрированного фильтра 100 передается на рычаг 2002, на котором расположен удаляющий пыль выступ 2104. Настоящее изобретение, однако, не ограничивается данным вариантом осуществления изобретения, и, например, можно также передавать вращение корпуса 100 гофрированного фильтра на рычаг 2002 путем ввода в контакт выступа 2104 с рамкой держателя корпуса 100 гофрированного фильтра.

Кроме того, хотя в данном варианте осуществления изобретения гофрированный фильтр 104 выполнен с радиально направленными гофрами, настоящее изобретение не ограничивается таким выполнением. Поскольку вращение корпуса 100 гофрированного фильтра может быть передано на рычаг 2002 и третий клапан К3, направление гофр может исключать другую структуру, отличную от радиального направления, такую как, например, одно направление или множество направлений. Однако, учитывая передачу вращения на рычаг 2002 и эффективное удаление пыли с помощью элемента 2104 удаления пыли, радиальное направление гофрированных элементов может быть наиболее предпочтительным.

В приведенном выше описании настоящее изобретение было описано с точки зрения примерного варианта осуществления изобретения, но настоящее изобретение не ограничивается этим. Специалистам в данной области техники понятно, что в конструкцию настоящего изобретения могут быть внесены различные улучшения или изменения без выхода за объем или сущность настоящего изобретения. С точки зрения приведенного выше описания предполагается, что настоящее изобретение может включать в себя улучшения и изменения, и эти улучшения или изменения включены в объем приложенной формулы изобретения и ее эквивалентов.

Формула изобретения

1. Пылесос, содержащий секцию отделения пыли для разделения пыли и воздуха, всасываемых с помощью электрического вентилятора; секцию сбора пыли, отделенной от воздуха в секции отделения пыли; фильтрующую секцию, установленную с возможностью вращения в кожухе контейнера, расположенную после секции отделения пыли и выполненную с возможностью отделения мелкой пыли, прошедшей через секцию отделения пыли, от воздуха; привод вращения фильтрующей секции; отверстие ввода внешнего воздуха, выполненное в кожухе контейнера для ввода внешнего воздуха в кожух контейнера; элемент открывания/закрывания отверстия ввода внешнего воздуха; канал сообщения, предназначенный для соединения секции отделения пыли и кожуха контейнера; и элемент открывания/закрывания канала сообщения воздуха, отличающийся тем, что снабжен модулем управления потоком воздуха для образования при обычной чистке первого пути потока воздуха для прохождения потока воздуха через секцию отделения пыли через канал, сообщающий секцию отделения пыли с кожухом контейнера, и через фильтрующую секцию, для всасывания этого потока электрическим вентилятором и для очистки воздухом кожуха контейнера, и для образования при очистке воздуха второго канала для прохождения всасываемого электрическим вентилятором потока через фильтрующую секцию отделения без подачи воздуха из отверстия ввода внешнего воздуха; а также механизмом взаимной блокировки элемента открывания или закрывания внешнего воздуха и элемента открывания или закрывания канала, сообщающего секцию отделения пыли с кожухом контейнера, в зависимости от направления вращения приводом фильтрующей секции, так что при вращении фильтрующей секции в одном направлении образуется указанный первый канал путем открывания элемента открывания/закрывания канала, сообщающего секцию отделения пыли с кожухом контейнера, и закрывания элемента открывания/закрывания отверстия ввода внешнего воздуха; а при вращении фильтрующей секции в другом направлении образуется указанный второй канал путем закрывания элемента открывания/закрывания канала, сообщающего секцию отделения пыли с кожухом контейнера, и открывания элемента открывания/закрывания отверстия ввода внешнего воздуха.

2. Пылесос по п.1, отличающийся тем, что фильтрующая секция содержит гофрированный фильтр с множеством радиально расположенных канавок, а механизм взаимной блокировки содержит модуль удаления пыли с элементом для удаления пыли, контактирующим с гофрированным фильтром, а также элемент открывания/закрывания канала сообщения воздуха и элемент открывания/закрывания внешнего воздуха, выполненные с возможностью открытия или закрытия в зависимости от вращения фильтрующей секции через модуль удаления пыли при вращении фильтрующей секции.

3. Пылесос по п.2, отличающийся тем, что модуль удаления пыли выполнен с возможностью начала удаления пыли из фильтра после окончания открывания или закрывания элемента открывания/закрывания канала сообщения воздуха и элемента открывания/закрывания внешнего воздуха.

4. Пылесос по п.3, отличающийся тем, что модуль удаления пыли содержит рычаг, задний конец которого шарнирно установлен в центре вращения гофрированного фильтра, а элемент удаления пыли расположен на рычаге и введен в контакт с гребнем гофрированного фильтра, причем элемент удаления пыли выполнен с возможностью вращения вокруг оси на рычаге и поджат в направлении вокруг оси.

РИСУНКИ

Categories: BD_2386000-2386999