|
|
(21), (22) Заявка: 2006130743/12, 24.01.2005
(24) Дата начала отсчета срока действия патента:
24.01.2005
(30) Конвенционный приоритет:
26.01.2004 EP 04425042.1 17.09.2004 IT PCT/IT2004/000503
(43) Дата публикации заявки: 10.03.2008
(46) Опубликовано: 20.04.2010
(56) Список документов, цитированных в отчете о поиске:
US 5242702 А, 07.09.1993. WO 02/076270 A1, 03.10.2002. EP 1243210 A1, 25.09.2002. RU 2210969 C2, 27.08.2003. RU 2131695 С1, 20.06.1999.
(85) Дата перевода заявки PCT на национальную фазу:
28.08.2006
(86) Заявка PCT:
IB 2005/000163 20050124
(87) Публикация PCT:
WO 2005/080223 20050901
Адрес для переписки:
103735, Москва, ул. Ильинка, 5/2, ООО “Союзпатент”, пат.пов. Л.С.Кишкиной
|
(72) Автор(ы):
ДОГЛИОНИ МАЙЕР Лука (IT)
(73) Патентообладатель(и):
ТУТТОЭСПРЕССО С.П.А. (IT)
|
(54) СПОСОБ ПРИГОТОВЛЕНИЯ НАПИТКОВ И КАПСУЛА ДЛЯ ОСУЩЕСТВЛЕНИЯ ЭТОГО СПОСОБА
(57) Реферат:
Предложена капсула, рассчитанная на одну порцию, для приготовления таких напитков, как обычный кофе, каппуччино, чай или подобные им напитки, из растворимых или молотых препаратов, имеющая часть (1b) крышки, расположенную на стенке (F) для розлива, чтобы обеспечить образование отверстия (11) для розлива после того, как в капсулу введена жидкость, а также средства изменения площади упомянутого отверстия (11) для розлива во время этапа розлива напитка. Изобретение обеспечивает простое, гигиеничное и экономичное получение требуемого напитка с необходимым количеством пены. 7 н. и 12 з.п. ф-лы, 16 ил.
Область техники, к которой относится изобретение
Настоящее изобретение относится к способу приготовления напитков, а также к устройству и капсуле, рассчитанной на одну порцию, для осуществления этого способа. Более конкретно, изобретение относится к способу приготовления напитков, а также к устройству и капсуле, рассчитанной на одну порцию, для осуществления этого способа, например, в автоматах, оснащенных группой средств розлива, выполненной с возможностью размещения капсулы с пищевым препаратом и позволяющей получать горячие напитки, такие как обычный кофе, каппуччино, чай и т.п. Пищевой препарат может быть растворимым препаратом или завариваемым продуктом, таким как молотый кофе, чай и растительные лекарственные средства.
Предшествующий уровень техники
Применяемые в автоматах известных типов узлы, предназначенные для приготовления и розлива напитков, в общем случае, содержат устройство для розлива, имеющее гнездо для размещения капсулы, рассчитанной на одну порцию.
Поскольку капсулы, рассчитанные на одну порцию, изначально закупорены, чтобы предотвратить контакт растворимого препарата с атмосферой и утечку его во время манипуляций с ними, устройство розлива, в общем случае, оснащено пробивающим элементом или иным средством, которое открывает одно или более отверстий, по меньшей мере, в одной стенке капсулы, например выпускные отверстия на ее дне, чтобы обеспечить выпуск напитка. В некоторых случаях на этом этапе также получают впускное отверстие для жидкости, используемое для приготовления напитка.
Сразу же после размещения капсулы в корпусе устройства розлива и обеспечения выхода для напитка через одно или более впускных отверстий в капсулу подают горячую воду под давлением, чтобы создать напиток, состоящий из настоя, дисперсии или раствора молотого или растворимого препарата в воде. Затем напиток разливают через нижний выпускной проем или отверстие. Вариант осуществления устройства этого типа описан в WO 02/076270.
В US 5242702 раскрыта алюминиевая или пластиковая капсула, снабженная фильтром и разливной стенкой, соседней с фильтром, что позволяет выдерживать давление в капсуле (в процессе заваривания) при деформации без разрыва. Палец позиционируется у деформируемой разливной стенки для ее открытия путем деформации при контакте с пальцем.
В альтернативном варианте, как описано, например, в ЕР 1243210, капсулу размещают в ее гнезде и подают внутрь капсулы горячую воду под давлением, деформируя нижнюю стенку наружу; поршневой элемент выталкивает внутрь выпускную крышку, предусмотренную на нижней стенке, вследствие чего образуется постоянное выпускное отверстие для напитка, причем эта выпускная крышка выполнена с возможностью открывания также в конце этапа розлива.
Надлежащая группа средств розлива должна гарантировать полное и равномерное растворение (или суспендирование либо диспергирование) всего продукта или тех частей продукта, которые, попадая в горячую воду, растворяются при заваривании или настаивании и обеспечивают надлежащий внешний вид напитка; применительно к обычному кофе и каппуччино, термин «надлежащий внешний вид» означает наличие «взбитости», т.е. слоя пены, состоящей из маленьких пузырьков, заметное количество которой сохраняется. Получить этот результат трудно, потому что форма и размеры капсул одинаковы для всех разливаемых продуктов, тогда как количество растворимого продукта, предусматриваемого внутри капсулы, изменяется в соответствии с его природой. Например, предусматривается наличие 1,5 граммов продукта, когда напитком, подлежащим розливу, является кофе эспрессо, приготавливаемый из препарата кофе эспрессо, примерно 3,0 грамма чайных листьев, когда напитком является чай, примерно 6,5 граммов, когда продуктом является молотый кофе, а когда напитком является растворимый горячий шоколад или каппуччино, в той же самой капсуле предусматривается наличие 15-16 граммов продукта или более. Эта разница в количествах отражается в возможной трудности надлежащего получения требуемого количества и качества пены для каждого налитка.
Еще одна проблема, связанная с известными группами средств розлива, в частности, при обработке растворимых продуктов на основе молока, заключается в том, что нужно обеспечить гигиену этой группы средств; это приводит к требованию избегать наличия подающих каналов и трубок с малыми размерами поперечных сечений (менее 2 мм), поскольку в них могут образовываться пленки и осадки. К сожалению, очевидно, что эти каналы малых размеров могут оказаться весьма полезными для обеспечения требуемой пены. В вышеупомянутой публикации WO 02/076270 (упоминаемой здесь в качестве ссылки) от имени того же заявителя описан узел розлива, в котором пробивающий элемент или поршень действует как средство открывания, по существу, круглой части дна капсулы. Отношение диаметров поршня и круглой части на дне капсулы обуславливает дросселирование, достаточное для достижения надлежащего розлива и получения пены или «взбитости».
Вместе с тем, в получаемых результатах обнаружены изменения, зависящие от продуктов и используемых доз, поэтому существует потребность в получении однородных результатов с помощью вышеописанных групп средств розлива.
В заявке 2003/00056661 на патент США и соответствующей ей публикации WO 02/090744 (соответствует вышеупомянутому ЕР 1243210) описан способ розлива растворимого продукта, при котором крышечный выпускной элемент, открываемый пробивающим поршнем, пластически деформируется в таком положении, что создается проход, имеющий уменьшенные размеры, т.е. происходит дросселирование оттока жидкости из капсулы. Эти размеры остаются постоянными во времени, когда происходит розлив, а в конце этапа розлива крышка открывается. Чтобы улучшить пенообразование, пробивающий элемент снабжают каналами, имеющими поперечное сечение размером менее 2 мм; в альтернативном варианте эти каналы формируют на капсуле между двумя соседними стенками и в контакте с ними.
Недостатки этого варианта осуществления заключаются в том, что он не обеспечивает воспроизводимость и постоянство характеристик и подвержен вышеописанным проблемам, связанным с закупориванием каналов и их возможным загрязнением бактериями из-за образования пленок и скоплений осадков внутри каналов. Кроме того, капсула оказывается сложной и дорогостоящей в изготовлении ввиду способа получения выпускной крышки в границах нижней стенки.
Следовательно, существует потребность в усовершенствованной системе розлива напитков, в частности растворимых напитков, которая обеспечивает простое, гигиеничное и экономичное получение требуемого напитка и требуемого количества пены.
Краткое изложение сущности изобретения
Задача настоящего изобретения состоит в том, чтобы решить вышеупомянутые проблемы и гарантировать неизменные результаты, оптимальные с точки зрения качества разливаемого напитка.
Еще одна задача состоит в том, чтобы разработать капсулу и опорный узел капсулы, которые не страдают проблемами гигиены.
Эта задача решается с помощью настоящего изобретения, в котором предлагается способ приготовления напитка из пищевых препаратов, включающий в себя этапы, на которых:
подают некоторое количество жидкости в капсулу (1) для розлива препарата напитка, содержащегося внутри капсулы,
формируют отверстие для розлива растворенного продукта, причем отверстие имеет площадь для розлива, через которую жидкость может вытекать изнутри капсулы наружу капсулы,
осуществляют розлив полученного таким образом напитка из капсулы через отверстие для розлива,
отличающийся тем, что по меньшей мере, часть упомянутой стенки (F) для розлива имеет жесткость в пределах диапазона от 10 Н/мм до 55 Н/мм, измеренную путем сжатия с помощью пробойника (6) при смещении на 3 мм так, что площадь отверстия (11) для розлива изменяют путем увеличения и уменьшения, по меньшей мере, вдвое в течение этапа розлива напитка из капсулы до того, как произойдет розлив всего напитка в соответствии с ростом давления внутри капсулы за счет жидкости, подаваемой в капсулу.
Площадь отверстия соответствует сечению потока напитка.
Изменение площади для розлива происходит после этапа формирования отверстия для розлива, т.е. после формирования соответствующего проема. Чтобы избежать использования механических средств для изменения площади для розлива (это использование могло бы опять привести к вышеупомянутым проблемам закупоривания, засорения и «перекрестного загрязнения» различными продуктами), изобретение преимущественно обеспечивает достижение регулирования площади отверстия для розлива посредством давления, создаваемого внутри капсулы жидкостью, подаваемой в капсулу. Отверстие можно формировать снаружи внутрь или наоборот. В первом случае пробивающий элемент обращен к части выпускной крышки дна капсулы, т.е. внутрь капсулы, а во втором случае эта часть выпускной крышки выталкивается наружу за счет роста давления внутри капсулы.
В обоих случаях в нижней стенке сначала получается проход, т.е. отверстие. Это отверстие затем увеличивается под воздействием давления, прикладываемого водой, закачиваемой в капсулу. Ввиду увеличившейся площади отверстия через это отверстие протекает большее количество жидкости, а давление внутри капсулы уменьшается. Следствием уменьшения давления является то, что ввиду качеств материала и/или конструкции нижней стенки эта нижняя стенка перемещается назад, в, по меньшей мере, частично закрытое положение, в общем случае – в свое исходное положение, т.е. площадь отверстия становится меньше (уменьшается).
Это уменьшение площади отверстия приведет к дальнейшему увеличению давления, и этот цикл будет повторяться до тех пор, пока не прекратится закачивание воды в капсулу. В одном предпочтительном варианте осуществления обеспечивается уменьшение и последующее увеличение площади для розлива.
Дополнительная задача изобретения состоит в том, чтобы разработать капсулу для приготовления напитков из растворимых препаратов после подачи жидкости в капсулу, имеющую стенку для розлива и часть крышки стенки для розлива, выполненную с возможностью открывания с образованием отверстия для розлива напитка, отличающуюся тем, что, по меньшей мере, часть упомянутой стенки для розлива имеет жесткость в пределах диапазона от 10 Н/мм до 55 Н/мм, измеренную путем сжатия с помощью пробойника (6) при смещении на 3 мм для изменения площади отверстия для розлива, по меньшей мере вдвое в течение этапа розлива напитка из капсулы.
В предпочтительном варианте осуществления средства для изменения площади отверстия для розлива представляют собой петельные средства, предусмотренные на стенке капсулы, где сформировано отверстие для розлива, и находящиеся между отверстием для розлива и корпусом капсулы, для придания колебательного движения стенке во время этапа розлива.
В соответствии с одним аспектом настоящего изобретения такая «петля» получается за счет того, что стенка для розлива имеет разные толщины: в частности, толщина в области, окружающей отверстие для розлива и примыкающей к нему, больше, чем толщина той же стенки рядом с боковыми стенками, т.е. рядом с корпусом капсулы.
Дополнительная задача изобретения состоит в том, чтобы разработать капсулу, в которой, по меньшей мере, часть стенки для розлива имеет жесткость в диапазоне от 5 Н/мм до 60 Н/мм, измеренную путем сжатия с помощью пробойника при отклонении, задаваемом равным 3 мм; при этих значениях достигается упругость стенки, которая гарантирует требуемое перемещение.
В соответствии с еще одним предпочтительным аспектом изобретения, в дополнение к вышеупомянутым характеристикам или в качестве альтернативы им капсула согласно изобретению предусматривает, что петля находится в части и что она является упруго деформируемой, т.е. что такая часть выпускной крышки отклоняется этой петлей, возвращаясь в, по существу, закрытое положение, когда давление внутри капсулы уменьшилось. Выпускная крышка может открываться либо внутрь – в капсулу, либо наружу – из нее. Таким образом, петельное средство осуществляет упругое или вязко-упругое воздействие, управляя потоком напитка так, как если бы в капсуле было предусмотрено клапанное средство: площадь отверстия 11 увеличивается и уменьшается с увеличением или уменьшением давления в капсуле, даже если и когда нет прямой или пропорциональной корреляции между давлением и площадью отверстия 11.
Дополнительная задача изобретения состоит в том, чтобы разработать устройство для приготовления напитков, отличающееся признаками, соответствующими п.17 формулы изобретения.
В соответствии с дополнительным аспектом изобретения предложена капсула с фильтрующим средством для задержания молотого либо спитого кофе, чая или иного продукта внутри капсулы после заваривания напитка. В одном варианте осуществления изобретения фильтр отодвинут от нижней стенки посредством прокладки.
Краткое описание чертежей
Дополнительные характеристики и преимущества настоящего изобретения станут лучше понятными из нижеследующего неограничительного описания, приводимого со ссылками на прилагаемые чертежи, при этом:
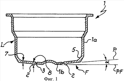
на фиг.1 представлен разрез капсулы, соответствующей настоящему изобретению;
на фиг.2 представлен вид снизу капсулы согласно фиг.1;
на фиг.3 представлен в увеличенном масштабе разрез детали дна капсулы;
на фиг.4 представлен вид капсулы во время испытания на сжатие с целью измерения жесткости;
на фиг.5 представлен разрез капсулы, установленной на группе средств розлива;
на фиг.6, 7 и 8 представлены в увеличенном масштабе виды, демонстрирующие перемещение с изменением площади отверстия для розлива в варианте осуществления согласно фиг.5;
на фиг.9 представлен вид дополнительного варианта осуществления изобретения;
на фиг.10 и 11 представлены в увеличенном масштабе виды, демонстрирующие перемещение с изменением площади отверстия для розлива в варианте осуществления согласно фиг.9;
на фиг.12 представлен разрез капсулы согласно изобретению, снабженной фильтрующим элементом;
на фиг.13 представлен вид сверху капсулы согласно фиг.12;
на фиг.14 представлен вид снизу капсулы согласно фиг.12, снабженной верхней крышкой;
на фиг.15 представлен вид сбоку капсулы согласно фиг.12;
на фиг.16 представлен разрез вдоль плоскости А-А капсулы, показанной на фиг.15, со смещенным фильтрующим элементом.
Способы осуществления изобретения
В варианте осуществления, описанном на прилагаемых фиг.1-4, капсула 1, являющаяся объектом изобретения, содержит часть 1а, имеющую, в основном, вогнутую форму и представляющую собой корпус капсулы, имеющий, в основном, цилиндрическую боковую стенку L и стенку F для розлива, которая в иллюстрируемом варианте осуществления является нижней стенкой капсулы. На стенке для розлива имеется круглая часть 1b выпускной крышки, выполненная с возможностью открывания, например, с пробивающим элементом или поршнем 9, 9а группы 10 или 10а средств розлива (фиг.5 и 10), с целью образования отверстия для розлива.
Часть 1b выпускной крышки получают на капсуле 1 за счет ограничения ее линией 3 разрыва и наличия петли 4 на дне капсулы 1.
В соответствии с изобретением капсула имеет средства изменения площади отверстия для розлива, т.е. средства увеличения и уменьшения площади поперечного сечения для розлива с целью изменения оттока напитка из капсулы. Такое регулирование получается путем осуществления действия нагнетания давления, прикладываемого жидкостью к стенке F капсулы после начала этапа розлива и закачивания воды в капсулу. Во время первоначального этапа «в закрытой капсуле», например, когда нижняя стенка капсулы сцеплена с поршнем или часть выпускной крышки еще представляет собой единое целое с нижней стенкой F, давление внутри капсулы увеличивается: как только достигается значение достаточного давления, образуется отверстие для розлива, сквозь которое происходит частичный розлив продукта. В соответствии с изобретением в этот момент давление внутри капсулы уменьшается, как и площадь для розлива напитка; это уменьшение ведет к новому увеличению давления, которое, в свою очередь, приводит к новому увеличению площади отверстия.
В описанном варианте осуществления и часть 1b выпускной крышки капсулы 1 является круглой, и линия 3 разрыва проходит по окружности; тем не менее, они могут иметь разные контуры, например, линия 3 разрыва может быть эллипсоидной или линией другого вида, в зависимости от типа используемого поршня, формы, получаемой для отверстия в дне капсулы 1, или типа отверстия для дозирования, получаемого между поршнем и стенкой F капсулы. В частности, в соответствии с вариантом осуществления изобретения такое отверстие имеется только во время розлива: в этом случае делается ссылка на «нулевую или отрицательную помеху» между поршнем и отверстием 1b, т.е. часть поршня, которая вступает в контакт с отверстием, имеет площадь поперечного сечения, по существу, равную площади отверстия или превышающую ее. Термин «по существу, равное поперечное сечение» означает, что суммарный воздушный зазор между поршнем и дном капсулы составляет, по большей мере, около 1,0 мм, а предпочтительно находится в пределах диапазона от 0,01 до 0,05 мм.
На фиг.5-8 показан вариант осуществления изобретения, в котором капсула введена в контакт с пробивающим элементом 9 группы 10 средств розлива.
В соответствии с вариантом осуществления изобретения пробивающий элемент 9 несколько больше, чем отверстие 1b. В частности, при цилиндрическом пробивающем элементе 10 и круглом отверстии 1b отношение D1/D2, где D1 – диаметр цилиндрического элемента в месте, где он контактирует с нижней стенкой F, a D2 – диаметр отверстия 1b, находится в диапазоне от 1,0 до 1,067, предпочтительно – в пределах диапазона от 1,01 до 1,03. В предпочтительном варианте осуществления разность между диаметрами пробивающего элемента и отверстия для розлива составляет, по большей мере, 2,0 мм, предпочтительно – 1,1 мм, а более предпочтительно – находится между 0,05 мм и 0,8 мм. Это означает, что вскоре после установки пробивающего элемента в отверстие для розлива возникает ситуация, соответствующая фиг.6: края отверстия для розлива сцепляются с пробивающим элементом и увлекаются внутрь капсулы.
Когда в капсулу подают жидкость, в основном, по существу, при постоянном расходе посредством насоса устройства для розлива, давление внутри капсулы увеличивается, потому что отверстия для розлива нет; с увеличением значения давления стенка F для розлива деформируется в направлении наружу из капсулы, что, в конце концов, приводит (фиг.7) к получению отверстия 11 для розлива в форме, по существу, круглой короны вокруг пробивающего элемента 9. После образования отверстия 11 некоторое количество напитка разливается из капсулы, а давление падает: нижняя стенка, больше не подвергающаяся механическому напряжению под воздействием той же силы, склонна возвращаться в исходное положение, в котором она прилипала к пробивающему элементу, а площадь отверстия 11 уменьшается в размере в большей или меньшей степени в соответствии с характером стенки F, и внутри капсулы по-прежнему поддерживается давление, возможно – достигающее очень малого значения или, по существу, равное нулю. Это состояние показано на фиг.8.
Дополнительная жидкость, подаваемая в капсулу, снова вызывает увеличение давления в ней до тех пор, пока не получаются более широкая площадь отверстия и повышенный расход при розливе напитка и пока состояние капсул не становится аналогичным предыдущему, показанному на фиг.7.
В соответствии с изобретением по меньшей мере часть принадлежащей капсуле стенки для розлива, т.е. нижней стенки F, имеет жесткость в пределах диапазона от 5 Н/мм до 60 Н/мм, измеренную путем сжатия с помощью пробойника при отклонении, задаваемом равным 3 мм. Предпочтительные диапазоны жесткости составляют от 10 Н/мм до 50 Н/мм и от 20 Н/мм до 45 Н/мм. Вышеупомянутую жесткость измеряют так, как показано на фиг.4 и описано ниже, а приводимые значения относятся к этому способу измерения.
Капсулу 1 без части 1b выпускной крышки размещают верхней стороной вниз на жесткой плоскости динамометра; дно F считают подобным мембране с центральным пробитым отверстием. Измерение жесткости проводят с помощью металлического пробойника 6, содержащего нижнюю цилиндрическую часть 6а, имеющую диаметр, соответствующий номинальному диаметру отверстия, получаемого путем удаления нижнего элемента 1b, и верхнюю цилиндрическую часть 6b с диаметром, который на 2 мм больше, чем диаметр части 6а. Таким образом, пробойник 6 центрирован на отверстии в нижней стенке F капсулы и контактирует с этой стенкой F вдоль круглой короны размером 1 мм. Измерение проводят на динамометре со скоростью испытания, составляющей 2 мм/мин, при температуре 23°С и при отклонении, задаваемом равным 3 мм.
Как уже упоминалось, заявляемая жесткость находится в диапазоне от 5 Н/мм до 60 Н/мм, предпочтительно – от 10 Н/мм до 50 Н/мм, а более предпочтительно – от 20 Н/мм до 45 Н/мм.
Стенка F для розлива предпочтительно снабжена петельными средствами.
Петельные средства можно воплотить несколькими путями, соответствующими способу получения отверстия в нижней стенке F.
Позиции 7 и 8 на фиг.4 обозначают две точки нижней стенки F, в которых измеряют ее толщину. В соответствии с одним аспектом изобретения капсула 1 имеет нижнюю стенку, в которой толщина вокруг отверстия, ограниченного частью 1b, т.е. рядом с ним, например – в точке 8, больше, чем толщина, измеренная вдоль того же поперечного сечения рядом с боковой стенкой 1а, например – в точке 7, чтобы получить требуемую петлю.
Эту разницу в толщине предпочтительно получают, увеличивая или уменьшая значение толщины от точки 7 к точке 8, но ее можно получить и путем резких изменений, например – посредством ребра 2 (фиг.1), располагаемого рядом с частью 1b.
Поэтому задача данного изобретения состоит в том, чтобы разработать вышеописанную капсулу, в которой толщина упомянутой стенки F для розлива вокруг открываемой части 1b выпускной крышки больше, чем толщина нижней стенки рядом с боковыми стенками капсулы.
Как упоминалось выше, распределение значений толщины дна таково, что во время этапа розлива напитка обеспечивается колебательное движение стенки F без разрыва или постоянной деформации нижней стенки вокруг отверстия 1b. Следовательно, дополнительная задача этого изобретения состоит в том, чтобы разработать капсулу вышеописанного типа, отличающуюся тем, что она имеет петельные средства, позволяющие чередовать движение внутрь и наружу стенки для розлива в зависимости от давления внутри упомянутой капсулы во время розлива из упомянутой капсулы.
Положение петли, по существу, соответствует той точке дна F, где толщина является наименьшей, причем точка, как указано выше, предпочтительно находится рядом с боковой стенкой L или между стенкой и средней точкой, находящейся между стенкой L (фиг.4) или ее частью 1а (фиг.1), и краем 3 нижней стенки F, называемой также стенкой для розлива.
В проиллюстрированном варианте осуществления боковая стенка L части 1а соединена с нижней стенкой капсулы 1, где находится часть 1b, посредством внутренней поверхности 5, форма которой соответствует кривой, предпочтительно – дуге окружности. Радиус дуги предпочтительно находится в пределах диапазона от 3 мм до 15 мм, а более предпочтительно – от 5 мм до 12 мм.
Как упоминалось выше, снаружи от линии 3 разрыва и вблизи нее предусмотрено ребро 2 с целью предотвращения избыточной деформации дна капсулы 1 в пределах отверстия 1b во время этапа открывания последнего пробивающим поршнем, в частности – во время этапа розлива. Как и в проиллюстрированном варианте осуществления, ребро 2 предпочтительно полностью окружает линию 3 разрыва; это ребро может быть более или менее широким, но начинается оно из положения, непосредственно примыкающего к краю 3 отверстия 1b, чтобы избежать разрыва или деформации ребра во время этапа розлива.
В предпочтительном варианте осуществления нижняя стенка F является полностью вогнутой. Эту вогнутость предпочтительно получают посредством надлежащей ориентации стенки F таким образом, чтобы стенка F сходилась с боковой стенкой L, наклоняясь к открываемой части 1b крышки, которая находится в центре нижней стенки. Фиг.1 иллюстрирует угол наклона плоскости (Р) нижней стенки относительно воображаемой плоскости (PF) нижней стенки, имевшей бы место в случае, если бы та была перпендикулярна боковой стенке L.
Как правило, угол находится в пределах диапазона от 1 градуса до 15 градусов, а предпочтительно – от 3 градусов до 10 градусов.
Следовательно, дополнительная задача этого изобретения состоит в том, чтобы обеспечить применение вышеописанной капсулы вместе с группой средств розлива, содержащей пробивающий элемент, при этом размер части пробивающего элемента, контактирующей с нижней стенкой капсулы, больше, чем размер открываемой части нижней стенки.
На фиг.9-11 проиллюстрировано функционирование еще одного варианта осуществления в соответствии с настоящим изобретением.
В этом варианте осуществления отверстие для розлива формируют за счет взаимодействия открываемой части 1b выпускной крышки с открывающим элементом 9а, находящимся непосредственно под капсулой, как описано в вышеупомянутой заявке на патент от имени фирмы Societé des Produits Nestlé. На фиг.9 показано исходное положение, в котором открывающий элемент 9 находится рядом с частью 1b выпускной крышки капсулы 1 в контакте с этой частью или на расстоянии нескольких миллиметров от нее. В капсуле нагнетают давление (фиг.10) так, как это описано со ссылками на предыдущие чертежи: горячая вода, подаваемая в капсулу, нагнетает давление в ней и вызывает выпучивание наружу и вниз стенки F для розлива, вследствие чего часть 1b выходной крышки оказывается прижатой к открывающему элементу 9а. Из-за этого взаимодействия часть 1b крышки открывается по линии 3 разрыва, образуя тем самым отверстие 11а, через которое вытекает напиток. Когда давление уменьшается, стенка для розлива, т.е. дно капсулы, возвращается в исходное положение, отходя от открывающего элемента 9а; в этот момент открываемая часть 1b крышки снова движется к стенке F, по существу, в положение (фиг.11), соответствующее закрытому отверстию, или в положение, соответствующее отверстию уменьшенной площади. Вышеуказанные соображения, касающиеся уменьшения площади отверстия в связи с переходом из состояния согласно фиг.10 в состояние согласно фиг.11, применимы и к этому варианту осуществления.
Аналогично вариантам осуществления согласно фиг.6-8 сразу же после того, как давление внутри капсулы опять вырастает, последняя еще раз будет деформироваться в направлении вниз, и площадь отверстия снова увеличится. Возврат части 1b в закрытое положение происходит проще вследствие природы используемой пластмассы и за счет того, что предусмотрена петля 4а, которой для этой цели приданы надлежащие размеры.
Таким образом, в этом варианте осуществления петельное средство является петлей, соединяющей часть 1b выпускной крышки с нижней стенкой F.
Как упоминалось ранее, капсулу согласно изобретению можно использовать для растворимых продуктов или молотых продуктов, например молотого кофе, чая, растительных лекарственных средств и т.д. В этом случае капсула снабжена фильтрующим средством, а открываемая часть крышки выполнена с возможностью открывания посредством давления, прикладываемого отвесно изнутри наружу или наоборот, с помощью пробивающего элемента (поршня).
На фиг.12 показан вариант осуществления изобретения, в котором на дне капсулы С предусмотрен узел фильтра, состоящий из жесткой опоры 13 и фильтровальной бумаги 14, которые сами по себе известны. Боковая стенка L капсулы С предпочтительно снабжена окружным ребром 15, выступающим внутрь и отстоящим от дна, вследствие чего обеспечивается средство блокировки изменения положения узла фильтра.
Открываемая часть 16 крышки нижней стенки F ограничена линиями 18 разрыва и петлями 17, которые могут придавать выпускной крышке любую желаемую форму; например, помимо вышеописанной круглой формы крышки 1b (показанной пунктирными линиями на фиг.13) можно использовать квадратную форму (фиг.13) или крестообразную форму (не показана).
Выпускная крышка 16 согласно фиг.12-16 имеет квадратную форму, ограниченную Н-образными линиями 18 разрыва и петлями 17. В соответствующей крышке крестообразной формы линии разрыва расположены крестом.
Эта выпускная крышка (а также другие выпускные крышки, которые предусмотрены в капсуле, имеющей на своем дне фильтрующий узел) открывается наружу, как показано стрелками D на фиг.23, сразу же после того, как давление, создаваемое горячей водой, закачиваемой в капсулу, оказывается достаточно высоким, чтобы разорвать крышку вдоль линий 18 разрыва. Тогда две половинки выпускной крышки 16 откроются, как «окно» или «двустворчатая дверь, открывающаяся в любую сторону», вдоль петель 17, а затем вернутся обратно в закрытое или почти закрытое положение сразу же после уменьшения давления, чтобы впоследствии снова открыться после дальнейшего увеличения внутреннего давления.
В предпочтительном варианте фильтрующий элемент, по меньшей мере, немного отстоит от нижней стенки F капсулы, обеспечивая объем, в котором собирается напиток перед тем, как покидает капсулу.
На фиг.14-16 показана капсула С, снабженная фильтрующим элементом, выполняющим функцию как фильтрации молотого кофе, так и разделения или перегораживания внутреннего объема капсулы. Фильтрующий элемент 13 может иметь разные формы и размеры в зависимости от конкретных приложений, для которых предназначена капсула С.
Фильтрующий и перегораживающий элемент 13 согласно фиг.16 образован прокладкой 24, имеющей заранее определенную протяженность по высоте, так что сразу же после ее вставления в капсулу С внутренний объем тары, остающийся доступным для продукта 23, уменьшается до пространства между верхней поверхностью прокладки 24 и верхом 22 капсулы С. Между верхней поверхностью фильтра 13 (над прокладкой 24) и продуктом 23 расположен бумажный фильтрующий или другой материал, подходящий для пищи. Еще один фильтр может быть расположен между продуктом 3 и верхней стенкой капсулы С.
При очевидных экономических преимуществах прокладка 24 обеспечивает использование капсулы С для приготовления напитков как из молотого кофе, так и из растворимых продуктов. В первом случае (кофе) капсула С снабжена прокладкой 24, включающей в себя фильтр 13, а во втором случае капсула С не содержит прокладку 24, а внутренний объем этой капсулы может быть полностью заполнен продуктом 23.
Таким образом, прокладку 24, включающую в себя фильтр 13, можно вставлять в капсулу, когда капсулу С наполняют продуктом 23. Если количество продукта 23 не превышает, например, 10 граммов, прокладку 24 вставляют в капсулу с тем, чтобы эта прокладка работала и как дно, и как фильтр для капсулы С. Если продукт является растворимым, тара 1 не содержит прокладку.
Таким образом, можно стандартизировать внешние размеры капсулы С и изменять эти внутренние размеры в зависимости от потребностей. Надо сказать, что элемент для разделения объема капсулы может быть предусмотрен и в обычных капсулах, т.е. независимо от средств, предназначенных для открывания капсулы.
Прокладка 24 преимущественно обеспечивает инкапсуляцию продукта 23 в соответствии с наиболее возможной нагрузкой и/или степенью густоты. Фактически уменьшение заполняемого объема капсулы С может быть предназначено для получения желаемой степени густоты продукта 23 в капсуле С.
Формула изобретения
1. Способ приготовления напитка из пищевых препаратов, включающий в себя этапы, на которых подают некоторое количество жидкости в капсулу (1), содержащую препарат для приготовления напитка, формируют отверстие (11) в разливной стенке (F) указанной капсулы для розлива растворенного продукта, причем отверстие имеет площадь для розлива, через которую напиток может вытекать изнутри капсулы наружу капсулы, осуществляют розлив полученного таким образом напитка из капсулы через отверстие для розлива, отличающийся тем, что по меньшей мере, часть упомянутой стенки (F) для розлива имеет жесткость в пределах диапазона от 10 до 55 Н/мм, измеренную путем сжатия с помощью пробойника (6) при смещении на 3 мм так, что площадь отверстия (11) для розлива изменяют путем увеличения и уменьшения, по меньшей мере, вдвое в течение этапа розлива напитка из капсулы до того, как произойдет розлив всего напитка в соответствии с ростом давления внутри капсулы за счет жидкости, подаваемой в капсулу.
2. Способ по п.1, при котором отверстие (11) для розлива образовано между пробивающим элементом (9), прилегающим к упомянутой стенке (F) капсулы (1), и краем (3) упомянутой стенки, который окружает пробивающий элемент, и при этом край стенки (F) практически прилипает к пробивающему элементу (9) в начале этапа подачи жидкости в капсулу и перемещается в направлении от элемента (9), чтобы сформировать отверстие (11) для розлива после нагнетания давления в капсуле, и возвращают в, по меньшей мере, частично закрытое положение после розлива некоторого количества напитка из капсулы, но до того, как произойдет розлив всего напитка.
3. Способ по п.1, при котором отверстие (11) для розлива образовано между одной стенкой (F) капсулы, подвижной частью (1b) выпускной крышки стенки и открывающим элементом (9а) подвижной части (1b), при этом часть (1b) выпускной крышки располагают в закрытом положении, начиная с этапа подачи жидкости в капсулу, перемещают в открытое положение после нагнетания давления в капсуле посредством жидкости и перемещают в, по меньшей мере, частично закрытое положение после розлива некоторого количества напитка из капсулы, но до того, как произойдет розлив всего напитка.
4. Способ по пп.1-3, при котором отверстие формируют, когда жидкость под давлением внутри капсулы выталкивает часть (1b, 16) выпускной крышки нижней стенки (F) капсулы наружу из капсулы.
5. Капсула (1) для приготовления напитков из растворимых препаратов после подачи жидкости в капсулу, имеющая стенку (F) для розлива и часть (1b, 16) крышки стенки для розлива, выполненную с возможностью открывания с образованием отверстия (11) для розлива напитка, отличающаяся тем, что, по меньшей мере, часть упомянутой стенки (F) для розлива имеет жесткость в пределах диапазона от 10 до 55 Н/мм, измеренную путем сжатия с помощью пробойника (6) при смещении на 3 мм для изменения площади отверстия (11) для розлива, по меньшей мере, вдвое в течение этапа розлива напитка из капсулы.
6. Капсула по п.5, отличающаяся тем, что средства изменения площади отверстия для розлива содержат петельные средства (7, 4а, 17).
7. Капсула по п.6, отличающаяся тем, что петельные средства предусмотрены на стенке (F) капсулы, в которой образовано отверстие (11), для сообщения колебательного движения стенке (F) во время этапа розлива.
8. Капсула по пп.5-7, отличающаяся тем, что петельные средства являются петлями (17), соединяющими часть (1b, 16) выпускной крышки со стенкой (F) для розлива, причем петли (17) отклоняют часть (1b, 16) крышки, возвращая ее в, по меньшей мере, частично закрытое положение после принудительного перевода в открытое положение до того, как произойдет розлив всего напитка.
9. Капсула по пп.6 и 7, отличающаяся тем, что толщина стенки (F) для розлива в области, содержащей точку (8) и окружающей часть (1b) выпускной крышки, больше, чем толщина нижней стенки в точке (7) рядом с боковыми стенками (L, 1а) капсулы.
10. Капсула по п.9, отличающаяся тем, что стенка (F) для розлива наклонена, сходясь к части (1b) крышки, и при этом угол (а) наклона стенки к части крышки находится в диапазоне от 1-15°.
11. Капсула (С) по любому из пп.5-7 для приготовления напитка из пищевого продукта (23), заключенного внутри нее, отличающаяся тем, что дополнительно содержит фильтрующий элемент (13, 14, 24).
12. Капсула (С) по п.8 для приготовления напитка из пищевого продукта (23), заключенного внутри нее, отличающаяся тем, что дополнительно содержит фильтрующий элемент (13, 14, 24).
13. Капсула (С) по п.9 для приготовления напитка из пищевого продукта (23), заключенного внутри нее, отличающаяся тем, что дополнительно содержит фильтрующий элемент(13, 14, 24).
14. Капсула (1) для приготовления напитков из растворимых препаратов после подачи жидкости в капсулу, имеющая стенку (F) для розлива и часть (1b, 16) для образования отверстия (А) для розлива напитка, отличающаяся тем, что, по меньшей мере, часть упомянутой стенки (F) для розлива имеет жесткость в пределах диапазона от 10 до 55 Н/мм, измеренную путем сжатия с помощью пробойника (6) при смещении на 3 мм.
15. Капсула по п.14, отличающаяся тем, что толщина стенки (F) для розлива в области, содержащей точку (8) и окружающей часть (1b) выпускной крышки, больше, чем толщина нижней стенки в точке (7) рядом с боковыми стенками (L, 1а) капсулы.
16. Капсула (С) для приготовления напитка по п.14 из пищевого продукта (23), заключенного внутри нее, отличающаяся тем, что дополнительно содержит фильтрующий элемент (13, 14, 24).
17. Капсула (С) для приготовления напитка по п.15 из пищевого продукта (23), заключенного внутри нее, отличающаяся тем, что дополнительно содержит фильтрующий элемент (13, 14, 24).
18. Капсула (С) по п.17, отличающаяся тем, что фильтрующий элемент отстоит от нижней стенки (F) капсулы.
19. Капсула (С) по п.17 или 18, отличающаяся тем, что часть выпускной крышки открывается наружу.
РИСУНКИ
|
|