|
|
(21), (22) Заявка: 2008148356/12, 08.12.2008
(24) Дата начала отсчета срока действия патента:
08.12.2008
(46) Опубликовано: 20.04.2010
(56) Список документов, цитированных в отчете о поиске:
МУДАРИСОВ Г. Стрельчатая лапа открывает борозду. – Сельский механизатор, 6, 2005, с.12. SU 337087 А, 09.06.1972. SU 416036 А, 08.07.1974. RU 2001541 C1, 30.10.1993. SU 1761019 A1, 15.09.1992. SU 1794329 A1, 15.02.1993. FR 2658380 A1, 23.08.1991.
Адрес для переписки:
410012, г.Саратов, Театральная пл., 1, Саратовский государственный аграрный университет имени Н.И. Вавилова, патентный отдел
|
(72) Автор(ы):
Ивженко Станислав Андреевич (RU), Перетятько Андрей Владимирович (RU)
(73) Патентообладатель(и):
Федеральное государственное образовательное учреждение высшего профессионального образования “Саратовский государственный аграрный университет имени Н.И. Вавилова” (RU)
|
(54) СОШНИК
(57) Реферат:
Сошник включает дугообразную стойку, семяпровод и стрельчатую лапу. Лапа состоит из груди и двух крыльев с открылками. Каждый открылок выполнен изогнутым в виде дуги окружности с радиусом R=a-b-c, где а – ширина крыла сошника, b – ширина верхней заточки сошника, с – толщина открылка. Центр О окружности, по дуге которой выполнены открылки, расположен на линии заднего обреза крыла. Задняя часть открылка выполнена высотой где Н – глубина хода сошника. Передняя часть открылка выполнена со скосом под угол = , где – угол трения почвы о стальную поверхность открылка. Передняя часть каждого открылка установлена в точке А, расположенной на ребре перехода верхней заточки в наклонную поверхность крыла. Точка А отстоит от точки пересечения В ребер обоих крыльев на расстоянии l1=0,5·l, где l – длина ребра перехода. Задняя часть открылка установлена на линии заднего обреза крыла таким образом, что линия, проведенная через точки О и А, образует перпендикуляр к линии заднего обреза крыла. Такое конструктивное выполнение позволит повысить эксплуатационную надежность, снизить затраты энергии и исключить процесс сгруживания почвы, а также обеспечить равномерную глубину заделки семян в почву и выравненность поверхности почвы после посева. 3 ил.
Изобретение относится к сельскохозяйственному машиностроению, в частности к лаповым сошникам для посева зерновых, зернобобовых и крупяных культур.
Агротехническими требованиями к посеву предусматривается равномерная глубина заделки семян в почву и выравненность поверхности поля после посева.
Близкими устройствами являются конструкции лаповых сошников, представленных в авторских свидетельствах СССР: 1085544, кл. А01С 7/20 1983, в котором конструкция сошника состоит из корпуса и крыльев, снабженных горизонтальными режущими кромками; 1402277, кл. А01С 7/20, 1988 в котором конструкция сошника представляет собой стрельчатую лапу, состоящую из груди и крыльев, с нижним горизонтальным расположением режущих кромок; 1628888, кл. А01С 7/20, 1991 в котором конструкция сошника состоит из корпуса и крыльев, с нижним расположением режущих кромок, и устройства для подачи семян под лапу; а также в патенте РФ на полезную модель 35689, 2004 у которой конструкция состоит из лапового сошника, а под крыльями расположено устройство с направителем-распределителем семян.
К недостаткам этих конструкций относится то, что данные сошники при работе раздвигают почву, оставляя после прохода борозды. Причем с повышением скорости эти борозды увеличиваются, а в определенных случаях доходят до глубины хода сошника, что недопустимо по агротехническим требованиям. Для выравнивания борозд требуются дополнительные мероприятия, которые в то же время нарушают глубину заделки семян. Данные сошники при работе подрезают почву на глубине заделки семян, поднимают ее на грудь и крылья, а в это время в подсошниковое пространство подаются семена, которые закрываются сверху сходящей с крыльев сошника почвой. Однако данные сошники при подъеме почвы раздвигают ее, оставляя после прохода борозду. Причем борозда с повышением скорости увеличивается. Так при скорости лапы более 2 м/с глубина борозды увеличивается, в отдельных случаях, на глубину хода сошника, что недопустимо по агротехническим требованиям. Для выравнивания борозд требуются дополнительные затраты.
Наиболее близким техническим решением к предлагаемому изобретению (прототип) является конструкция сошника с открылками (Г.Мударисов. Стрельчатая лапа открывает борозду /Г.Мударисов, ж. Сельский механизатор 6, 2005, с.12.
Конструкция данного сошника представляет собой стрельчатую лапу, закрепленную на вертикальной стойке, которая в свою очередь закреплена на раме сеялки. Стрельчатая лапа состоит из груди и двух крыльев. На каждом крыле закреплено по прямолинейному открылку. Высота открылок меньше глубины хода сошника и по длине они не выступают за края лапы. Конструкция позволяет регулировать угол установки открылок. Работает данный сошник следующим образом. При движении сошника почва, подрезаясь снизу, поднимается на сошник и раздвигается в стороны. Установленные на крыльях открылки изменяют направление перемещения частиц почвы и направляют их в центральную часть борозды, благодаря чему борозда закрывается почвой.
Недостатком данной конструкции является то, что открылки имеют прямолинейные передние вертикальные стенки, которые резко изменяют траектории движения частиц почвы, что требует дополнительной затраты энергии и ведет к замедлению движения потока почвы по поверхности сошника, обуславливающее условия для сгруживания почвы, забивания сошника и снижения эксплуатационной надежности.
Технической задачей является создание конструкции сошника, обеспечивающей повышение эксплуатационной надежности, снижение затрат энергии и исключение процесса сгруживания почвы за счет плавного изменения направления почвенного потока, набегающего при работе на рабочую поверхность сошника.
Техническая задача достигается тем, что сошник включает дугообразную стойку, семяпровод и стрельчатую лапу, состоящую из груди и двух крыльев с открылками, в котором согласно изобретению, каждый открылок выполнен изогнутым в виде дуги окружности с радиусом R=а-b-с, где а – ширина крыла сошника, b – ширина верхней заточки сошника, с – толщина открылка, с центром О, расположенном на линии заднего обреза крыла, кроме того, задняя часть открылка выполнена высотой где Н – глубина хода сошника, а передняя часть открылка выполнена со скосом под угол = , где – угол трения почвы о стальную поверхность открылка, при этом передняя часть каждого открылка установлена в точке А, расположенной на ребре перехода верхней заточки в наклонную поверхность крыла и отстоящей от точки пересечения В ребер обоих крыльев на расстоянии l1=0,5·l, где l – длина ребра перехода, а задняя часть открылка установлена на линии заднего обреза крыла таким образом, что линия, проведенная через точки О и А, образует перпендикуляр к линии заднего обреза крыла.
Предлагаемое изобретение отличается от прототипа тем, что каждый открылок выполнен изогнутым в виде дуги окружности с радиусом R=a-b-c, где а – ширина крыла сошника, b – ширина верхней заточки сошника, с – толщина открылка, с центром О, расположенным на линии заднего обреза крыла, кроме того, задняя часть открылка выполнена высотой где Н – глубина хода сошника, а передняя часть открылка выполнена со скосом под угол = , где – угол трения почвы о стальную поверхность открылка, при этом передняя часть каждого открылка установлена в точке А, расположенной на ребре перехода верхней заточки в наклонную поверхность крыла и отстоящей от точки пересечения В ребер обоих крыльев на расстоянии l1=0,5·l, где l – длина ребра перехода, а задняя часть открылка установлена на линии заднего обреза крыла таким образом, что линия, проведенная через точки О и А, образует перпендикуляр к линии заднего обреза крыла.
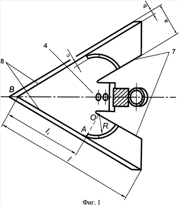
На фиг.1 изображена схема сошника (вид сверху). На фиг.2 изображена схема сошника (вид сбоку). На фиг.3 – схема сошника (вид спереди).
Устройство состоит из дугообразной стойки 1, семяпровода 2 и стрельчатой лапы 3, состоящей из груди 4 и двух крыльев 5 с открылками 6. Каждый открылок 6 выполнен изогнутым в виде дуги окружности с радиусом R=а-b-с, где а – ширина крыла сошника, b – ширина верхней заточки сошника, с – толщина открылка, с центром О, расположенном на линии заднего обреза 7 крыла 5, кроме того, задняя часть открылка выполнена высотой где Н – глубина хода сошника, а передняя часть открылка выполнена со скосом под угол = , где – угол трения почвы о стальную поверхность открылка. При этом передняя часть каждого открылка 6 установлена в точке А, расположенной на ребре перехода 8 верхней заточки 9 в наклонную поверхность крыла 5 и отстоящей от точки пересечения В ребер 8 обоих крыльев 5 на расстоянии l1=0,5·l, где l – длина ребра перехода 8, а задняя часть открылка 6 установлена на линии заднего обреза 7 крыла 5 таким образом, что линия проведенная через точки О и А образует перпендикуляр к линии заднего обреза 7 крыла 5.
Устройство работает следующим образом. При движении стрельчатой лапы 3, закрепленной на дугообразной стойке 1, на глубине заделки семян, соответствующей глубине хода сошника – Н, почва подрезается снизу, крошится и поднимается на грудь 4 и крылья 5. Раздвигаясь от центральной части к краям крыльев 5, почвенный пласт, проходя через ребра перехода 8 верхней заточки 9, встречает установленные на крыльях 5 открылки 6 и сходит с поверхности лапы 3 через заднюю линию обреза 7 крыла 5. Открылки 6 за счет криволинейной формы передней стенки с минимальными затратами энергии плавно изменяют траекторию движения почвенных частиц, обеспечивая работу сошника без сгруживания и забивания, что ведет к повышению эксплуатационной надежности сошника. Открылки 6 направляют часть почвы в сторону центральной линии сошника, тем самым обеспечивая выравненность поверхности поля после прохода сошника и равномерность распределения семян, поступающих через семяпровод 2, по глубине заделки. Скос в передней части каждого открылка под углом = , – угол трения почвы о стальную поверхность открылка, также способствует уменьшению тягового усилия сошника и исключению сгруживания почвы.
Таким образом, предлагаемая конструкция сошника полностью решает поставленную техническую задачу, и кроме того, обеспечивает равномерную глубину заделки семян в почву и выравненность поверхности поля после посева.
Формула изобретения
Сошник, включающий дугообразную стойку, семяпровод и стрельчатую лапу, состоящую из груди и двух крыльев с открылками, отличающийся тем, что каждый открылок выполнен изогнутым в виде дуги окружности с радиусом R=a-b-c, где а – ширина крыла сошника, b – ширина верхней заточки сошника, с – толщина открылка, с центром О, расположенным на линии заднего обреза крыла, кроме того задняя часть открылка выполнена высотой где Н – глубина хода сошника, а передняя часть открылка выполнена со скосом под угол = , где – угол трения почвы о стальную поверхность открылка, при этом передняя часть каждого открылка установлена в точке А, расположенной на ребре перехода верхней заточки в наклонную поверхность крыла и отстоящей от точки пересечения В ребер обоих крыльев на расстоянии l1=0,5·l, где l – длина ребра перехода, а задняя часть открылка установлена на линии заднего обреза крыла таким образом, что линия, проведенная через точки О и А, образует перпендикуляр к линии заднего обреза крыла.
РИСУНКИ
|
|