|
|
(21), (22) Заявка: 2006103019/12, 02.02.2006
(24) Дата начала отсчета срока действия патента:
02.02.2006
(30) Конвенционный приоритет:
07.02.2005 DE 102005005761.6
(43) Дата публикации заявки: 20.08.2007
(46) Опубликовано: 20.04.2010
(56) Список документов, цитированных в отчете о поиске:
DE 10208012 A1, 04.09.2003. DE 19743884 A1, 08.04.1999. RU 2215389 C2, 10.11.2003. DE 19719939 A1, 19.11.1998. US 4607716 A, 26.08.1986.
Адрес для переписки:
191186, Санкт-Петербург, а/я 230, “АРС-ПАТЕНТ”, пат.пов. В.М.Рыбакову, рег. 90
|
(72) Автор(ы):
БРУННЕРТ Андреас (DE)
(73) Патентообладатель(и):
КЛААС Зельбстфаренде Эрнтемашинен ГмбХ (DE)
|
(54) СЕЛЬСКОХОЗЯЙСТВЕННОЕ ТРАНСПОРТНОЕ СРЕДСТВО С АВТОМАТИЧЕСКИМ РУЛЕВЫМ УПРАВЛЕНИЕМ И СПОСОБ УПРАВЛЕНИЯ ТРАНСПОРТНЫМ СРЕДСТВОМ
(57) Реферат:
Средство, содержит, по меньшей мере, одну управляемую ходовую ось, датчик колеи движения, предназначенный для восприятия отклонения между заданным путем движения транспортного средства и его действительным путем движения, и устройство автоматического рулевого управления, выполненное с возможностью корректирующей регулировки управляемой ходовой оси в случае отклонения угла ( , ) поворота колес управляемой ходовой оси, воспринятого датчиком колеи движения, чтобы уменьшить это отклонение. Устройство рулевого управления через вход получает сигнал, который представляет наклон ( ) поверхности, проходимой транспортным средством, в направлении поперечно заданному пути движения. Устройство рулевого управления выполнено с возможностью учета этого наклона ( ) при корректирующей регулировке угла ( , ) поворота колес. Способ рулевого управления транспортным средством, снабженным по меньшей мере одной первой управляемой ходовой осью, содержащий следующие этапы. Воспринимают отклонение ( ) между заданным путем движения транспортного средства и его действительным путем движения. Воспринимают наклон ( ) поверхности, проходимой транспортным средством, в направлении поперечно заданному пути движения. Определяют угол ( ) поворота колес для управляемой ходовой оси на основе отклонения ( ) и наклона ( ) и устанавливают угол ( ) поворота колес на оси. Повышается точность автоматического рулевого управления, а также обеспечивается точность управления при движении на склоне 2 н. и 10 з.п. ф-лы, 4 ил.
Область техники, к которой относится изобретение
Настоящее изобретение относится к сельскохозяйственному транспортному средству, содержащему по меньшей мере одну управляемую ходовую ось, датчик колеи движения, предназначенный для восприятия отклонения между заданным путем движения транспортного средства и его действительным путем движения, и устройство автоматического рулевого управления, выполненное с возможностью корректирующей регулировки положения управляемой ходовой оси в случае отклонения угла поворота колес управляемой ходовой оси, воспринятого датчиком колеи движения, чтобы уменьшать это отклонение.
Уровень техники
Такое сельскохозяйственное транспортное средство известно, например, из патентного документа ФРГ 10208012 А1.
Когда такое транспортное средство следует по ровной поверхности, существует однозначная корреляция между углом поворота колес управляемой ходовой оси, установленным устройством рулевого управления, и радиусом кривизны пути, пройденного транспортным средством. Когда устройство автоматического рулевого управления распознает отклонение между заданным и действительным пройденным путем, желательно это отклонение устранить как можно быстрее и для этого установить большой угол поворота колес. Однако этот слишком большой угол поворота колес приводит к тому, что курс движения транспортного средства пересекает заданный путь движения вместо того, чтобы приблизиться и слиться с ним, как это было бы желательно. Поэтому угол поворота колес должен устанавливаться не слишком большим, то есть следует избегать слишком резких движений рулевого управления при возврате транспортного средства на заданный путь движения.
При направлении транспортного средства на склоне уже не существует такой однозначной корреляции между углом поворота колес управляемой ходовой оси и путем движения. Для прямого проезда по склону поперечно направлению наклона с сохранением высоты необходимо устанавливать угол поворота колес, который соответствует кривой, проходящей по склону вверх, причем величина угла поворота колес, требуемая для движения по прямой, зависит от наклона склона.
Это создает проблемы при автоматическом рулевом управлении транспортным средством на наклонной поверхности. Тот угол поворота колес, который при движении по равнине подходил бы для корректировки отклонения от заданного пути, на склоне, в зависимости от его наклона, может оказаться недостаточным даже для приближения к заданному пути. И наоборот, при слишком резком повороте это приближение может оказаться настолько быстрым, что транспортное средство пересекает заданный путь движения и затем отклоняется от него в противоположном направлении.
Раскрытие изобретения
Задача, на решение которой направлено настоящее изобретение, заключается в создании сельскохозяйственного транспортного средства с точным автоматическим рулевым управлением также и при движении на склоне.
В соответствии с изобретением решение поставленной задачи достигается в сельскохозяйственном транспортном средстве, содержащем по меньшей мере одну управляемую ходовую ось, датчик колеи (т.е. полосы или следа) движения, предназначенный для восприятия отклонения между заданным путем движения транспортного средства и его действительным путем движения, и устройство автоматического рулевого управления, выполненное с возможностью корректирующей регулировки управляемой ходовой оси в случае отклонения угла поворота колес управляемой ходовой оси, воспринятого датчиком колеи движения, чтобы уменьшать это отклонение. Согласно изобретению устройство рулевого управления через вход получает сигнал, который представляет наклон поверхности, проходимой транспортным средством, в направлении поперечно заданному пути движения, при этом устройство рулевого управления выполнено с возможностью учета этого наклона при корректирующей регулировке угла поворота колес.
Другими словами, при наличии отклонения от заданного пути движения угол поворота колес, установленный устройством рулевого управления, может принимать отличные от заданного величины в зависимости от наклона склона; кроме того, также и при согласовании действительного пути движения с заданным может устанавливаться не затухающий (то есть не уменьшающийся до нуля) угол поворота колес для компенсации наклона склона.
Для упрощения обработки данных в устройстве рулевого управления оно предпочтительно выполнено с возможностью вычислять и устанавливать угол поворота по меньшей мере одного колеса первой управляемой ходовой оси как суммы члена уравнения, зависящего от воспринятого отклонения, и члена уравнения, зависящего от наклона.
Повышенная маневренность транспортного средства может достигаться за счет того, что оно содержит вторую управляемую ходовую ось, управляемую устройством рулевого управления.
Для упрощения рулевого управления таким транспортным средством в предпочтительном варианте устройство рулевого управления выполнено с возможностью вычислять и устанавливать угол поворота по меньшей мере одного колеса второй управляемой ходовой оси на основе наклона и независимо от отклонения. В этом случае вторая управляемая ходовая ось служит только для компенсации наклона поверхности движения, а не для удержания транспортного средства на заданном пути движения.
В последнем случае зависящий от наклона член уравнения при определении угла поворота колес для первой управляемой ходовой оси и угол поворота, устанавливаемый на второй управляемой ходовой оси, могут быть равны между собой. Это означает, что объем обработки данных для автоматического рулевого управления транспортным средством с двумя управляемыми ходовыми осями не превышает объема, необходимого для рулевого управления транспортным средством с единственной управляемой ходовой осью.
Для обеспечения сигнала, представляющего наклон проходимой поверхности, транспортное средство предпочтительно снабжено датчиком наклона. В альтернативном варианте в качестве источника сигнала наклона может быть предусмотрена навигационная система, которая содержит топографическую карту проходимой поверхности и выполнена с возможностью определять положение транспортного средства на карте и из содержащейся в топографической карте высотной информации вырабатывать информацию о наклоне поверхности движения в определенном ею положении транспортного средства.
Такая навигационная система для определения географического положения транспортного средства может также являться частью упомянутого датчика колеи движения. В этом случае он содержит также запоминающее устройство для описания заданного пути движения транспортного средства и средства для восприятия отклонения между установленным положением транспортного средства и заданным путем движения.
Альтернативно или дополнительно датчик колеи движения может содержать датчик окрестности, определяющий окрестность, и средства для идентификации заданного пути движения в изображении окрестности, обеспечиваемом датчиком окрестности, и для определения положения транспортного средства относительно пути. Такой датчик колеи движения не требует картографической информации для определения заданного пути движения, а распознает его на основе признаков, воспринимаемых в окрестности транспортного средства.
Еще одним предметом изобретения является способ рулевого управления транспортным средством, снабженным по меньшей мере одной первой управляемой ходовой осью, содержащий следующие этапы:
a) воспринимают отклонение между заданным путем движения транспортного средства и его действительным путем движения,
b) воспринимают наклон поверхности, проходимой транспортным средством, в направлении поперечно заданному пути движения,
c) определяют угол поворота колес для управляемой ходовой оси на основе отклонения и наклона и устанавливают угол поворота колес на оси.
Предпочтительно, на этапе с) угол поворота колес определяют путем сложения члена уравнения, зависящего от воспринятого наклона и не зависящего от воспринятого отклонения, и члена уравнения, зависящего от воспринятого отклонения и не зависящего от воспринятого наклона.
Предпочтительно, угол поворота колес для второй управляемой ходовой оси транспортного средства определяют в зависимости от воспринятого наклона и независимо от воспринятого отклонения. Еще более предпочтительно, угол поворота колес для второй управляемой ходовой оси и член уравнения, зависящий от воспринятого наклона и независимый от воспринятого отклонения, устанавливают равными друг другу.
Предпочтительной областью использования изобретения является область сельскохозяйственных машин, таких как тракторы, зерноуборочные комбайны и подобные мобильные средства, для которых важно точно выдерживать заданный путь движения для обработки сельскохозяйственной площади с минимальными затратами времени. К такой обработке может относиться вспашка, обработка почвы или уборка урожая.
Дальнейшие предпочтительные примеры осуществления и дополнительные решения по развитию изобретения изложены в зависимых пунктах.
Перечень чертежей
Другие особенности и преимущества изобретения будут подробно описаны на примерах осуществления изобретения со ссылками на прилагаемые чертежи. На чертежах:
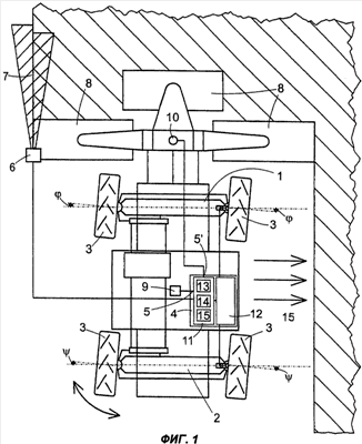
фиг.1 схематично изображает в плане трактор с режущим аппаратом косилки при окашивании луга,
фиг.2 изображает кривые в функции времени воспринятого отклонения между заданным и действительным путем движения и угла поворота колес, установленного для корректировки отклонения, при движении по равнине,
фиг.3 изображает кривые отклонения и угла поворота колес при движении на склоне трактора с рулевым управлением не по изобретению,
фиг.4 изображает кривые отклонения и угла поворота колес при движении на склоне трактора с рулевым управлением по изобретению.
Осуществление изобретения
На фиг.1 схематично показан в плане трактор, шасси которого имеет переднюю управляемую ходовую ось 1 и заднюю управляемую ходовую ось 2 с двумя колесами 3 на каждой оси. Угол поворота устанавливается отдельно для каждого колеса 3 устройством 4 рулевого управления, которое содержит микроконтроллер 11 и управляемый им гидравлический агрегат 12 для питания гидравлической жидкостью исполнительных цилиндров установки колес 3. Устройство 4 рулевого управления может, например, для обычного движения по кривой устанавливать для двух колес 3 передней управляемой ходовой оси 1 угол поворота, отличный от нуля, а для колес задней управляемой ходовой оси 2 – угол поворота, уменьшающийся до нуля, направлять движение транспортного средства косо относительно его продольного направления путем того, что для всех колес 3 устанавливается одинаковый угол поворота, или осуществлять наложение движения по кривой и косое движение.
При движении на поворотах малого радиуса может быть целесообразно установить различные углы поворота для левого и правого колеса 3 одной управляемой ходовой оси 1 или 2, чтобы учитывать различные радиусы кривизны пути, проходимого этими колесами. В последующем описании будет рассмотрен случай, когда угол поворота для обоих колес 3 одной управляемой ходовой оси одинаков. Распространение данного примера осуществления на рулевое управление с различным углом поворота колес одной оси не представляет трудности для специалиста в данной области.
Согласно первому примеру осуществления изобретения с микроконтроллером 11 устройства 4 рулевого управления соединен бесконтактный датчик 6 окрестности, в данном примере лазерный датчик, работающий в видимой или инфракрасной спектральной области. Датчик 6 окрестности считывает лазерным лучом лежащую перед трактором поверхность земли и создает возможность для модуля 13 обработки изображений микроконтроллера 11 на основе интенсивности отраженного принимаемого лазерного света распознавать положение трактора относительно кромки 7 обработки. В данном случае, при передней установке на тракторе режущих аппаратов 8 косилки, эта кромка 7 обработки является границей между нескошенной областью луга, которая показана заштрихованной, и областью, уже скошенной трактором. Пример выполнения датчика 6 подробно описан в патентном документе ФРГ 19743884 С2, так что здесь нет необходимости в его подробном описании.
Кроме того, датчик 9 наклона соединен с входом 5 модуля 14 определения угла поворота колес. Такой датчик 9 наклона может, например, содержать частично заполненные жидкостью сосуды и датчики для оптического или механического восприятия положения зеркала поверхности жидкости в сосудах. Подходящим является также заполненный электропроводной жидкостью сосуд с несколькими погруженными в жидкость электродами. В этом случае электрическое сопротивление жидкости между электродами изменяется в зависимости от положения зеркала поверхности жидкости. Примеры выполнения таких датчиков 9 наклона подробно описаны в патентном документе ФРГ 19914726 А1 и в упомянутых в нем документах.
Для окашивания луга с оптимальной эффективностью трактор должен двигаться по пути, при котором наружная кромка режущих аппаратов 8 косилки, на которой установлен датчик 6, будет точно следовать вдоль кромки 7 обработки. Если трактор отклоняется от этого пути по чертежу влево, ширина режущих аппаратов 8 косилки будет использоваться не полностью; при отклонении вправо участок луга останется нескошенным. Поэтому устройство 4 поддерживает автоматический режим рулевого управления, при котором оно управляет направлением движения трактора на основе отклонения кромки режущего аппарата косилки от кромки 7 обработки, воспринимаемого с помощью модуля 13 обработки изображений и датчика 6.
В качестве примера здесь будет рассмотрен случай известного как такового пропорционально-интегрального регулирования, вначале при движении по равнине. При таком регулировании угол (t) поворота колес, определяемый модулем 14 определения угла поворота колес и устанавливаемый на колесах 3 передней управляемой ходовой оси 1 с помощью гидравлического агрегата 12, является суммой двух членов уравнения. Первый член пропорционален отклонению (t) кромки режущего аппарата косилки от кромки 7 обработки, воспринимаемому датчиком 6. Второй член уравнения пропорционален интегралу по времени отклонения , умноженного на коэффициент затухания отклонения. Описанное уравнение выглядит следующим образом:

где
a, b и с являются константами, выбранными соответствующим образом. Колеса 3 задней управляемой ходовой оси 2 постоянно удерживаются с углом =0 поворота.
Как видно на фиг.1, в данном случае угол поворота является углом между осью вращения колеса 3 и плоскостью, проходящей поперечно перпендикулярно продольному направлению транспортного средства. Возможны также другие определения угла поворота.
Фиг.2 представляет кривые отклонения и угла поворота колес в функции времени для случая, когда в начальный момент времени t=0 измеренное отклонение (воспринимаемое как отрицательное) равно 0. К началу процесса регулирования интегральный член уравнения еще равен нулю, а первоначально установленный угол 0 поворота колес представляет единственный пропорциональный член уравнения. Первоначально установленный угол 0 поворота колес противодействует отклонению , так что величина пропорционального члена начинает сразу же уменьшаться, однако из-за того, что отклонение продолжает сохраняться, вначале величина интегрального члена возрастает до момента времени t1, когда величина угла поворота колес достигает максимума. К моменту времени t2 отклонение =0, однако поскольку к этому моменту времени интегральный член еще не полностью сошел на нет, в заключение образуется небольшое отклонение в противоположном направлении, то есть отклонение на некоторое время становится положительным до того, как управление выведет его на ноль.
Если, невзирая на положения данного изобретения, использовать данный режим регулирования таким же образом при движении по склону, может создаться ситуация, показанная на фиг.3. В этом случае измеренное к началу процесса регулирования отклонение 0 приводит к тому, что устанавливается угол 0 поворота колес, как и в случае по фиг.2. Однако этот угол 0 поворота колес недостаточно велик, чтобы компенсировать воздействие на трактор силы увода по склону. Поэтому величина отклонения не уменьшается с самого начала, а вначале возрастает до достижения максимума к моменту времени t3. Установленный к этому моменту времени угол k поворота колес является той величиной, которая необходима для компенсации увода по склону и ведения трактора параллельно кромке 7 обработки. Начиная с этого момента времени отклонение уменьшается, при этом с некоторой задержкой времени снижается также величина угла поворота колес. Однако как только она падает ниже величины угла k поворота колес, необходимой для компенсации увода по склону, отклонение возрастает снова. Таким образом, не удается вести трактор, как это желательно, точно вдоль кромки 7 обработки, – в лучшем случае он перемещается параллельно ей. Кроме того, направление движения трактора при этом не совпадает с его собственным продольным направлением.
Согласно изобретению эта проблема решается за счет того, что модуль 14 определения угла поворота колес привлекает к расчету угла (t) поворота колес передней управляемой ходовой оси 2 член уравнения, зависящий от наклона поверхности в направлении, поперечном направлению движения трактора. В простейшем случае он учитывается в виде линейного пропорционального члена, как показано в следующем уравнении (2):

при этом угол (t) поворота колес задней оси устанавливается согласно уравнению (3)

Коэффициент b пропорциональности выбран таким, что угол b поворота колес дает в итоге требуемые для прямого проезда на склоне с наклоном угол k( ) или k( ) поворота колес. Эти углы k( ), k( ) поворота колес могут быть определены на транспортном средстве эмпирически, и на их основе может быть выведен результирующий коэффициент b пропорциональности для устройства 4 рулевого управления.
Очевидно, что при исчезновении зависящих от отклонения членов уравнения углы поворота колес становятся равными, то есть k(t)= k(1). Другими словами, когда транспортное средство движется на склоне по прямой и точно следует по заданному пути, сила увода по склону компенсируется одинаковыми углами поворота всех колес 3, и трактор движется с ориентацией своей продольной оси точно в направлении движения.
Изобретение может с успехом использоваться также в транспортном средстве только с одной управляемой ходовой осью. Поскольку в этом случае угол поворота колес задней оси постоянно равен нулю, в итоге получается другой, как правило, больший по величине коэффициент b пропорциональности, чем для транспортного средства с двумя управляемыми ходовыми осями. Для такого транспортного средства за счет регулирования в соответствии с изобретением можно также направлять трактор точно по заданному пути, только при этом продольная ось не будет параллельна направлению движения.
На фиг.4 показано изменение в функции времени отклонения от пути и угла поворота колес в процессе рулевого управления по изобретению с учетом наклона . Первоначальная величина отклонения 0 к началу процесса регулирования в момент времени t=0 такая же, как и на фиг.2 и 3. Угол поворота колес является суммой зависящего от наклона члена уравнения л( )=b и зависящего от отклонения члена уравнения 1. Поэтому вначале он больше, чем на фиг.2, на величину k( ). Поскольку увод по склону компенсирован, отклонение , а также зависящий от него член уравнения угла (t) поворота колес развиваются точно так же, как показано на фиг.2. Таким образом, трактор может точно следовать вдоль кромки 7 обработки, несмотря на действующую на него силу увода по склону.
Согласно второму примеру осуществления датчик 6 окрестности и модуль 13 обработки изображений заменены навигационной системой 10 (см. фиг.1), например, на основе системы GPS (Global Positioning System – глобальная система навигации и определения местоположения), которая позволяет определять географическое положение трактора с высокой точностью, предпочтительно с точностью до 0,2 м и выше, и электронным записывающим устройством 15. За счет записи в записывающем устройстве 15 пути, пройденного трактором при окашивании (или любой другой обработке), модуль 14 определения угла поворота колес имеет возможность рассчитывать вытекающую из этой обработки линию кромки 7 обработки или заданный путь движения вдоль этой кромки 7 обработки, который обеспечивает экономичную обработку почвы без оставления необработанных мест.
Направление трактора вдоль вычисленного таким образом пути осуществляется при использовании величины наклона , поставляемой датчиком 9 наклона, как это описано выше со ссылкой на фиг.4.
В третьем примере осуществления изобретения используется навигационная система 10. Она дополнительно предназначена для того, чтобы определяемое ею географическое положение трактора увязывать с точкой на топографической карте, которая соответствует этому положению и записывается в электронном запоминающем устройстве, связанном с навигационной системой 10 и не показанном на фиг.1. На основе высотной информации, содержащейся в топографической карте, навигационная система 10 вычисляет поперечный наклон склона относительно заданного пути движения в месте нахождения трактора и передает его на вход 5′ устройства 4 рулевого управления в виде сигнала, представляющего наклон проходимой поверхности. Вычисление может выполняться, например, путем вычисления градиентного вектора высоты рельефа на месте нахождения трактора по данным высот точек, находящихся вблизи этого места, и вычисления проекции этого градиентного вектора на направление, перпендикулярное направлению движения. Подлежащий проходу путь может распознаваться, как в первом примере осуществления, путем распознавания предварительно заданных признаков пути в окружающей окрестности с помощью датчика 6 окрестности, или, как во втором примере осуществления, может быть вычислен по ранее пройденному пути. Установка угла или поворота колес посредством модуля 14 определения угла поворота колес выполняется таким же образом, как в предыдущих примерах.
Формула изобретения
1. Сельскохозяйственное транспортное средство, содержащее по меньшей мере одну управляемую ходовую ось (1, 2), датчик (6, 13; 10, 13) колеи движения, предназначенный для восприятия отклонения между заданным путем движения транспортного средства и его действительным путем движения, и устройство (4) автоматического рулевого управления, выполненное с возможностью корректирующей регулировки управляемой ходовой оси (1, 2) в случае отклонения угла ( , ) поворота колес управляемой ходовой оси (1, 2), воспринятого датчиком (6, 10) колеи движения, чтобы уменьшать это отклонение, отличающееся тем, что устройство (4) рулевого управления через вход (5, 5′) получает сигнал, который представляет наклон ( ) поверхности, проходимой транспортным средством, в направлении поперечно заданному пути движения, при этом устройство (4) рулевого управления выполнено с возможностью учета этого наклона ( ) при корректирующей регулировке угла ( , ) поворота колес.
2. Транспортное средство по п.1, отличающееся тем, что устройство (4) рулевого управления выполнено с возможностью вычислять и устанавливать угол ( ,) поворота по меньшей мере одного колеса (3) первой управляемой ходовой оси (1) как суммы члена уравнения, зависящего от воспринятого отклонения ( ), и члена уравнения, зависящего от наклона ( ).
3. Транспортное средство по п 2, отличающееся тем, что содержит вторую управляемую ходовую ось (2), управляемую устройством (4) рулевого управления.
4. Транспортное средство по п.3, отличающееся тем, что устройство (4) рулевого управления выполнено с возможностью вычислять и устанавливать угол ( ,) поворота по меньшей мере одного колеса (3) второй ходовой оси (2) на основе наклона ( ) и независимо от отклонения ( ).
5. Транспортное средство по пп.2-4, отличающееся тем, что зависящий от наклона член уравнения и угол ( ,) поворота, устанавливаемый на второй управляемой ходовой оси, равны между собой.
6. Транспортное средство по любому из пп.1-4, отличающееся тем, что снабжено датчиком (9) наклона, который обеспечивает сигнал, представляющий наклон ( ) проходимой поверхности.
7. Транспортное средство по любому из пп.1-4, отличающееся тем, что датчик колеи движения содержит навигационную систему (10) для определения географического положения транспортного средства, запоминающее устройство (15) для описания заданного пути движения транспортного средства и средства (13) для восприятия отклонения между установленным положением и заданным путем движения.
8. Транспортное средство по любому из пп.1-4, отличающееся тем, что датчик колеи движения содержит датчик (6) окрестности, определяющий окрестность, и средства (13) для идентификации заданного пути движения в изображении окрестности, обеспечиваемом датчиком окрестности, и для определения положения транспортного средства относительно пути.
9. Способ рулевого управления транспортным средством, снабженным по меньшей мере одной управляемой ходовой осью (1, 2), содержащий следующие этапы: a) воспринимают отклонение ( ) между заданным путем движения транспортного средства и его действительным путем движения, b) воспринимают наклон ( ) поверхности, проходимой транспортным средством, в направлении поперечно заданному пути движения, c) определяют угол ( ,) поворота колес для управляемой ходовой оси (1, 2) на основе отклонения ( ) и наклона ( ) и устанавливают угол ( ,) поворота колес на оси (1, 2).
10. Способ по п.9, отличающийся тем, что на этапе с) угол ( ,) поворота колес определяют путем сложения члена уравнения, зависящего от воспринятого наклона ( ) и не зависящего от воспринятого отклонения ( ), и члена уравнения, зависящего от воспринятого отклонения ( ) и не зависящего от воспринятого наклона ( ).
11. Способ по п.10, отличающийся тем, что угол поворота колес для второй управляемой ходовой оси (2) транспортного средства определяют в зависимости от воспринятого наклона ( ) и независимо от воспринятого отклонения ( ).
12. Способ по п.11, отличающийся тем, что угол поворота колес для второй управляемой ходовой оси (2) и член уравнения, зависящий от воспринятого наклона и независимый от воспринятого отклонения, устанавливают равными друг другу.
РИСУНКИ
|
|