|
(21), (22) Заявка: 2008151915/09, 29.12.2008
(24) Дата начала отсчета срока действия патента:
29.12.2008
(46) Опубликовано: 10.04.2010
(56) Список документов, цитированных в отчете о поиске:
RU 2301510 С2, 20.06.2007. RU 2255437 C1, 27.06.2005. US 3481393 A, 02.12.1969. US 2004060690 A1, 01.04.2004.
Адрес для переписки:
422986, Республика Татарстан, г. Чистополь, ул. Циолковского, 5, кв.30, С.Г. Бурдину
|
(72) Автор(ы):
Бурдин Сергей Германович (RU)
(73) Патентообладатель(и):
Бурдин Сергей Германович (RU)
|
(54) УСТРОЙСТВО ДЛЯ ОТВОДА ТЕПЛА ОТ ТЕПЛОВЫДЕЛЯЮЩИХ СИСТЕМ (ВАРИАНТЫ)
(57) Реферат:
Изобретение относится к радиотехнике и может быть использовано в системах охлаждения тепловыделяющих блоков радиоэлектронной аппаратуры. Устройство содержит соединенные между собой посредством двух теплоизолированных трубок теплоизолированные испарительную камеру с теплоносителем и камеру конденсации, испарительная камера выполнена с возможностью отвода тепла от тепловыделяющих систем и установлена ниже камеры конденсации, одна из теплоизолированных трубок выполнена с возможностью транспортировки пара от испарительной камеры к камере конденсации, а вторая – с возможностью транспортировки жидкости от камеры конденсации к испарительной камере. Устройство снабжено дополнительной камерой, гидромотором, установленным на первой теплоизолированной трубке, регулировочный вентиль выполнен с возможностью подключения дополнительной камеры к камере конденсации. Теплоноситель состоит из, по меньшей мере, двух не смешиваемых и химически не взаимодействующих жидких компонентов, один из которых является хладагентом и изменяет свое агрегатное состояние из жидкого в газообразное при нагревании в процессе отвода тепла от тепловыделяющих систем, а другой не изменяет своего агрегатного состояния. По первому варианту устройство снабжено гидромотром, установленным на первой теплоизолированной трубке. По второму варианту гидромотор расположен в камере конденсации. Камера может быть снабжена воздушным или жидкостным радиатором. Хладагент выбирают из ряда: бутан, изобутан, пропан, фреоны. Техническим результатом является обеспечение возможности использования энергии выделяемого тепла, что позволяет повысить экологичность и эффективность работы устройства. 2 н. и 18 з.п. ф-лы, 5 ил.
Изобретение относится к радиотехнике и может быть использовано в системах охлаждения тепловыделяющих блоков радиоэлектронной аппаратуры.
Известна система охлаждения элементов радиоэлектронной аппаратуры, которая содержит соединенные между собой посредством двух теплоизолированных трубок теплоизолированные испарительную камеру с теплоносителем и камеру конденсации, испарительная камера выполнена с возможностью отвода тепла от охлаждаемых радиоэлементов и установлена ниже камеры конденсации, одна из теплоизолированных трубок выполнена с возможностью транспортировки пара от испарительной камеры к камере конденсации, а вторая – с возможностью транспортировки жидкости от камеры конденсации к испарительной камере (RU 2301510 С2, 20.06.2005).
Недостатком известной конструкции является недостаточная экологичность конструкции, отсутствие возможности использования энергии выделяемого тепла.
Техническим результатом предложенного изобретения является обеспечение возможности использования энергии выделяемого тепла, что позволит повысить экологичность и эффективность работы устройства.
Это достигается за счет того, что устройство для теплоотвода, содержащее соединенные между собой посредством двух теплоизолированных трубок теплоизолированные испарительную камеру с теплоносителем и камеру конденсации, испарительная камера выполнена с возможностью отвода тепла от тепловыделяющих систем и установлена ниже камеры конденсации, одна из теплоизолированных трубок выполнена с возможностью транспортировки пара от испарительной камеры к камере конденсации, а вторая – с возможностью транспортировки жидкости от камеры конденсации к испарительной камере, согласно изобретению снабжено установленной на уровне между испарительной камерой и камерой конденсации и сообщенной с соединяющей их второй теплоизолированной трубкой посредством регулировочного вентиля дополнительной камерой, гидромотором, установленным на первой теплоизолированной трубке таким образом, что его вход соединен с испарительной камерой, а выход – с камерой конденсации, регулировочный вентиль выполнен с возможностью подключения дополнительной камеры к камере конденсации для периодического наполнения дополнительной камеры жидкостью, транспортируемой из камеры конденсации, или подключения дополнительной камеры к испарительной камере для последующего опорожнения дополнительной камеры и транспортировки жидкости в испарительную камеру, теплоноситель состоит из, по меньшей мере, двух не смешиваемых и химически не взаимодействующих жидких компонентов, один из которых является хладагентом и изменяет свое агрегатное состояние из жидкого в газообразное при нагревании в процессе отвода тепла от тепловыделяющих систем, обеспечивая разницу давлений в испарительной камере и камере конденсации, а другой не изменяет своего агрегатного состояния и переносится из испарительной камеры в камеру конденсации при нагревании в процессе отвода тепла от тепловыделяющих систем за счет разницы давления в них.
Кроме того, в качестве хладагента используют такой, который при разнице температур в испарительной камере и камере конденсации, составляющей 10-60°С, обеспечивает разницу давлений насыщенных паров хладагента в этих камерах 100-900 кПа.
Кроме того, хладагент выбирают из следующего ряда: предельные углеводороды, предельные галоидозамещенные углеводороды и их смеси.
Кроме того, хладагент выбирают из следующего ряда: бутан; изобутан; пропан; фреоны.
Кроме того, испарительная камера снабжена воздушным или жидкостным радиатором для отбора тепла от тепловыделяющих систем.
Кроме того, камера конденсации снабжена воздушным или жидкостным радиатором для отвода тепла во внешнюю среду.
Кроме того, устройство снабжено тепловым насосом, испаритель которого установлен на радиаторе камеры конденсации, а конденсатор – на радиаторе испарительной камеры.
Кроме того, в камере конденсации свободно установлена теплоизолирующая пластина, обладающая положительной плавучестью относительно компонента теплоносителя, не изменяющего агрегатного состояния, и отрицательной по отношению к хладагенту.
Кроме того, в камере конденсации на входе во вторую теплоизолированную трубку установлена вставка из пористого материала для обеспечения дросселирования и частичного возврата тепла к теплоносителю при стравливании паров теплоносителя из дополнительной камеры в камеру конденсации.
Кроме того, гидромотор выполнен с возможностью подсоединения его к внешнему устройству потребления энергии его вращения.
Указанный технический результиат достигается также за счет того, что устройство для теплоотвода, содержащее соединенные между собой посредством двух теплоизолированных трубок теплоизолированные испарительную камеру с теплоносителем и камеру конденсации, испарительная камера выполнена с возможностью отвода тепла от тепловыделяющих систем и установлена ниже камеры конденсации, одна из теплоизолированных трубок выполнена с возможностью транспортировки пара от испарительной камеры к камере конденсации, а вторая – с возможностью транспортировки жидкости от камеры конденсации к испарительной камере, снабжено установленной на уровне между испарительной камерой и камерой конденсации и сообщенной с соединяющей их второй теплоизолированной трубкой посредством регулировочного вентиля дополнительной камерой, гидромотором, расположенным в камере конденсации, регулировочный вентиль выполнен с возможностью подключения дополнительной камеры к камере конденсации для периодического наполнения дополнительной камеры жидкостью, транспортируемой из камеры конденсации, или подключения дополнительной камеры к испарительной камере для последующего опорожнения дополнительной камеры и транспортировки жидкости в испарительную камеру, в качестве теплоносителя использую смесь из, по меньшей мере, двух не смешиваемых и химически не взаимодействующих компонентов, один из которых является хладагентом и изменяет свое агрегатное состояние из жидкого в газообразное при нагревании в процессе отвода тепла от тепловыделяющих систем, а другой не изменяет своего агрегатного состояния и переносится из испарительной камеры в камеру конденсации при нагревании в процессе отвода тепла от тепловыделяющих систем за счет разницы давления в них.
Кроме того, в качестве хладагента используют такой, который при разнице температур в испарительной камере и камере конденсации, составляющей 10-60°С, обеспечивает разницу давлений насыщенных паров хладагента в этих камерах 100-900 кПа.
Кроме того, хладагент выбирают из следующего ряда: предельные углеводороды; предельные галоидозамещенные углеводороды и их смеси.
Кроме того, хладагент выбирают из следующего ряда: бутан; изобутан; пропан; фреоны.
Кроме того, испарительная камера снабжена воздушным или жидкостным радиатором для отбора тепла от тепловыделяющих систем.
Кроме того, камера конденсации снабжена воздушным или жидкостным радиатором для отвода тепла во внешнюю среду.
Кроме того, устройство снабжено тепловым насосом, испаритель которого установлен на радиаторе камеры конденсации, а конденсатор – на радиаторе испарительной камеры.
Кроме того, в камере конденсации свободно установлена теплоизолирующая пластина, обладающая положительной плавучестью относительно компонента теплоносителя, не изменяющего агрегатного состояния, и отрицательной по отношению к хладагенту.
Кроме того, в камере конденсации на входе во вторую теплоизолированную трубку установлена вставка из пористого материала для обеспечения дросселирования и частичного возврата тепла теплоносителю при стравливании паров теплоносителя из дополнительной камеры в камеру конденсации.
Кроме того, гидромотор выполнен в виде гидротурбины, расположенной в паровой части камеры конденсации, выходной конец вала гидротурбины выполнен с возможностью подсоединения его к внешнему устройству потребления энергии ее вращения.
Устройство иллюстрируется чертежами.
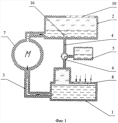
На фиг.1 изображено устройство для отвода тепла (по первому варианту) с воздушными радиаторами; на фиг.2 – то же, с жидкостными радиаторами; на фиг.3 – то же, с теплоизолирующей пластиной; на фиг.4 – то же, с тепловым насосом; на фиг.5 – то же (по второму варианту), с воздушными радиаторами.
Устройство для теплоотвода (по первому варианту) (фиг.1-4) содержит теплоизолированные испарительную камеру 1 и камеру 2 конденсации, заполненные теплоносителем и соединенные посредством двух теплоизолированных трубок 3 и 4. Испарительная камера 1 установлена ниже камеры 2 конденсации и выполнена с возможностью отвода тепла от тепловыделяющих систем. При этом одна из теплоизолированных трубок 3 выполнена с возможностью транспортировки жидкости от испарительной камеры 1 к камере 2 конденсации, а вторая 4 – с возможностью транспортировки жидкости от камеры 2 конденсации к испарительной камере 1.
На уровне между испарительной камерой 1 и камерой конденсации 2 установлена дополнительная камера 5, сообщенная со второй теплоизолированной трубкой 4 посредством регулировочного вентиля 6.
На первой теплоизолированной трубке 3 установлен гидромотор 7. При этом его вход соединен с испарительной камерой 1, а выход – с камерой конденсации 2. Гидромотор выполнен с возможностью подсоединения его к внешнему устройству потребления энергии его вращения.
Регулировочный вентиль 6 выполнен с возможностью подключения дополнительной камеры 5 к камере 2 конденсации для периодического наполнения дополнительной камеры 5 жидкостью, транспортируемой из камеры конденсации 2, или подключения дополнительной камеры 5 к испарительной камере 1 для последующего опорожнения дополнительной камеры 5 и транспортировки жидкости в испарительную камеру 1.
Испарительная камера 1 может быть снабжена воздушным или жидкостным радиатором 8 или 9 соответственно для отбора тепла от тепловыделяющих систем.
Камера 2 конденсации может быть снабжена воздушным или жидкостным радиатором 10 или 11 соответственно для отвода тепла во внешнюю среду.
Устройство может быть снабжено тепловым насосом 12, испаритель 13 которого установлен на радиаторе 10 камеры 2 конденсации, а конденсатор 14 – на радиаторе 8 испарительной камеры 1. Тепловой насос 12 предназначен для возврата части тепловой энергии от камеры 2 конденсации к испарительной камере 1. За счет этого увеличивается коэффициент преобразования тепловой энергии в механическую.
В камере 2 конденсации может быть свободно установлена теплоизолирующая пластина 15, обладающая положительной плавучестью относительно второго компонента рабочей жидкости, не изменяющего своего агрегатного состояния, и отрицательной по отношению к хладагенту. Она предназначена для уменьшения теплопередачи от второго компонента к хладагенту. За счет этого повышается КПД преобразования тепла в механическую энергию.
В камере 2 конденсации на входе во вторую теплоизолированную трубку 4 установлена вставка 16 из пористого материала для обеспечения дросселирования и частичного возврата тепла к рабочей жидкости при стравливании паров теплоносителя из дополнительной камеры 5 в камеру 2 конденсации.
В качестве рабочей жидкости использую смесь из, по меньшей мере, двух не смешиваемых и химически не взаимодействующих компонентов, один из которых является хладагентом и изменяет свое агрегатное состояние из жидкого в газообразное при нагревании в процессе отвода тепла от тепловыделяющих систем, а другой не изменяет своего агрегатного состояния при нагревании в процессе отвода тепла от тепловыделяющих систем. В качестве хладагента используют такой, который при разнице температур в испарительной камере и камере конденсации, составляющей 10-60°С, обеспечивает разницу давлений насыщенных паров хладагента в этих камерах 100-900 кПа.
Хладагент выбирают из ряда: предельных углеводородов; предельных галоидозамещенных углеводородов и их смесей.
Устройство для теплоотвода (по второму варианту) (фиг.5) содержит теплоизолированные испарительную камеру 1 и камеру 2 конденсации, заполненные рабочей жидкостью и соединенные посредством двух теплоизолированных трубок 3 и 4. Испарительная камера 1 установлена ниже камеры 2 конденсации и выполнена с возможностью отвода тепла от тепловыделяющих систем. При этом одна из теплоизолированных трубок 3 выполнена с возможностью транспортировки жидкости от испарительной камеры 1 к камере 2 конденсации, а вторая 4 – с возможностью транспортировки жидкости от камеры 2 конденсации к испарительной камере 1.
На уровне между испарительной камерой 1 и камерой конденсации 2 установлена дополнительная камера 5, сообщенная со второй теплоизолированной трубкой 4 посредством регулировочного вентиля 6.
В камере конденсации 2 установлен гидромотор в виде гидротурбины 17, выходной вал которой выполнен с возможностью подсоединения к внешнему устройству потребления ее энергии.
Регулировочный вентиль 6 выполнен с возможностью подключения дополнительной камеры 5 к камере 2 конденсации для периодического наполнения дополнительной камеры 5 жидкостью, транспортируемой из камеры конденсации 2, или подключения дополнительной камеры 5 к испарительной камере 1 для последующего опорожнения дополнительной камеры 5 и транспортировки жидкости в испарительную камеру 1.
Испарительная камера 1 может быть снабжена воздушным или жидкостным радиатором для отбора тепла от тепловыделяющих систем (как и по первому варианту).
Камера 2 конденсации может быть снабжена воздушным или жидкостным радиатором для отвода тепла во внешнюю среду (как и по первому варианту).
Устройство может быть снабжено тепловым насосом, испаритель которого установлен на радиаторе камеры 2 конденсации, а конденсатор – на радиаторе испарительной камеры 1, гидромотор выполнен с возможностью подсоединения его к внешнему устройству потребления энергии его вращения (аналогично первому варианту выполнения устройства).
В камере 2 конденсации также может быть свободно установлена теплоизолирующая пластина, обладающая положительной плавучестью относительно второго компонента рабочей жидкости, не изменяющего своего агрегатного состояния, и отрицательной по отношению к первому компоненту (хладагенту).
В камере конденсации на входе во вторую теплоизолированную трубку 4 также может быть установлена вставка из пористого материала для обеспечения дросселирования и частичного возврата тепла к рабочей жидкости при стравливании паров хладагента из дополнительной камеры 5 в камеру 2 конденсации.
В качестве рабочей жидкости используют смесь из, по меньшей мере, двух не смешиваемых и химически не взаимодействующих компонентов, один из которых является хладагентом и изменяет свое агрегатное состояние из жидкого в газообразное при нагревании в процессе отвода тепла от тепловыделяющих систем, а другой не изменяет своего агрегатного состояния при нагревании в процессе отвода тепла от тепловыделяющих систем. В качестве хладагента используют такой, который при разнице температур в испарительной камере и камере конденсации, составляющей 10-60°С, обеспечивает разницу давлений насыщенных паров хладагента в этих камерах 100-900 кПа.
Хладагент выбирают из ряда: предельные углеводороды; предельные галоидозамещенные углеводороды и их смеси.
Хладагент выбирают из следующего ряда: бутан; изобутан; пропан; фреоны.
Устройство работает следующим образом.
При повышении температуры тепловыделяющей системы за счет работы радиоэлектронной аппаратуры рабочая жидкость, находящаяся в испарительной камере 1, нагревается через радиатор (8 или 9). Рабочая жидкость состоит, например, из двух компонентов. Один их компонентов рабочей жидкости является хладагентом (например, изобутан) и обладает низкой температурой кипения и парообразования -11,73°С при давлении 101,3 кПа.
В качестве другого компонента используют, например, воду, водно-спиртовой раствор. Изобутан испаряется, а вода или водно-спиртовой раствор нет.
В испарительной камере 1 при нагревании хладагент испаряется и за счет высокой температуры радиатора устанавливается высокое давление насыщенных паров хладагента (в диапазоне 260-900 кПа), а в камере конденсации 2, сообщенной с испарительной камерой 1 теплоизолированной трубкой 3, соответственно низкое давление (в диапазоне 100-740 кПа) из-за более низкой температуры радиатора данной камеры. За счет разницы давлений в этих камерах осуществляется перенос второго жидкого компонента (воды, водно-спиртового раствора). За счет переноса этого компонента образуется кинетическая энергия жидкости, которая преобразуется в энергию вращения гидромотора, установленного в различных местах устройства (в соответствии с первым или вторым вариантами выполнения).
Таким образом, в процессе теплоотвода осуществляется преобразование тепла в механическую энергию вращения гидромотора.
Возврат теплоносителя осуществляется через дополнительную камеру 5, установленную на уровне между испарительной камерой 1 и камерой 2 конденсации. За счет регулировочного вентиля 6 периодически осуществляют подключение дополнительной камеры 5 к камере конденсации 1 для периодического наполнения дополнительной камеры 5 жидкостью, транспортируемой из камеры конденсации 1, и к испарительной камере 1 для последующего опорожнения дополнительной камеры 5 и транспортировки жидкости в испарительную камеру 1. Таким образом, обеспечивается цикличность процесса.
Формула изобретения
1. Устройство для теплоотвода, содержащее соединенные между собой посредством двух теплоизолированных трубок теплоизолированные испарительную камеру с теплоносителем и камеру конденсации, испарительная камера выполнена с возможностью отвода тепла от тепловыделяющих систем и установлена ниже камеры конденсации, одна из теплоизолированных трубок выполнена с возможностью транспортировки пара от испарительной камеры к камере конденсации, а вторая – с возможностью транспортировки жидкости от камеры конденсации к испарительной камере, отличающееся тем, что оно снабжено установленной на уровне между испарительной камерой и камерой конденсации и сообщенной с соединяющей их второй теплоизолированной трубкой посредством регулировочного вентиля дополнительной камерой, гидромотором, установленным на первой теплоизолированной трубке таким образом, что его вход соединен с испарительной камерой, а выход с камерой конденсации, регулировочный вентиль выполнен с возможностью подключения дополнительной камеры к камере конденсации для периодического наполнения дополнительной камеры жидкостью, транспортируемой из камеры конденсации, или подключения дополнительной камеры к испарительной камере для последующего опорожнения дополнительной камеры и транспортировки жидкости в испарительную камеру, теплоноситель состоит из, по меньшей мере, двух не смешиваемых и химически не взаимодействующих жидких компонентов, один из которых является хладагентом и изменяет свое агрегатное состояние из жидкого в газообразное при нагревании в процессе отвода тепла от тепловыделяющих систем, обеспечивая разницу давлений в испарительной камере и камере конденсации, а другой не изменяет своего агрегатного состояния и переносится из испарительной камеры в камеру конденсации при нагревании в процессе отвода тепла от тепловыделяющих систем за счет разницы давления в них.
2. Устройство по п.1, отличающееся тем, что в качестве хладагента используют такой, который при разнице температур в испарительной камере и камере конденсации, составляющей 10÷60°С, обеспечивает разницу давлений насыщенных паров хладагента в этих камерах 100÷900 кПа.
3. Устройство по п.1 или 2, отличающееся тем, что хладагент выбирают из следующего ряда: предельные углеводороды; предельные галоидозамещенные углеводороды и их смеси.
4. Устройство по п.3, отличающееся тем, что хладагент выбирают из следующего ряда: бутан; изобутан; пропан; фреоны.
5. Устройство по п.1, отличающееся тем, что испарительная камера снабжена воздушным или жидкостным радиатором для отбора тепла от тепловыделяющих систем.
6. Устройство по п.1 или 5, отличающееся тем, что камера конденсации снабжена воздушным или жидкостным радиатором для отвода тепла во внешнюю среду.
7. Устройство по п.6, отличающееся тем, что оно снабжено тепловым насосом, испаритель которого установлен на радиаторе камеры конденсации, а конденсатор – на радиаторе испарительной камеры.
8. Устройство по п.1, отличающееся тем, что в камере конденсации свободно установлена теплоизолирующая пластина, обладающая положительной плавучестью относительно компонента теплоносителя, не изменяющего агрегатного состояния, и отрицательной по отношению к хладагенту.
9. Устройство по п.1, отличающееся тем, что в камере конденсации на входе во вторую теплоизолированную трубку установлена вставка из пористого материала для обеспечения дросселирования и частичного возврата тепла к теплоносителю при стравливании паров теплоносителя из дополнительной камеры в камеру конденсации.
10. Устройство по п.1, отличающееся тем, что гидромотор выполнен с возможностью подсоединения его к внешнему устройству потребления энергии его вращения.
11. Устройство для теплоотвода, содержащее соединенные между собой посредством двух теплоизолированных трубок теплоизолированные испарительную камеру с теплоносителем и камеру конденсации, испарительная камера выполнена с возможностью отвода тепла от тепловыделяющих систем и установлена ниже камеры конденсации, одна из теплоизолированных трубок выполнена с возможностью транспортировки пара от испарительной камеры к камере конденсации, а вторая – с возможностью транспортировки жидкости от камеры конденсации к испарительной камере, отличающееся тем, что оно снабжено установленной на уровне между испарительной камерой и камерой конденсации и сообщенной с соединяющей их второй теплоизолированной трубкой посредством регулировочного вентиля дополнительной камерой, гидромотором, расположенным в камере конденсации, регулировочный вентиль выполнен с возможностью подключения дополнительной камеры к камере конденсации для периодического наполнения дополнительной камеры жидкостью, транспортируемой из камеры конденсации, или подключения дополнительной камеры к испарительной камере для последующего опорожнения дополнительной камеры и транспортировки жидкости в испарительную камеру, в качестве теплоносителя использую смесь из, по меньшей мере, двух не смешиваемых и химически не взаимодействующих компонентов, один из которых является хладагентом и изменяет свое агрегатное состояние из жидкого в газообразное при нагревании в процессе отвода тепла от тепловыделяющих систем, а другой не изменяет своего агрегатного состояния и переносится из испарительной камеры в камеру конденсации при нагревании в процессе отвода тепла от тепловыделяющих систем за счет разницы давления в них.
12. Устройство по п.11, отличающееся тем, что в качестве хладагента используют такой, который при разнице температур в испарительной камере и камере конденсации, составляющей 10÷60°С, обеспечивает разницу давлений насыщенных паров хладагента в этих камерах 100÷900 кПа.
13. Устройство по п.11 или 12, отличающееся тем, что хладагент выбирают из следующего ряда: предельные углеводороды; предельные галоидозамещенные углеводороды и их смеси.
14. Устройство по п.13, отличающееся тем, что хладагент выбирают из следующего ряда: бутан; изобутан; пропан; фреоны.
15. Устройство по п.11, отличающееся тем, что испарительная камера снабжена воздушным или жидкостным радиатором для отбора тепла от тепловыделяющих систем.
16. Устройство по п.11 или 15, отличающееся тем, что камера конденсации снабжена воздушным или жидкостным радиатором для отвода тепла во внешнюю среду.
17. Устройство по п.16, отличающееся тем, что оно снабжено тепловым насосом, испаритель которого установлен на радиаторе камеры конденсации, а конденсатор – на радиаторе испарительной камеры.
18. Устройство по п.11, отличающееся тем, что в камере конденсации свободно установлена теплоизолирующая пластина, обладающая положительной плавучестью относительно компонента теплоносителя, не изменяющего агрегатного состояния и отрицательной по отношению к хладагенту.
19. Устройство по п.11, отличающееся тем, что в камере конденсации на входе во вторую теплоизолированную трубку установлена вставка из пористого материала для обеспечения дросселирования и частичного возврата тепла теплоносителю при стравливании паров теплоносителя из дополнительной камеры в камеру конденсации.
20. Устройство по п.11, отличающееся тем, что гидромотор выполнен в виде гидротурбины, расположенной в паровой части камеры конденсации, выходной конец вала гидротурбины выполнен с возможностью подсоединения его к внешнему устройству потребления энергии ее вращения.
РИСУНКИ
|