|
|
(21), (22) Заявка: 2008119457/09, 18.10.2006
(24) Дата начала отсчета срока действия патента:
18.10.2006
(30) Конвенционный приоритет:
19.10.2005 JP 2005-304534
(43) Дата публикации заявки: 27.11.2009
(46) Опубликовано: 10.04.2010
(56) Список документов, цитированных в отчете о поиске:
JP 2005151017 A, 2005.06.09. WO 0186962 A1, 2001.11.15. US 2005157797 A1, 2005.07.21. US 2005013376 A1, 2005.01.20. JP 2005184241 A, 2005.07.07. JP 10191324 A, 1998.07.21. RU 2162280 C2, 2001.01.20. SU 1730724 A, 1992.04.30. РИЧАРДСОН ЯН Видеокодирование Н.264 и MPEG-4 стандарты нового поколения, Техносфера. – М.: 2005, перевод издания 2003, с.145-183.
(85) Дата перевода заявки PCT на национальную фазу:
19.05.2008
(86) Заявка PCT:
JP 2006/320766 20061018
(87) Публикация PCT:
WO 2007/046433 20070426
Адрес для переписки:
129090, Москва, ул. Б.Спасская, 25, стр.3, ООО “Юридическая фирма Городисский и Партнеры”, пат.пов. Ю.Д.Кузнецову, рег. 595
|
(72) Автор(ы):
БООН Чоонг Сенг (JP), ТАН Тиоу Кенг (JP)
(73) Патентообладатель(и):
НТТ ДОКОМО, ИНК. (JP)
|
(54) УСТРОЙСТВО ДЛЯ КОДИРОВАНИЯ ИЗОБРАЖЕНИЙ С ПРЕДСКАЗАНИЕМ, УСТРОЙСТВО ДЛЯ ДЕКОДИРОВАНИЯ ИЗОБРАЖЕНИЙ С ПРЕДСКАЗАНИЕМ, СПОСОБ КОДИРОВАНИЯ ИЗОБРАЖЕНИЙ С ПРЕДСКАЗАНИЕМ, СПОСОБ ДЕКОДИРОВАНИЯ ИЗОБРАЖЕНИЙ С ПРЕДСКАЗАНИЕМ, ПРОГРАММА ДЛЯ КОДИРОВАНИЯ ИЗОБРАЖЕНИЙ С ПРЕДСКАЗАНИЕМ И ПРОГРАММА ДЛЯ ДЕКОДИРОВАНИЯ ИЗОБРАЖЕНИЙ C ПРЕДСКАЗАНИЕМ
(57) Реферат:
Изобретение относится к устройству для кодирования/декодирования изображений с предсказанием. Техническим результатом является повышение эффективности кодирования сигналов пикселей. Указанный результат достигается тем, что устройство для кодирования изображений с предсказанием содержит секцию (15) определения способа формирования сигнала внутрикадрового предсказания, которая для смежных областей, содержащих повторно сформированные сигналы пикселей и являющихся смежными с целевой областью, определяет способ предсказания, который получается на основе данных, соответствующих смежным областям, как способ предсказания в режиме R или способ предсказания в режиме L, секцию (16) формирования сигнала внутрикадрового предсказания, которая формирует сигнал внутрикадрового предсказания на основе определенного таким образом способа предсказания в режиме R, вычитатель (18), секцию (19) преобразования, секцию (20) квантования и секцию (25) статистического кодирования, которая кодирует разностный сигнал сигнала пикселей целевой области на основе формированного сигнала внутрикадрового предсказания. 12 н. и 4 з.п. ф-лы, 14 ил.
Область техники
Настоящее изобретение относится к устройству для кодирования изображений с предсказанием, устройству для декодирования изображений с предсказанием, способу кодирования изображений с предсказанием, способу декодирования изображений с предсказанием, программе для кодирования изображений с предсказанием и программе для декодирования изображений с предсказанием.
Уровень техники
Сжатие традиционно выполняется с использованием технологии кодирования со сжатием для сжатия данных изображения, чтобы эффективно передавать и хранить данные неподвижных изображений и данные динамических изображений и т.д. Системы MPEG1-MPEG4 и H.261-H.264 и т.д. широко используются в качестве такой технологии кодирования со сжатием для динамических изображений.
В таких системах кодирования обработка кодирования и обработка декодирования выполняются после разделения данных изображения, представляющих собой цель кодирования, на множество блоков. Кроме того, в случае систем форматов MPEG4 и H.264 при кодировании целевого блока кадра с внутрикадровым кодированием для дополнительного увеличения эффективности кодирования формируется сигнал предсказания с использованием повторно сформированных сигналов пикселей, которые являются смежными с целевым блоком в том же самом кадре. Повторно сформированные сигналы пикселей являются сигналами пикселей, которые были восстановлены из ранее сжатых данных пикселей. Кроме того, кодируется разностный сигнал, который получается посредством вычитания сигнала предсказания из сигнала пикселей целевого блока.
В формате MPEG4 сигнал пикселей целевого блока подвергается кодированию с предсказанием после выполнения дискретного косинусного преобразования над сигналом пикселей целевого блока. Другими словами, для коэффициента DC-компонента целевого блока и коэффициента AC-компонента первой строки или первого столбца целевого блока коэффициент для соответствующего компонента блока над целевым блоком или слева от целевого блока берется как значение предсказания, и кодируется разность между обоими значениями. Определение значений предсказания выполняется на основе величины градиента DC-компонентов блока, находящегося по диагонали над целевым блоком, и блока над целевым блоком или слева от него. Такой способ внутрикадрового предсказания показан в патентном документе 1, представленном ниже.
Однако в формате H.264 принят способ формирования сигнала предсказания посредством экстраполяции повторно сформированных значений пикселей, которые являются смежными с целевым блоком в предопределенном направлении. Формирование сигнала внутрикадрового предсказания в этом пиксельном представлении имеет преимущество в том, что позволяет предсказывать подробные детали в изображении. Фиг.14(a) показывает схему, служащую для иллюстрации способа внутрикадрового предсказания, используемого форматом H.264, и фиг.14(b) показывает направление для растяжения сигнала пикселя для способа внутрикадрового предсказания формата H.264. На фиг.14(a) блок 901 является целевым блоком, а блоки 902-904 являются смежными блоками, причем эти блоки содержат сигналы пикселей, которые были повторно сформированы при предыдущей обработке. Повторно сформированная группа 905 пикселей, которая является смежной с границей целевого блока 901, используется для формирования сигнала предсказания в девяти направлениях, которые показаны на фиг.14(b). Например, в случае направления “0” сигнал предсказания формируется посредством растяжения вниз смежного пикселя, расположенного непосредственно выше блока 901; в случае направления “1” сигнал предсказания формируется посредством растяжения вправо повторно сформированного пикселя, расположенного слева от блока 901; в случае направления “2” в качестве сигнала предсказания формируется среднее значение всех значений пикселей группы 905 пикселей. Более специфический способ при формировании сигнала предсказания показан, например, в непатентном документе 1, представленном ниже. Для формата H.264 берется разность между каждым из девяти сформированных таким образом сигналов предсказания и сигналом пикселей для целевого блока, и способ формирования сигнала предсказания с наименьшим значением разности выбирается в качестве оптимального способа предсказания (также называемого ‘режимом’).
При передаче данных изображения необходимо передать на принимающую сторону идентифицирующую информацию, которая указывает определенный таким образом оптимальный способ предсказания для восстановления данных изображения. Способ предсказания, определенный для двух блоков, а именно блока 902 и блока 903, берется в качестве опорной информации, и кодируется информация, относящаяся к оптимальному способу предсказания блока 901. Другими словами, идентифицирующая информация для способа предсказания блока 902 сравнивается с идентифицирующей информацией для способа предсказания блока 903, и идентифицирующая информация с наименьшим значением определяется как опорная информация о режиме. Далее идентифицирующая информация, относящаяся к оптимальному способу предсказания целевого блока, кодируется относительно этой опорной информации о режиме.
Патентный документ 1: Патент США 6148109.
Непатентный документ 1: Iain E.G. Richardson, “Сжатие видеоданных в форматах Н.264 и MPEG4”, Wiley, 2003, стр.177-183.
Раскрытие изобретения
Проблема, которая должна быть решена с помощью изобретения
Однако в случае способа кодирования, использующего формирование сигнала внутрикадрового предсказания в пиксельном представлении согласно формату H.264, хотя и возможно обеспечить несколько способов предсказания для увеличения эффективности кодирования сигналов пикселей, но поскольку в этом случае при кодировании информации о режиме для идентификации способа предсказания необходимо использовать информацию с большой длиной кода, имеется увеличение общего количества битов. Чтобы решить такую проблему, как упомянуто ранее, выполняется относительное кодирование с учетом идентифицирующей информации, относящейся к способу предсказания смежных блоков. Однако в результате использования двух смежных блоков имеется тенденция к тому, что формирование опорной информации о режиме с высокой точностью с учетом оптимального способа предсказания (целевого блока) становится невозможным и невозможно адекватно уменьшить количество битов информации о режиме.
Кроме того, в случаях когда смежные блоки закодированы посредством кодирования с межкадровым предсказанием, информация о режиме целевого блока кодируется относительно со ссылкой на фиксированную информацию о режиме, поскольку смежные блоки не обладают информацией о режиме внутрикадрового предсказания. Кодирование с межкадровым предсказанием является способом кодирования с предсказанием, который использует сигнал предсказания с минимальным отклонением от опорного изображения к целевому блоку посредством взятия повторно сформированного (регенерированного) изображения, которое восстановлено после выполненного ранее кодирования, в качестве опорного изображения. В случаях когда для смежных блоков применяют кодирование с межкадровым предсказанием таким образом, снижается эффективность кодирования информации о режиме предсказания при выполнении над целевым блоком кодирования с внутрикадровым предсказанием.
Таким образом, настоящее изобретение было задумано с учетом этих проблем, и задача настоящего изобретения состоит в том, чтобы обеспечить устройство для кодирования изображений с предсказанием, устройство для декодирования изображений с предсказанием, способ кодирования изображений с предсказанием, способ декодирования изображений с предсказанием, программу для кодирования изображений с предсказанием и программу для декодирования изображений с предсказанием, которые дают возможность эффективного кодирования или эффективного декодирования посредством сокращения информации о режиме предсказания для формирования сигнала внутрикадрового предсказания в пиксельном представлении.
Средства решения проблемы
Чтобы решить упомянутую выше проблему, устройство для кодирования изображений с предсказанием в настоящем изобретении представляет собой устройство для кодирования изображений с предсказанием, которое делит изображение на множество областей, формирует сигнал внутрикадрового предсказания с учетом сигнала пикселей, содержащихся в целевой области, которая является целью обработки среди областей, и кодирует разностный сигнал между сигналом пикселей целевой области и сигналом внутрикадрового предсказания, и устройство для кодирования изображений с предсказанием содержит средство определения первого способа предсказания, которое на основе обработанных данных, соответствующих смежным областям, содержащим повторно сформированные сигналы пикселей и смежным с целевой областью, получает способ предсказания, который формирует сигнал внутрикадрового предсказания, имеющий сильную корреляцию с сигналами пикселей смежных областей, из заранее определенного множества способов предсказания для формирования сигнала внутрикадрового предсказания и определяет способ предсказания как первый способ предсказания; средство формирования сигнала предсказания, которое формирует сигнал внутрикадрового предсказания на основе первого способа предсказания, определенного с помощью средства определения первого способа предсказания; и средство кодирования изображения, которое кодирует разностный сигнал сигнала пикселей целевой области на основе сигнала внутрикадрового предсказания, сформированного с помощью средства формирования сигнала предсказания.
Способ кодирования изображений с предсказанием согласно настоящему изобретению представляет собой способ кодирования изображений с предсказанием, который делит изображение на множество областей, формирует сигнал внутрикадрового предсказания в отношении сигнала пикселей, содержащихся в целевой области, которая является целью обработки среди областей, и кодирует разностный сигнал (сигнал невязки) между сигналом пикселей целевой области и сигналом внутрикадрового предсказания, и способ кодирования изображений с предсказанием содержит этап определения первого способа предсказания, на котором средство определения первого способа предсказания на основе обработанных данных, соответствующих смежным областям, содержащим повторно сформированные сигналы пикселей и смежным с целевой областью, получает способ предсказания, который формирует сигнал внутрикадрового предсказания, имеющий сильную корреляцию с сигналами пикселей смежных областей, из предопределенного множества способов предсказания для формирования сигнала внутрикадрового предсказания и определяет способ предсказания как первый способ предсказания; этап формирования сигнала предсказания, на котором средство формирования сигнала предсказания формирует сигнал внутрикадрового предсказания на основе первого способа предсказания, определенного на этапе определения первого способа предсказания; и этап кодирования изображения, на котором средство кодирования изображения кодирует разностный сигнал сигнала пикселей целевой области на основе сигнала внутрикадрового предсказания, сформированного на этапе формирования сигнала предсказания.
Программа для кодирования изображений с предсказанием согласно настоящему изобретению представляет собой программу для кодирования изображений с предсказанием, которая делит изображение на множество областей, формирует сигнал внутрикадрового предсказания по отношению к сигналу пикселей, содержащихся в целевой области, которая является целью обработки среди областей, и кодирует разностный сигнал (сигнал невязки) между сигналом пикселей целевой области и сигналом внутрикадрового предсказания, и программа для кодирования изображений с предсказанием заставляет компьютер работать в качестве средства определения первого способа предсказания, которое на основе обработанных данных, соответствующих смежным областям, содержащим повторно сформированные сигналы пикселей и смежным с целевой областью, получает способ предсказания, который формирует сигнал внутрикадрового предсказания, имеющий сильную корреляцию с сигналами пикселей смежных областей, из предопределенного множества способов предсказания для формирования сигнала внутрикадрового предсказания и определяет способ предсказания как первый способ предсказания; средства формирования сигнала предсказания, которое формирует сигнал внутрикадрового предсказания на основе первого способа предсказания, определенного с помощью средства определения первого способа предсказания; и средства кодирования изображения, которое кодирует разностный сигнал сигнала пикселей целевой области на основе сигнала внутрикадрового предсказания, сформированного с помощью средства формирования сигнала предсказания.
В соответствии с устройством для кодирования изображений с предсказанием, способом кодирования изображений с предсказанием и программой для кодирования изображений с предсказанием для повторно сформированных областей, которые являются смежными с целевой областью, являющейся целью кодирования, получается первый способ предсказания для формирования сигнала предсказания, который имеет сильную корреляцию с сигналами пикселей смежных областей, с использованием данных, обработанных в соответствии со смежными областями, формируется сигнал внутрикадрового предсказания целевой области на основе способа предсказания и кодируется разностный сигнал для целевой области с использованием сигнала внутрикадрового предсказания. В результате, поскольку способ предсказания для сигнала внутрикадрового предсказания получается просто посредством использования обработанных данных, соответствующих повторно сформированным смежным областям, нет необходимости передавать информацию о режиме, идентифицирующую способ предсказания, и общая эффективность кодирования увеличивается.
В качестве альтернативы, устройство для кодирования изображений с предсказанием по настоящему изобретению представляет собой устройство для кодирования изображений с предсказанием, которое делит изображение на множество областей, формирует сигнал внутрикадрового предсказания в отношении сигнала пикселей, содержащихся в целевой области, которая является целью обработки среди областей, и кодирует разностный сигнал между сигналом пикселей целевой области и сигналом внутрикадрового предсказания, и устройство для кодирования изображений с предсказанием содержит средство определения первого способа предсказания, которое на основе обработанных данных, соответствующих смежным областям, содержащим повторно сформированные сигналы пикселей и смежным с целевой областью, получает способ предсказания, который формирует сигнал внутрикадрового предсказания, имеющий сильную корреляцию с сигналами пикселей смежных областей, из предопределенного множества способов предсказания для формирования сигнала внутрикадрового предсказания и определяет способ предсказания как первый способ предсказания; средство определения второго способа предсказания, которое формирует множество сигналов предсказания, соответствующих предопределенному множеству способов предсказания для целевой области, и определяет второй способ предсказания, который является подходящим для целевой области, из множества способов предсказания в соответствии с предопределенным стандартом оценки; средство формирования сигнала предсказания, которое формирует сигнал внутрикадрового предсказания на основе второго способа предсказания, определенного с помощью средства определения второго способа предсказания; средство кодирования информации о режиме, которое относительно кодирует второй способ предсказания на основе первого способа предсказания; и средство кодирования изображения, которое кодирует разностный сигнал сигнала пикселей целевой области на основе сигнала внутрикадрового предсказания, сформированного с помощью средства формирования сигнала предсказания.
В качестве альтернативы, способ кодирования изображений с предсказанием настоящего изобретения представляет собой способ кодирования изображений с предсказанием, который делит изображение на множество областей, формирует сигнал внутрикадрового предсказания для сигнала пикселей, содержащихся в целевой области, которая является целью обработки среди областей, и кодирует разностный сигнал между сигналом пикселей целевой области и сигналом внутрикадрового предсказания, и способ кодирования изображений с предсказанием содержит этап определения первого способа предсказания, на котором средство определения первого способа предсказания на основе обработанных данных, соответствующих смежным областям, содержащим повторно сформированные сигналы пикселей и смежным с целевой областью, получает способ предсказания, который формирует сигнал внутрикадрового предсказания, имеющий сильную корреляцию с сигналами пикселей смежных областей, из предопределенного множества способов предсказания для формирования сигнала внутрикадрового предсказания и определяет способ предсказания как первый способ предсказания; этап определения второго способа предсказания, на котором средство определения второго способа предсказания формирует множество сигналов предсказания, соответствующих предопределенному множеству способов предсказания для целевой области, и определяет второй способ предсказания, который является подходящим для целевой области, из множества способов предсказания в соответствии с предопределенным стандартом оценки; этап формирования сигнала предсказания, на котором средство формирования сигнала предсказания формирует сигнал внутрикадрового предсказания на основе второго способа предсказания, определенного на этапе определения второго способа предсказания; этап кодирования информации о режиме, на котором средство кодирования информации о режиме относительно кодирует второй способ предсказания на основе первого способа предсказания; и этап кодирования изображения, на котором средство кодирования изображения кодирует разностный сигнал сигнала пикселей целевой области на основе сигнала внутрикадрового предсказания, сформированного с помощью средства формирования сигнала предсказания.
В качестве альтернативы, программа для кодирования изображений с предсказанием настоящего изобретения представляет собой программу для кодирования изображений с предсказанием, которая делит изображение на множество областей, формирует сигнал внутрикадрового предсказания для сигнала пикселей, содержащихся в целевой области, которая является целью обработки среди областей, и кодирует разностный сигнал между сигналом пикселей целевой области и сигналом внутрикадрового предсказания, и программа для кодирования изображений с предсказанием заставляет компьютер работать в качестве средства определения первого способа предсказания, которое на основе обработанных данных, соответствующих смежным областям, содержащим повторно сформированные сигналы пикселей и смежным с целевой областью, получает способ предсказания, который формирует сигнал внутрикадрового предсказания, имеющий сильную корреляцию с сигналами пикселей смежных областей, из предопределенного множества способов предсказания для формирования сигнала внутрикадрового предсказания и определяет способ предсказания как первый способ предсказания; средства определения второго способа предсказания, которое формирует множество сигналов предсказания, соответствующих предопределенному множеству способов предсказания для целевой области, и определяет второй способ предсказания, который является подходящим для целевой области, из множества способов предсказания в соответствии с предопределенным стандартом оценки; средства формирования сигнала предсказания, которое формирует сигнал внутрикадрового предсказания на основе второго способа предсказания, определенного с помощью средства определения второго способа предсказания; средства кодирования информации о режиме, которое относительно кодирует второй способ предсказания на основе первого способа предсказания; и средства кодирования изображения, которое кодирует разностный сигнал сигнала пикселей целевой области на основе сигнала внутрикадрового предсказания, сформированного с помощью средства формирования сигнала предсказания.
В соответствии с устройством для кодирования изображений с предсказанием, способом кодирования изображений с предсказанием и программой для кодирования изображений с предсказанием для повторно сформированных областей, которые являются смежными с целевой областью, являющейся целью кодирования, получается первый способ предсказания для формирования сигнала предсказания, который имеет сильную корреляцию с сигналами пикселей смежных областей, с использованием данных, обработанных в соответствии со смежными областями, второй способ предсказания для формирования сигнала внутрикадрового предсказания целевой области относительно кодируется на основе первого способа предсказания, и разностный сигнал для целевой области кодируется с использованием сигнала внутрикадрового предсказания. Имеется высокая вероятность, что способ предсказания, который получается для смежных областей с использованием обработанных данных, соответствующих повторно сформированным смежным областям, является близким к оптимальному способу предсказания для целевой области. Следовательно, посредством относительного кодирования информации о режиме предсказания целевой области с использованием этого способа предсказания сокращается количество битов для кодирования информации о режиме, идентифицирующей способ предсказания, и увеличивается общая эффективность кодирования.
Кроме того, средство определения первого способа предсказания предпочтительно формирует множество сигналов предсказания для смежных областей, соответствующих заранее определенному множеству способов предсказания, и определяет первый способ предсказания из множества способов предсказания в соответствии с предопределенным стандартом оценки. В этом случае способ предсказания, который является близким к оптимальному способу предсказания для целевой области, может быть легко определен на основе повторно сформированного сигнала пикселей посредством определения первого способа предсказания для смежных областей из множества способов предсказания в соответствии с предопределенным стандартом оценки.
Кроме того, средство определения первого способа предсказания предпочтительно использует три или более способов предсказания, которые ранее определены в соответствии со смежными областями, для определения первого способа предсказания для смежных областей в соответствии с предопределенным стандартом оценки. Если принята такая структура, способ предсказания, который является близким к оптимальному способу предсказания для целевой области, может быть легко определен с использованием трех или более способов предсказания, определенных для смежных областей, для определения первого способа предсказания в соответствии с предопределенным стандартом оценки.
Устройство для декодирования изображений с предсказанием по настоящему изобретению представляет собой устройство для декодирования изображений с предсказанием, которое делит изображение на множество областей, формирует сигнал внутрикадрового предсказания для сигнала пикселей, содержащихся в целевой области, которая является целью обработки среди областей, и восстанавливает сигнал пикселей целевой области посредством объединения разностного сигнала, относящегося к целевой области, содержащегося в сжатых данных изображения, и сигнала внутрикадрового предсказания, и устройство для декодирования изображений с предсказанием содержит средство определения первого способа предсказания, которое на основе обработанных данных, соответствующих смежным областям, содержащим повторно сформированные сигналы пикселей и смежным с целевой областью, получает способ предсказания, который формирует сигнал внутрикадрового предсказания, имеющий сильную корреляцию с сигналами пикселей смежных областей, из предопределенного множества способов предсказания, для формирования сигнала внутрикадрового предсказания и определяет способ предсказания как первый способ предсказания; средство формирования сигнала предсказания, которое формирует сигнал внутрикадрового предсказания на основе первого способа предсказания, определенного с помощью средства определения первого способа предсказания; средство восстановления, которое извлекает разностный сигнал, относящийся к целевой области, из сжатых данных изображения для восстановления повторно сформированного разностного сигнала; и средство восстановления изображения, которое восстанавливает сигнал пикселей целевой области посредством комбинирования сигнала внутрикадрового предсказания и повторно сформированного разностного сигнала, восстановленного с помощью средства восстановления.
Способ декодирования изображений с предсказанием настоящего изобретения представляет собой способ декодирования изображений с предсказанием, который делит изображение на множество областей, формирует сигнал внутрикадрового предсказания для сигнала пикселей, содержащихся в целевой области, которая является целью обработки среди областей, и восстанавливает сигнал пикселей целевой области посредством объединения разностного сигнала, относящегося к целевой области, содержащегося в сжатых данных изображения, и сигнала внутрикадрового предсказания, и способ декодирования изображений с предсказанием содержит этап определения первого способа предсказания, на котором средство определения первого способа предсказания на основе обработанных данных, соответствующих смежным областям, содержащим повторно сформированные сигналы пикселей и смежным с целевой областью, получает способ предсказания, который формирует сигнал внутрикадрового предсказания, имеющий сильную корреляцию с сигналами пикселей смежных областей, из предопределенного множества способов предсказания, для формирования сигнала внутрикадрового предсказания и определяет способ предсказания как первый способ предсказания; этап формирования сигнала предсказания, на котором средство формирования сигнала предсказания формирует сигнал внутрикадрового предсказания на основе первого способа предсказания, определенного на этапе определения первого способа предсказания; этап восстановления, на котором средство восстановления извлекает разностный сигнал, относящийся к целевой области, из сжатых данных изображения для восстановления повторно сформированного разностного сигнала; и этап восстановления изображения, на котором средство восстановления изображения восстанавливает сигнал пикселей целевой области посредством комбинирования сигнала внутрикадрового предсказания и повторно сформированного разностного сигнала, восстановленного на этапе восстановления.
Программа для декодирования изображений с предсказанием по настоящему изобретению представляет собой программу для декодирования изображений с предсказанием, которая делит изображение на множество областей, формирует сигнал внутрикадрового предсказания для сигнала пикселей, содержащихся в целевой области, которая является целью обработки среди областей, и восстанавливает сигнал пикселей целевой области посредством объединения разностного сигнала, относящегося к целевой области, содержащегося в сжатых данных изображения, и сигнала внутрикадрового предсказания, и программа для декодирования изображений с предсказанием заставляет компьютер работать в качестве средства определения первого способа предсказания, которое на основе обработанных данных, соответствующих смежным областям, содержащим повторно сформированные сигналы пикселей и смежным с целевой областью, получает способ предсказания, который формирует сигнал внутрикадрового предсказания, имеющий сильную корреляцию с сигналами пикселей смежных областей, из предопределенного множества способов предсказания для формирования сигнала внутрикадрового предсказания и определяет способ предсказания как первый способ предсказания; средства формирования сигнала предсказания, которое формирует сигнал внутрикадрового предсказания на основе первого способа предсказания, определенного с помощью средства определения первого способа предсказания; средства восстановления, которое извлекает разностный сигнал, относящийся к целевой области, из сжатых данных изображения для восстановления повторно сформированного разностного сигнала; и средства восстановления изображения, которое восстанавливает сигнал пикселей целевой области посредством объединения сигнала внутрикадрового предсказания и повторно сформированного разностного сигнала, восстановленного с помощью средства восстановления.
В соответствии с устройством для декодирования изображений с предсказанием, способом декодирования изображений с предсказанием и программой для декодирования изображений с предсказанием для повторно сформированных областей, которые являются смежными с целевой областью, являющейся целью кодирования, получается первый способ предсказания для формирования сигнала предсказания, который имеет сильную корреляцию с сигналами пикселей смежных областей, с использованием данных, обработанных в соответствии со смежными областями, формируется сигнал внутрикадрового предсказания целевой области на основе способа предсказания, и сигнал пикселей для целевой области восстанавливается из повторно сформированного разностного сигнала, полученного посредством восстановления разностного сигнала целевой области с использованием сигнала внутрикадрового предсказания. В результате, поскольку способ предсказания для сигнала внутрикадрового предсказания получается просто посредством использования обработанных данных, соответствующих повторно сформированным смежным областям, нет необходимости передавать информацию о режиме, идентифицирующую способ предсказания, и общая эффективность кодирования увеличивается.
В качестве альтернативы, устройство для декодирования изображений с предсказанием настоящего изобретения представляет собой устройство для декодирования изображений с предсказанием, которое делит изображение на множество областей, формирует сигнал внутрикадрового предсказания для сигнала пикселей, содержащихся в целевой области, которая является целью обработки среди областей, и восстанавливает сигнал пикселей целевой области посредством комбинирования разностного сигнала, относящегося к целевой области, содержащегося в сжатых данных изображения, и сигнала внутрикадрового предсказания, и устройство для декодирования изображений с предсказанием содержит средство определения первого способа предсказания, которое на основе обработанных данных, соответствующих смежным областям, содержащим повторно сформированные сигналы пикселей и смежным с целевой областью, получает способ предсказания, который формирует сигнал внутрикадрового предсказания, имеющий сильную корреляцию с сигналами пикселей смежных областей, из предопределенного множества способов предсказания для формирования сигнала внутрикадрового предсказания и определяет способ предсказания как первый способ предсказания; средство получения способа предсказания, которое извлекает относительный способ предсказания, который является относительной информацией, идентифицирующей способ предсказания, относящийся к целевой области, из сжатых данных изображения, и получает второй способ предсказания для целевой области на основе первого способа предсказания и относительного способа предсказания; средство формирования сигнала предсказания, которое формирует сигнал внутрикадрового предсказания на основе второго способа предсказания, полученного с помощью средства получения способа предсказания; средство восстановления, которое извлекает разностный сигнал, относящийся к целевой области, из сжатых данных изображения для восстановления повторно сформированного разностного сигнала; и средство восстановления изображения, которое восстанавливает сигнал пикселей целевой области посредством комбинирования сигнала внутрикадрового предсказания и повторно сформированного разностного сигнала, восстановленного с помощью средства восстановления.
В качестве альтернативны, способ декодирования изображений с предсказанием по настоящему изобретению представляет собой способ декодирования изображений с предсказанием, который делит изображение на множество областей, формирует сигнал внутрикадрового предсказания для сигнала пикселей, содержащихся в целевой области, которая является целью обработки среди областей, и восстанавливает сигнал пикселей целевой области посредством объединения разностного сигнала, относящегося к целевой области, содержащегося в сжатых данных изображения, и сигнала внутрикадрового предсказания, и способ декодирования изображений с предсказанием содержит этап определения первого способа предсказания, на котором средство определения первого способа предсказания на основе обработанных данных, соответствующих смежным областям, содержащим повторно сформированные сигналы пикселей и смежным с целевой областью, получает способ предсказания, который формирует сигнал внутрикадрового предсказания, имеющий сильную корреляцию с сигналами пикселей смежных областей, из предопределенного множества способов предсказания для формирования сигнала внутрикадрового предсказания и определяет способ предсказания как первый способ предсказания; этап получения способа предсказания, на котором средство получения способа предсказания извлекает относительный способ предсказания, который является относительной информацией, идентифицирующей способ предсказания, относящийся к целевой области, из сжатых данных изображения, и получает второй способ предсказания для целевой области на основе первого способа предсказания и относительного способа предсказания; этап формирования сигнала предсказания, на котором средство формирования сигнала предсказания формирует сигнал внутрикадрового предсказания на основе второго способа предсказания, полученного на этапе получения способа предсказания; этап восстановления, на котором средство восстановления извлекает разностный сигнал, относящийся к целевой области, из сжатых данных изображения для восстановления повторно сформированного разностного сигнала; и этап восстановления изображения, на котором средство восстановления изображения восстанавливает сигнал пикселей целевой области посредством комбинирования сигнала внутрикадрового предсказания и повторно сформированного разностного сигнала, восстановленного с помощью средства восстановления.
В качестве альтернативы, программа для декодирования изображений с предсказанием по настоящему изобретению представляет собой программу для декодирования изображений с предсказанием, которая делит изображение на множество областей, формирует сигнал внутрикадрового предсказания для сигнала пикселей, содержащихся в целевой области, которая является целью обработки среди областей, и восстанавливает сигнал пикселей целевой области посредством объединения разностного сигнала, относящегося к целевой области, содержащегося в сжатых данных изображения, и сигнала внутрикадрового предсказания, и программа для декодирования изображений с предсказанием заставляет компьютер работать в качестве средства определения первого способа предсказания, которое на основе обработанных данных, соответствующих смежным областям, содержащим повторно сформированные сигналы пикселей и смежным с целевой областью, получает способ предсказания, который формирует сигнал внутрикадрового предсказания, имеющий сильную корреляцию с сигналами пикселей смежных областей, из предопределенного множества способов предсказания для формирования сигнала внутрикадрового предсказания и определяет способ предсказания как первый способ предсказания; средства получения способа предсказания, которое извлекает относительный способ предсказания, который является относительной информацией, идентифицирующей способ предсказания, относящийся к целевой области, из сжатых данных изображения и получает второй способ предсказания для целевой области на основе первого способа предсказания и относительного способа предсказания; средства формирования сигнала предсказания, которое формирует сигнал внутрикадрового предсказания на основе второго способа предсказания, полученного с помощью средства получения способа предсказания; средства восстановления, которое извлекает разностный сигнал, относящийся к целевой области, из сжатых данных изображения для восстановления повторно сформированного разностного сигнала; и средства восстановления изображения, которое восстанавливает сигнал пикселей целевой области посредством комбинирования сигнала внутрикадрового предсказания и повторно сформированного разностного сигнала, восстановленного с помощью средства восстановления.
В соответствии с устройством для декодирования изображений с предсказанием, способом декодирования изображений с предсказанием и программой для декодирования изображений с предсказанием для повторно сформированных областей, которые являются смежными с целевой областью, являющейся целью декодирования, получается первый способ предсказания для формирования сигнала предсказания, который имеет сильную корреляцию с сигналами пикселей смежных областей, с использованием данных, обработанных в соответствии со смежными областями, получается второй способ предсказания для целевой области на основе первого способа предсказания и относительного способа предсказания, формируется сигнал внутрикадрового предсказания, и сигнал внутрикадрового предсказания используется для восстановления сигнала пикселей целевой области из повторно сформированного разностного сигнала, полученного посредством восстановления разностного сигнала целевой области. Имеется высокая вероятность, что способ предсказания, который получается для смежных областей с использованием обработанных данных, соответствующих повторно сформированным смежным областям, является близким к оптимальному способу предсказания для целевой области. Следовательно, посредством относительного восстановления информации о режиме предсказания целевой области с использованием этого способа предсказания сокращается количество битов для кодирования информации о режиме (относительный способ предсказания), идентифицирующей способ предсказания, и увеличивается общая эффективность кодирования.
Кроме того, средство определения первого способа предсказания предпочтительно формирует множество сигналов предсказания для смежных областей, соответствующих предопределенному множеству способов предсказания, и определяет первый способ предсказания из множества способов предсказания в соответствии с заранее определенным стандартом оценки. В этом случае способ предсказания, который является близким к оптимальному способу предсказания для целевой области, может быть легко определен на основе повторно сформированного сигнала пикселей посредством определения первого способа предсказания для смежных областей из множества способов предсказания в соответствии с заранее определенным стандартом оценки.
Кроме того, средство определения первого способа предсказания предпочтительно использует три или более способов предсказания, которые ранее были определены в соответствии со смежными областями, для определения первого способа предсказания для смежных областей в соответствии с предопределенным стандартом оценки. Если принята такая структура, способ предсказания, который является близким к оптимальному способу предсказания для целевой области, может быть легко определен с использованием трех или более способов предсказания, определенных для смежных областей, для определения первого способа предсказания в соответствии с предопределенным стандартом оценки.
Эффект изобретения
Настоящее изобретение дает возможность эффективного кодирования или декодирования посредством сокращения информации о режиме предсказания для формирования сигнала внутрикадрового предсказания в пиксельном представлении.
Краткое описание чертежей
Фиг.1 – блок-схема, которая показывает структуру устройства для кодирования изображений с предсказанием в соответствии с предпочтительным вариантом воплощения настоящего изобретения.
Фиг.2 – блок-схема, которая показывает структуру секции определения способа формирования сигнала внутрикадрового предсказания, показанной на фиг.1.
Фиг.3 – схема, служащая для иллюстрации процесса определения способа предсказания в режиме R секции определения режима R, показанной на фиг.2.
Фиг.4 – схема, служащая для иллюстрации процесса определения способа предсказания в режиме L секции определения режима L, показанной на фиг.2.
Фиг.5 – блок-схема последовательности операций, которая показывает процесс определения способа предсказания режима L с использованием секции определения режима L, показанной на фиг.2.
Фиг.6 – блок-схема последовательности операций, которая показывает процесс определения способа формирования сигнала предсказания секции определения способа формирования сигнала внутрикадрового предсказания, показанной на фиг.1.
Фиг.7 – блок-схема, которая показывает структуру устройства для декодирования изображений с предсказанием в соответствии с предпочтительным вариантом воплощения настоящего изобретения.
Фиг.8 – блок-схема, которая показывает структуру секции извлечения способа предсказания, показанной на фиг.7.
Фиг.9 – блок-схема последовательности операций, которая показывает процесс извлечения способа формирования сигнала предсказания секции извлечения способа предсказания, показанной на фиг.7.
Фиг.10 – блок-схема, которая показывает модифицированный пример секции определения способа формирования сигнала внутрикадрового предсказания, показанной на фиг.2.
Фиг.11 – блок-схема, которая показывает модифицированный пример секции извлечения способа предсказания, показанной на фиг.8.
Фиг.12 – диаграмма, которая показывает структуру аппаратного обеспечения компьютера для выполнения программы для кодирования изображений с предсказанием и программы для декодирования изображений с предсказанием в соответствии с вариантом воплощения настоящего изобретения.
Фиг.13 – вид в перспективе компьютера, показанного на фиг.12.
Фиг.14 – (a) схема, служащая для иллюстрации способа внутрикадрового предсказания, используемого в формате H.264, и (b) показывает направление для растяжения сигнала пикселя способа внутрикадрового предсказания формата H.264.
Список символов
10 – УСТРОЙСТВО ДЛЯ КОДИРОВАНИЯ ИЗОБРАЖЕНИЙ С ПРЕДСКАЗАНИЕМ,
11 – ВХОД,
12 – СЕКЦИЯ РАЗДЕЛЕНИЯ БЛОКОВ,
13 – СЕКЦИЯ ОПРЕДЕЛЕНИЯ СПОСОБА ФОРМИРОВАНИЯ СИГНАЛА МЕЖКАДРОВОГО ПРЕДСКАЗАНИЯ,
14 – СЕКЦИЯ ФОРМИРОВАНИЯ СИГНАЛА МЕЖКАДРОВОГО ПРЕДСКАЗАНИЯ,
15 – СЕКЦИЯ ОПРЕДЕЛЕНИЯ СПОСОБА ФОРМИРОВАНИЯ СИГНАЛА ВНУТРИКАДРОВОГО ПРЕДСКАЗАНИЯ,
16 – СЕКЦИЯ ФОРМИРОВАНИЯ СИГНАЛА ВНУТРИКАДРОВОГО ПРЕДСКАЗАНИЯ,
17 – ПЕРЕКЛЮЧАЮЩИЙ ПЕРЕКЛЮЧАТЕЛЬ,
18 – ВЫЧИТАТЕЛЬ,
19 – СЕКЦИЯ ПРЕОБРАЗОВАНИЯ,
20 – СЕКЦИЯ КВАНТОВАНИЯ,
21 – СЕКЦИЯ ОБРАТНОГО КВАНТОВАНИЯ,
22 – СЕКЦИЯ ОБРАТНОГО ПРЕОБРАЗОВАНИЯ,
23 – СУММАТОР,
24 – ПАМЯТЬ КАДРОВ,
25 – СЕКЦИЯ КОДИРОВАНИЯ ЭНТРОПИИ,
26 – ВЫХОД,
41 – СЕКЦИЯ ОПРЕДЕЛЕНИЯ СПОСОБА ПРЕДСКАЗАНИЯ,
42 – СЕКЦИЯ ФОРМИРОВАНИЯ СИГНАЛА ПРЕДСКАЗАНИЯ,
43 – СЕКЦИЯ ОПРЕДЕЛЕНИЯ РЕЖИМА R,
44 – СЕКЦИЯ ХРАНЕНИЯ,
45 – СЕКЦИЯ ПРЕДСКАЗАНИЯ ИНФОРМАЦИИ О РЕЖИМЕ,
46 – СЕКЦИЯ ОПРЕДЕЛЕНИЯ РЕЖИМА L,
50 – УСТРОЙСТВО ДЛЯ ДЕКОДИРОВАНИЯ ИЗОБРАЖЕНИЙ С ПРЕДСКАЗАНИЕМ,
51 – СЕКЦИЯ АНАЛИЗА ДАННЫХ,
52 – СЕКЦИЯ ОБРАТНОГО КВАНТОВАНИЯ,
53 – СЕКЦИЯ ОБРАТНОГО ПРЕОБРАЗОВАНИЯ,
54 – СУММАТОР,
55 – СЕКЦИЯ ФОРМИРОВАНИЯ СИГНАЛА ПРЕДСКАЗАНИЯ,
56 – ПАМЯТЬ КАДРОВ,
57 – СЕКЦИЯ ИЗВЛЕЧЕНИЯ СПОСОБА ПРЕДСКАЗАНИЯ,
58 – ВХОД,
59 – ВЫХОД,
61 – ПЕРЕКЛЮЧАТЕЛЬ,
64 – СЕКЦИЯ ОПРЕДЕЛЕНИЯ РЕЖИМА R,
65 – СЕКЦИЯ ХРАНЕНИЯ,
66 – СЕКЦИЯ ОПРЕДЕЛЕНИЯ РЕЖИМА L,
67 – СЕКЦИЯ ФОРМИРОВАНИЯ ИНФОРМАЦИИ О РЕЖИМЕ,
115 – СЕКЦИЯ ОПРЕДЕЛЕНИЯ СПОСОБА ФОРМИРОВАНИЯ СИГНАЛА ВНУТРИКАДРОВОГО ПРЕДСКАЗАНИЯ,
143 – СЕКЦИЯ ОПРЕДЕЛЕНИЯ РЕЖИМА F,
157 – СЕКЦИЯ ИЗВЛЕЧЕНИЯ СПОСОБА ПРЕДСКАЗАНИЯ,
164 – СЕКЦИЯ ХРАНЕНИЯ ИНФОРМАЦИИ О РЕЖИМЕ F,
301, 401, 901 – ЦЕЛЕВАЯ ОБЛАСТЬ,
302a-302f, 303a-303c, 402-406 и 902-904 – СМЕЖНАЯ ОБЛАСТЬ.
Наилучший вариант воплощения изобретения
Ниже со ссылкой на чертежи подробно описаны предпочтительные варианты воплощения устройства для кодирования изображений с предсказанием и устройства для декодирования изображений с предсказанием в соответствии с настоящим изобретением.
(Устройство для кодирования изображений с предсказанием)
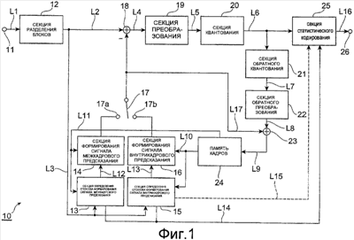
Фиг.1 является блок-схемой, которая показывает структуру устройства для кодирования изображений с предсказанием в соответствии с предпочтительным вариантом воплощения настоящего изобретения. Устройство 10 для кодирования изображений с предсказанием, показанное на фиг.1, содержит вход 11, секцию 12 разделения на блоки, секцию 13 определения способа формирования сигнала межкадрового предсказания, секцию 14 формирования сигнала межкадрового предсказания, секцию 15 определения способа формирования сигнала внутрикадрового предсказания, секцию 16 формирования сигнала внутрикадрового предсказания (средство формирования сигнала предсказания), переключатель 17, вычитатель 18 (средство кодирования изображения), секцию 19 преобразования (средство кодирования изображения), секцию 20 квантования (средство кодирования изображения), секцию 21 обратного квантования, секцию 22 обратного преобразования, сумматор 23, память 24 кадров, секцию 25 статистического кодирования (средство кодирования изображения) и выход 26. Далее будут описаны соответствующие составные элементы устройства 10 для кодирования изображений с предсказанием.
Секция 12 разделения на блоки принимает со входа 11 входные данные динамического изображения, содержащие множество кадров с данными изображений, и делит данные изображений на множество областей. А именно, секция 12 разделения на блоки может разделить данные изображений на блоки, состоящие из 8×8 пикселей, а также может разделить данные изображений на блоки другого произвольного размера и формы. Секция 12 разделения на блоки выдает сигналы пикселей разделенных блоков через линию L2 на вычитатель 18 и через линию L3 на секцию 13 определения способа формирования сигнала межкадрового предсказания и секцию 15 определения способа формирования сигнала внутрикадрового предсказания.
Секция 14 формирования сигнала межкадрового предсказания и секция 16 формирования сигнала внутрикадрового предсказания формируют сигнал предсказания, который предсказывает изображение целевого блока для области, представляющей собой цель для кодирования (называемой далее ‘целевым блоком’). Секция 14 формирования сигнала межкадрового предсказания использует при формировании сигнала предсказания способ предсказания, известный как ‘межкадровое предсказание’, а секция 16 формирования сигнала внутрикадрового предсказания использует способ предсказания, известный как ‘внутрикадровое предсказание’. В случае ‘межкадрового предсказания’ способ предсказания определяется посредством взятия повторно сформированного изображения, которое было восстановлено после выполненного ранее кодирования, в качестве опорного изображения и нахождения информации о движении, которая обеспечивает сигналу предсказания наименьшее отклонение по отношению к целевому блоку от опорного изображения (что называется ‘обнаружением движения’). В отличие от этого, при ‘внутрикадровом предсказании’ сигнал внутрикадрового предсказания формируется посредством предопределенного способа с использованием повторно сформированных (регенерированных) значений пикселей, которые являются пространственно смежными с целевым блоком. Этот способ предсказания также может быть применен к кодированию и декодированию неподвижных изображений.
Секция 13 определения способа формирования сигнала межкадрового предсказания определяет способ межкадрового предсказания посредством выполнения упомянутого выше обнаружения движения на основе опорного изображения, которое вводится из памяти 24 кадров через линию L11, и сигнала пикселей целевого блока, который вводится через линию L3. Секция 13 определения способа формирования сигнала межкадрового предсказания может повторно разделить целевой блок, чтобы определить способ межкадрового предсказания для повторно разделенных малых областей, и может выбрать из различных способов разделения области способ разделения с самой наибольшей эффективностью для всего целевого блока. Кроме того, в качестве опорных изображений может использоваться множество изображений, которые восстанавливаются после выполненного ранее кодирования. Этот способ обнаружения движения аналогичен любому из традиционных способов форматов MPEG2, MPEG4 и H.264, и поэтому его подробное описание опускается. Секция 13 определения способа формирования сигнала межкадрового предсказания отправляет информацию об обнаруженном движении и способ разделения на малые области секции 14 формирования сигнала межкадрового предсказания через линию L12 и отправляет информацию об обнаруженном движении и способ разделения на малые области к секции 25 статистического кодирования через линию L14. В отличие от этого, секция 14 формирования сигнала межкадрового предсказания формирует сигнал предсказания на основе способа разделения на малые области, информации о движении, соответствующей каждой из малых областей, и опорного изображения, которое получено из памяти 24 кадров, и отправляет сигнал предсказания вычитателю 18 и сумматору 23 через разъем 17a и переключатель 17.
Секция 15 определения способа формирования сигнала внутрикадрового предсказания определяет способ внутрикадрового предсказания (далее подробно описанный) на основе ввода сигнала пикселей целевого блока через линию L3 и ввода опорного изображения из памяти 24 кадров через линию L10. Секция 15 определения способа формирования сигнала внутрикадрового предсказания отправляет информацию, относящуюся к определенному способу предсказания, к секции 16 формирования сигнала внутрикадрового предсказания через линию L13 и секции 25 (статистического) кодирования через линию L14 или L15. В ответ на это секция 16 формирования сигнала внутрикадрового предсказания формирует сигнал предсказания посредством предопределенного способа на основе информации о способе предсказания и повторно сформированных сигналов пикселей в том же кадре, полученном из памяти 24 кадров, и отправляет сигнал предсказания вычитателю 18 и сумматору 23 через разъем 17b и переключатель 17.
Имея сигналы предсказания, отправленные от секции 14 формирования сигнала межкадрового предсказания и от секции 16 формирования сигнала внутрикадрового предсказания, переключатель 17 решает, какой из сигналов предсказания имеет меньшее отклонение относительно сигнала пикселей целевой области, и выбирает сигнал предсказания с наименьшей ошибкой измерения в соответствии с результатом решения, перед тем как выдать его на вычитатель 18 и сумматор 23. Однако в случаях когда все блоки обрабатываются посредством внутрикадрового предсказания, поскольку для первого кадра предыдущее изображение не существует, переключатель 17 всегда соединен с разъемом 17b секции 16 формирования сигнала внутрикадрового предсказания при обработке первого изображения. Аналогично в случаях когда обрабатывается кадр, непосредственно следующий за изменением сцены, и в случаях когда есть необходимость периодически вставлять изображение с внутрикадровым предсказанием, переключатель 17 также выбирает сигнал предсказания, сформированный посредством внутрикадрового предсказания для целого кадра.
Вычитатель 18 формирует разностный сигнал посредством вычитания сигнала предсказания, который подается на вход через переключатель 17, из сигнала пикселей целевого блока, поданного от секции 12 разделения на блоки. Этот разностный сигнал выдается на секцию 19 преобразования через линию L4, и секция 19 преобразования формирует коэффициент преобразования посредством выполнения дискретного косинусного преобразования над разностным сигналом. Коэффициент преобразования выдается на секцию 20 квантования через линию L5, и после квантования коэффициента преобразования секция 20 квантования выдает квантованный коэффициент преобразования на секцию 25 статистического кодирования и секцию 21 обратного квантования через линию L6. Секция 25 статистического кодирования кодирует квантованный коэффициент преобразования, объединяет его с информацией о движении, выданной секцией 13 определения способа формирования сигнала межкадрового предсказания, и информацией, относящейся к способу разделения на малые области или относящейся к способу предсказания, которая выдана секцией 15 определения способа формирования сигнала внутрикадрового предсказания, и выдает его на выход 26.
Секция 21 обратного квантования выполняет обратное квантование над квантованным коэффициентом преобразования, чтобы восстановить из него коэффициент преобразования, и выдает коэффициент преобразования на секцию 22 обратного преобразования через линию L7. Секция 22 обратного преобразования восстанавливает разностный сигнал посредством выполнения над коэффициентом преобразования обратного дискретного косинусного преобразования. Сумматор 23 повторно формирует сигнал пикселей целевого блока посредством объединения этого разностного сигнала с сигналом предсказания, поданным через линию L17, и сохраняет сигнал пикселей в памяти 24 кадров через линию L9. Сигнал пикселей целевого блока, сохраненный в памяти 24 кадров, используется для формирования сигнала предсказания целевого блока, который обрабатывается следующим.
Ниже подробно описана структура секции 15 определения способа формирования сигнала внутрикадрового предсказания. Фиг.2 является блок-схемой, которая показывает структуру секции 15 определения способа формирования сигнала внутрикадрового предсказания. Как показано на фиг.2, секция 15 определения способа формирования сигнала внутрикадрового предсказания содержит секцию 41 определения способа предсказания (средство определения второго способа предсказания, средство кодирования информации о режиме), секцию 42 формирования сигнала предсказания (средство определения второго способа предсказания), секцию 43 определения режима R (средство определения первого способа предсказания), секцию 44 хранения, секцию 45 предсказания информации о режиме (средство кодирования информации о режиме) и секцию 46 определения режима L (средство определения первого способа предсказания).
Секция 42 формирования сигнала предсказания использует повторно сформированные пиксели, смежные с целевым блоком, которые считываются из памяти 24 кадров через линию L10, для формирования сигнала предсказания посредством девяти способов. А именно, как показано на фиг.14(a), секция 42 формирования сигнала предсказания использует группу 905 повторно сформированных пикселей, смежную с границей блока 901, который является целевым блоком, для формирования сигнала предсказания для блока 901 в девяти направлениях, показанных на фиг.14(b). Например, в случае направления 0 сигнал предсказания формируется посредством растяжения вниз смежного пикселя, расположенного непосредственно над блоком 901, а в случае направления 1 сигнал предсказания формируется посредством растяжения вправо повторно сформированного пикселя, расположенного слева от блока 901. Подробности способа формирования сигнала предсказания описаны, например, в патенте США 6148109. Секция 42 формирования сигнала предсказания отправляет девять сформированных таким образом сигналов предсказания секции 41 определения способа предсказания через линию L32. В дополнение к формированию девяти сигналов предсказания секция 42 формирования сигнала предсказания также может формировать большее количество или меньшее количество сигналов предсказания. Сигналы предсказания также могут быть формированы посредством другого способа, отличающегося от упомянутого выше, такого как, например, сплайновая экстраполяция.
Секция 43 определения режима R использует предопределенный стандарт оценки для получения одного способа предсказания для формирования сигнала внутрикадрового предсказания, который сильно коррелирован с сигналами пикселей смежной области, из девяти способов предсказания (фиг.14(b)) на основе информации о режиме предсказания, определенной в соответствии с повторно сформированной смежной областью. Другими словами, секция 43 определения режима R осуществляет сбор множества информации о режиме предсказания для ранее обработанных блоков, сохраненных в секции 44 хранения, и определяет способ предсказания посредством предопределенного способа (предсказание в режиме R). Секция 44 хранения хранит информацию о режиме предсказания, которая была определена в соответствии с ранее обработанными блоками через линию L34.
Фиг.3 является схемой, служащей для иллюстрации процесса определения режима R способа предсказания. На фиг.3 целевой блок обозначен номером 301. Номера 302 и 303 представляют области смежных пикселей, которые были ранее закодированы и повторно сохранены. Область 302 содержит блоки 302a-302f, и область 303 содержит блоки 303a-303c, и эти блоки обладают информацией о режиме, относящейся к способу предсказания, которая используется при кодировании каждого из этих блоков. Область 302 является областью, содержащей блоки с размером 12 (по горизонтали) x 4 (по вертикали) пикселей, и область 303 является областью, которая содержит блоки с размером 4×4 пикселей. Однако эти области также могут являться областями другого размера и формы. Смежные блоки согласно уровню техники представляют собой только блок 302d, который расположен над целевым блоком 301, и блок слева от целевого блока 301 (не показан), и описание будет сосредоточено на отличиях от этого варианта воплощения.
Таким образом, секция 43 определения режима R определяет способ предсказания, который соответствует информации о режиме с самым высоким совпадением среди элементов информации о режиме внутрикадрового предсказания, принадлежащих блокам 302a-302f и 303a-303c, сохраненным в секции 44 хранения, в качестве способа предсказания в режиме R, который является способом предсказания с самой высокой корреляцией со всеми пикселями, смежными с целевым блоком. Секция 43 определения режима R также может определить способ предсказания в режиме R на основе информации о режиме, определенной в соответствии с тремя или более блоками с использованием другого способа, и может использовать область различного размера и формы как область, полученную посредством объединения областей 302 и 303. Секция 43 определения режима R отправляет информацию о способе предсказания в режиме R секции 41 определения способа предсказания через линию L31. Секция 43 определения режима R может использовать предопределенную функцию для обработки идентифицирующей информации о способе предсказания в режиме R в качестве цели и отправляет идентифицирующую информацию, полученную в результате обработки, секции 41 определения способа предсказания. В качестве такой функции может быть приведена функция прибавления ±n (где n – произвольное целое число) к идентифицирующей информации в тех случаях, когда идентифицирующая информация содержит числовое значение.
Когда сигнал пикселей целевого блока вводится через линию L3, секция 41 определения способа предсказания находит разность между девятью сигналами предсказания, отправленными через линию L32, и сигналом целевого блока и определяет сигнал предсказания, который дает наименьшее значение разности, в качестве оптимального сигнала предсказания. Секция 41 определения способа предсказания отправляет информацию о режиме предсказания, соответствующую оптимальному сигналу предсказания, секции 16 формирования сигнала внутрикадрового предсказания (фиг.1) через линию L13 и отправляет информацию о режиме предсказания секции 45 предсказания информации о режиме через линию L35.
Кроме того, секция 41 определения способа предсказания кодирует информацию о режиме предсказания, относящуюся к оптимальному сигналу предсказания, на основе информации о способе предсказания в режиме R. А именно, секция 41 определения способа предсказания выполняет кодирование и создает идентифицирующую информацию ‘0’ в случаях, когда оптимальный способ предсказания совпадает со способом предсказания в режиме R, и выполняет кодирование, и создает идентифицирующую информацию ‘1’ в других случаях, и отправляет идентифицирующую информацию секции 25 статистического кодирования (фиг.1) через линию L15. Другими словами, секция 41 определения способа предсказания не должна отправлять вниз по потоку обработки информацию, кроме идентифицирующей информации, в случаях, когда идентифицирующая информация представляет собой ‘0’. Это справедливо потому, что секция 16 формирования сигнала внутрикадрового предсказания формирует сигнал внутрикадрового предсказания посредством того же самого способа предсказания, как и способ предсказания, определенный посредством способа предсказания в режиме R, и поэтому возможно определить способ предсказания посредством того же самого способа определения режима R на стороне повторного формирования. В отличие от этого, в случаях когда идентифицирующая информация представляет собой ‘1’, необходимо также отправить информацию о режиме предсказания (подробности будут представлены далее). Секция 41 определения способа предсказания также может определять способ предсказания в режиме R как оптимальный способ предсказания без дополнительной обработки и отправлять способ предсказания в режиме R секции 16 формирования сигнала внутрикадрового предсказания.
Секция 46 определения режима L использует предопределенный стандарт оценки для получения одного способа предсказания для формирования сигнала внутрикадрового предсказания, который сильно коррелирован с сигналами пикселей смежных областей, из девяти способов предсказания (фиг.14(b)) на основе повторно сформированных сигналов пикселей в соответствии с областью, содержащей смежные области. Другими словами, секция 46 определения режима L еще раз определяет способ предсказания для смежных областей, которые являются смежными с целевым блоком, ссылаясь на данные, сохраненные в памяти 24 кадров (предсказание в режиме L). Фиг.4 является схемой, которая служит для иллюстрации определения способа предсказания в режиме L посредством секции 46 определения режима L. Блок 401 является целевой областью. Блоки 402-404 являются повторно сформированными смежными блоками. Область 405, заштрихованная наклонными линиями, является смежной областью целевого блока 401. Область 405 является областью в форме повернутой буквы L, которая включает в себя четыре пикселя над границей целевого блока и четыре пикселя слева от границы целевого блока, но также может использоваться смежная область 405 другого размера и формы. Секция 46 определения режима L использует группу пикселей области 406, которая является смежной с областью в форме повернутой буквы L, для формирования девяти сигналов предсказания для области 405 в форме повернутой буквы L посредством того же самого способа предсказания, как и способ, проиллюстрированный на фиг.14. Кроме того, секция 46 определения режима L вычисляет разность между сигналом области 405 в форме повернутой буквы L и девятью сигналами предсказания и определяет информацию о режиме предсказания, которая соответствует способу предсказания, который обеспечивает сигналу предсказания наименьшую разность (информацию предсказания, относящуюся к первому способу предсказания), в качестве способа предсказания, который сильно коррелирован с пикселями области 405 в форме повернутой буквы L целевого блока.
Далее со ссылкой на фиг.5 описан поток операций обработки способа предсказания режима L посредством секции 46 определения режима L. Сначала секция 46 определения режима L формирует девять сигналов предсказания с использованием группы пикселей в области 406 для смежной области 405, которая является смежной с целевой областью 401 (этап S11). После этого секция 46 определения режима L находит каждое из значений разности между сигналом смежной области 405 в форме повернутой буквы L и девятью сигналами предсказания (этап S12). После этого секция 46 определения режима L принимает способ предсказания, который соответствует сигналу предсказания, обеспечивающему наименьшее значение разности, в качестве оптимального режима L (первый способ предсказания) (этап S13). Наконец, секция 46 определения режима L выдает информацию, относящуюся к оптимальному режиму L, секции 45 предсказания информации о режиме и секции 44 хранения (этап S14). Секция 46 определения режима L может использовать предопределенную функцию, чтобы обработать идентифицирующую информацию о способе предсказания в режиме L в качестве цели, и отправить идентифицирующую информацию, полученную в результате обработки, секции 45 предсказания информации о режиме и секции 44 хранения. В качестве такой функции может быть приведена функция прибавления ±n (где n – произвольное целое число) к идентифицирующей информации в тех случаях, когда идентифицирующая информация содержит числовое значение.
Возвращаясь к фиг.2, можно видеть, что секция 45 предсказания информации о режиме кодирует информацию о режиме предсказания, имеющую отношение к оптимальному сигналу предсказания, на основе информации об оптимальном режиме L, принятой от секции 46 определения режима L. Секция 45 предсказания информации о режиме принимает информацию о первом способе предсказания, которая отправлена от секции 46 определения режима L, и информацию об оптимальном способе предсказания целевого блока, которая отправлена от секции 41 определения способа предсказания. Секция 45 предсказания информации о режиме относительно кодирует информацию об оптимальном режиме предсказания целевого блока с учетом информации об оптимальном режиме L. В качестве способа выполнения относительного кодирования может быть приведен способ, который выполняет кодирование посредством нахождения значения разности между информацией о режиме, представляющей оптимальный способ предсказания для целевого блока, и информацией о режиме, представляющей оптимальный режим L. Однако также могут быть применены другие способы. Секция 45 предсказания информации о режиме отправляет полученную таким образом относительную информацию предсказания секции 25 статистического кодирования через линию L14.
Далее со ссылкой на фиг.6 описан способ определения способа формирования сигнала предсказания секции 15 определения способа формирования сигнала внутрикадрового предсказания. Сначала секция 42 формирования сигнала предсказания формирует девять сигналов внутрикадрового предсказания посредством упомянутого выше способа для целевого блока (этап S01). После этого секция 41 определения способа предсказания находит разность между изображением целевого блока и девятью сигналами предсказания (этап S02). Затем секция 41 определения способа предсказания определяет способ предсказания, который обеспечивает наименьшее значение разности, в качестве оптимального режима предсказания (этап S03). Однако секция 43 определения режима R определяет оптимальный способ предсказания режима R посредством упомянутого выше способа (этап S04). Поскольку определенный таким образом способ предсказания режима R определяется на основе ранее определенного режима, этот режим соответствует любому из девяти режимов. После этого секция 41 определения способа предсказания сравнивает способ предсказания режима R с оптимальным режимом предсказания, определенным на этапе S03, и решает, совпадают ли они (этап S05). В случаях когда способ предсказания режима R и оптимальный способ предсказания представляют собой одно и то же (этап S05; ДА), секция 41 определения способа предсказания выводит идентифицирующую информацию ‘0’, которая указывает, что способ предсказания режима R является способом предсказания, используемым при формировании сигнала внутрикадрового предсказания (этап S06). Однако в случаях когда оптимальный режим предсказания не совпадает со способом предсказания режима R (этап S05; НЕТ), секция 46 определения режима L определяет способ предсказания режима L посредством упомянутого выше способа (этап S07). Кроме того, секция 45 предсказания информации о режиме кодирует относительный способ предсказания, который является относительной информацией для оптимального режима предсказания, с учетом информации о способе предсказания режима L (этап S08). Наконец, секция 45 предсказания информации о режиме выдает относительную информацию предсказания (этап S09).
В описанном ранее устройстве 10 для кодирования изображений с предсказанием способы предсказания в режиме R и в режиме L получаются с использованием данных, обработанных в соответствии со смежной областью для повторно сформированных смежных областей, которые являются смежными с целевой областью, являющейся целью кодирования, оптимальный способ предсказания для формирования сигнала внутрикадрового предсказания для целевой области кодируется на основе способа предсказания, и разностный сигнал целевой области кодируется с использованием сигнала внутрикадрового предсказания. Имеется высокая вероятность того, что способы предсказания в режиме R и в режиме L, которые получаются для смежных областей с использованием данных, соответствующих повторно сформированным смежным областям, являются близкими к оптимальному способу предсказания для целевой области. Следовательно, посредством кодирования информации о режиме предсказания целевой области относительным образом с использованием способов предсказания в режиме R и в режиме L уменьшается количество битов для кодирования информации о режиме, идентифицирующей способ предсказания, и увеличивается общая эффективность кодирования.
В частности, в случаях когда способ предсказания определяется по предопределенному стандарту оценки с использованием трех или более элементов информации о способе предсказания, которые каждый из множества блоков, смежных с целевым блоком, имеет согласно режиму R, имеется высокая вероятность, что способ предсказания будет близок к первоначальному способу предсказания целевой области. Поэтому поскольку этот способ предсказания может быть взят как способ предсказания целевой области, нет необходимости передавать информацию о режиме для идентификации способа предсказания (например, информацию, идентифицирующую девять режимов, показанных на фиг.14(b)). В результате количество битов, соответствующих информации о режиме, может быть уменьшено посредством простой обработки.
Кроме того, в случаях когда способ предсказания, который был определен из девяти способов предсказания, для областей, смежных с целевым блоком, используется согласно режиму L, имеется высокая корреляция со способом предсказания целевого блока, и информация о режиме целевого блока может быть более эффективно закодирована на основе способа предсказания. В результате увеличивается эффект сокращения количества битов, относящихся к информации о режиме. Кроме того, в случаях когда области, смежные с целевым блоком, подвергаются кодированию с межкадровым предсказанием, даже когда смежные блоки не имеют информации внутрикадрового предсказания, информация о способе предсказания, определенном из множества способов предсказания для областей, смежных с целевым блоком, или способ предсказания, которым обладает каждый из трех или более смежных блоков, используется для определения способа предсказания по заранее определенному стандарту оценки. Тогда информация предсказания целевой области кодируется на основе определенного способа предсказания. В результате информация о способе предсказания целевого блока может быть закодирована более эффективно.
(Устройство для декодирования изображений с предсказанием)
Фиг.7 является блок-схемой, которая показывает структуру устройства для декодирования изображений с предсказанием в соответствии с предпочтительным вариантом воплощения настоящего изобретения. Устройство 50 для декодирования изображений с предсказанием, показанное на фиг.7, содержит вход 58, секцию 51 анализа данных (средство восстановления), секцию 52 обратного квантования (средство восстановления), секцию 53 обратного преобразования (средство восстановления), сумматор 54 (средство декодирования изображений), секцию 55 формирования сигнала предсказания (средство формирования сигнала предсказания), память 56 кадров, секцию 57 извлечения способа предсказания и выход 59. Ниже описаны соответствующие составные элементы устройства 50 декодирования изображений с предсказанием.
Секция 51 анализа данных принимает от входа 58 сжатые данные изображения, которые были сжаты и закодированы, и извлекает разностный сигнал целевого блока, информацию о способе предсказания, параметры квантования и информацию о движении (в случае межкадрового предсказания) из сжатых данных изображения. Сжатые данные изображения содержат разностный сигнал, полученный посредством выполнения кодирования с предсказанием над целевым блоком, полученным в результате разделения изображения одного кадра на множество блоков, представляющим собой цель, и информацию о режиме предсказания. Секция 51 анализа данных выдает извлеченный разностный сигнал и параметры квантования на секцию 52 обратного квантования через линию L42 и линию L44b и выдает информацию о движении и идентифицирующую информацию о режиме R и информацию об относительном предсказании в режиме L, содержащуюся в информации о режиме, на секцию 57 извлечения способа предсказания через линию L51 и линию L52. В случаях когда идентифицирующая информация о режиме R представляет собой ‘0’, это указывает, что в качестве способа предсказания используется режим R, а случай, когда идентифицирующая информация о режиме R представляет собой ‘1’, указывает, что в качестве способа предсказания используется режим L. Относительная информация предсказания указывает относительное значение для информации о способе предсказания в случае режима L.
Секция 52 обратного квантования подвергает разностный сигнал целевого блока обратному квантованию на основе параметров квантования. Секция 52 обратного квантования выдает разностный сигнал, над которым выполнено обратное квантование, на секцию 53 обратного преобразования через линию L43.
Секция 53 обратного преобразования выполняет обратное дискретное косинусное преобразование над разностным сигналом, принятым от секции 52 обратного квантования, для восстановления повторно сформированного разностного сигнала. Секция 53 обратного преобразования выдает таким образом восстановленный повторно сформированный разностный сигнал на сумматор 54 через линию L44.
Секция 55 формирования сигнала предсказания извлекает сигнал опорного изображения из памяти 56 кадров на основе способа предсказания, полученного секцией 57 извлечения способа предсказания (подробности которого предоставлены далее), и формирует сигнал предсказания. Секция 55 формирования сигнала предсказания отправляет сигнал предсказания на сумматор 54 через линию L45, и сумматор 54 восстанавливает сигнал пикселей целевого блока посредством объединения повторно сформированного разностного сигнала, восстановленного посредством секции 53 обратного преобразования, с сигналом предсказания, сохраняет сигнал пикселей целевого блока в памяти 56 кадров и в то же время выдает его на выход 59 через линию L48.
Ниже подробно описана структура секции 57 извлечения способа предсказания. Фиг.8 является блок-схемой, которая показывает структуру секции 57 извлечения способа предсказания. Как показано на фиг.8, секция 57 извлечения способа предсказания содержит переключатель 61, секцию 64 определения режима R (первое средство определения способа предсказания), секцию 65 хранения, секцию 66 определения режима L (первое средство определения способа предсказания) и секцию 67 формирования информации о режиме (средство получения способа предсказания).
Переключатель 61 переключает соединение между секцией 55 формирования сигнала предсказания и разъемами 62 и 63 в соответствии с идентифицирующей информацией режима R, которая принимается через линию L51. А именно, переключатель 61 соединяется с выводом 62, когда идентифицирующая информация представляет собой ‘0’, и соединяется с выводом 63, когда идентифицирующая информация представляет собой ‘1’.
Секция 64 определения режима R получает один способ предсказания по предопределенному стандарту оценки для повторно сформированных смежных областей на основе информации о режиме предсказания, которая определяется в соответствии со смежными областями. Другими словами, секция 64 определения режима R извлекает три или более элементов информации о режиме предсказания для ранее обработанных блоков, которые хранятся в секции 65 хранения, и определяет один способ предсказания посредством предопределенного способа. Способ определения способа предсказания режима R является тем же самым, как и для секции 43 определения режима R устройства 10 для кодирования изображений с предсказанием. Таким образом, секция 64 определения режима R определяет способ предсказания, который соответствует информации о режиме с самым высоким совпадением среди элементов информации о режиме внутрикадрового предсказания, которые блоки 302a-302f и 303a-303c (фиг.3) имеют в качестве способа предсказания в режиме R. Секция 64 определения режима R также может определить способ предсказания в режиме R на основе информации о режиме трех или более блоков посредством другого способа. Секция 64 определения режима R отправляет информацию о способе предсказания режима R секции 55 формирования сигнала предсказания через линию L50 в случаях, когда переключатель 61 соединен с разъемом 62.
Секция 67 формирования информации о режиме формирует информацию об оптимальном способе предсказания в случаях, когда переключатель 61 соединен с разъемом 63 и используется режим L, и отправляет информацию об оптимальном способе предсказания секции 55 формирования сигнала предсказания. Вслед за этим секция 67 формирования информации о режиме получает информацию, относящуюся к оптимальному способу предсказания, использованному при формировании сигнала предсказания, на основе относительной информации предсказания, информации о способе предсказания, принятой через линию L52, и информации о способе предсказания в режиме L, которая принята от секции 66 определения режима L. Другими словами, секция 67 формирования информации о режиме формирует информацию об оптимальном режиме предсказания посредством добавления относительной информации предсказания, относящейся к способу предсказания целевого блока, к информации о способе предсказания в режиме L.
Секция 66 определения режима L определяет режим предсказания из предопределенного множества режимов предсказания для областей, которые являются смежными с целевым блоком, и выдает режим предсказания на секцию 67 формирования информации о режиме через линию L66 в качестве способа предсказания в режиме L. Способ определения способа предсказания в секции 66 определения режима L является тем же самым, как и для секции 46 определения режима L устройства 10 для кодирования изображений с предсказанием.
Далее со ссылкой на фиг.9 описан процесс извлечения способа формирования сигнала предсказания секции 57 извлечения способа предсказания. Сначала идентифицирующая информация о режиме R, извлеченная из сжатых данных изображения, вводится из секции 51 анализа данных в секцию 57 извлечения способа предсказания (этап S21). Переключатель 61 решает, указывает ли информация режим R (этап S22). В случаях когда информация указывает режим R (этап S22; ДА), секция 64 определения режима R определяет способ предсказания в режиме R в соответствии со способом определения режима R и выдает способ предсказания режима R на секцию 55 формирования сигнала предсказания в качестве оптимального режима предсказания (этап S23). Однако в случаях когда информация не указывает режим R (этап S22; НЕТ), относительная информация предсказания, извлеченная из сжатых данных изображения, вводится в секцию 67 формирования информации о режиме (этап S24). После этого секция 66 определения режима L определяет способ предсказания в режиме L в соответствии со способом определения режима L (этап S25). Затем секция 67 формирования информации о режиме определяет оптимальный режим предсказания посредством сложения информации о режиме предсказания в режиме L и относительной информации предсказания (этап S26). После этого секция 67 формирования информации о режиме выдает определенную таким образом информацию об оптимальном способе предсказания на секцию 55 формирования сигнала предсказания (этап S27).
В соответствии с описанным выше устройством 50 декодирования изображений с предсказанием способы предсказания в режиме R и в режиме L получают для повторно сформированных областей, которые являются смежными с целевой областью, являющейся целью декодирования, с использованием данных, которые были обработаны в соответствии со смежными областями, и оптимальный способ предсказания для целевой области получают на основе способов предсказания в режиме R и в режиме L и относительного способа предсказания, посредством чего формируется сигнал внутрикадрового предсказания, и этот сигнал внутрикадрового предсказания используется для восстановления сигнала пикселей целевой области из повторно сформированного разностного сигнала, полученного посредством восстановления разностного сигнала целевой области. Имеется высокая вероятность, что способ предсказания, полученный для смежных областей с использованием данных, соответствующих повторно сформированным смежным областям, является близким к оптимальному способу предсказания целевой области. Следовательно, при использовании этого способа предсказания для восстановления информации о режиме предсказания целевой области уменьшается количество битов для кодирования информации о режиме, идентифицирующей способ предсказания (относительный способ предсказания), и улучшается общая эффективность декодирования.
В частности, в случаях когда способ предсказания определяется по предопределенному стандарту оценки с использованием трех или более элементов информации о способе предсказания, которые каждый из множества блоков, смежных с целевым блоком, имеет согласно режиму R, имеется высокая вероятность, что способ предсказания будет близок к первоначальному способу предсказания целевой области. Поэтому поскольку этот способ предсказания может быть взят как способ предсказания целевой области, нет необходимости принимать информацию о режиме для идентификации способа предсказания (например, информацию, идентифицирующую девять режимов, показанных на фиг.14(b)). В результате объем передачи, относящейся к информации о режиме, может быть уменьшен посредством простой обработки.
Кроме того, в случаях когда способ предсказания, который был определен из девяти способов предсказания, для областей, смежных с целевым блоком, используется согласно режиму L, имеется высокая корреляция со способом предсказания целевого блока, и информация о режиме целевого блока может быть более эффективно закодирована на основе способа предсказания. В результате увеличивается эффект сокращения количества битов, относящихся к информации о режиме. Кроме того, в случаях когда области, смежные с целевым блоком, подвергаются кодированию с межкадровым предсказанием, даже когда смежные блоки не имеют информации внутрикадрового предсказания, информация о способе предсказания, определенном из множества способов предсказания для областей, смежных с целевым блоком, или способ предсказания, которым обладает каждый из трех или более смежных блоков, используется для определения способа предсказания по предопределенному стандарту оценки. Тогда информация предсказания целевой области кодируется на основе определенного способа предсказания. В результате информация о способе предсказания целевого блока может быть закодирована более эффективно.
Далее описаны программа для кодирования изображений с предсказанием и программа для декодирования изображений с предсказанием, которые заставляют компьютер работать как устройство 10 для кодирования изображений с предсказанием и устройство 50 для декодирования изображений с предсказанием.
Фиг.12 показывает структуру аппаратного обеспечения компьютера для выполнения программы для кодирования изображений с предсказанием и программы для декодирования изображений с предсказанием, которые записаны на носителе записи, и фиг.13 является видом в перспективе компьютера для выполнения программы для кодирования изображений с предсказанием и программы для декодирования изображений с предсказанием, хранящихся на носителе записи. Компьютер, показанный на фиг.12 и 13, не ограничен компьютером с узким определением, таким как персональный компьютер, и включает в себя проигрыватели цифровых универсальных дисков (DVD), телеприставки, сотовые телефоны и т.д., которые содержат центральный процессор и выполняют обработку, управление и т.д. посредством программного обеспечения. Компьютер 530 содержит устройство 512 чтения, такое как устройство накопителя на гибких магнитных дисках, устройство накопителя на компакт-дисках (CD-ROM) или устройство накопителя на цифровых универсальных дисках (DVD), рабочую память 514 (ОЗУ; RAM), в которой располагается операционная система, память 516 для хранения программ, сохраненных на носителе 510 записи, устройство 518 отображения, такое как дисплей, мышь 520 и клавиатуру 522, которые являются устройствами ввода, устройство 524 связи для отправки и приема данных и т.д. и центральный процессор 526 для управления выполнением программ. Когда носитель 510 записи вставляется в устройство 512 чтения, компьютер 530 может получить доступ к программе для кодирования изображений с предсказанием и программе для декодирования изображений с предсказанием, которые хранятся на носителе 510 записи, через устройство 512 чтения, и в результате выполнения программы для кодирования изображений с предсказанием может работать как устройство 10 для кодирования изображений с предсказанием настоящего изобретения, а в результате выполнения программы для декодирования изображений с предсказанием может работать как устройство 50 декодирования изображений с предсказанием настоящего изобретения.
Настоящее изобретение не ограничено упомянутыми выше вариантами воплощения. Например, устройство 10 для кодирования изображений с предсказанием может переключаться в элементах блоков между режимом R и режимом L, или переключение может быть выполнено с элементами изображений или элементами последовательностей в качестве элементов переключения. Кроме того, либо режим R, либо режим L может использоваться без выполнения переключения. Кроме того, секция 43 определения режима R и секция 46 определения режима L на фиг.2 также могут поменяться местами, или секция 43 определения режима R и секция 46 определения режима L могут быть переведены в один и тот же режим R или режим L.
Кроме того, хотя устройство 50 декодирования изображений с предсказанием переключается в элементах блоков между режимом R и режимом L, переключение также может выполняться с элементами изображений или элементами последовательностей в качестве элементов переключения. Кроме того, либо режим R, либо режим L также может использоваться без выполнения переключения. В этом случае, поскольку нет информации идентификации режима R, может использоваться любой из функциональных блоков, заключенных в пунктирные линии на фиг.8. Кроме того, секция 64 определения режима R и секция 66 определения режима L на фиг.8 также могут поменяться местами, или секция 64 определения режима R и секция 66 определения режима L также могут быть помещены в один и тот же режим R или режим L.
Кроме того, секция 115 определения способа формирования сигнала внутрикадрового предсказания, которая показана на фиг.10, может использоваться вместо секции 15 определения способа формирования сигнала внутрикадрового предсказания, показанной на фиг.2, и секция 157 извлечения способа предсказания, показанная на фиг.11, также может использоваться вместо секции 57 извлечения способа предсказания, которая показана на фиг.8.
Отличие секции 115 определения способа формирования сигнала внутрикадрового предсказания, показанной на фиг.10, от секции 15 определения способа формирования сигнала внутрикадрового предсказания заключается в обеспечении секции 143 определения режима F вместо секции 43 определения режима R. Секция 143 определения режима F определяет способ предсказания, который возникает наиболее часто для целого кадра. А именно, после сохранения информации о способе предсказания для каждого блока в секции 44 хранения через линию L34 способы предсказания соответствующих блоков считываются из секции 44 хранения, получают большинство способов предсказания среди способов предсказания, и способ предсказания устанавливается в режиме F. Режим предсказания, сохраненный в секции 44 хранения, также может являться информацией предсказания, относящейся к предыдущему по времени изображению, или может являться режимом предсказания, относящимся к изображению текущей цели обработки. Секция 143 определения режима F отправляет таким образом определенную информацию, относящуюся к способу предсказания в режиме F, к секции 41 определения способа предсказания через линию L31.
Отличие секции 157 извлечения способа предсказания, показанной на фиг.11, от секции 57 извлечения способа предсказания заключается в обеспечении секции 164 хранения информации о режиме F вместо секции 64 определения режима R и секции 65 хранения. Секция 164 хранения информации о режиме F принимает ввод информации о способе предсказания в режиме F через линию L111 и сохраняет эту информацию. Переключатель 161 переключает соединение между выходом 163 на секции 67 формирования информации о режиме, выходом 162 на секции 164 хранения информации о режиме F и секции 55 формирования сигнала предсказания посредством управляющего сигнала через линию L51. Секция 164 хранения информации о режиме F выдает информацию о способе предсказания в режиме F на секцию 55 формирования сигнала предсказания через линию L50.
Промышленная применимость
Настоящее изобретение делает возможным практическое использование устройства для кодирования изображений с предсказанием, устройства для декодирования изображений с предсказанием, способа кодирования изображений с предсказанием, способа декодирования изображений с предсказанием, программы для кодирования изображений с предсказанием и программы для декодирования изображений с предсказанием и делает возможным эффективное кодирование или декодирование посредством сокращения информации о режиме предсказания для формирования сигнала внутрикадрового предсказания в пиксельном представлении.
Формула изобретения
1. Устройство кодирования изображений с предсказанием, которое делит изображение на множество областей, формирует сигнал внутрикадрового предсказания в отношении сигнала пикселей, содержащихся в целевой области, которая является целью обработки среди упомянутых областей, и кодирует разностный сигнал между сигналом пикселей целевой области и сигналом внутрикадрового предсказания, причем устройство для кодирования изображений с предсказанием содержит: средство определения первого способа предсказания, которое на основе обработанных данных, соответствующих смежным областям, содержащим повторно сформированные сигналы пикселей и смежным с целевой областью, получает способ предсказания, который формирует сигнал внутрикадрового предсказания, имеющий сильную корреляцию с сигналами пикселей смежных областей, из заранее определенного множества способов предсказания для формирования сигнала внутрикадрового предсказания и определяет способ предсказания как первый способ предсказания в отношении сигнала пикселей, содержащихся в целевой области; средство формирования сигнала предсказания, которое формирует сигнал внутрикадрового предсказания на основе первого способа предсказания, определенного с помощью средства определения первого способа предсказания; и средство кодирования изображения, которое кодирует разностный сигнал сигнала пикселей целевой области на основе сигнала внутрикадрового предсказания, сформированного с помощью средства формирования сигнала предсказания.
2. Устройство кодирования изображений с предсказанием по п.1, в котором средство определения первого способа предсказания формирует множество сигналов предсказания для смежных областей, соответствующих заранее определенному множеству способов предсказания, и определяет первый способ предсказания из множества способов предсказания в соответствии с заранее определенным стандартом оценки.
3. Устройство кодирования изображений с предсказанием по п.1, в котором средство определения первого способа предсказания использует три или более способов предсказания, которые ранее определены в соответствии со смежными областями, для определения первого способа предсказания для смежных областей в соответствии с заранее определенным стандартом оценки.
4. Устройство кодирования изображений с предсказанием, которое делит изображение на множество областей, формирует сигнал внутрикадрового предсказания для сигнала пикселей, содержащихся в целевой области, которая является целью обработки среди упомянутых областей, и кодирует разностный сигнал между сигналом пикселей целевой области и сигналом внутрикадрового предсказания, причем устройство кодирования изображений с предсказанием содержит: средство определения первого способа предсказания, которое на основе обработанных данных, соответствующих смежным областям, содержащим повторно сформированные сигналы пикселей и смежным с целевой областью, получает способ предсказания, который формирует сигнал внутрикадрового предсказания, имеющий сильную корреляцию с сигналами пикселей упомянутых смежных областей, из заранее определенного множества способов предсказания для формирования сигнала внутрикадрового предсказания и определяет этот способ предсказания как первый способ предсказания; средство определения второго способа предсказания, которое формирует множество сигналов предсказания, соответствующих заранее определенному множеству способов предсказания для целевой области, и определяет второй способ предсказания, который является подходящим для целевой области, из упомянутого множества способов предсказания в соответствии с заранее определенным стандартом оценки; средство формирования сигнала предсказания, которое формирует сигнал внутрикадрового предсказания на основе второго способа предсказания, определенного с помощью средства определения второго способа предсказания; средство кодирования информации о режиме, которое кодирует второй способ предсказания посредством использования первого способа предсказания в качестве опорного; и средство кодирования изображения, которое кодирует разностный сигнал сигнала пикселей целевой области на основе сигнала внутрикадрового предсказания, сформированного с помощью средства формирования сигнала предсказания.
5. Устройство декодирования изображений с предсказанием, которое делит изображение на множество областей, формирует сигнал внутрикадрового предсказания для сигнала пикселей, содержащихся в целевой области, которая является целью обработки среди упомянутых областей, и восстанавливает сигнал пикселей целевой области посредством комбинирования разностного сигнала, относящегося к целевой области, содержащегося в сжатых данных изображения, и сигнала внутрикадрового предсказания, причем устройство декодирования изображений с предсказанием содержит: средство определения первого способа предсказания, которое на основе обработанных данных, соответствующих смежным областям, содержащим повторно сформированные сигналы пикселей и смежным с целевой областью, получает способ предсказания, который формирует сигнал внутрикадрового предсказания, имеющий сильную корреляцию с сигналами пикселей смежных областей, из заранее определенного множества способов предсказания для формирования сигнала внутрикадрового предсказания и определяет способ предсказания как первый способ предсказания в отношении сигнала пикселей, содержащихся в целевой области; средство формирования сигнала предсказания, которое формирует сигнал внутрикадрового предсказания на основе первого способа предсказания, определенного с помощью средства определения первого способа предсказания; средство восстановления, которое извлекает разностный сигнал, относящийся к целевой области, из сжатых данных изображения для восстановления повторно сформированного разностного сигнала; и средство восстановления изображения, которое восстанавливает сигнал пикселей целевой области посредством объединения сигнала внутрикадрового предсказания и повторно сформированного разностного сигнала, восстановленного с помощью средства восстановления.
6. Устройство для декодирования изображений с предсказанием по п.5, в котором средство определения первого способа предсказания формирует множество сигналов предсказания для смежных областей, соответствующих заранее определенному множеству способов предсказания, и определяет первый способ предсказания из множества способов предсказания в соответствии с заранее определенным стандартом оценки.
7. Устройство для декодирования изображений с предсказанием по п.5, в котором средство определения первого способа предсказания использует три или более способов предсказания, которые ранее определены в соответствии со смежными областями, для определения первого способа предсказания для смежных областей в соответствии с заранее определенным стандартом оценки.
8. Устройство декодирования изображений с предсказанием, которое делит изображение на множество областей, формирует сигнал внутрикадрового предсказания для сигнала пикселей, содержащихся в целевой области, которая является целью обработки среди упомянутых областей, и восстанавливает сигнал пикселей целевой области посредством комбинирования разностного сигнала, относящегося к целевой области, содержащегося в сжатых данных изображения, и сигнала внутрикадрового предсказания, при этом устройство декодирования изображений с предсказанием содержит: средство определения первого способа предсказания, которое на основе обработанных данных, соответствующих смежным областям, содержащим повторно сформированные сигналы пикселей и смежным с целевой областью, получает способ предсказания, который формирует сигнал внутрикадрового предсказания, имеющий сильную корреляцию с сигналами пикселей смежных областей, из заранее определенного множества способов предсказания для формирования сигнала внутрикадрового предсказания и определяет этот способ предсказания как первый способ предсказания; средство получения способа предсказания, которое извлекает информацию, идентифицирующую способ предсказания, относящийся к целевой области, из сжатых данных изображения и получает второй способ предсказания для целевой области на основе первого способа предсказания в качестве опорного и извлеченной информации; средство формирования сигнала предсказания, которое формирует сигнал внутрикадрового предсказания на основе второго способа предсказания, полученного с помощью средства получения способа предсказания; средство восстановления, которое извлекает разностный сигнал, относящийся к целевой области, из сжатых данных изображения, для восстановления повторно сформированного разностного сигнала; и средство восстановления изображения, которое восстанавливает сигнал пикселей целевой области посредством объединения сигнала внутрикадрового предсказания и повторно сформированного разностного сигнала, восстановленного с помощью средства восстановления.
9. Способ кодирования изображений с предсказанием, который делит изображение на множество областей, формирует сигнал внутрикадрового предсказания для сигнала пикселей, содержащихся в целевой области, которая является целью обработки среди упомянутых областей, и кодирует разностный сигнал между сигналом пикселей целевой области и сигналом внутрикадрового предсказания, при этом способ кодирования изображений с предсказанием содержит: этап определения первого способа предсказания, на котором средство определения первого способа предсказания на основе обработанных данных, соответствующих смежным областям, содержащим повторно сформированные сигналы пикселей и смежным с целевой областью, получает способ предсказания, который формирует сигнал внутрикадрового предсказания, имеющий сильную корреляцию с сигналами пикселей смежных областей, из заранее определенного множества способов предсказания, для формирования сигнала внутрикадрового предсказания и определяет этот способ предсказания как первый способ предсказания в отношении сигнала пикселей, содержащихся в целевой области; этап формирования сигнала предсказания, на котором средство формирования сигнала предсказания формирует сигнал внутрикадрового предсказания на основе первого способа предсказания, определенного на этапе определения первого способа предсказания; и этап кодирования изображения, на котором средство кодирования изображения кодирует разностный сигнал сигнала пикселей целевой области на основе сигнала внутрикадрового предсказания, сформированного на этапе формирования сигнала предсказания.
10. Способ кодирования изображений с предсказанием, который делит изображение на множество областей, формирует сигнал внутрикадрового предсказания в отношении сигнала пикселей, содержащихся в целевой области, которая является целью обработки среди упомянутых областей, и кодирует разностный сигнал между сигналом пикселей целевой области и сигналом внутрикадрового предсказания, причем способ кодирования изображений с предсказанием содержит: этап определения первого способа предсказания, на котором средство определения первого способа предсказания на основе обработанных данных, соответствующих смежным областям, содержащим повторно сформированные сигналы пикселей и смежным с целевой областью, получает способ предсказания, который формирует сигнал внутрикадрового предсказания, имеющий сильную корреляцию с сигналами пикселей смежных областей, из заранее определенного множества способов предсказания, для формирования сигнала внутрикадрового предсказания и определяет этот способ предсказания как первый способ предсказания; этап определения второго способа предсказания, на котором средство определения второго способа предсказания формирует множество сигналов предсказания, соответствующих заранее определенному множеству способов предсказания для целевой области, и определяет второй способ предсказания, который является подходящим для целевой области, из множества способов предсказания в соответствии с заранее определенным стандартом оценки; этап формирования сигнала предсказания, на котором средство формирования сигнала предсказания формирует сигнал внутрикадрового предсказания на основе второго способа предсказания, определенного на этапе определения второго способа предсказания; этап кодирования информации о режиме, на котором средство кодирования информации о режиме кодирует второй способ предсказания, используя в качестве опорного первый способ предсказания; и этап кодирования изображения, на котором средство кодирования изображения кодирует разностный сигнал сигнала пикселей целевой области на основе сигнала внутрикадрового предсказания, сформированного с помощью средства формирования сигнала предсказания.
11. Способ декодирования изображений с предсказанием, который делит изображение на множество областей, формирует сигнал внутрикадрового предсказания для сигнала пикселей, содержащихся в целевой области, которая является целью обработки среди упомянутых областей, и восстанавливает сигнал пикселей целевой области посредством объединения разностного сигнала, относящегося к целевой области, содержащегося в сжатых данных изображения, и сигнала внутрикадрового предсказания, при этом способ декодирования изображений с предсказанием содержит: этап определения первого способа предсказания, на котором средство определения первого способа предсказания на основе обработанных данных, соответствующих смежным областям, содержащим повторно сформированные сигналы пикселей и смежным с целевой областью, получает способ предсказания, который формирует сигнал внутрикадрового предсказания, имеющий сильную корреляцию с сигналами пикселей смежных областей, из заранее определенного множества способов предсказания, для формирования сигнала внутрикадрового предсказания и определяет этот способ предсказания как первый способ предсказания в отношении сигнала пикселей, содержащихся в целевой области; этап формирования сигнала предсказания, на котором средство формирования сигнала предсказания формирует сигнал внутрикадрового предсказания на основе первого способа предсказания, определенного на этапе определения первого способа предсказания; этап восстановления, на котором средство восстановления извлекает разностный сигнал, относящийся к целевой области, из сжатых данных изображения для восстановления повторно сформированного разностного сигнала; и этап восстановления изображения, на котором средство восстановления изображения восстанавливает сигнал пикселей целевой области посредством комбинирования сигнала внутрикадрового предсказания и повторно сформированного разностного сигнала, восстановленного на этапе восстановления.
12. Способ декодирования изображений с предсказанием, который делит изображение на множество областей, формирует сигнал внутрикадрового предсказания для сигнала пикселей, содержащихся в целевой области, которая является целью обработки среди упомянутых областей, и восстанавливает сигнал пикселей целевой области посредством комбинирования разностного сигнала, относящегося к целевой области, содержащегося в сжатых данных изображения, и сигнала внутрикадрового предсказания, причем способ декодирования изображений с предсказанием содержит: этап определения первого способа предсказания, на котором средство определения первого способа предсказания на основе обработанных данных, соответствующих смежным областям, содержащим повторно сформированные сигналы пикселей и смежным с целевой областью, получает способ предсказания, который формирует сигнал внутрикадрового предсказания, имеющий сильную корреляцию с сигналами пикселей смежных областей, из заранее определенного множества способов предсказания, для формирования сигнала внутрикадрового предсказания и определяет этот способ предсказания как первый способ предсказания; этап получения способа предсказания, на котором средство получения способа предсказания извлекает информацию, идентифицирующую способ предсказания, относящийся к целевой области, из сжатых данных изображения и получает второй способ предсказания для целевой области, используя в качестве опорного первый способ предсказания и извлеченную информацию; этап формирования сигнала предсказания, на котором средство формирования сигнала предсказания формирует сигнал внутрикадрового предсказания на основе второго способа предсказания, полученного на этапе получения способа предсказания; этап восстановления, на котором средство восстановления извлекает разностный сигнал, относящийся к целевой области, из сжатых данных изображения для восстановления повторно сформированного разностного сигнала; и этап восстановления изображения, на котором средство восстановления изображения восстанавливает сигнал пикселей целевой области посредством комбинирования сигнала внутрикадрового предсказания и повторно сформированного разностного сигнала, восстановленного с помощью средства восстановления.
13. Считываемый компьютером носитель, содержащий инструкции для кодирования изображений с предсказанием, причем инструкции делят изображение на множество областей, формируют сигнал внутрикадрового предсказания, для сигнала пикселей, содержащихся в целевой области, которая является целью обработки среди упомянутых областей, и кодируют разностный сигнал между сигналом пикселей целевой области и сигналом внутрикадрового предсказания, причем упомянутые инструкции заставляют компьютер работать в качестве: средства определения первого способа предсказания, которое на основе обработанных данных, соответствующих смежным областям, содержащим повторно сформированные сигналы пикселей и смежным с целевой областью, получает способ предсказания, который формирует сигнал внутрикадрового предсказания, имеющий сильную корреляцию с сигналами пикселей смежных областей, из заранее определенного множества способов предсказания для формирования сигнала внутрикадрового предсказания и определяет этот способ предсказания как первый способ предсказания в отношении сигнала пикселей, содержащихся в целевой области; средства формирования сигнала предсказания, которое формирует сигнал внутрикадрового предсказания на основе первого способа предсказания, определенного с помощью средства определения первого способа предсказания; и средства кодирования изображения, которое кодирует разностный сигнал сигнала пикселей целевой области на основе сигнала внутрикадрового предсказания, сформированного с помощью средства формирования сигнала предсказания.
14. Считываемый компьютером носитель, содержащий инструкции для кодирования изображений с предсказанием, причем инструкции делят изображение на множество областей, формируют сигнал внутрикадрового предсказания для сигнала пикселей, содержащихся в целевой области, которая является целью обработки среди упомянутых областей, и кодируют разностный сигнал между сигналом пикселей целевой области и сигналом внутрикадрового предсказания, при этом упомянутые инструкции заставляют компьютер работать в качестве: средства определения первого способа предсказания, которое на основе обработанных данных, соответствующих смежным областям, содержащим повторно сформированные сигналы пикселей и смежным с целевой областью, получает способ предсказания, который формирует сигнал внутрикадрового предсказания, имеющий сильную корреляцию с сигналами пикселей смежных областей из заранее определенного множества способов предсказания, для формирования сигнала внутрикадрового предсказания и определяет этот способ предсказания как первый способ предсказания; средства определения второго способа предсказания, которое формирует множество сигналов предсказания, соответствующих заранее определенному множеству способов предсказания для целевой области, и определяет второй способ предсказания, который является подходящим для целевой области, из множества способов предсказания в соответствии с заранее определенным стандартом оценки; средства формирования сигнала предсказания, которое формирует сигнал внутрикадрового предсказания на основе второго способа предсказания, определенного с помощью средства определения второго способа предсказания; средства кодирования информации о режиме, которое кодирует второй способ предсказания, используя в качестве опорного первый способ предсказания; и средства кодирования изображения, которое кодирует разностный сигнал сигнала пикселей целевой области на основе сигнала внутрикадрового предсказания, сформированного с помощью средства формирования сигнала предсказания.
15. Считываемый компьютером носитель, содержащий инструкции для декодирования изображений с предсказанием, причем инструкции делят изображение на множество областей, формируют сигнал внутрикадрового предсказания для сигнала пикселей, содержащихся в целевой области, которая является целью обработки среди упомянутых областей, и восстанавливают сигнал пикселей целевой области посредством комбинирования разностного сигнала, относящегося к целевой области, содержащегося в сжатых данных изображения, и сигнала внутрикадрового предсказания, причем упомянутые инструкции заставляют компьютер работать в качестве: средства определения первого способа предсказания, которое на основе обработанных данных, соответствующих смежным областям, содержащим повторно сформированные сигналы пикселей и смежным с целевой областью, получает способ предсказания, который формирует сигнал внутрикадрового предсказания, имеющий сильную корреляцию с сигналами пикселей смежных областей, из заранее определенного множества способов предсказания, для формирования сигнала внутрикадрового предсказания и определяет этот способ предсказания как первый способ предсказания в отношении сигнала пикселей, содержащихся в целевой области; средства формирования сигнала предсказания, которое формирует сигнал внутрикадрового предсказания на основе первого способа предсказания, определенного с помощью средства определения первого способа предсказания; средства восстановления, которое извлекает разностный сигнал, относящийся к целевой области, из сжатых данных изображения для восстановления повторно сформированного разностного сигнала; и средства восстановления изображения, которое восстанавливает сигнал пикселей целевой области посредством объединения сигнала внутрикадрового предсказания и повторно сформированного разностного сигнала, восстановленного с помощью средства восстановления.
16. Считываемый компьютером носитель, содержащий инструкции для декодирования изображений с предсказанием, причем инструкции делят изображение на множество областей, формируют сигнал внутрикадрового предсказания в отношении сигнала пикселей, содержащихся в целевой области, которая является целью обработки среди упомянутых областей, и восстанавливают сигнал пикселей целевой области посредством объединения разностного сигнала, относящегося к целевой области, содержащегося в сжатых данных изображения, и сигнала внутрикадрового предсказания, при этом упомянутые инструкции заставляют компьютер работать в качестве: средства определения первого способа предсказания, которое на основе обработанных данных, соответствующих смежным областям, содержащим повторно сформированные сигналы пикселей и смежным с целевой областью, получает способ предсказания, который формирует сигнал внутрикадрового предсказания, имеющий сильную корреляцию с сигналами пикселей смежных областей, из заранее определенного множества способов предсказания, для формирования сигнала внутрикадрового предсказания и определяет этот способ предсказания как первый способ предсказания; средства получения способа предсказания, которое извлекает информацию, идентифицирующую способ предсказания, относящийся к целевой области, из сжатых данных изображения и получает второй способ предсказания для целевой области, используя в качестве опорного первый способ предсказания и извлеченную информацию; средства формирования сигнала предсказания, которое формирует сигнал внутрикадрового предсказания на основе второго способа предсказания, полученного с помощью средства получения способа предсказания; средства восстановления, которое извлекает разностный сигнал, относящийся к целевой области, из сжатых данных изображения для восстановления повторно сформированного разностного сигнала; и средства восстановления изображения, которое восстанавливает сигнал пикселей целевой области посредством объединения сигнала внутрикадрового предсказания и повторно сформированного разностного сигнала, восстановленного с помощью средства восстановления.
РИСУНКИ
|
|