|
|
(21), (22) Заявка: 2006117356/09, 21.10.2004
(24) Дата начала отсчета срока действия патента:
21.10.2004
(30) Конвенционный приоритет:
21.10.2003 GB 0324597.4
(43) Дата публикации заявки: 27.11.2007
(46) Опубликовано: 10.04.2010
(56) Список документов, цитированных в отчете о поиске:
US 2003/191831 A1, 09.10.2003. RU 2173503 C2, 10.09.2001. US 5917537 A, 29.06.1999.
(85) Дата перевода заявки PCT на национальную фазу:
22.05.2006
(86) Заявка PCT:
IB 2004/003573 20041021
(87) Публикация PCT:
WO 2005/039108 20050428
Адрес для переписки:
129090, Москва, ул. Б.Спасская, 25, стр.3, ООО “Юридическая фирма Городисский и Партнеры”, пат.пов. Ю.Д.Кузнецову, рег. 595
|
(72) Автор(ы):
МАЙЕР Георг (FI), ХАУКА Тао (FI), ХИЕТАЛАХТИ Ханну (FI), ПОЙКСЕЛКА Микка (FI)
(73) Патентообладатель(и):
НОКИА КОРПОРЕЙШН (FI)
|
(54) СПОСОБ ОБРАБОТКИ ОТКАЗОВ В ПРЕДСТАВЛЕНИИ ОБСЛУЖИВАНИЯ
(57) Реферат:
Изобретение относится к системам связи. Заявлен способ обработки отказов в предоставлении обслуживания в сети связи, содержащей оборудование пользователя, первый элемент сети и обслуживающий элемент сети, причем способ включает в себя следующие этапы. Прием первого сообщения из оборудования пользователя в первом элементе сети. Передачу первого сообщения из первого элемента сети в обслуживающий элемент сети. Обнаружение того, что обслуживающий элемент сети вышел из строя, в первом элементе сети. Определение типа первого сообщения в первом элементе сети и в зависимости от типа первого сообщения передачу сообщения об ошибке, содержащего индикацию того, что обслуживающий элемент сети вышел из строя, из первого элемента сети в оборудование пользователя. Техническим результатом является преодоление необходимости перезапуска оборудования пользователя в разных ситуациях. 7 н. и 19 з.п. ф-лы, 5 ил.
УРОВЕНЬ ТЕХНИКИ
Область техники, к которой относится изобретение
Настоящее изобретение относится к системам связи, и в частности к управлению сеансами связи в IP-мультимедиа подсистеме.
Описание уровня техники
Система связи может расcматриваться как средство, которое обеспечивает возможность сеансов связи между двумя или большим количеством объектов, таких как оборудование пользователя и/или другие узлы, ассоциированные с системой связи. Сеансы связи могут поддерживать связь, например речевую связь, передачу данных, мультимедийную связь и так далее. Посредством сеанса связи оборудование пользователя может быть обеспечено, например, двухсторонним телефонным вызовом или многоканальным групповым вызовом. Посредством сеанса связи оборудование пользователя может быть обеспечено также соединением с объектом, обеспечивающим приложение, например, с сервером приложений (AS, СП), соответственно обеспечивая для пользователя возможность служб, обеспечиваемых сервером приложений.
Система связи, обычно, функционирует в соответствии с заданным стандартом или спецификацией. Стандарт или спецификация устанавливает, какие действия разрешены для различных объектов, ассоциированных с системой связи, и как это должно достигаться. Например, стандарт или спецификация может определять, обеспечен ли пользователь, или более точно, оборудование пользователя службой коммутации каналов и/или службой коммутации пакетов. Могут быть определены также параметры и/или протоколы связи, используемые для соединения. Другими словами, для обеспечения возможности связи посредством системы требуется, чтобы был определен конкретный набор “правил”, на которых может быть основана связь.
Известны системы связи, обеспечивающие беспроводной обмен данными для оборудования пользователя. Возможным вариантом систем беспроводного обмена данными является наземная сеть мобильной связи общего пользования (PLMN, НСМО). Другим возможным вариантом является система мобильной связи, которая основана, по меньшей мере частично, на использовании спутников связи. Беспроводной обмен данными может быть обеспечен также посредством других средств, например, посредством локальных сетей беспроводного обмена данными радиосвязи (WLAN, ЛСР). Обмен данными по беспроводному интерфейсу между оборудованием пользователя и элементами сети связи может основываться на соответствующем протоколе связи. Управление функционированием устройства станции системы связи и другого устройства, необходимого для связи, может осуществляться одним или несколькими объектами управления. Различные объекты управления могут быть взаимосвязаны. Могут быть обеспечены также один или большее количество узлов межсетевого интерфейса для соединения сети связи с другими сетями. Например, сеть мобильной связи может быть соединена с сетями связи, такими как сети передачи данных, основанные на IP (Интернет-протоколе) и/или другие сети передачи данных с коммутацией пакетов.
Возможным вариантом служб, которые могут быть предложены для пользователей системы связи, являются так называемые мультимедийные службы. Возможным вариантом систем связи, обеспеченных возможностью предложения мультимедийных служб, является мультимедийная сеть связи, основанная на Интернет-протоколе (IP). Функциональные возможности IP-Мультимедиа (IM, ИМ) могут быть обеспечены посредством подсистемы базовой сети IP-мультимедиа (CN, БС), в сокращении подсистемы IP-мультимедиа (IMS, ИМП). IMS содержит различные объекты сети для обеспечения мультимедийных услуг.
Проект партнерства по сетям связи третьего поколения (3GPP) определил использование Обобщенных услуг пакетной радиопередачи (GPRS) в качестве сети доступа IP-связности для обеспечения служб IMS, GPRS здесь приводится в качестве возможного варианта, не предназначенного для наложения ограничений, возможной сети доступа IP-связности, обеспечивающей возможность мультимедийных служб. Проект партнерства по сетям связи третьего поколения (3GPP) также определил опорную архитектуру для сетей связи третьего поколения (3G), которые должны обеспечивать пользователей оборудования пользователя доступом к мультимедийным службам.
IP-мультимедийная подсистема поддерживает Протокол инициирования сеанса связи (SIP), который разработан Рабочей группой проектирования Интернет (IETF) в RFC 3261. Протокол инициирования сеанса связи (SIP) является протоколом управления прикладного уровня для создания, обновления и завершения сеансов связи с одним или большим количеством участников (оконечных точек).
Перед тем как оборудование пользователя сможет осуществить связь с IP-мультимедийной подсистемой, должна быть выполнена процедура подсоединения к GPRS, и должен быть установлен канал связи, известный, как контекст Протокола пакетной передачи данных (PDP, ППД) для сигнализации SIP. Контекст PDP устанавливают для GGSN в домашней или гостевой сети. Контекст PDP должен обеспечить оборудование пользователя соответствующим IP-адресом. Тогда этот адрес может служить в качестве ведущего адреса в продолжительности контекста PDP. Контекст PDP, где выполняется сигнализация PDP, должен быть действительным, пока затребованы службы из IP-мультимедиа подсистемы. Это требование не ограничено доступом GPRS и контекстами PDP, но может быть применено также к другим видам систем доступа и каналов связи.
Системы связи разрабатывались в направлении, в котором различные функции сети обрабатываются соответствующими объектами контроллера. Пользователь может осуществлять доступ к службам через сеть передачи данных через цепочку контроллеров. Эти контроллеры, обычно, обеспечивают посредством серверов. Спецификации IMS определяют различные виды серверов SIP, через которые можно осуществить доступ к службам. Указанные контроллеры обеспечивают такие функции, как функции управления сеансом вызова (CSCF, ФУСВ). Следует понимать, что функции CSCF могут быть определены также, как функции управления состоянием вызова.
Функции сеанса вызова могут быть разделены на различные категории, такие как функция прокси-сервера управления вызовами и сеансами (P-CSCF), функция сервера управления запросами вызова и сеансов (I-CSCF) и функция сервера управления сеансами вызовами (S-CSCF). Для того, чтобы иметь возможность запрашивать службу из системы связи, пользователь должен быть зарегистрирован в функции управления сеансами и вызовами (S-CSCF). Функция прокси-сервера управления сеансами вызовами (P-CSCF), в свою очередь, предназначена для осуществления посредничества в обмене данными между пользователем и функцией управления сеансами и вызовами (S-CSCF), в которой зарегистрирован пользователь. Другими словами, после регистрации в сети передачи данных IMS пользователь имеет назначенного регистратора (S-CSCF) и внешний прокси-сервер (обычно, P-CSCF). Любое действие пользователя проходит через указанные объекты контроллера сети передачи данных.
Однако, существуют моменты времени, когда сервер функции управления, такой как S-CSCF или P-CFCS, выходит из строя. В некоторых случаях, подобно случаю отказа или обновления программного обеспечения, вероятно, сервер S-CSCF или P-CSCF должен быть отключен.
Тогда все пользователи, подсоединенные к местной сети с использованием указанных серверов, могут почувствовать нарушение связи и лишатся возможности изменять свои требуемые объемы информационного обмена. Обычно, связь может быть возобновлена при перезапуске оборудования пользователя. Это необходимо, так как носитель информации будет сброшен и должен быть установлен повторно. Также пользователи могут быть не осведомлены о том, что функция контроллера была или должна быть выключена, и, следовательно, не могут самостоятельно принять решение о инициировании процедур восстановления.
Для преодоления проблемы необходимости перезапуска оборудования пользователя в каждой ситуации более простое решение должно преодолеть некоторые практические проблемы. Во-первых, идентификация ошибки и местоположения сервера, вышедшего из строя. Во-вторых, является ли сервер, вышедший из строя, сервером S-CSCF, как I-CSCF выбирает другую S-CSCF? В-третьих, обработка сигнализации и потоков мультимедийных данных, другими словами активных диалогов, которые пользователь установил с другим оборудованием пользователя (UE, ОП) и серверами приложений (AS, СП). В-четвертых, информирование других объектов сети, таких как серверы приложений (AS) и элементы сети P-CSCF о подробностях новой регистрации.
Должно быть ясно, что, хотя выше процессы регистрации и связанные с этим проблемы обсуждались в отношении системы связи третьего поколения (3G), основанной на Интернет-протоколе (IP), и протокола инициирования сеанса (SIP), подобные недостатки также могут быть связаны с другими системами и, следовательно, описание не ограничено указанными возможными вариантами.
РАСКРЫТИЕ ИЗОБРЕТЕНИЯ
Варианты осуществления настоящего изобретения предназначены для решения одной или нескольких из вышеупомянутых проблем.
Согласно одному варианту осуществления настоящего изобретения способ обработки отказов в предоставлении обслуживания в сети связи, содержащей оборудование пользователя, первый элемент сети и обслуживающий элемент сети, заключает в себе этапы, на которых: принимают первое сообщение из оборудования пользователя в первом элементе сети; передают первое сообщение из первого элемента сети в обслуживающий элемент сети; в первом элементе сети обнаруживают, что обслуживающий элемент сети вышел из строя; в первом элементе сети определяют тип первого сообщения; и в зависимости от типа первого сообщения из первого элемента сети в оборудование пользователя передают сообщение об ошибке, содержащее индикацию того, что обслуживающий элемент сети вышел из строя.
Способ может заключать в себе дополнительный этап, на котором принимают сообщение об ошибке в оборудовании пользователя.
Способ может дополнительно заключать в себе этап, на котором: после приема в оборудовании пользователя сообщения об ошибке из оборудования пользователя в сеть связи для инициирования регистрации передают второе сообщение второго типа, отличного от типа первого сообщения.
Способ может дополнительно заключать в себе выполняющийся до приема первого сообщения из оборудования пользователя в первом элементе сети этап, на котором: устанавливают однонаправленный канал для сигнализации между оборудованием пользователя и первым элементом сети.
Способ может выбирать дополнительный обслуживающий элемент сети и направлять сообщение в дополнительный обслуживающий элемент сети.
Способ может заключать в себе дополнительные этапы, на которых: регистрируют оборудование пользователя в дополнительном обслуживающем элементе сети.
Однонаправленным каналом для сигнализации может быть контекст PDP общего назначения или сигнализации.
Сетью связи может быть сеть мультимедийной подсистемы, основанная на Интернет-протоколе (IMS).
Первым элементом сети может быть средство, выполняющее функцию управления запросами сеансов и вызовов (I-CSCF).
Первым элементом сети может быть средство, выполняющее функцию прокси-сервера управления сеансами и вызовами (P-CSCF).
Обслуживающим элементом сети может быть средство, выполняющее функцию управления сеансами и вызовами (S-CSCF).
Этап, на котором определяют тип сообщения, может заключать в себе определение типа сообщения на основе содержимого предварительно определенного информационного элемента в сообщении.
Этап, на котором обнаружения в первом элементе сети того, что обслуживающий элемент сети в сети связи вышел из строя, может заключать в себе этап, на котором: обнаруживают, что прошел предварительно определенный период времени, начиная с направления сообщения из первого элемента сети в обслуживающий элемент сети и до приема ответа из обслуживающего элемента сети, и/или определяют, что первое сообщение было передано предварительно определенное количество раз.
Типом первого сообщения может быть запрос на повторную регистрацию.
Типом второго сообщения может быть запрос на первичную регистрацию.
Информационный элемент может указывать на то, что запрос передают с защитой целостности.
Информационный элемент может указывать на то, что пользователь был успешно аутентифицирован.
Информационным элементом в сообщении может быть флаг защиты целостности в заголовке Авторизации в сообщении.
Согласно второму аспекту настоящего изобретения предложен элемент сети в сети связи, дополнительно содержащей обслуживающий элемент сети и оборудование пользователя, причем элемент сети выполнен с возможностью: приема первого сообщения из оборудования пользователя; направления первого сообщения в обслуживающий элемент сети; обнаружения того, что обслуживающий элемент сети вышел из строя; определения типа первого сообщения; и передачи сообщения об ошибке в оборудование пользователя в зависимости от типа первого сообщения, принятого из оборудования пользователя.
Элемент сети может быть дополнительно выполнен с возможностью приема из оборудования пользователя дополнительного сообщения второго типа, отличного от типа первого сообщения.
Согласно третьему аспекту настоящего изобретения, предложено оборудование пользователя в сети связи, дополнительно содержащей первый элемент сети и обслуживающий элемент сети, причем оборудование пользователя выполнено с возможностью приема сообщения об ошибке из первого элемента сети, причем сообщение об ошибке указывает, что обслуживающий элемент сети для оборудования пользователя вышел из строя, и ответа на сообщение об ошибке посредством передачи в первый элемент сети дополнительного сообщения второго типа, отличного от первого типа.
Оборудование пользователя может быть дополнительно выполнено с возможностью установления однонаправленного канала для сигнализации между оборудованием пользователя и сетью связи и дополнительно выполненное с возможностью ответа на сообщение об ошибке посредством сброса однонаправленного канала для сигнализации между оборудованием пользователя и сетью связи.
Однонаправленным каналом для сигнализации могут быть однонаправленные каналы контекста PDP общего назначения или для сигнализации.
Типом дополнительного сообщения, передаваемого в первый элемент сети, может быть запрос на первичную регистрацию.
Согласно четвертому аспекту настоящего изобретения, предложено оборудование пользователя для функционирования в сети связи, содержащей элемент сети, оборудование пользователя, выполненное с возможностью определения того, что первый элемент сети вышел из строя, посредством передачи запроса в первый элемент сети и определения того, что не был принят ответ из первого элемента сети; причем оборудование пользователя выполнено с возможностью сброса однонаправленного канала для сигнализации между оборудованием пользователя и сетью связи при определении того, что первый элемент сети вышел из строя; выбора или выявления нового дополнительного первого элемента сети; и передачи в дополнительный элемент сети сообщения, содержащего первичный запрос на регистрацию в сети связи.
Согласно пятому аспекту настоящего изобретения, предложен способ обработки отказов в предоставлении обслуживания в сети связи, содержащей: оборудование пользователя; первый элемент сети; и дополнительный элемент сети, причем способ заключает в себе этапы, на которых: передают первое сообщение из оборудования пользователя в первые элементы сети, обнаруживают, в оборудовании пользователя, что первый элемент сети вышел из строя, сбрасывают однонаправленный канал для сигнализации из оборудования пользователя в сеть связи; выбирают или выявляют дополнительный элемент сети в оборудовании пользователя; передают сообщение, содержащее первичный запрос на регистрацию, из оборудования пользователя в дополнительный элемент сети.
Согласно шестому аспекту изобретения, предложен способ определения типа регистрации в сети связи, содержащей по меньшей мере оборудование пользователя и элемент сети, заключающий в себе этапы, на которых: принимают в элементе сети запрос на регистрацию из оборудования пользователя; обнаруживают в элементе сети информационный элемент в принятом запросе; определяют содержимое информационного элемента и определяют, в зависимости от определенного содержимого информационного элемента, предназначен ли запрос на регистрацию для первого типа регистрации или для второго типа регистрации.
Сеть связи может дополнительно содержать по меньшей мере один обслуживающий элемент сети, и способ может содержать дополнительные этапы, на которых: передают запрос из первого элемента сети в обслуживающий элемент сети; обнаруживают, что обслуживающая сеть связи вышла из строя, при отсутствии приема ответа из обслуживающего элемента сети, передают в оборудование пользователя сообщение о том, что обслуживающий элемент сети вышел из строя, если запрос на регистрацию является запросом для первого типа регистрации, выбирают дополнительный обслуживающий элемент сети посредством первого элемента сети, если запрос на регистрацию является запросом для второго типа регистрации.
Первым типом регистрации может быть повторная регистрация и вторым типом регистрации может быть первичная регистрация.
Согласно седьмому аспекту изобретения, предложен элемент сети в сети связи, дополнительно содержащей оборудование пользователя, причем элемент сети выполнен с возможностью: приема запроса на регистрацию из оборудования пользователя; обнаружения информационного элемента в принятом запросе на регистрацию; определения содержимого информационного элемента и определения, в зависимости от определенного содержимого информационного элемента, является ли принятый запрос на регистрацию первым типом регистрации или вторым типом регистрации.
Информационный элемент может указывать на то, что запрос передают с защитой целостности.
Информационный элемент может указывать на то, что пользователь был успешно аутентифицирован.
Информационным элементом в сообщении может быть флаг защиты целостности.
Система связи может содержать элемент сети, описанный выше, и оборудование пользователя, как заявлено выше.
Вариант осуществления настоящего изобретения описывает способ обработки отказов в предоставлении обслуживания в сети связи, причем способ может заключать в себе этапы, на которых: устанавливают однонаправленный канал для сигнализации между оборудованием пользователя и сетью связи, регистрируют, в виде первого типа регистрации, оборудование пользователя в обслуживающем элементе сети в сети связи, обнаруживают, что обслуживающий элемент сети в сети связи вышел из строя, посредством первого элемента сети, передают сообщение, содержащее индикацию того, что обслуживающий элемент сети вышел из строя, из первого элемента сети в оборудование пользователя.
Дополнительный вариант осуществления описывает способ, который может дополнительно заключать в себе этап, на котором: оборудование пользователя инициирует регистрацию второго типа в сети связи.
Дополнительный вариант осуществления описывает способ, который может дополнительно заключать в себе дополнительный этап, на котором: оборудование пользователя принимает из первого элемента сети индикацию того, что в сети связи элемент сети вышел из строя, в ответ на сообщение, переданное оборудованием пользователя.
Дополнительный вариант осуществления описывает способ, в котором первым элементом сети может быть P-CSCF.
Дополнительные варианты осуществления описывают способ, который может дополнительно заключать в себе этапы, на которых: первый элемент сети обнаруживает, что обслуживающий элемент сети вышел из строя, при втором типе регистрации, оборудование пользователя сбрасывает однонаправленный канал для сигнализации в ответ на прием сообщения из первого элемента сети, оборудование пользователя регистрирует первого типа регистрацию в сети связи, устанавливает второй однонаправленный канал для сигнализации между оборудованием пользователя и сетью связи.
Дополнительные варианты осуществления описывают однонаправленный канал для сигнализации, которым может быть контекст PDP общего назначения или сигнализации, сетью связи может быть сеть IMS, первым типом регистрации может быть первичная регистрация, вторым типом регистрации может быть повторная регистрация, первым элементом сети может быть средство управления запросами CSCF (I-CSCF) и обслуживающим элементом сети может быть S-CSCF.
Дополнительные варианты осуществления описывают способ определения типа регистрации в сети связи, который может заключать в себе этапы, на которых: передают запрос на регистрацию из оборудования пользователя в первый элемент сети, проверяют информационный элемент в запросе в первом элементе сети, определяют на основе результата упомянутого этапа проверки, является ли запрос на регистрацию первым типом регистрации или вторым типом регистрации.
Дополнительные варианты осуществления описывают способ, который может заключать в себе дополнительные этапы, на которых: не принимают ответа из обслуживающего элемента сети, передают сообщение о том, что обслуживающий элемент сети вышел из строя, если запрос на регистрацию предназначен для первого типа регистрации, в UE выбирают новый обслуживающий элемент сети посредством первого элемента сети, если запрос на регистрацию предназначен для второго типа регистрации.
Дополнительные варианты осуществления описывают случай, при котором первым типом регистрации может быть повторная регистрация и вторым типом регистрации может быть первичная регистрация.
Дополнительные варианты осуществления описывают способ, в котором этап проверки может осуществлять проверку наличия информационного элемента в запросе.
Дополнительные варианты осуществления описывают информационный элемент, который может указывать на то, что запрос передают с защитой целостности.
Дополнительные варианты осуществления описывают, что информация может указывать, что пользователь был успешно аутентифицирован.
Дополнительные варианты осуществления описывают, что информацией в запросе может быть флаг защиты целостности.
Варианты осуществления описывают элемент сети в сети связи, который может быть выполнен с возможностью наличия средства для передачи сообщения в обслуживающий элемент сети и/или из обслуживающего элемента сети, средства для обнаружения информации о том, что обслуживающий элемент сети не обеспечивает обслуживание оборудования пользователя, и средства для передачи информации в оборудование пользователя.
Дополнительные варианты осуществления описывают элемент сети в сети связи, который может быть выполнен с возможностью наличия средства для приема запроса на регистрацию и средства для проверки, является запрос на регистрацию запросом первого типа или второго типа.
Дополнительные варианты осуществления описывают элемент сети в сети связи, который может быть выполнен с возможностью наличия средства для приема сообщений из оборудования пользователя и средства для передачи сообщения в оборудование пользователя, причем сообщение указывает, что элемент сети в сети связи не обеспечивает обслуживание оборудования пользователя.
Варианты осуществления описывают оборудование пользователя в сети связи, которое может быть выполнено с возможностью наличия средства для приема сообщения из сети связи, причем сообщение указывает на то, что обслуживающий элемент сети для оборудования пользователя не обеспечивает обслуживание оборудования пользователя, и средство для ответа на сообщение посредством высвобождения однонаправленных каналов.
Дополнительные варианты осуществления описывают оборудование пользователя, которое может быть выполнено с возможностью наличия средства для выполнения первичной регистрации в ответ на сообщение.
Варианты осуществления могут обеспечивать способ предотвращения перерывов связи между оборудованием пользователя и сервером приложений. Может быть улучшено восприятие пользователя, так как пользователь может не замечать временные отказы. Также может не требоваться вмешательство пользователя для повторного установления связи с сетью связи, если произойдет отказ в обслуживающем объекте контроллера.
КРАТКОЕ ОПИСАНИЕ ЧЕРТЕЖЕЙ
Для лучшего понимания настоящего изобретения далее в качестве примера будут упомянуты приложенные чертежи.
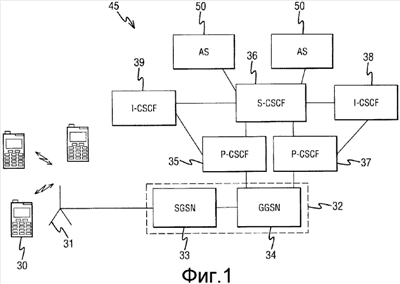
Фиг.1 изображает среду системы связи, в которой может быть реализовано изобретение.
Фиг.2 – схема последовательности операций потока сигнализации примера первого варианта осуществления настоящего изобретения.
Фиг.3 – схема последовательности операций потока сигнализации дополнительного варианта осуществления настоящего изобретения.
Фиг.4 – схема последовательности операций потока сигнализации примера дополнительного варианта осуществления настоящего изобретения при использовании.
Фиг.5 – схема последовательности операций потока сигнализации примера дополнительного варианта осуществления настоящего изобретения при использовании.
ОСУЩЕСТВЛЕНИЕ ИЗОБРЕТЕНИЯ
Далее в отношении иллюстративной архитектуры системы мобильной связи третьего поколения (3G) в качестве примера будут описаны некоторые варианты осуществления настоящего изобретения. Однако следует понимать, что варианты осуществления могут быть применены к любой соответствующей системе связи. Например, проходящей системой связи может быть система CDMA 2000.
Согласно фиг.1, изображен возможный вариант архитектуры сети, в которой может быть реализовано изобретение. На фиг.1 обеспечена сеть IP-мультимедиа 45 для предложения служб IP-мультимедиа для абонентов сети IP-мультимедиа.
Как описано выше, доступ к службе IP-мультимедиа (IM) может обеспечиваться посредством системы мобильной связи. Система мобильной связи, обычно, скомпонована для обслуживания нескольких устройств мобильного оборудования пользователя, обычно, через беспроводной интерфейс между оборудованием пользователя и по меньшей мере одной базовой станцией 31 системы связи. Система мобильной связи логически может быть разделена между сетью радиодоступа (RAN, СРД) и базовой сетью (CN).
Базовая станция 31 выполнена с возможностью передачи сигналов в мобильное оборудование 30 пользователя и для приема сигналов из мобильного оборудования 30 пользователя через беспроводной интерфейс между оборудованием пользователя и сетью радиодоступа. Соответственно, мобильное оборудование 30 пользователя выполнено с возможностью передачи сигналов в сеть радиодоступа и приема сигналов из сети радиодоступа через беспроводной интерфейс.
В изображенной компоновке оборудование 30 пользователя может осуществлять доступ к сети 45 IMS через сеть доступа, ассоциированную с базовой станцией 31. Должно быть очевидно, что хотя для ясности фиг.1 изображает базовую станцию только одной сети радиодоступа, обычная распределительная сеть связи, обычно, содержит некоторое количество сетей радиодоступа.
Обычно управление сетью радиодоступа (RAN) 3G осуществляет соответствующий контроллер сети радиосвязи (RNC, КСР). Для ясности, этот контроллер не изображен. Контроллер может быть назначен каждой базовой станции, или контроллер может управлять несколькими базовыми станциями, например, на уровне сети радиодоступа. Должно быть очевидно, что название, местоположение и количество контроллеров сети радиосвязи зависят от системы.
Мобильное оборудование 30 пользователя на фиг.1 может включать в себя любое соответствующее мобильное оборудование пользователя, применимое для связи на основе Интернет-протокола (IP) для соединения с сетью связи. Например, пользователь мобильной связи может осуществлять доступ к сотовой сети связи посредством Персонального компьютера (PC, ПК), персонального цифрового ассистента (PDA, ПАД), мобильной станции (MS, МС) и так далее. Последующие примеры описаны в отношении мобильных станций.
Признаки и функционирование обычной мобильной станции известны специалистам в данной области техники. Соответственно, достаточно отметить, что пользователь может использовать мобильную станцию для таких задач, как создание и прием телефонных вызовов, прием данных из сети связи и передача данных в сеть связи и восприятие мультимедийного содержимого или использование иным образом мультимедийных услуг. Мобильная станция может содержать антенну для приема сигналов из базовых станций сети мобильной связи и передачи в них сигналов посредством радиосвязи. Мобильная станция может быть обеспечена также дисплеем для отображения изображений и другой графической информации для пользователя мобильного оборудования пользователя. Может быть обеспечено средство камеры для захвата неподвижных изображений или видеоизображений. Также, обычно, обеспечены звуковоспроизводящие средства. Управление функционированием мобильной станции может быть осуществлено посредством соответствующего интерфейса пользователя, такого как кнопки управления, речевые команды и так далее. Кроме того, мобильная станция обеспечена объектом процессора и средством памяти.
Должно быть очевидно, что хотя для ясности на фиг.1 изображено только небольшое количество мобильных станций, с системой связи может быть одновременно связано большое количество мобильных станций.
Базовая сеть (CN), обычно, содержит различные коммутирующие и другие объекты управления и шлюзы для обеспечения возможности связи через некоторое количество сетей радиодоступа, а также для установления связи посредством интерфейса одной системы связи с одной или большим количеством систем связи, например, с другими сотовыми системами связи и/или системами фиксированных линий связи. В системах 3GPP сеть радиодоступа, обычно, соединена с соответствующим объектом базовой сети или объектами, такими как сервисный узел 33 поддержки обобщенных услуг пакетной радиопередачи (SGSN, СУПО) и т.д. Сеть радиодоступа осуществляет связь с сервисным узлом поддержки GPRS через соответствующий интерфейс, например интерфейс lu. Сервисный узел поддержки GPRS в свою очередь, обычно, осуществляет связь с соответствующим шлюзом, например, шлюзовым узлом 34 поддержки GPRS, через магистральную сеть 32 связи GPRS. Этим интерфейсом, обычно, является интерфейс передачи данных с коммутацией пакетов.
Для переноса потоков трафика через сеть связи в сети 3GPP устанавливают сеанс пакетной передачи данных. Такой сеанс пакетной передачи данных часто определяют, как контекст протокола пакетной передачи данных (PDP). Контекст PDP может содержать однонаправленный канал радиосвязи, обеспеченный между оборудованием пользователя и контроллером сети радиосвязи, однонаправленный канал радиодоступа, обеспеченный между оборудованием пользователя, контроллером сети радиосвязи и SGSN 33, и каналы передачи данных с коммутацией пакетов, обеспеченные между сервисным узлом 33 служб GPRS и шлюзовым узлом 34 служб GPRS. Обычно, каждый контекст PDP обеспечивает тракт связи между определенным оборудованием пользователя и шлюзовым узлом поддержки GPRS и, когда установлен, обычно может нести несколько потоков. Каждый поток, в нормальном режиме, представляет, например, определенную службу и/или составляющую средства аудиовизуальной информации определенной службы. Вследствие этого контекст PDP часто представляет логический тракт связи через сеть для одного или большего количества потоков. Для реализации контекста PDP между оборудованием пользователя и сервисным узлом поддержки GPRS требуется установить по меньшей мере один однонаправленный канал радиодоступа (RAB, ОКР), который, обычно, обеспечивает возможность передачи данных для оборудования пользователя. Реализация указанных логических и физических каналов известна специалистам в данной области техники и, вследствие этого здесь не будет описываться дополнительно.
Фиг.1 также изображает несколько серверов 50 приложений, соединенных с иллюстративной мультимедийной сетью 45, основанной на Интернет-протоколе (IP). Оборудование 30 пользователя может быть соединено, через сеть 32 GPRS и сеть 45 IMS, по меньшей мере с одним из серверов 50 приложений. Должно быть очевидно, что с сетью передачи данных может быть соединено большее количество серверов приложений.
Управление связью с серверами приложений осуществляется посредством функций сети передачи данных, которые обеспечивают соответствующие объекты контроллера. Например, в существующих архитектурах мультимедийной сети радиосвязи третьего поколения (3G) предполагается, что для управления используют несколько различных серверов, обеспечивающих различные функции управления. Они включают в себя такие функции, как функции управления сеансом вызова или состоянием вызова (CSCF). Функции сеанса вызова могут быть разделены на различные категории. Фиг.1 изображает посреднические функции 35 и 37 прокси-сервера управления сеансами и вызовами (P-CSCF) 35, функции 38 и 39 управления запросами сеансов и вызовов (I-CSCF) и функцию 36 управления сеансами и вызовами (S-CSCF). Должно быть очевидно, что подобные функции в различных системах могут быть определены различными наименованиями.
Пользователю, которому требуется использовать службы, обеспечиваемые сервером приложений через систему IMS, сначала может потребоваться зарегистрироваться обслуживающим контроллером, таким как обслуживающая функция 36 управления сеансом вызова (S-CSCF). Регистрация может требоваться для обеспечения возможности запрашивания оборудованием пользователя службы из мультимедийной системы. Как изображено на фиг.1, маршрутизация связи между S-CSCF 36 и оборудованием 30 пользователя может осуществляться по меньшей мере через одну функцию 35 прокси-сервера управления сеансами и вызовами (P-CSCF) 35. Соответственно, CSCF 35 прокси-сервера действует в качестве посредника, который направляет сообщения из GGSN 34 в функцию 36 управления сеансами и вызовами, и наоборот.
При процедуре регистрации UE передает в сеть связи запрос на первичную регистрацию. Запрос маршрутизируется через функцию(и) CSCF в S-CSCF, которая отвечает за аутентификацию пользователя, и она связывает IP-адрес UE с идентификатором пользователя. Регистрация является действительной в течение некоторого времени, и поддержание регистрации действующей является задачей UE. Для этого UE до истечения регистрации передает новый запрос на регистрацию в S-CSCF. Эта процедура называется процедурой повторной регистрации.
Фиг.2-5 изображают последовательность примеров вариантов осуществления настоящего изобретения. Согласно фиг.2, изображен вариант осуществления настоящего изобретения, где система связи изображена восстанавливающейся после ошибки выхода из строя S-CSCF, такая ошибка была обнаружена при ответе на запрос на повторную регистрацию. Как известно в данной области техники, после первичной регистрации пользователя (описанной в 3GPP TS 23.228) и до истечения времени действия регистрации UE передает в S-CSCF запрос на повторную регистрацию.
На первом этапе 101 оборудование пользователя (UE) передает в P-CSCF запрос на повторную регистрацию. На втором этапе 103 P-CSCF принимает запрос на повторную регистрацию и направляет сообщение в I-CSCF.
На третьем этапе 105 I-CSCF принимает запрос на повторную регистрацию из P-CSCF и осуществляет попытку передать запрос в S-CSCF. Так как S-CSCF вышла из строя, она неспособна ответить на запрос.
Так как S-CSCF неспособна ответить на запрос, таймер внутри I-CSCF после предварительно определенного времени истекает, и на этапе 107 I-CSCF прекращает попытку установить посредством запроса связь с S-CSCF. I-CSCF может осуществить попытку передать запрос некоторое предварительно определенное количество раз.
На четвертом этапе 109 I-CSCF передает обратно в P-CSCF индикацию ошибки, например, сообщение об ошибке истечения времени ожидания сервера (также известное, как сообщение 504 об ошибке).
На пятом этапе 111 P-CSCF принимает сообщение 504 об ошибке и передает сообщение 504 об ошибке обратно в оборудование пользователя (UE).
На шестом этапе 113 UE принимает сообщение 504 об ошибке. Затем UE сбрасывает всю сигнализацию и трафик данных, которые относятся к этому процессу повторной регистрации.
В некоторых вариантах осуществления настоящего изобретения оборудование пользователя сбрасывает только информацию сигнализации, относящуюся к контексту PDP для сигнализации, но оставляет контексты PDP для мультимедиа. В этом дополнительном варианте осуществления оборудованию пользователя обеспечивается возможность поддерживать связь с удаленной службой/терминалом, пока согласно второй части варианта осуществления настоящего изобретения, осуществляется попытка разрешить ситуацию с ошибкой S-CSCF. В других вариантах осуществления настоящего изобретения, где был установлен общий контекст PDP, общий контекст PDP сбрасывают.
На седьмом этапе 115 оборудование пользователя передает в P-CSCF запрос на первичную регистрацию. Первичная регистрация UE является первым этапом в повторном установлении связи посредством установления нового контекста PDP для сигнализации или использования существующего контекста PDP для сигнализации. (В вариантах осуществления, где был сброшен общий контекст, UE осуществляет попытку установить новый общий контекст PDP).
На восьмом этапе 117 P-CSCF принимает запрос из UE и передает запрос на первичную регистрацию в I-CSCF.
На девятом этапе 119 I-CSCF принимает запрос и выбирает вторую S-CSCF2 для пользователя.
На этапе 121 вторая S-CSCF (S-CSCF2) передает в I-CSCF сигнал подтверждения приема (также известный, как сообщение 200 подтверждения).
На этапе 123 I-CSCF передает принятое сообщение 200 подтверждения в P-CSCF.
На этапе 125 P-CSCF передает принятое сообщение 200 подтверждения в оборудование пользователя.
Такой способ, несмотря на то, что он воспринимается как обременительная процедура, так как он ведет к полному прерыванию обеспечения службы для пользователя и любого удаленного пользователя, соединенного с этим пользователем, является более эффективным в том, что не требует полного сброса UE. Также такая процедура ‘очищает’ все оставшиеся состояния в UE и в сети связи.
Согласно фиг.4 может быть рассмотрена проблема относительно того, как I-CSCF определяет, является ли текущий запрос, время ожидания для которого истекло, запросом на повторную регистрацию или запросом на первичную регистрацию.
Согласно фиг.4 дополнительно обсуждается определение того, обрабатывает ли I-CSCF запрос на первичную регистрацию или запрос на повторную регистрацию. Фиг.4 изображает возможный вариант, где обрабатывают первичную регистрацию, и S-CSCF, к которому обращается I-CSCF, вышел из строя.
На этапах 301, 303 и 305 запрос на первичную регистрацию передается из UE в P-CSCF (этап 301), затем ретранслируется из P-CSCF в I-CSCF (этап 303), затем осуществляется попытка ретранслировать его из I-CSCF в S-CSCF (этап 305), при первой попытке S-CSCF, к которой осуществляется обращение, является S-CSCF 1.
На этапе 307 отказ S-CSCF 1 при возврате сообщения с ответом приводит к истечению таймера I-CSCF и, следовательно, указывает, что время ожидания для запроса истекло. I-CSCF может осуществить попытку передать запрос в S-CSCF1 повторно некоторое предварительно определенное количество раз.
Затем I-CSCF определяет, был ли истекший запрос запросом на первичную регистрацию или запросом на повторную регистрацию, исследуя флаг защиты целостности в заголовке запроса.
Так как флаг защиты целостности включен только, если UE и P-CSCF сформировали ассоциацию защиты, событие выполняется после успешной аутентификации/регистрации, отсутствие флага защиты целостности указывает для I-CSCF, что это процесс первичной регистрации.
Следовательно, когда в истекшем запросе (таком как тот, что создается, когда выходит из строя S-CSCF) присутствует флаг защиты целостности , то истекший запрос вызывает передачу сообщения 504 об ошибке из I-CSCF в UE через P-CSCF, как изображено в примере первого варианта осуществления, как описано выше.
Когда в истекшем запросе (таком как тот, что создается, когда выходит из строя S-CSCF) отсутствует флаг защиты целостности, то I-CSCF идентифицирует, что запрос, который она обрабатывает, является запросом на первичную регистрацию, и следовательно I-CSCF передает, согласно известному способу, новый запрос на первичную регистрацию в другую S-CSCF (новую S-CSCF). Это изображено этапом 307.
Если UE обеспечен возможностью быть зарегистрированным на другой S-CSCF, и другая S-CSCF является работающей, то S-CSCF выполняет действие регистрации и передает обратно в UE через I-CSCF и P-CSCF сообщение 200 подтверждения, как известно в данной области техники. В примере, изображенном на фиг.4, UE не авторизовано на использование другой S-CSCF и, следовательно, выдается сообщение 401 ‘неавторизовано’. Сообщение 401 передается обратно в UE на этапах 309, 311 и 313. На этапе 309 сообщение передается из S-CSCF в I-CSCF, на этапе 311 сообщение передается из I-CSCF в P-CSCF, и на этапе 313 сообщение передается из P-CSCF в UE.
Следовательно, согласно двум изображенным примерам, при исследовании элемента или части заголовка сообщения с запросом, варианты осуществления изобретения могут определять ошибки, возникающие для запросов на первичную регистрацию или на повторную регистрацию, и инициировать восстановление в зависимости от типа запроса. При отсутствии такого способа для I-CSCF было бы невозможно определить тип запроса на регистрацию, который она обрабатывала, и предотвратить бесконечные создаваемые зацикливания, например, где I-CSCF передала обратно в UE сообщение 504 об истечении для всех запросов времени ожидания на регистрацию, и UE передало обратно в I-CSCF новые запросы на регистрацию, которые должны быть направлены в вышедшую из строя S-CSCF только для того, чтобы вызвать новое истечение времени ожидания и передачу новых 504 сообщений в UE.
Дополнительный вариант осуществления настоящего изобретения описан в отношении возможного варианта, изображенного на фиг.3. Этот вариант осуществления дополнительно изображает, что P-CSCF по приеме сообщения 504 при обработке запроса не-регистрации передает обратно в UE сообщение 504 об ошибке, и UE по приеме из P-CSCF сообщения 504 об ошибке в ответ на запрос не-регистрации выполняет повторную регистрацию.
Этапы 201, 203 и 205 изображают осуществляемую UE передачу (этап 201) сообщения формата SIP не-регистрации через P-CSCF (этап 203) и S-CSCF (этап 205) в объект в сети IP/SIP, например, сервер приложений (AS, СП).
Из-за ошибки (происшедшей) где-то внутри сети IP/SIP, запросу не удается достигнуть своего адресата, и взамен в UE возвращается сообщение 504 об ошибке (возвращаемое сообщение 504 подобно сообщению 504, возвращаемому, как описано выше). На этапах 207, 209 и 211 указанное сообщение об ошибке передается обратно из сети IP/SIP (этап 207) через S-CSCF (этап 209), P-CSCF (этап 211) и в итоге в UE.
Однако UE не обеспечивает определение из приема сообщения об ошибке, порождена ли ошибка в S-CSCF или где-то в другом месте. Следовательно, для определения состояния S-CSCF оно инициирует, как изображено на этапе 213, процесс запроса на повторную регистрацию, как описано выше, для определения того, порождено ли сообщение об ошибке в S-CSCF.
Это изображено на фиг.3 этапами 215, 216 и 217, где запрос на повторную регистрацию передает UE (на этапе 215), принимает и ретранслирует P-CSCF (на этапе 216), и принимает и ретранслирует I-CSCF (на этапе 217) в S-CSCF.
В примере, изображенном на фиг.3, S-CSCF является работающим и продолжает процесс повторной регистрации сообщением 200 подтверждения, передаваемым S-CSCF (на этапе 219), принимаемым и ретранслируемым I-CSCF (на этапе 221) и принимаемым и ретранслируемым P-CSCF в UE (на этапе 223).
Однако если было обнаружено, что причиной проблемы была S-CSCF, то I-CSCF должна передать обратно дополнительное сообщение об ошибке, и процесс должен разрешиться так, как описано выше, с использованием нового процесса регистрации.
Согласно фиг.5, продемонстрирован дополнительный пример, изображающий дополнительный вариант осуществления изобретения. В примере, изображенном на фиг.5, UE регистрируют, и на этапе 402 передают в P-CSCF (P-CSCF1) SIP-сообщение с запросом.
P-CSCF1 вышла из строя и не отвечает. Таймер UE истекает и на этапе 403 UE распознает, что запрос истек.
На этапах 404 и 405 UE выполняет способ, подобный выполняемому после ситуации выхода из строя S-CSCF. В предыдущем способе, описанном выше, ситуация выхода из строя приводит к отказу для запроса на повторную регистрацию, и UE сбрасывает контекст PDP сигнализации или общий контекст PDP, относящийся к сообщению. На этапе 404 процедура отказа P-CSCF вышел из строя приводит к общему отказу для запросов, что вызывает сбрасывание UE контекста PDP для сигнализации или общего контекста PDP, относящегося к UE. В дополнительных вариантах осуществления настоящего изобретения UE дополнительно сбрасывает контексты PDP для мультимедиа. В продолжение этапа 404 UE может выявить новую P-CSCF, если оно не обладает альтернативным контактным адресом для P-CSCF1.
На этапах 405, 407 и 409 UE начинает новый процесс первичной регистрации. На этапе 405 UE использует новый контактный адрес P-CSCF для передачи запроса на первичную регистрацию в новую P-CSCF (Новую P-CSCF). На этапе 407 P-CSCF принимает запрос на первичную регистрацию и направляет в I-CSCF. На этапе 409 I-CSCF принимает запрос на первичную регистрацию и передает в S-CSCF.
Этот дополнительный вариант осуществления изображает обработку ошибок, согласно настоящему изобретению, возникающих, когда P-CSCF вышла из строя, подобно условиям выхода из строя S-CSCF.
Должно быть очевидно, что хотя варианты осуществления настоящего изобретения были описаны в отношении оборудования пользователя, такого как мобильные станции, варианты осуществления настоящего изобретения применимы к любому другому виду оборудования, которое требует аутентификации. Например, настоящее изобретение может быть применено для оборудования пользователя, соединяющегося с сетью IP/SIP через беспроводную локальную сеть (WLAN).
Возможные варианты изобретения были описаны в контексте системы IMS и сетей GPRS. Однако это изобретение также применимо к любым другим стандартам. Кроме того, данные возможные варианты описаны в контексте так называемых сетей SIP со всеми SIP-объектами и каналами связи, известными, как контексты PDP. Это изобретение также применимо к любым другим соответствующим системам связи, либо к беспроводным, либо к фиксированным системам, стандартам связи и протоколам связи.
Примеры других возможных беспроводных систем обмена данными, обеспечивающих услуги беспроводной передачи данных, включают в себя систему мобильной связи третьего поколения, такую как Универсальная система мобильной электросвязи (UMTS), систему Наземной транковой связи (TETRA), CDMA2000 или Интернет-телефонию, сеть мобильной передачи данных Улучшенной передачи данных при помощи GSM (EDGE) и т.д. Примеры систем фиксированной линии связи включают в себя различные широкополосные способы, обеспечивающие доступ к Интернет для пользователей в различных местоположениях, например дома и на местах работы. Независимо от стандартов и протоколов, используемых для сети связи, изобретение может быть применено во всех сетях связи, в которых требуется регистрация в объекте сети сязи.
Варианты осуществления изобретения были описаны в контексте посреднической и обслуживающей функций управления состоянием вызова. Варианты осуществления изобретения могут быть применимы к другим элементам сети, где это применимо.
Здесь также отмечено, что хотя выше описаны иллюстративные варианты осуществления изобретения, не выходя из контекста изобретения, определенного приложенной формулой изобретения, в раскрытое решение могут быть внесены некоторые изменения и модификации.
Заявитель тем самым раскрывает, что изобретение не предназначено для интерпретации исключительно в контексте формулы изобретения.
Понятно, что термин вне обслуживания может интерпретироваться в значении, что обслуживающий элемент сети не осуществляет связь с упомянутым оборудованием пользователя из-за неисправности в обслуживающем элементе сети или из-за неисправности в системе связи, препятствующей осуществлению связи оборудования пользователя и обслуживающего элемента сети.
Кроме того понятно, что оборудование пользователя может включать в себя мобильные телефоны, персональные устройства связи и персональных цифровых помощников.
Дополнительно понятно, что действие установления однонаправленного канала для сигнализации может пониматься в значении создания сеанса связи, и при этом узел связи выполнен с возможностью связи с сетью посредством сеанса связи, сеть содержит узел авторизации сеанса связи для авторизации на установление сеанса связи; узел связи выполнен с возможностью установления сеанса связи, осуществлять связь с узлом авторизации сеанса связи для приема авторизации сеанса связи; узел связи выполнен с возможностью запроса, в продолжение сеанса связи, узла авторизации на авторизацию сеанса связи и выполнен с возможностью завершения по меньшей мере сигнализации сеанса связи в ответ на прием сообщения, указывающего отказ узла авторизации сеанса связи при ответе на запрос, из сети связи в ответ на такой запрос.
Заявитель тем самым раскрывает отдельно каждый описанный здесь индивидуальный признак и любую комбинацию из двух или большего количества указанных признаков в пределах, в которых такие признаки или комбинации могут быть выполнены на основе настоящего описания в целом в свете общего знания специалиста в данной области техники, независимо от того, решают ли такие признаки или комбинации признаков какие-либо раскрытые здесь проблемы и без ограничения на контекст формулы изобретения. Заявитель указывает, что аспекты настоящего изобретения могут состоять из любого такого индивидуального признака или комбинации признаков. С учетом предшествующего описания, для специалиста в данной области техники очевидно, что в контекст изобретения могут быть внесены различные изменения.
Формула изобретения
1. Способ обработки отказов в предоставлении обслуживания в сети связи, содержащей оборудование пользователя, первый элемент сети и обслуживающий элемент сети, причем способ включает в себя этапы, на которых: принимают первое сообщение из оборудования пользователя в первом элементе сети, передают первое сообщение из первого элемента сети в обслуживающий элемент сети, обнаруживают в первом элементе сети, что обслуживающий элемент сети вышел из строя, определяют в первом элементе сети тип первого сообщения, и в зависимости от типа первого сообщения, из первого элемента сети в оборудование пользователя отправляют сообщение об ошибке, содержащее индикацию того, что обслуживающий элемент сети вышел из строя, и после отправки сообщения об ошибке оборудованию пользователя принимают второе сообщение второго типа отличного от типа первого сообщения из оборудования пользователя.
2. Способ по п.1, в котором: второе сообщение способно инициировать регистрацию из оборудования пользователя в первый элемент сети.
3. Способ по любому из предшествующих пунктов, в котором дополнительно включающий в себя этап, выполняющийся до приема первого сообщения из оборудования пользователя в первом элементе сети, устанавливают однонаправленный канал для сигнализации между оборудованием пользователя и сетью связи.
4. Способ по п.3, дополнительно содержащий этапы, на которых выбирают дополнительный обслуживающий элемент сети и направляют сообщение в дополнительный обслуживающий элемент сети.
5. Способ по п.4, в котором способ дополнительно включает в себя этап, на котором: регистрируют оборудование пользователя в дополнительном обслуживающем элементе сети.
6. Способ по п.3, в котором однонаправленным каналом для сигнализации является контекст протокола пакетной передачи данных сигнализации или общего назначения.
7. Способ по п.1, в котором сетью связи является сеть мультимедийной подсистемы, основанной на Интернет-протоколе (IMS).
8. Способ по п.1, в котором первым элементом сети является запрашивающая функция управления сеанса вызова (I-CSCF).
9. Способ по п.1, в котором первым элементом сети является функция прокси-сервера управления сеанса вызова (P-CSCF).
10. Способ по п.1, в котором обслуживающим элементом сети является обслуживающая функция управления сеансом вызова (S-CSCF).
11. Способ по п.1, в котором этап определения типа сообщения включает в себя определение типа сообщения на основе содержимого предварительно определенного информационного элемента в сообщении.
12. Способ по п.1, в котором этап обнаружения в первом элементе сети того, что обслуживающий элемент сети в сети связи вышел из строя, включает в себя этап, на котором: обнаруживают, что прошел предварительно определенный период времени с момента направления сообщения из первого элемента сети в обслуживающий элемент сети и до ответа, принятого из обслуживающего элемента сети, и/или определяют, что первое сообщение было передано предварительно определенное количество раз.
13. Способ по п.1, в котором типом первого сообщения является запрос на повторную регистрацию.
14. Способ по п.1, в котором типом второго сообщения является запрос на первичную регистрацию.
15. Способ по п.11 или 12, в котором информационный элемент указывает на то, что запрос передается с защитой целостности.
16. Способ по п.11 или 12, в котором информационный элемент указывает на то, что пользователь был успешно аутентифицирован.
17. Способ по п.11 или 12, в котором информационным элементом в сообщении является флаг защиты целостности в заголовке Авторизации в сообщении.
18. Элемент сети в сети связи, содержащей обслуживающий элемент сети и оборудование пользователя, при этом элемент сети содержит процессор, выполненный с возможностью: принимать первое сообщение из оборудования пользователя, направлять первое сообщение в обслуживающий элемент сети, обнаруживать то, что обслуживающий элемент сети вышел из строя, определять тип первого сообщения, и в зависимости от типа первого сообщения, принятого из оборудования пользователя, отправлять сообщение об ошибке в оборудование пользователя, причем устройство выполнено с возможностью приема дополнительного сообщения второго типа, отличного от типа первого сообщения из оборудования пользователя, после отправки сообщения об ошибке.
19. Оборудование пользователя в сети связи, содержащей первый элемент сети и обслуживающий элемент сети, при этом оборудование пользователя содержит: процессор, выполненный с возможностью приема сообщения об ошибке из первого элемента сети в сети связи, причем сообщение об ошибке указывает, что обслуживающий элемент сети для устройства вышел из строя, и ответ на сообщение об ошибке отправляет в первый элемент сети дополнительное сообщение второго типа, отличного от первого типа.
20. Оборудование пользователя по п.19, дополнительно выполненное с возможностью установления однонаправленного канала для сигнализации между оборудованием пользователя и сетью связи, и дополнительно выполненное с возможностью ответа на сообщение об ошибке посредством сбрасывания однонаправленного канала для сигнализации между оборудованием пользователя и сетью связи.
21. Оборудование пользователя по п.20, в котором однонаправленным каналом для сигнализации являются однонаправленные каналы контекста протокола пакетной передачи данных сигнализации или общего назначения.
22. Оборудование пользователя по п.19, в котором типом дополнительного сообщения, передаваемого в первый элемент сети, является запрос на первичную регистрацию.
23. Оборудование пользователя для функционирования в сети связи, содержащей первый элемент сети, оборудование пользователя, выполненное с возможностью определения того, что первый элемент сети вышел из строя, посредством передачи запроса в первый элемент сети и определения того, что из первого элемента сети не был принят ответ, при этом оборудование пользователя выполнено с возможностью при определении того, что первый элемент сети вышел из строя, осуществлять сбрасывание однонаправленного канала для сигнализации между оборудованием пользователя и сетью связи, выбор или выявление нового дополнительного первого элемента сети, и передачу в дополнительный элемент сети сообщения, содержащего первичный запрос на регистрацию в сети связи.
24. Оборудование пользователя для функционирования в сети связи, содержащей первый элемент сети, причем оборудование пользователя содержит: процессор, выполненный с возможностью определения того, что первый элемент сети вышел из строя, посредством передачи запроса в первый элемент сети и определения того, что из первого элемента сети не был принят ответ, при этом процессор выполнен с возможностью при определении того, что первый элемент сети вышел из строя, осуществлять сбрасывание однонаправленного канала для сигнализации между оборудованием пользователя и сетью связи, выбор или выявление второго элемента сети, и отправку во второй элемент сети сообщения, содержащего первичный запрос на регистрацию в сети связи.
25. Способ обработки отказов в предоставлении обслуживания в сети связи, причем сеть связи содержит: оборудование пользователя, первый элемент сети и дополнительный элемент сети, причем способ включает в себя этапы, на которых: отправляют первое сообщение из оборудования пользователя в первый элемент сети, обнаруживают в оборудовании пользователя, что первый элемент сети вышел из строя, сбрасывают однонаправленный канал сигнализации из оборудования пользователя в сеть связи, выбирают или выявляют второй элемент сети в оборудовании пользователя, отправляют сообщение, содержащее запрос на первичную регистрацию, из оборудования пользователя во второй элемент сети.
26. Система связи для обработки отказов в предоставлении обслуживания, причем система связи содержит элемент сети; обслуживающий элемент сети, соединенный с элементом сети; и оборудование пользователя, соединенное с упомянутым элементом сети; причем упомянутый элемент сети выполнен с возможностью принимать первое сообщение из оборудования пользователя; направлять первое сообщение в первый элемент сети; обнаруживать то, что обслуживающий элемент сети вышел из строя; определять тип первого сообщения, и в зависимости от типа первого сообщения, принятого из оборудования пользователя, отправлять сообщение об ошибке в оборудование пользователя, и после отправки сообщения об ошибке в оборудование пользователя, принимать от оборудования пользователя второе сообщение второго типа отличного от первого типа первого сообщения.
РИСУНКИ
|
|