|
(21), (22) Заявка: 2009108594/09, 10.03.2009
(24) Дата начала отсчета срока действия патента:
10.03.2009
(46) Опубликовано: 10.04.2010
(56) Список документов, цитированных в отчете о поиске:
SU 1107280 A1, 07.08.1994. SU 1137566 A1, 30.01.1985. US 20060226906 A1, 12.10.2006.
Адрес для переписки:
346500, Ростовская обл., г. Шахты, ул. Шевченко, 147, ЮРГУЭС, патентная служба, ЮРГУЭС
|
(72) Автор(ы):
Прокопенко Николай Николаевич (RU), Будяков Алексей Сергеевич (RU), Конев Даниил Николаевич (RU)
(73) Патентообладатель(и):
Государственное образовательное учреждение высшего профессионального образования “Южно-Российский государственный университет экономики и сервиса” (ГОУ ВПО “ЮРГУЭС”) (RU)
|
(54) СПОСОБ СТАБИЛИЗАЦИИ СТАТИЧЕСКОГО РЕЖИМА ЭМИТТЕРНЫХ ЦЕПЕЙ НИЗКОВОЛЬТНЫХ ТРАНЗИСТОРНЫХ КАСКАДОВ
(57) Реферат:
Изобретение может быть применено в устройствах автоматики, электроники и радиотехники при разработке аналоговых и аналого-цифровых устройств. Технический результат – обеспечение работоспособности цифровых и аналоговых устройств при низковольтном питании. Способ обеспечивает стабилизацию статического режима эмиттерных цепей низковольтных транзисторных каскадов (1), содержащих токостабилизирующие резисторы (2), включенные между эмиттерами транзисторов, входящих в структуру транзисторных каскадов (1), и выходом (3) источника эмиттерного электропитания (4). Статические напряжения на токостабилизирующих резисторах (2) выбирают меньше, чем Uэб, а выходное напряжение источника эмиттерного электропитания (4) относительно общей шины изменяют с повышением температуры по такому же закону, что и закон изменения напряжения эмиттер-база транзисторов (Uэб), входящих в транзисторные каскады (1). 2 з.п. ф-лы, 7 ил.
Известны способы установления статического режима эмиттерных цепей транзисторных каскадов аналоговых и аналогово-цифровых устройств с низковольтным питанием, у которых напряжение питания эмиттерных цепей обеспечивается непрерывным стабилизатором напряжения. Это базовый принцип стабилизации эмиттерных токов многих устройств электроники, автоматики, радиотехники, который широко используется в аналоговых и цифровых микросхемах различных классов [1, 2].
Требования к уменьшению рассеиваемой мощности и уменьшению числа батарей в таких приложениях, как беспроводные устройства связи и персональные компьютеры, привели к снижению напряжения питания в аналоговых и цифровых схемах до уровня 1,5 В. Эта тенденция реализована в современных SiGe транзисторах, которые сконструированы так, чтобы обеспечить максимальную частоту среза (f1) в компромиссе с напряжением пробоя (Uпр). Для кремниевых транзисторов существует следующее фундаментальное ограничение: f1×Uпр const, т.е. малые размеры транзисторов, обеспечивающие высокие значения f1 (до 200 ГГц), привели к снижению напряжения питания микросхем до 1,2÷1,5 В.
Уменьшение напряжения питания (Еп) в биполярных схемах приводит к появлению новых проблем и некоторые из них становятся особенно важными при напряжении питания менее 2 В. Принципиальная сложность уменьшения напряжения Еп состоит в том, что биполярный транзистор имеет фиксированное напряжение база-эмиттер Uбэ, которое не уменьшается линейно с уменьшением технологических норм, так как
,
где т=kT/q, Iк – ток коллектора и Is – обратный ток эмиттерного р-n перехода. При этом параметры транзистора и уровни тока оказывают слабое влияние на напряжение Uбэ. На практике плотность тока в биполярном транзисторе (Iк/Is), изменяя свое значение, также слабо влияет на напряжение Uбэ. Если в используемой технологии Uбэ=0,7÷0,8 В, то использование 1,5 В источника питания приводит к тому, что между «землей» и шиной Еп не может быть включено больше, чем один р-n переход.
Учитывая вышесказанное, а также численные значения напряжения Uбэ 700÷800 мВ, можно сделать вывод о том, что при напряжении питания 1,5 В запрещается использовать многоярусные дифференциальные пары или каскодные конфигурации (архитектуры).
Таким образом, отсутствие возможности масштабирования напряжения на переходе база-эмиттер обостряет проблему дальнейшего масштабирования напряжения питания схем на биполярных транзисторах.
Существенный недостаток известного способа стабилизации статического режима [3] состоит в том, что при работе с технологическими нормами изготовления транзисторов менее 130 нм напряжение питания не может превышать величины 1-1,2 В. Это запрещает применение так называемых «двухъярусных структур», содержащих два или более р-n перехода. В результате единственным решением становится применение сравнительно низкоомных токостабилизирующих резисторов. Однако в таких структурах вследствие температурных изменений напряжения эмиттер-база транзисторов невозможно обеспечить высокую стабильность эмиттерных токов транзисторных каскадов (например, эмиттерно-связанной логики, широкополосных усилителей и т.п.).
Основная цель предлагаемого изобретения состоит в разработке способа стабилизации статического режима эмиттерных цепей низковольтных транзисторных каскадов аналоговых и аналогово-цифровых устройств, при котором за счет введения строго определенной функциональной зависимости выходного напряжения стабилизатора от температуры обеспечивается температурная стабилизация эмиттерных токов транзисторных каскадов того или иного радиоэлектронного устройства. Это позволит обеспечить работоспособность многих цифровых и аналоговых SiGe-устройств при низковольтном питании (1÷1,5 В).
Поставленная цепь достигается тем, что в известном способе стабилизации статического режима эмиттерных цепей низковольтных транзисторных каскадов 1 фиг.1, содержащих токостабилизирующие резисторы (2), включенные между эмиттерами транзисторов, входящих в структуру транзисторных каскадов (1), и выходом (3) источника эмиттерного электропитания (4), вводятся новые операции – статические напряжения на токостабилизирующих резисторах (2) выбирают меньше, чем Uэб, а выходное напряжение источника эмиттерного электропитания (4) относительно общей шины изменяют с повышением температуры по такому же закону, что и закон изменения напряжения эмиттер-база транзисторов (Uэб), входящих в транзисторные каскады (1).
На чертеже фиг.1 приведен фрагмент классической схемы радиоэлектронного устройства, характеризующий известный способ стабилизации статического режима.
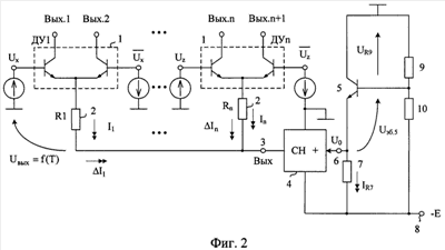
На чертеже фиг.2 изображена схема, иллюстрирующая сущность заявляемого способа.
На чертеже фиг.3 показан частный случай схемы фиг.2, который используется для анализа свойств заявляемого способа.
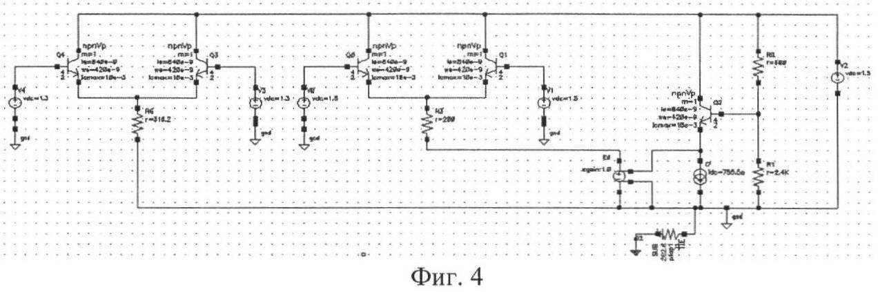
На чертеже фиг.4 приведены в среде Cadence схемы, характеризующие свойства способа-прототипа (левая часть схемы) и заявляемого способа (правая часть схемы).
На чертеже фиг.5 показаны результаты моделирования температурной нестабильности токов общих эмиттерных цепей транзисторов схемы фиг.4. Верхний график – соответствует левой части схемы-прототипа, нижний график – характеризует производную dI/dT правой части схемы.
На чертеже фиг.6 показаны температурные зависимости эмиттерных токов в устройстве фиг.4, соответствующем способу-прототипу и заявляемому способу стабилизации статического режима. Его анализ показывает, что при одинаковых значениях статических токов при комнатной температуре предлагаемое техническое решение характеризуется значительно меньшими (практически нулевыми) изменениями абсолютного значения токов эмиттера транзисторов.
На чертеже фиг.7 приведен график, характеризующий выигрыш по температурной стабильности заявляемого технического решения. Он, в частности, показывает, что правая часть схемы фиг.4 имеет на 3-4 порядка лучшую температурную стабильность токов эмиттерной цепи транзисторов.
Предлагается способ стабилизации статического режима эмиттерных цепей низковольтных транзисторных каскадов 1, содержащих токостабилизирующие резисторы 2, включенные между эмиттерами транзисторов, входящих в структуру транзисторных каскадов 1, и выходом 3 источника эмиттерного электропитания 4. Статические напряжения на токостабилизирующих резисторах 2 выбирают меньше, чем Uэб, а выходное напряжение источника эмиттерного электропитания 4 относительно общей шины изменяют с повышением температуры по такому же закону, что и закон изменения напряжения эмиттер-база транзисторов (Uэб), входящих в транзисторные каскады 1.
В схеме фиг.2, в соответствии с п.2 формулы изобретения, выходное напряжение источника эмиттерного электропитания 4 относительно общей шины уменьшают с повышением температуры по закону
,
где Uэб 0,7÷0,8 В – напряжение эмиттер-база транзисторов в статическом режиме;
Uдо – экстраполированная ширина запрещенной зоны транзистора (для кремниевых элементов Uдо 1,2 В);
Т – абсолютная температура окружающей среды;
Т – приращение температуры;
Uвых – абсолютное изменение выходного напряжения источника эмиттерного электропитания 4.
В схеме фиг.3, в соответствии с п.3 формулы изобретения, в качестве источника эмиттерного электропитания 4 используется стабилизатор напряжения, у которого источник опорного напряжения содержит биполярный транзистор 5, эмиттер которого связан со входом 6 для опорного напряжения стабилизатора напряжения и первым 7 токостабилизирующим двухполюсником, а база – подключена к выходу делителя напряжения общего питания 8 на первом 9 и втором 10 вспомогательных резисторах.
Рассмотрим работу схемы фиг.3.
Статический ток общей эмиттерной цепи IR транзисторных каскадов (например, одного из параллельно-балансных усилителей на транзисторах 11 и 12) определяется уравнением:

где UR=IRR2 – напряжение на резисторе 2;
Uвых – напряжение между выходом 3 источника эмиттерного электропитания 4 и общей шиной;
Uэб.i – напряжение эмиттер-база i-го транзистора, зависящее от температуры Т.
Таким образом, напряжение на резисторе 2:
UR=Uэб.5-Uэб.1+UR9=IRR.
To есть ток общей эмиттерной цепи

Под действием температуры напряжения Uэб.5 и Uэб.1 изменяются по закону
,

где Uэб.i 0,7÷0,8 В – напряжение эмиттер-база i-го транзистора в статическом режиме;
Uдо – экстраполированная ширина запрещенной зоны транзистора (для кремниевых элементов Uдо 1,2 В);
Т – абсолютная температура окружающей среды;
T – приращение температуры;
Uэб.i – абсолютное изменение величины напряжения эмиттер-база i-го транзистора в диапазоне температур T.
Если обеспечить одинаковые токи эмиттера транзисторов 5 и 11, 12, то изменения Uэб.5 будут компенсировать изменения Uэб.1, что повышает стабильность тока общей эмиттерной цепи транзисторного каскада 1.
Действительно, относительные температурные изменения тока IR:

где ;
– температурные изменения напряжения на резисторе 9.
Учитывая, что Uэб.5=Uэб.1, a , из (4) находим относительную нестабильность тока IR:

где Еп – нестабильность источника питания Еп при R9=const.
Таким образом, относительная нестабильность тока IR в схеме фиг.3 зависит от температурной стабильности источника общего питания Еп (8), которая может быть обеспечена достаточно высокой за счет применения другой цепи стабилизации, реализованной на другом стабилизаторе напряжения.
Полученные выше теоретические выводы совпадают с результатами компьютерного моделирования фрагмента транзисторной схемы с низким напряжением питания (фиг.4, правая часть). Так при изменении температуры нестабильность тока эмиттеров в заявляемой схеме уменьшилась в 103÷104 раз.
Таким образом, заявляемый способ стабилизации обеспечивает существенное преимущество при построении аналоговых и аналогово-цифровых устройств с напряжением питания менее 1 В.
Данный способ может быть использован и в электронных устройствах на полевых КМОП транзисторах. Однако в этом случае закон изменения выходного напряжения источника эмиттерного электропитания 4 должен соответствовать закону изменения напряжения затвор-исток КМОП транзисторов схемы. Схемы фиг.2-фиг.4 оказываются эффективны и при радиационных воздействиях.
Источники информации
1. Полковский И.М. Стабилизация параметров транзисторных усилителей [Текст] / И.М.Полковский. – М.: Энергия, 1973.
2. Патентная заявка США 20060226906 fig.3.
3. Рутковски Д. Интегральные операционные усилители. Справочное руководство [Текст] / Д.Рутковски. – М.: Мир, 1978. – С.12, рис.1.4а.
Формула изобретения
1. Способ стабилизации статического режима эмиттерных цепей низковольтных транзисторных каскадов (1), содержащих токостабилизирующие резисторы (2), включенные между эмиттерами транзисторов, входящих в структуру транзисторных каскадов (1), и выходом (3) источника эмиттерного электропитания (4), отличающийся тем, что статические напряжения на токостабилизирующих резисторах (2) выбирают меньше, чем Uэб, а выходное напряжение источника эмиттерного электропитания (4) относительно общей шины изменяют с повышением температуры по такому же закону, что и закон изменения напряжения эмиттер-база транзисторов (Uэб), входящих в транзисторные каскады (1).
2. Способ по п.1, отличающийся тем, что выходное напряжение источника эмиттерного электропитания (4) относительно общей шины уменьшают с повышением температуры по закону
, где Uэб 0,7÷0,8 В – напряжение эмиттер-база транзисторов в статическом режиме; Uдо – экстраполированная ширина запрещенной зоны транзистора (для кремниевых элементов Uдо 1,2 В); Т – абсолютная температура окружающей среды;
T – приращение температуры;
Uвых – абсолютное изменение выходного напряжения источника эмиттерного электропитания (4).
3. Способ по п.1, отличающийся тем, что в качестве источника эмиттерного электропитания (4) используется стабилизатор напряжения, у которого источник опорного напряжения содержит биполярный транзистор (5), эмиттер которого связан с входом (6) для опорного напряжения стабилизатора напряжения и первым (7) токостабилизирующим двухполюсником, а база – подключена к выходу делителя напряжения общего питания (8) на первом (9) и втором (10) вспомогательных резисторах.
РИСУНКИ
|