|
(21), (22) Заявка: 2008103276/09, 23.06.2006
(24) Дата начала отсчета срока действия патента:
23.06.2006
(30) Конвенционный приоритет:
29.06.2005 DE 102005030377.3
(43) Дата публикации заявки: 10.08.2009
(46) Опубликовано: 10.04.2010
(56) Список документов, цитированных в отчете о поиске:
EP 1453180 A2, 01.09.2004. RU 2168832 C2, 27.09.1998. RU 2133072 C1, 10.07.1999. SU 1529361 A1, 15.12.1989. SU 1552297 A1, 23.03.1990. SU 259993 A, 22.12.1969. SU 547928 A, 03.06.1977. SU 1283900 A1, 15.01.1987. SU 1239788 A1, 23.06.1986. JP 2000-014105 A, 14.01.2000. DD 10154 A, 18.08.1955. JP 10-322990 A, 04.12.1998. US 5719457 A, 17.02.1998. EP 0786855 A, 30.07.1997. EP 1453180 A, 01.09.2004.
(85) Дата перевода заявки PCT на национальную фазу:
29.01.2008
(86) Заявка PCT:
EP 2006/063488 20060623
(87) Публикация PCT:
WO 2007/000413 20070104
Адрес для переписки:
129090, Москва, ул.Б.Спасская, 25, стр.3, ООО “Юридическая фирма Городисский и Партнеры”, пат.пов. А.В.Мицу, рег. 364
|
(72) Автор(ы):
ВЕРХУВЕН Даниель (DE)
(73) Патентообладатель(и):
СИМЕНС АКЦИЕНГЕЗЕЛЛЬШАФТ (DE)
|
(54) КОРОТКОЗАМКНУТЫЙ РОТОР С БЕЛИЧЬЕЙ КЛЕТКОЙ АСИНХРОННОЙ МАШИНЫ
(57) Реферат:
Изобретение относится к области электротехники, в частности к асинхронным машинам со статором и короткозамкнутым ротором с беличьей клеткой. Предлагаемый короткозамкнутый ротор с беличьей клеткой содержит вал (1) и шихтованный сердечник из листовой стали (2), в шихтованном сердечнике из листовой стали (2) находятся стержни роторной обмотки (3), которые на обоих концах шихтованного сердечника из листовой стали (2) пропущены через отверстия (10) каждой торцовой пластины (9) и замкнуты короткозамыкающим кольцом (4), которое электрически проводяще соединяет концы стержней роторной обмотки (3) одной стороны короткозамкнутого ротора с беличьей клеткой, причем каждая торцовая пластина (9) содержит окружной выступ, который, по меньшей мере, частично покрывает с геометрическим замыканием короткозамыкающее кольцо (4) на его внешней стороне, причем каждая торцовая пластина (9) содержит часть стержня роторной обмотки (3) и часть короткозамыкающего кольца (4). При этом согласно данному изобретению торцовые пластины (9) выполнены массивными и имеют по сравнению со стержнями роторной обмотки (3) и короткозамыкающими кольцами (4) более высокопрочный материал, при этом стержни роторной обмотки (3) имеют на своих концах утолщение с увеличенным поперечным сечением стержня (7), причем, по меньшей мере, часть утолщения стержней роторной обмотки (3) лежит в отверстиях (10) торцовых пластин (9), при этом переход между утолщением и короткозамыкающим кольцом (4) выполнен в виде закругления с переходным радиусом (8). Технический результат, достигаемый при использовании настоящего изобретения, состоит в повышении надежности короткозамкнутого ротора и асинхронной машины в целом путем исключения возможности разрыва переходной области стержней роторной обмотки и короткозамыкающих колец, а также в обеспечении надежного удержания короткозамыкающих колец при высоких скоростях вращения и центробежных силах. 8 з.п. ф-лы, 13 ил.
Изобретение относится к асинхронной машине со статором и короткозамкнутым ротором с беличьей клеткой, причем короткозамкнутый ротор с беличьей клеткой содержит вал и шихтованный сердечник из листовой стали и в шихтованном сердечнике из листовой стали находятся стержни роторной обмотки, которые на обоих концах шихтованного сердечника из листовой стали пропущены через отверстия соответственно одной торцовой пластины и замкнуты короткозамыкающим кольцом, которое соединяет электрически проводяще концы стержней роторной обмотки одной стороны короткозамкнутого ротора с беличьей клеткой.
Электрические машины применяются в очень многих технических областях. В электрических машинах следует различать машины постоянного тока, машины переменного тока и машины трехфазного тока. Машины трехфазного тока могут подразделяться на трехфазные синхронные машины и трехфазные асинхронные машины.
Все эти электрические машины содержат между прочим неподвижный статор и установленный с возможностью вращения ротор. Ротор в зависимости от конструктивного исполнения снабжен системой обмотки. Эта система обмотки может состоять из одной или нескольких проволочных обмоток или стержневых обмоток. Из проволочных обмоток или также стержневых обмоток можно конструировать также короткозамкнутые обмотки типа беличьей клетки. В случае стержней и короткозамкнутых обмоток в асинхронных двигателях получаются короткозамкнутые роторы с беличьей клеткой. В этом случае шихтованный сердечник из листовой стали ротора содержит стержни роторной обмотки, которые на своих концах электрически проводяще соединены друг с другом посредством короткозамыкающих колец.
Известно, что переходная область стержней роторной обмотки к короткозамыкающим кольцам при нагреве ротора во время эксплуатации подвержена касательному напряжению среза, так что это может приводить к разрушению места соединения. Это прежде всего зависит от различных расширений шихтованного сердечника из листовой стали ротора и короткозамыкающих колец при нагреве, а также от центробежных сил во время эксплуатации. В публикации JP 2000-014105 А поэтому предлагается выполнять концы стержней роторной обмотки и короткозамыкающие кольца утолщенными, так что стержни роторной обмотки и короткозамыкающие кольца обладают увеличенной общей площадью поперечного сечения. Кроме того, из описания к ЕР 1453180 А2 также известно, пропускать стержни роторной обмотки на каждой стороне через торцовую пластину, до того как присоединяют короткозамыкающее кольцо.
Недостатком однако является то, что хотя опасность разрыва соединения между стержнем роторной обмотки и короткозамыкающим кольцом уменьшается, разрыв однако все же может произойти.
В основе изобретения лежит поэтому задача создания асинхронной машины с короткозамкнутым ротором с беличьей клеткой, в которой исключается разрыв соединения между стержнем роторной обмотки и короткозамыкающим кольцом.
Эта задача решается согласно изобретению за счет того, что каждая торцовая пластина содержит окружной выступ, который, по меньшей мере, частично перекрывает с геометрическим замыканием короткозамыкающее кольцо на его внешней стороне.
Тем самым предпочтительно достигается, что каждое короткозамыкающее кольцо на своей внешней стороне удерживается и охватывается торцовой пластиной, за счет чего короткозамыкающее кольцо при нагревании во время эксплуатации не может сильно расширяться и срезающая нагрузка и разрыв переходной области стержней роторной обмотки к короткозамыкающим кольцам исключаются. Кроме того, короткозамыкающее кольцо удерживается надежно на своем месте также при высоких скоростях вращения и высоких центробежных силах.
Дальнейшая предпочтительная форма выполнения получается, если стержни роторной обмотки имеют на своих концах утолщение с увеличенным поперечным сечением стержня, причем утолщение стержней роторной обмотки лежит в торцовой пластине. Тем самым переходная область стержней роторной обмотки к короткозамыкающим кольцам выполнена еще более стабильной и опасность разрыва еще более уменьшается.
Далее переход между утолщением и короткозамыкающим кольцом выполнен предпочтительно в виде закругления с переходным радиусом. Это устраняет подверженные разрушению угловые участки, в которых появляются особенно высокие срезающие нагрузки.
Чтобы лучше расположить утолщения на круглом поперечном сечении, их можно располагать также слегка смещенными к стержням роторной обмотки. Таким образом, например, предпочтительно достигается, что утолщение не выступает за край короткозамкнутого ротора с беличьей клеткой.
Количество отверстий торцовой пластины может быть равным или также меньшим, чем количество стержней роторной обмотки. В первом случае достигается особенно точное и надежное прохождение стержней роторной обмотки, так что стержни роторной обмотки защищаются от разрушения торцовой пластиной. Во втором случае через одно отверстие в торцовой пластине направляют несколько стержней роторной обмотки, что является особенно предпочтительным, если торцовая пластина должна изготавливаться просто и дешево.
Дальнейшая предпочтительная форма выполнения получается, если каждая торцовая пластина содержит дополнительный окружной выступ, который перекрывает с геометрическим замыканием, по меньшей мере, частично короткозамыкающее кольцо на его внутренней стороне. Тем самым с помощью торцовой пластины опирается не только внешняя сторона короткозамыкающего кольца, но также и внутренняя сторона. Это прохождение служит между прочим также для защиты короткозамыкающего кольца от механических повреждений.
Кроме того, места переходов в профиле стержней роторной обмотки и/или короткозамыкающих колец в обрамленной торцовой пластиной области могут быть выполнены в форме закругления с переходным радиусом. Это исключает подверженные опасности разрушения угловые места и повышает тем самым прочность и надежность короткозамкнутого ротора с беличьей клеткой.
Торцовая пластина предпочтительным образом выполняется так, что она в области привязки к валу имеет сравнительно малую толщину материала или имеет настолько большое осевое отверстие, что вал не затрагивается. За счет обеих альтернативных мер экономится материал и уменьшается инерционный момент короткозамкнутого ротора с беличьей клеткой.
Предпочтительным образом стержни роторной обмотки и короткозамыкающие кольца изготавливают из электрически хорошо проводящего материала, как медь или алюминий в виде одной детали или, соответственно, отливают в виде одной детали.
Далее является возможным предусматривать на стороне короткозамыкающего кольца, обращенной от стержней роторной обмотки, ведущие радиально наружу и/или тангенциально проходящие канавки, так что предпочтительное охлаждение короткозамыкающего кольца наступает особенно во время работы асинхронной машины.
Изобретение, а также последующие предпочтительные формы выполнения изобретения согласно признаков зависимых пунктов формулы изобретения поясняются в последующем более подробно на основе примеров выполнения, схематически представленных на чертежах, без ограничения изобретения этим примером выполнения, при этом показывают:
ФИГ.1 – часть короткозамкнутого ротора с беличьей клеткой согласно уровню техники;
ФИГ.2 – часть соответствующего изобретению короткозамкнутого ротора с беличьей клеткой;
ФИГ.3 – часть другого соответствующего изобретению короткозамкнутого ротора с беличьей клеткой;
ФИГ.4 – часть соответствующего изобретению короткозамкнутого ротора с беличьей клеткой на ФИГ.3;
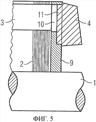
ФИГ.5 – часть другого соответствующего изобретению короткозамкнутого ротора с беличьей клеткой;
ФИГ.6 – часть следующего соответствующего изобретению короткозамкнутого ротора с беличьей клеткой на ФИГ.5;
ФИГ.7 – часть соответствующего изобретению короткозамкнутого ротора с беличьей клеткой;
ФИГ.8 – часть соответствующего изобретению короткозамкнутого ротора с беличьей клеткой на ФИГ.7;
ФИГ.9 – часть следующего соответствующего изобретению короткозамкнутого ротора с беличьей клеткой;
ФИГ.10 – часть соответствующего изобретению короткозамкнутого ротора с беличьей клеткой на ФИГ.9;
ФИГ.11 – часть следующего соответствующего изобретению короткозамкнутого ротора с беличьей клеткой;
ФИГ.12 – часть соответствующего изобретению короткозамкнутого ротора с беличьей клеткой на ФИГ.11;
ФИГ.13 – примерную асинхронную машину.
НА ФИГ.1 представлена часть короткозамкнутого ротора с беличьей клеткой согласно уровню техники. В случае вращающихся электрических машин, которые работают по индукционному принципу, короткозамкнутые обмотки в роторе выполняются из электрически хорошо проводящего материала – предпочтительно меди или алюминия. Эта короткозамкнутая обмотка, во-первых, состоит из определенного количества стержней роторной обмотки 3 с определенным поперечным сечением, которые заделаны в шихтованный сердечник из листовой стали ротора 2. Во-вторых, на торцовых сторонах шихтованного сердечника из листовой стали находится соответственно по одному короткозамыкающему кольцу 4, которое соединяет все стержни роторной обмотки 3 соответствующей стороны ротора между собой, то есть электрически замыкает их накоротко. В настоящее время роторные обмотки изготавливают из алюминия в основном способом литья под давлением.
На ФИГ.1 показано, что шихтованный сердечник из листовой стали ротора 2 находится при заливке между двумя расположенными на торцовых сторонах формами для литья под давлением 6, так что образуется фасонная полость, которая состоит из стержней роторной обмотки 3 в шихтованном сердечнике из листовой стали ротора 2, а также короткозамыкающих колец 4 и которую полностью заполняют алюминием. Эта принципиальная компоновка справедлива также для других литейных материалов. Короткозамыкающее кольцо 4 имеет значительно большее поперечное сечение, чем отдельные стержни роторной обмотки 3, причем в представлении по ФИГ.1 получается переход 5 с острыми кромками между этими двумя поперечными сечениями. При эксплуатации машины эта структура нагружается механически и термически. Шихтованный сердечник из листовой стали ротора 2 установлен на валу 1.
В общем машину эксплуатируют с переменными скоростями вращения и нагрузками, так что эти нагрузки становятся динамическими. На короткозамыкающее кольцо 4 действуют вследствие относительно большого объема сравнительно большие центробежные силы. При применении алюминия нужно дополнительно учитывать, что коэффициент теплового расширения этого материала является почти вдвое большим, чем стали, то есть при обусловленном нагрузкой выделении температуры в роторе короткозамыкающее кольцо 4 растет сильнее, чем шихтованный сердечник из листовой стали ротора 2. Оба эти эффекта приводят к радиальному смещению короткозамыкающего кольца наружу. Стержни роторной обмотки 3 за счет заделки в шихтованный сердечник из листовой стали ротора 2 не могут беспрепятственно следовать за этим движением, что может приводить за счет срезающей нагрузки в месте надреза 5 к недопустимо высоким напряжениям и к разрыву соединения стержней роторной обмотки 3 и короткозамыкающих колец. Особенно в случае короткозамкнутых обмоток из алюминия этот эффект сильно ограничивает область применения ротора относительно условий эксплуатации электрической машины (скорость вращения, нагрузка).
Фиг.2 показывает часть соответствующего изобретению короткозамкнутого ротора с беличьей клеткой. В соответствующем изобретению короткозамкнутом роторе с беличьей клеткой высокая срезающая нагрузка в месте соединения между стержнями роторной обмотки 3 и короткозамыкающими кольцами 4 непосредственно подавляется. Массивная торцовая пластина 9 содержит любую часть поперечного сечения короткозамыкающего кольца и по выбору увеличенное поперечное сечение стержня 7 или переходной радиус 8 или и то, и другое. Тем самым короткозамыкающему кольцу 4 на опасном месте перехода не дают смещаться радиально наружу и обламываться.
Торцовая пластина 9 содержит тем самым часть стержня роторной обмотки 3 и часть короткозамыкающего кольца 4. Этой мерой подверженный опасности переход от стержня роторной обмотки 3 на короткозамыкающее кольцо 4 полностью армирован более высокопрочным материалом. Преимуществом является то, что нужно применять только один конструктивный элемент, и армирования, вкладываемые при заливке короткозамыкающего кольца 4, могут отпадать. За счет этого простым образом расширяется область режимов эксплуатации литых роторов относительно скоростей вращения и температурной нагрузки.
Альтернативно роторную обмотку изготавливают не способом литья, а из полуфабрикатов (стержни и кольца), предпочтительно из меди – и тем самым делают возможными высокие нагрузки.
ФИГ.3 показывает часть другого соответствующего изобретению короткозамкнутого ротора с беличьей клеткой. На ФИГ.3 торцовая пластина 9 содержит для каждого стержня роторной обмотки 3 отверстие 10, которое не обязательно должно точно соответствовать поперечному сечению стержня роторной обмотки и может быть также в принципе расположено в радиальном положении иначе, до тех пор, пока результирующийся отсюда переход поперечного сечения остается в пределах допусков как с точки зрения технологии изготовления, так и рабочих параметров электрической машины. Кроме того, торцовая пластина 9 содержит соответствующую изобретению часть короткозамыкающего кольца 11 во вращательно-симметричной форме. Является также возможным объединять в одном отверстии 10 в торцовой пластине 9 несколько стержней роторной обмотки 3. На ФИГ.4 часть соответствующего изобретению короткозамкнутого ротора с беличьей клеткой на ФИГ.3 показана под другим углом зрения.
Фиг.5 является подобной ФИГ.3, только лежащая вне торцовой пластины 9 часть короткозамыкающего кольца 4 выполнена с любым поперечным сечением. ФИГ.6 показывает часть соответствующего изобретению короткозамкнутого ротора с беличьей клеткой с ФИГ.5 под другим углом зрения.
В качестве другой формы выполнения ФИГ.7 показывает торцовую пластину 9, которая в одном или нескольких возможных местах имеет переходные радиусы 8. ФИГ.8 показывает часть соответствующего изобретению короткозамкнутого ротора с беличьей клеткой с ФИГ.7 под другим углом зрения.
На ФИГ.9 представлена следующая соответствующая изобретению форма выполнения, причем здесь внутри торцовой пластины 9 находится полное поперечное сечение короткозамыкающего кольца 4. ФИГ.10 показывает часть соответствующего изобретению короткозамкнутого ротора с беличьей клеткой на ФИГ.9 под другим углом зрения.
В качестве дальнейшей детализации ФИГ.11 показывает форму выполнения, в которой торцовую пластину 9 в области привязки к валу 1 уменьшают по ее толщине материала, или, соответственно, полностью отказываются от привязки. Далее является возможным предусматривать на обращенной от стержней роторной обмотки 3 стороне короткозамыкающего кольца 4 идущие радиально наружу или/и тангенциально проходящие канавки, так что во время эксплуатации асинхронной машины наступает охлаждение короткозамыкающего кольца 4. ФИГ.12 показывает часть соответствующего изобретению короткозамкнутого ротора с беличьей клеткой на ФИГ.11 под другим углом зрения.
ФИГ.13 показывает примерную асинхронную машину с корпусом 12 и коробкой выводов 13.
Формула изобретения
1. Асинхронная машина со статором и короткозамкнутым ротором с беличьей клеткой, причем короткозамкнутый ротор с беличьей клеткой содержит вал (1) и шихтованный сердечник из листовой стали (2) и в шихтованном сердечнике из листовой стали (2) находятся стержни роторной обмотки (3), которые на обоих концах шихтованного сердечника из листовой стали (2) пропущены через отверстия (10) соответственно одной торцовой пластины (9) и замкнуты короткозамыкающим кольцом (4), которое электрически проводящим образом соединяет концы стержней роторной обмотки (3) одной стороны короткозамкнутого ротора с беличьей клеткой, причем каждая торцовая пластина (9) содержит часть стержней роторной обмотки (3) и часть короткозамыкающего кольца (4), и причем каждая торцовая пластина (9) имеет окружной выступ, который по меньшей мере частично прилегает с геометрическим замыканием к внешней стороне короткозамыкающего кольца (4), отличающаяся тем, что торцовые пластины (9) выполнены массивными и имеют по сравнению со стержнями роторной обмотки (3) и короткозамыкающими кольцами (4) более высокопрочный материал, при этом стержни роторной обмотки (3) имеют на своих концах утолщение с увеличенным поперечным сечением стержня (7), причем по меньшей мере часть утолщения стержней роторной обмотки (3) лежит в отверстиях (10) торцовых пластин (9), при этом переход между утолщением и короткозамыкающим кольцом (4) выполнен в виде закругления с переходным радиусом (8).
2. Асинхронная машина по п.1, отличающаяся тем, что количество отверстий (10) торцовой пластины (9) равно количеству стержней роторной обмотки (3).
3. Асинхронная машина по п.1 или 2, отличающаяся тем, что количество отверстий (10) торцовой пластины (9) является меньшим, чем количество стержней роторной обмотки (3), так что через одно отверстие (10) проходит несколько стержней роторной обмотки (3).
4. Асинхронная машина по п.1, отличающаяся тем, что каждая торцовая пластина (9) содержит дополнительный окружной выступ, который по меньшей мере частично прилегает с геометрическим замыканием к внутренней стороне короткозамыкающего кольца (4).
5. Асинхронная машина по п.1, отличающаяся тем, что места переходов в профиле стержней роторной обмотки (3) и/или короткозамыкающих колец (4) в заключенной торцовой пластиной (9) области выполнены в форме закругления с заранее задаваемым переходным радиусом (8).
6. Асинхронная машина по п.1, отличающаяся тем, что торцовая пластина (9) в области вала (1) имеет сравнительно малую толщину материала или имеет настолько большое среднее отверстие, так что она не касается вала (1).
7. Асинхронная машина по п.1, отличающаяся тем, что стержни роторной обмотки (3) и короткозамыкающие кольца (4) изготовлены из меди или алюминия.
8. Асинхронная машина по п.1, отличающаяся тем, что стержни роторной обмотки (3) и короткозамыкающие кольца (4) отлиты литьем под давлением в виде одной детали.
9. Асинхронная машина по п.1, отличающаяся тем, что короткозамыкающее кольцо (4) на обращенной от стержней роторной обмотки (3) стороне содержит радиально проходящие наружу и/или тангенциально проходящие канавки, так что охлаждение короткозамыкающего кольца (4) возникает особенно во время работы асинхронной машины.
РИСУНКИ
|