|
|
(21), (22) Заявка: 2009100431/09, 11.01.2009
(24) Дата начала отсчета срока действия патента:
11.01.2009
(46) Опубликовано: 10.04.2010
(56) Список документов, цитированных в отчете о поиске:
RU 2089025 C1, 27.10.1997. RU 2295809 C2, 20.03.2007. RU 2097885 C1, 27.11.1997. GB 2202379 A1, 21.09.1988. FR 2685130 A1, 18.06.1993. US 6018319 A, 25.01.2000.
Адрес для переписки:
127083, Москва, ул. 8 Марта, 10, стр.1, ОАО “Радиотехнический институт им. ак.А.Л.Минца”
|
(72) Автор(ы):
Демокидов Борис Константинович (RU), Стоянов Михаил Сергеевич (RU), Долженков Алексей Андреевич (RU)
(73) Патентообладатель(и):
ОТКРЫТОЕ АКЦИОНЕРНОЕ ОБЩЕСТВО “РАДИОТЕХНИЧЕСКИЙ ИНСТИТУТ ИМЕНИ АКАДЕМИКА А.Л. МИНЦА” (RU)
|
(54) ШИРОКОПОЛОСНОЕ ВОЛНОВОДНОЕ ЩЕЛЕВОЕ ДВУХКАНАЛЬНОЕ ИЗЛУЧАЮЩЕЕ УСТРОЙСТВО КРУГОВОЙ ПОЛЯРИЗАЦИИ
(57) Реферат:
Изобретение относится к области электротехники, а именно к антенной технике. Техническим результатом является увеличение широкополосности одновременно по двум его основным техническим параметрам (по излучаемой мощности Ризл. и коэффициенту эллиптичности Кэл). Данный технический результат достигается тем, что излучающее устройство состоит из отрезка прямоугольного волновода с двумя короткозамыкающими заглушками в его торцевых сечениях и двумя широкими стенками квадратной формы с диагональным размером 0,5 о, имеющего внутреннюю перегородку, параллельную широким стенкам и высотой h, равной 0,25 в ( в – длина волны в волноводе), образующую П-образный профиль поперечного сечения волновода, с прорезанными в ней параллельно заглушкам двумя возбуждающими четвертьволновыми щелями, электрически соединенными с разъемами возбуждения, установленными на задней широкой стенке, которые соединены с внутренней кромкой возбуждающих четвертьволновых щелей через установленные перпендикулярно перегородке согласующие треугольные металлические пластины, вершины которых контактируют с центральным проводником разъемов, а противоположной стороной – с четвертьволновыми щелями, причем расстояние между возбуждающими разъемами выбирается равным 0,25 в. В середине между ними установлен винт настройки, а на широкой передней стенке с центром в ее середине прорезана резонансная крестообразная щель, выполненная в виде сходящихся конусов с углом при вершине =45° и настроечным элементом в виде плоской металлической пластинки, имеющей электрический контакт с данной стенкой в области, прилегающей к узкой стенке (b) П-образного волновода и установленной перпендикулярно линии, соединяющей разъемы возбуждения. 4 ил.
Изобретение относится к антенной технике и может использоваться в приемных, передающих, приемо-передающих многофункциональных антенных устройствах радиотехнических систем различного назначения: радиолокации, наземных и космических систем связи, радиоастрономии, в частности в активных фазированных антенных решетках (АФАР) с широкоугольным сканированием и поляризационной селекцией.
Известны двухканальные щелевые излучающие устройства (ИУ) волн круговой поляризации, выполненные на базе микрополосковых антенн (МПА) с различными схемами квадратурного возбуждения на полосковых линиях передачи. (Л1. Микрополосковые антенны. Б.А.Панченко, Е.И.Нефедов. Москва, «Радио и связь», 1986 г., стр.134, рис.3, 46; и патент РФ 2295809.)
Структурная схема такого излучающего устройства (Фиг.1) представляет собой последовательное соединение трех частотно-зависимых, каждого в разной степени, структурных элементов, конструктивно жестко связанных между собой, а именно:
– гибридного (квадратурного) моста – 1, построенного на полосковых линиях передачи с линейными токами, расположенного в плоскости апертуры ИУ и выполняющего функцию двухканального квадратурного устройства возбуждения, обусловливающего получение круговой поляризации двух (левого и правого) направлений вращения вектора излученного электромагнитного поля Е(Н) с полосой пропускания (10-15)% по уровню коэффициента стоячей волны (КСВ) равным 2 (КСВ=2);
– объемного резонатора – 2, полости ИУ, заключенной между подложкой и излучателем, заполненной диэлектриком. Функциональным назначением объемного резонатора является создание двух ортогональных поверхностных электрических или магнитных токов, текущих по внутренним стенкам резонатора, наличие которых является необходимым условием для создания поля излучения круговой поляризации;
– излучателей – 3, магнитного или электрического типов (щели или вибраторы) различных конфигураций, преобразующих ортогональные поверхностные токи объемного резонатора в электромагнитное поле излучения пространственной волны ТЕМ.
К общим основным недостаткам схем ИУ, построенных на базе МПА, следует отнести их узкополосность, низкий коэффициент полезного действия (КПД), относительно большие габариты апертуры ИУ, существенно ограничивающие широкоугольность ФАР, созданных на их базе, и невозможность их использования в ФАР без применения опорных металлических конструкций (подложек, экранов), обеспечивающих жесткость апертуры ФАР по причине их малой массы.
Причиной, не позволяющей получение широкополосного двухканального ИУ с круговой поляризацией в рассматриваемой схеме аналога, является наличие трех последовательно соединенных узкополосных частотно-зависимых структурных элементов в его составе. При этом результирующая АЧХ МПА по всем частотно-зависимым параметрам будет определяться произведением соответствующих частотных характеристик трех ее структурных элементов. Ограничение полосы пропускания происходит из-за резкого рассогласования антенны уже при незначительных расстройствах частоты от резонанса. Полоса пропускания ( f%) по уровню КСВ=2 в таких ИУ для различных геометрий излучателя в полосе частот от 1 ГГц до 10 ГГц изменяется соответственно от значений f=(0,5÷0,8)% до значений f=(3÷5)% (Л1. стр.128, рис.3-36), а коэффициент эллиптичности, например, на частоте 2 ГГц имеет полосу пропускания по уровню 2 дБ значение f=1% (Л1, стр.135, рис.3.48). Добротность таких антенн определяется потерями разной природы: в диэлектрике, в металле, на образование поверхностных волн, на полезное излучение. Главной причиной, не позволяющей получение предельных, максимально возможных значений КПД ( ) ИУ, является наличие диэлектрика в волноводной полости «объемного резонатора», обусловливающего:
а) дополнительные активные потери в нем самом;
б) режим поверхностных (не излученных) волн в «объемном резонаторе», приводящий к потерям части подводимой к нему мощности, а также использование в квадратурном устройстве возбуждения (гибридном мосте) полосковых линий передачи со свойственными этому типу линий активными потерями. Максимальный коэффициент полезного действия , без учета потерь в квадратурном устройстве возбуждения, т.е. в системе объемный резонатор – щелевые излучатели, для типовых толщин (d) диэлектрического слоя (0,05÷0,1)d/ 0 при =2,5 составляет соответственно значения =(0,7÷0,5) (Л1, стр.82, рис.2, 55).
Все перечисленные выше недостатки схем аналогов на МПА можно устранить только единственным способом, заключающимся в уменьшении числа структурных элементов ИУ и увеличении широкополосности каждого из них, а также избавлении от диэлектрика, увеличении жесткости апертуры и уменьшении его габаритов.
Наиболее близким аналогом к предлагаемому изобретению по функциональным (назначению) и конструктивным признакам, выбранным за прототип, является конструкция волноводного, щелевого, крестообразного, двухканального излучателя круговой поляризации, выполненная на отрезке прямоугольного волновода с двумя широкими стенками квадратной формы и диагональным размером 0,5 о, на одной из которых с центром в ее середине прорезана резонансная крестообразная прямоугольная щель, имеющего две короткозамыкающие заглушки в торцевых сечениях волновода и внутреннюю перегородку, параллельную широким стенкам, образующую П-образный профиль поперечного сечения, с прорезанными в ней параллельно заглушкам двумя симметрично расположенными четвертьволновыми возбуждающими щелями, верхние кромки которых электрически соединены с разъемами возбуждения (Патент ОАО РТИ 2089025). Данное ИУ в отличие от схем рассмотренных аналогов является более широкополосным вследствие того, что данная конструкция позволяет уменьшить число частотно-зависимых структурных элементов в своем составе до двух, так как волноводная полость с внутренней перегородкой, работающая в режиме линии передачи с одним основным типом волны Н10, является одновременно и возбудителем, выполняющая функцию «объемного резонатора» в аналоге, и квадратурным мостом для крестообразного излучателя. Причем широкополосность каждого из них значительно больше, чем широкополосность соответствующего структурного элемента в схеме аналога (Фиг.1). Кроме того, эта схема прототипа, использующая отрезок волноводной линии передачи, без диэлектрика, обладает минимально возможными активными потерями (на порядок меньшими, чем в полосковых линиях передачи) и отсутствием поверхностных типов волн (не излученных), что позволяет получить предельно возможные значения КПД, близкие к единице (КПД=0,98-0,99).
К недостаткам такого ИУ следует отнести недостаточную широкополосность его амплитудно-частотной характеристики (АЧХ) по двум основным параметрам: по излученной мощности (Ризл.), характеризуемой функцией Pизл.=F(fo), и по коэффициенту эллиптичности (Кэл), характеризуемой функцией Кэл= (f0). Причинами, не позволяющими получить высокую широкополосность по этим параметрам данного ИУ, являются:
– по параметру Pизл.=F(fo), недостаточное согласование его структурных элементов, а следовательно, относительно высокий КСВ, в связи с тем, что в коаксиально-волноводных переходах, содержащих четвертьволновые резонансные щели, центральные жилы разъемов возбуждения непосредственно соединены с верхней кромкой щелей и в сечении «коаксиал-волновод» соединяют линии передач с различными волновыми сопротивлениями, а также недостаточной широкополосностью крестообразного щелевого излучателя с прямоугольным профилем щелей, определяемой выбранной геометрией (толщиной, шириной и их формой);
– по параметру Кэл= (f0), при конечном размере толщины щелей (толщины передней стенки), наличие части отраженной от щелей мощности, ухудшающей ее согласование с квадратурным возбуждающим устройством, и, как следствие, уменьшение широкополосности по этому параметру.
Задачей изобретения является увеличение широкополосности излучающего устройства одновременно по двум его основным техническим параметрам (по излучаемой мощности Ризл.=F(fо) и коэффициенту эллиптичности Кэл= (f0)).
Сущность изобретения заключается в том, что широкополосное волноводное щелевое двухканальное излучающее устройство состоит из отрезка прямоугольного волновода с двумя короткозамыкающими заглушками в его торцевых сечениях и двумя широкими стенками квадратной формы с диагональным размером 0,5 о, имеющего внутреннюю перегородку, параллельную широким стенкам и высотой h, равной 0,25 в ( в – длина волны в волноводе), образующую П-образный профиль поперечного сечения волновода, с прорезанными в ней параллельно заглушкам двумя возбуждающими четвертьволновыми щелями, электрически соединенными с разъемами возбуждения, установленными на задней широкой стенке, которые соединены с внутренней кромкой возбуждающих четвертьволновых щелей через установленные перпендикулярно перегородке согласующие треугольные металлические пластины, вершины которых контактируют с центральным проводником разъемов, а противоположной стороной с четвертьволновыми щелями, причем расстояние между возбуждающими разъемами выбирается равным 0,25 в и в середине между ними установлен винт настройки, а на широкой передней стенке с центром в ее середине прорезана резонансная крестообразная щель, выполненная в виде сходящихся конусов с углом при вершине =45° и настроечным элементом в виде плоской металлической пластинки, имеющей электрический контакт с данной стенкой в области прилегающей к узкой стенке (b) П-образного волновода и установленной перпендикулярно линии, соединяющей разъемы возбуждения.
Описанная конструкция излучающего устройства в данном изобретении решает обе поставленные задачи и позволила получить заявленный технический результат, то есть существенным образом увеличить широкополосность излучающего устройства одновременно по двум его основным параметрам Ризл.=F(fo) и Кэл= (f0). Технический результат, в комплексе, обеспечивается следующими введенными изменениями:
– выбором высоты перегородки П-образного волновода, равной h=0,25 в для обеспечения квадратурного возбуждения в центре резонансной крестообразной щели;
– введением в конструкцию ИУ двух согласующих треугольных, металлических пластин в качестве емкостных элементов, образующих вместе с возбуждающими четвертьволновыми щелями входные шлейфовые согласующие трансформаторы полных сопротивлений, что позволяет произвести согласование волновых сопротивлений коаксиальной и волноводной линии передач в заданном рабочем диапазоне (2 fо) частот;
– выбором расстояния между возбуждающими разъемами равным =0,25 в, что является условием противофазного сложения отражений от входов;
– введением винта настройки, в качестве дополнительного согласующего трансформатора, образующего шлейф между задней стенкой П-образного волновода и его перегородкой, что позволяет расширить и симметрировать частотные характеристики устройства возбуждения относительно заданной частоты (f0) рабочего диапазона;
– изменением формы резонансных крестообразных щелей на коническую, которая обладает большей широкополосностью, чем прямоугольные щели;
– введением настроечного элемента в виде плоской металлической пластинки в качестве отражателя в апертуре излучателя, позволяет осуществлять согласование по поляризации на резонансной частоте щелей.
Данные изменения в конструкции ИУ, взятого за прототип, вместе введенные в конструкцию ИУ, позволяют увеличить в два раза его широкополосность одновременно по двум его основным параметрам Ризл.=F(fo) и Кэл= (f0) в диапазоне 1,3 ГГц.
1) На Фиг.1 представлена структурная схема аналога.
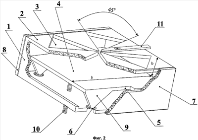
2) На Фиг.2 представлена конструкция предлагаемого излучающего устройства.
3) На Фиг.3 представлены (а, б) – экспериментальные амплитудно-частотные характеристики (АЧХ) предлагаемого волноводного квадратурного устройства возбуждения (волноводной полости), работающего в режиме линии передачи в диапазоне 1,3 ГГц, где а) – коэффициент стоячей волны, как функция частоты KCB=F(f0) и б) – коэффициент передачи с B×1 на В×2, как функция частоты Кр=F(f0) в децибелах.
4) На Фиг.4 представлены (а, б, в, д) сравнительные экспериментальные АЧХ – Ризл.=F(fo) и Кэл= (f0)) в диапазоне 1,3 ГГц, созданного ИУ (а, б) и его прототипа (д, в), при этом:
а, д) Зависимость излученной мощности от частоты Ризл.=F(fо);
б, в) Зависимость коэффициента эллиптичности от частоты Кэл= (f0).
Широкополосное волноводное щелевое двухканальное излучающее устройство круговой поляризации (Фиг.2) состоит из отрезка прямоугольного волновода (1) с двумя широкими квадратными стенками (2) с диагональным размером 0,5 о, на передней широкой стенке (2) прорезана резонансная крестообразная щель (3) в виде сходящихся конусов с углом при вершине 45° и центром в ее середине. На торцах волновода установлены две короткозамыкающие заглушки (7) и (8). Внутри волновода вдоль его оси параллельно передней стенке установлена внутренняя перегородка (4) с высотой h=0,25 в, придающая волноводу (1) П-образный профиль поперечного сечения, с прорезанными в ней параллельно заглушкам (7), (8) двумя симметрично расположенными четвертьволновыми щелями (5), внутренние кромки которых через контактирующие с ними согласующие треугольные пластины (9) соединены в точках (6) с разъемами возбуждения (на чертеже не показаны). На задней широкой стенке волновода между возбуждающими разъемами, расстояние между которыми равно =0,25 в, в середине между ними установлен винт настройки (10). На передней стенке (2) установлен перпендикулярно линии, соединяющей разъемы возбуждения, и контактирующий с ней в области, прилегающей к узкой стенке (b) П-образного волновода, настроечный элемент в виде плоской металлической пластинки (11).
Предлагаемое излучающее устройство работает следующим образом. П-образный волновод (1), являющийся устройством квадратурного возбуждения крестообразной щели (3), прорезанной в широкой передней стенке (2), возбуждается основным типом волны TE01 через возбуждающие разъемы (6), расстояние между которыми равно =0,25 в, согласующие пластины (9) и четвертьволновые щели (5), прорезанные во внутренней перегородке (4), являющимися элементами коаксиально-волноводного перехода (КВП) каждого из входных каналов, и настраивается на заданную частоту рабочего диапазона – fo. Настройка осуществляется выбором длины щелей (5) и размером согласующих пластин (9). При этом четвертьволновая щель и согласующая пластина, по существу, образуют одношлейфовый трансформатор полных входных сопротивлений (соответственно индуктивную и емкостную составляющие), а выбор расстояния между входными каналами (разъемами), равного четверти длины волны в волноводе (0,25 в), и введение между ними винта настройки образует второй шлейфовый трансформатор, что сводит схему согласования к двухшлейфовой схеме с межшлейфовым расстоянием, равным 1/8 в, которая является более широкополосной, чем одношлейфовая (Л2. Лебедев И.В. Техника и приборы СВЧ, с.223-225). Согласование на заданной частоте рабочего диапазона коаксиально-волноводного перехода происходит при равенстве модулей коэффициентов отражения от каждого шлейфа и противоположных значениях их фаз. При этом достигается равенство волновых сопротивлений коаксиальной и волноводной линий передач и соответственно, как следствие, минимум значения КСВ по каждому входному каналу устройства возбуждения.
Коническая форма крестообразных щелей позволяет расширить частотную характеристику по параметру Ризл., а настроечный элемент в виде пластинки в апертуре излучателя, в качестве отражателя части излученной мощности, позволяет произвести согласование по поляризации на резонансной частоте щелей и получить коэффициент эллиптичности равным единице. При запитке с одного входа (6) крестообразная щель (3) излучает волны левой круговой поляризации, а при запитке с другого входа излучаются волны правой круговой поляризации.
Таким образом, все введенные в конструкцию ИУ изменения обеспечивают одновременное увеличение широкополосности по двум основным его параметрам Ризл. и Кэл.
Изготовленная согласно изобретению конструкция ИУ на П-образном волноводе была исследована экспериментально. Определены его электрические параметры в диапазонах частот 1,3 ГГц и 4 ГГц, и получены следующие технические результаты.
1. На Фиг.4 (а, б, в, д) представлены частотные характеристики созданного ИУ (а, б) и его прототипа (д, в). Ширина полосы пропускания созданного ИУ по параметрам Ризл.=F(fo) и Кэл= (f0) по уровням, соответственно 2 дБ – для Ризл. и 1 дБ – для Кэл, составляет значение f=16%, а для его прототипа по тем же параметрам f=(7÷8)%, что соответствует двукратному увеличению широкополосности по этим параметрам в диапазоне 1,3 ГГц.
2. В диапазоне 4 ГГц полоса пропускания по тем же параметрам и тем же уровням составила значение f=25%.
3. На Фиг.3 представлены экспериментальные частотные характеристики квадратурного устройства возбуждения – КСВ=F(f0) и Кр= (f0) в диапазоне 1,3 ГГц, где КСВ – коэффициент стоячей волны со стороны входных каналов устройства возбуждения, Кр – коэффициент передачи в децибелах между входными каналами (при отсутствии излучателя). Полоса пропускания по уровню КСВ равна f=42%.
Исследования показали, что данная конструкция излучающего устройства является широкополосной по основным электрическим параметрам с высокими значениями КПД на резонансной частоте – КПД 98%.
Формула изобретения
Широкополосное волноводное щелевое двухканальное излучающее устройство круговой поляризации, состоящее из отрезка прямоугольного волновода с двумя короткозамыкающими заглушками в торцевых сечениях, с резонансной крестообразной щелью на широкой передней стенке квадратной формы и диагональным размером 0,5 о, с внутренней перегородкой, установленной параллельно широким стенкам, образующей П-образный профиль поперечного сечения волновода, с прорезанными в ней параллельно заглушкам двумя возбуждающими четвертьволновыми щелями, электрически соединенными с разъемами возбуждения на задней широкой стенке, отличающееся тем, что внутренняя перегородка имеет высоту h, равную 0,25 в ( в – длина волны в волноводе), а резонансная крестообразная щель выполнена в виде сходящихся в центре передней стенки конусов с углом при вершине =45°, кроме того на передней стенке установлен контактирующей с ней в области, прилегающей к узкой стенке (b) П-образного волновода, настроечный элемент в виде плоской металлической пластинки перпендикулярно линии, соединяющей разъемы возбуждения, установленные на задней широкой стенке, которые электрически соединены с внутренней кромкой возбуждающих четвертьволновых щелей через установленные перпендикулярно перегородке согласующие треугольные металлические пластины, вершины которых контактируют с центральным проводником разъемов, а противоположной стороной с четвертьволновыми щелями, причем расстояние между возбуждающими разъемами выбирается равным 0,25 в, а в середине между ними установлен винт настройки.
РИСУНКИ
|
|