|
(21), (22) Заявка: 2009107496/09, 02.03.2009
(24) Дата начала отсчета срока действия патента:
02.03.2009
(46) Опубликовано: 10.04.2010
(56) Список документов, цитированных в отчете о поиске:
ЖЦПИ.563534.006ТУ 2002 ЛИСТ 27. RU 2316085 C1, 27.01.2008. RU 2258982 С2, 20.08.2005. US 5268242 А, 07.12.1993. US 2006003223 A1, 05.01.2006.
Адрес для переписки:
350072, г.Краснодар, ул. Солнечная, 6, Открытое акционерное общество “Сатурн”
|
(72) Автор(ы):
Галкин Валерий Владимирович (RU), Горбачева Изабелла Васильевна (RU), Кардаш Александр Николаевич (RU), Корниенко Евгений Федорович (RU), Шевченко Юрий Михайлович (RU)
(73) Патентообладатель(и):
Открытое акционерное общество “Сатурн” (RU)
|
(54) НИКЕЛЬ-ВОДОРОДНАЯ АККУМУЛЯТОРНАЯ БАТАРЕЯ
(57) Реферат:
Изобретение относится к электротехнике и касается никель-водородной аккумуляторной батареи (НВАБ), содержащей байпасные устройства (БУ), предназначенные для парирования отказа никель-водородных аккумуляторов. Согласно изобретению никель-водородная аккумуляторная батарея состоит из корпуса, в котором расположены электрически последовательно соединенные между собой силовыми шинами аккумуляторы, а также байпасные устройства с размещенными в них бескорпусными разрядными и зарядными диодами, заполненные теплопроводящим материалом, байпасные устройства выполнены в виде усеченного конуса, на торце которого имеется резьба для крепления к корпусу НВАБ. Техническим результатом является повышение надежности и возможность повышения мощности БУ за счет минимизации теплового сопротивления между корпусом БУ и корпусом НВАБ. 2 ил.
Изобретение относится к электротехнике и касается никель-водородной аккумуляторной батареи (НВАБ), содержащей байпасные устройства (БУ), предназначенные для парирования отказа никель-водородных аккумуляторов
(НВА). Никель-водородная аккумуляторная батарея представляет собой цепь из последовательно соединенных НВА. Отказ одного НВА влечет за собой отказ НВАБ в целом. Причиной отказа НВА может стать обрыв цепи, разгерметизация корпуса, деградация электрохимических групп (увеличение внутреннего сопротивления). Для повышения надежности и безотказности в состав НВАБ вводятся БУ.
В последнее время наметилась тенденция увеличения энергомощностных характеристик НВАБ и, соответственно, увеличения мощности байпасных устройств.
Известна НВАБ (Модуль никель-водородной аккумуляторной батареи МНВАБ Технические условия ЖЦПИ.563534.006ТУ 2002 лист 27), принятая за аналог, состоящая из последовательно соединенных НВА, каждый из которых содержит байпасные диоды (БД), предназначенные для предотвращения выхода из строя НВАБ при выходе из строя или переполюсовке любого НВА. В конструкции применяемых БД используются корпусные диоды.
Недостатком вышеуказанной НВАБ являются низкие удельные характеристики и затруднение теплосъема с БД.
Признаки аналога, общие с предлагаемой НВАБ, следующие:
– зарядные и разрядные байпасные диоды.
Известна НВАБ (Патент РФ 2316085 опубликован 27.01.2008), принятая за прототип, состоящая из корпуса, в котором расположены электрически последовательно соединенные между собой силовыми шинами аккумуляторы и байпасные устройства, содержащие зарядные и разрядные диоды. Байпасные устройства выполнены в виде цилиндров с размещенными в них бескорпусными разрядными и зарядными диодами и заполнены теплопроводящим материалом, при этом цилиндры установлены в корпусе батареи и закреплены на нем посредством фланцев.
Недостатком прототипа является достаточно высокое тепловое сопротивление между корпусом НВАБ и цилиндрическим корпусом БУ, обусловленное наличием зазора между корпусом НВАБ и БУ, что не позволяет повышать мощность БУ вследствие перегрева.
Признаки прототипа, общие с предлагаемой НВАБ, следующие:
– корпус, в котором расположены электрически последовательно соединенные между собой силовыми шинами аккумуляторы;
– байпасные устройства с размещенными в них бескорпусными разрядными и зарядными диодами заполнены теплопроводящим материалом;
– защита от воздействия специальных факторов осуществляется корпусом НВАБ.
Технический результат, достигаемый в предлагаемой НВАБ, заключается в повышении надежности и возможности повышения мощности БУ за счет минимизации теплового сопротивления между корпусом БУ и корпусом НВАБ.
Достигается это тем, что в НВАБ, состоящая из корпуса, в котором расположены электрически последовательно соединенные между собой силовыми шинами аккумуляторы, байпасные устройства с размещенными в них бескорпусными разрядными и зарядными диодами, заполненные теплопроводящим материалом, байпасное устройство выполнено в виде усеченного конуса, на торце которого имеется резьба для крепления к корпусу никель-водородной аккумуляторной батареи, в результате чего корпус байпасного устройства соединяется с корпусом НВАБ по сопрягаемой конической поверхности, что минимизирует тепловое сопротивление вследствие отсутствия зазора.
Отличительный признак, обуславливающий соответствие предлагаемой НВАБ критерию «новизна», следующий:
– байпасное устройство выполнено в виде усеченного конуса, на торце которого имеется резьба для крепления к корпусу НВАБ.
Для обоснования соответствия предлагаемой НВАБ критерию «изобретательский уровень» был проведен анализ известных решений по литературным источникам. Отличительных признаков заявляемого решения в литературных источниках не обнаружено, поэтому, по мнению авторов, предлагаемая конструкция НВАБ соответствует критерию «изобретательский уровень».
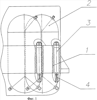
Конструкция предлагаемой НВАБ изображена на фиг.1 и фиг.2.
Предлагаемая НВАБ (фиг.1) состоит из следующих частей: корпуса 1, последовательно соединенных НВА 2, байпасного устройства 3 и силовых шин 4.
Корпус 1 предназначен для объединения в нем всех составных частей в единое целое, обеспечения теплопередачи от НВА и БУ в процессе заряда/разряда НВАБ.
Последовательно соединенные НВА 2 предназначены для аккумулирования электрической энергии.
БУ 3 предназначены для парирования отказа НВА.
Силовые шины 4 предназначены для электрического соединения НВА 2 и БУ 3.
Байпасное устройство (фиг.2) состоит из следующих частей:
– корпус 5;
– бескорпусные диоды зарядной цепи 6;
– бескорпусные диоды разрядной цепи 7;
– силовые шины 4.
Пример конкретного выполнения предлагаемой НВАБ.
Корпус БУ 3 предназначен для объединения в нем всех составных частей в единое целое, обеспечения теплопередачи от бескорпусных диодов к корпусу НВАБ 1 в процессе заряда/разряда НВАБ.
Конструктивно корпус БУ 3 выполнен из алюминиевого сплава в виде конуса с размерами, определяемыми величиной межаккумуляторного пространства, и теплосъем осуществляется по сопрягаемым коническим поверхностям с отсутствием зазора между БУ 3 и корпусом НВАБ 1. На боковой поверхности имеются площадки для установки бескорпусных диодов 6, 7. Для крепления БУ 3 в корпусе НВАБ 1 на торце конуса выполнена резьба.
Формула изобретения
Никель-водородная аккумуляторная батарея, состоящая из корпуса, в котором расположены электрически последовательно соединенные между собой силовыми шинами аккумуляторы, а также байпасные устройства с размещенными в них бескорпусными разрядными и зарядными диодами, заполненные теплопроводящим материалом, отличающаяся тем, что байпасные устройства выполнены в виде усеченного конуса, на торце которого имеется резьба для крепления к корпусу никель-водородной аккумуляторной батареи.
РИСУНКИ
|