|
|
(21), (22) Заявка: 2008132670/09, 13.02.2007
(24) Дата начала отсчета срока действия патента:
13.02.2007
(30) Конвенционный приоритет:
15.02.2006 US 60/773,866
(46) Опубликовано: 10.04.2010
(56) Список документов, цитированных в отчете о поиске:
RU 2220479 С2, 11.04.2001. RU 2136082 C1, 27.08.1999. RU 2208269 C1, 10.07.2003. US 6720284 B1, 13.04.2004. GB 1193660 A, 03.06.1970. JP 10-208757 A, 07.08.1998. WO 9743042 A1, 20.11.1997.
(85) Дата перевода заявки PCT на национальную фазу:
15.09.2008
(86) Заявка PCT:
US 2007/004134 20070213
(87) Публикация PCT:
WO 2008/076137 20080626
Адрес для переписки:
105215, Москва, Щелковское ш., 48, стр. 1, а/я 26, Н.А.Рыбиной
|
(72) Автор(ы):
ВУД Томас Е. (US), БРЕЙ Ларри А. (US), БУЦЦЕЛЛАТО Джина М. (US), ДАМТЕ Гезахегн Д. (US), ФАНСЛЕР Дуан Д. (US), ДЖОНС Марвин Е. (US), МУЭЛЛЕР Марк Е. (US)
(73) Патентообладатель(и):
3М ИННОВЕЙТИВ ПРОПЕРТИЗ КОМПАНИ (US)
|
(54) ИЗБИРАТЕЛЬНОЕ ОКИСЛЕНИЕ ОКИСИ УГЛЕРОДА ОТНОСИТЕЛЬНО ВОДОРОДА С ПОМОЩЬЮ КАТАЛИТИЧЕСКИ АКТИВНОГО ЗОЛОТА
(57) Реферат:
Изобретение относится к области электротехники, в частности к топливным элементам, работающим на водородном топливе, в которых для окисления СО может быть использована технология управления или регулирования каталитической активностью золота путем его нанесения на нанопористые подложки, имеющие многодоменную поверхность, в виде массивов сгруппированных наночастиц. Такая подложка может быть изготовлена, например, из наночастиц кристаллической двуокиси титана. В некоторых практических подходах поверхность подложки наночастиц, включенная в каталитическую систему по настоящему изобретению, обеспечивает химические модификации поверхности, которые в значительной степени подавляют способность результирующей каталитической системы окислять водород. При этом система все же легко окисляет СО. Выбирая и (или) изменяя поверхность наночастиц по принципам настоящего изобретения, PROX катализаторы легко изготовляются из материалов, в том числе каталитически активного золота и подложек наночастиц. Кроме того, подложка, выполненная из наночастиц, может быть термически обработана до или после химической модификации, но желательно, до нанесения каталитически активного золота. Улучшенная активность и избирательность окисления СО является техническим результатом изобретения. 3 н.п. и 21 з.п. ф-лы, 4 ил., 41 табл.
Заявление приоритета
Настоящая непредварительная заявка на патент имеет притязания на приоритет по 35 USC §119(е) по предварительной заявке на патент США с номером 60/773,866, поданной 15 февраля 2006 на имя Brey и озаглавленной «Избирательное окисление окиси углерода относительно водорода с помощью каталитически активного золота», причем все содержание упомянутой предварительной заявки на патент включено сюда посредством ссылки.
Область техники, к которой относится изобретение
Настоящее изобретение относится к наноструктурным каталитическим системам на основе золота, используемым для избирательного окисления окиси углерода в присутствии водорода. Результирующие очищенные потоки могут быть использованы в качестве исходного материала для приборов, чувствительных к СО, таких как топливные элементы и тому подобное.
Уровень техники
Электрохимические элементы, в том числе топливные элементы на основе протонообменных мембран, датчики, электролизеры и электрохимические реакторы, известны в технике. Обычно, центральным компонентом такого элемента является мембранное электродное устройство (МЭУ) (МЕА), содержащее два катализирующих электрода, разделенных ионопроводящей мембранной (ИПМ). Топливные элементы, включающие в себя структуру МЭУ, обеспечивающую потенциал для высокой выходной плотности, являются управляемыми при приемлемой температуре и выделяют в основном CO2 и воду. Топливные элементы рассматриваются как потенциальные чистые источники энергии для автомобилей, морских судов, летательных аппаратов, портативных электронных устройств, таких как ноутбуки и сотовые телефоны, игрушек, инструментов и оборудования, космических аппаратов, зданий, их компонентов и тому подобного. Когда МЭУ топливного элемента включает в себя центральную полимерную мембрану, топливный элемент можно отнести к полимерному электролитному топливному элементу (ПЭТЭ) (PEFC). Примеры МЭУ и их использование в топливных элементах описаны, кроме того, в патентах США  6,756,146, 6,749,713, 6,238.534, 6,183,668, 6,042,959, 5,879,828 и 5,910,378.
В топливных элементах водородный газ или топливный газ, включающий в себя водород, подается на топливный электрод (анод), а кислород или газ, такой как воздух, включающий в себя кислород, подается на электрод окислителя (катод). Водород окисляется, в результате чего генерируется электричество. Обычно на одном электроде или как на аноде, так и на катоде используются катализаторы, чтобы способствовать этой реакции. Обычные электродные катализаторы включают в себя платину, либо платина используется в сочетании с одним или несколькими катализаторами из палладия, родия, индия, рутения, осмия, золота, вольфрама, хрома, марганца, железа, кобальта, никеля, меди, их сплавами или интерметаллическими соединениями, их комбинациями и тому подобным.
Водород, используемый топливным элементом, может быть получен путем преобразования одного или нескольких топлив, содержащих водород, например спирта или углеводорода. Примеры процессов риформинга включают в себя паровой риформинг, автотермический риформинг и риформинг частичным окислением. В идеале, продукты риформинга включали бы только водород и двуокись углерода. В реальной практике окись углерода также является побочным продуктом риформинга, и зачастую присутствуют также вода и азот. В качестве примера, обычный риформинговый газ может включать в себя от 45 до 75 объемных процентов водорода, от 15 до 25 объемных процентов двуокиси углерода, вплоть до от 3 до примерно 5 объемных процентов воды, вплоть до от 3 до примерно 5 объемных процентов азота и от 0,5 до 2 объемных процентов окиси углерода. Окись углерода имеет тенденцию портить платиновый катализатор, используемый в топливных элементах, значительно снижая выход топливного элемента.
Для того чтобы избежать порчи катализатора, желательно уменьшить содержание СО риформингового газа до не более чем от примерно 10 частей на миллион до примерно 100 частей на миллион. Однако низкая точка кипения и высокая критическая температура СО делают его удаление при помощи физической адсорбции очень сложным, особенно при комнатной температуре.
Один осуществимый способ удаления окиси углерода из риформингового газа в общем случае включил в себя использование каталитической системы, которая избирательно окисляет СО относительно водорода, преобразуя СО в двуокись углерода [СО+1/2О2=>СО2].
После этого каталитического преобразования риформинговый газ может подаваться непосредственно в топливный элемент, поскольку образованная двуокись углерода гораздо менее вредна для катализатора топливного элемента, например платины. Процесс избирательного окисления СО относительно водорода известен как избирательное окисление или предпочтительное окисление (PROX) и является весьма активной областью исследования. Желательные характеристики такого катализатора описаны Park et al. [Journal of Power Sources 132 (2004) 18-28] как включающие в себя следующее:
(1) высокая активность окисления СО при низких температурах;
(2) хорошая избирательность по отношению к нежелательному окислению Н2;
(3) широкое температурное окно для более чем 99% преобразования СО; и
(4) допустимая доза присутствия СО2 и Н2О в исходном материале.
Активность окисления СО может быть выражена как процентное преобразование СО (Хсо) и рассчитывается следующим образом:
 .
Хорошие PROX катализаторы являются как высоко активными, так и высоко избирательными. Избирательность по отношению к СО(SCO) определяется как отношение O2, использованного для окисления СО до полного потребления O2. SCO рассчитывается как процентное отношение следующим образом:
.
Другим важным параметром является стехиометрический коэффициент избытка кислорода , где =2*[O2]/[СО]. Когда =1, это означает, что кислород присутствует в стехиометрическом количестве для полного окисления СО. Когда >1, это соответствует избытку кислорода по отношению к требуемому для полного окисления СО. Предпочтительно, при работе топливного элемента поддерживать как можно меньше, но при поддержании >99,5% преобразования СО. Это минимизирует разбавление водородного топлива и обычно максимизирует избирательность катализатора PROX.
Значительные усилия приложены в промышленности для того, чтобы разработать подходящий катализатор, способный к избирательному окислению такого рода. Встает много важных трудных проблем. Одной из этих проблем является то, что многие обычные катализаторы СО имеют недостаточную активность и (или) избирательность при приемлемых условиях эксплуатации. Например, многие катализаторы окисления СО активны только при температурах 150°С или выше, где избирательность может быть недостаточной. Это означает, что окисляется не только окись углерода, но также водород [Н2+1/2О2=>Н2О], вымывая водородное топливо. Даже если катализатор, работающий при таких высоких температурах, проявляет некоторую степень избирательности, каталитически обработанный газ может быть придется охлаждать до того, как газ подается на топливный элемент.
Было бы более желательно иметь избирательный катализатор СО, который работает при низких температурах, например ниже примерно 70°С, или даже ниже примерно 40°С, или даже более желательно при комнатной температуре или ниже. Однако очень мало катализаторов окисления СО активны и (или) избирательны при таких низких температурах. Это справедливо, даже если термодинамически способствовать окислению СО2. Дополнительно, некоторые катализаторы повреждаются или иным способом подавляются в присутствии CO2 и (или) воды, которые оба обычно присутствуют в преобразованном газе. Другие катализаторы ограничены коротким сроком службы и (или) сроком хранения.
Большинство из предложенных катализаторов для избирательного окисления окиси углерода в потоках, обогащенных водородом, являются металлами платиновой группы (особенно Pt, Rh, Ru и Ir) на алюмооксидных подложках. Катализаторы Pt на подложках проявляют максимальную активность для окисления СО при примерно 200°С с хорошей избирательностью в диапазоне 40-60%. Высокая степень преобразования при низких температурах требует больше кислорода в исходном материале (высокая ). Это еще больше снижает избирательность.
Отчет Cominos et al. [Catalysis Today 110 (2005) 140-153] описывает катализатор Pt-Rh на -окиси алюминия, который был способен снижать 1,12% СО до 10 частей на миллион в одноступенчатом реакторе при 140-160°С с входным отношением кислорода к окиси углерода 4 ( =8). Однако избирательность при таких условиях была только 12,5%, что приводит к большой потере водородного топлива.
Активность при низкой температуре может быть улучшена при помощи подложек из двуокиси титана, двуокиси церия или двуокиси церия-двуокиси циркония либо путем активирования обычными металлами, такими как кобальт или железо; но избирательность обычно менее 50%.
В отсутствие H2O и СО2 катализаторы обычных металлов, такие как CuO-СеО2, показали активность для PROX по меньшей мере такую же, как и платиновая группа металлов на подложке и значительно большую избирательность. Однако на эти катализаторы неблагоприятно воздействует присутствие СО2 и Н2О в преобразованном газовом потоке [Bae et al., Catalysis Communications 6 (2005) 507-511]. Этот эффект зачастую довольно значителен. Активность катализатора может быть восстановлена при работе при более высокой температуре, но это уменьшает избирательность.
Наблюдалось, что нанозолото на окиси железе может быть сделано активным для избирательного окисления СО. См., например, Landon et al. (2005) Chem. Commun., “Selective Oxidation of CO in the presence of H2, H2O, and CO2 Via Gold For Use In Fuel Cells”, 3385-3387.
При температурах окружающей среды или температурах субокружающей среды лучшие золотые катализаторы гораздо более активны для окисления СО, чем большинство известных активных популярных катализаторов на металле платиновой группы. Золото также значительно дешевле платины. Каталитически активное золото, однако, значительно отличается от катализаторов на металле платиновой группы, обсуждаемых выше. Стандартные методы, используемые при приготовлении катализаторов на металле платиновой группы на подложке, дают неактивные катализаторы окисления СО, когда они применяются к золоту. Поэтому разработаны различные способы для нанесения мелкоизмельченного золота на различные подложки. Даже при этих условиях трудно воспроизводимо приготовить высоко активные катализаторы золота. Увеличить масштаб от приготовления в маленькой лаборатории до больших партий также оказалось сложным.
Эти технически сложные задачи значительно затруднили промышленное применение катализаторов из золота. Это досадно, так как очень высокие активности катализаторов из золота для окисления СО при температурах окружающей среды и субокружающей среды, и их устойчивость к высоким концентрациям водяного пара делает их в других отношениях сильными кандидатами для использования в приложениях, в которых было бы желательно окисление СО.
Так как ультрамелкие частицы золота в общем случае очень подвижны и обладают большими поверхностными энергиями, ультрамелкие частицы золота склонны легко спекаться. Эта склонность к спеканию делает трудным обращение с ультрамелким золотом. Спекание также является нежелательным, поскольку активность катализатора из золота стремится уменьшаться по мере того, как увеличиваются размеры его частиц. Эта проблема относительно уникальна для золота и гораздо меньше для других благородных металлов, таких как платина (Pt) и палладий (Pd). Таким образом, желательно разработать способы для нанесения и фиксации ультрамелких частиц золота на подложке в однородно распределенном состоянии.
Известные способы нанесения каталитически активного золота на различные подложки недавно обобщены в работе Bond и Thompson (G.С.Bond and David T. Thompson, Gold Bulletin, 2000, 33(2) 41) как включающие (i) соосаждение, в котором подложка и предшественники (продукты предшествующей стадии реакции) золота выводятся из раствора возможно в виде гидроксидов, путем добавления основания, такого как карбонат натрия; (ii) нанесение-осаждение, в котором предшественник золота осаждается на суспензию предварительно сформированной подложки при помощи увеличения pH, и (iii) способ Ивасава (Iwasawa), в котором комплекс золото-фосфин (к примеру, [Au(PPh3)]NO3) заставляют вступать в реакцию с только что нанесенным предшественником подложки. Другие процедуры, такие как использование коллоидов, привитая сополимеризация и вакуумное осаждение, встретились с различной степенью успеха.
Эти способы, однако, страдают от сложностей, описанных надлежащим образом Wolf и Schüth, Applied Catalysis A: General, 2002, 226 (1-2) 1-13 (здесь и далее статья Wolf et al.). В статье Wolf et al. утверждается, что «хотя это редко высказывается в публикациях, общеизвестно, что воспроизводимость высокоактивных катализаторов из золота обычно очень низка». Причины, приведенные для этой проблемы воспроизводимости с использованием этих способов, включают в себя сложность в управлении размером частиц золота, порчу катализатора ионами, такими как Cl, неспособность этих способов управлять нанесением наноразмерных частиц золота, потерю активного золота в порах подложки, необходимость в некоторых случаях термических обработок, чтобы активировать катализатор, инактивацию некоторых каталитических сайтов термической обработкой, отсутствие управления состоянием окисления золота и неоднородную природу гидролиза золотых растворов за счет добавления основания.
Золото сулит большой потенциал как катализатор, но трудности, связанные с обращением с каталитически активным золотом, серьезно ограничили развитие коммерчески выполнимых, основанных на золоте каталитических систем.
Патентная публикация Германии 10030637 описывает использование способов PVD (термовакуумное осаждение из паровой фазы) для нанесения золота на материал подложки. Материалами подложки, описанными в этом документе, однако, являются только керамические титанаты, изготовленные при условиях, в которых в подложке отсутствовала бы нанопористость. Таким образом, этот документ не указывает на важность использования нанопористой подложки, чтобы поддержать каталитически активное золото, нанесенное с использованием способов PVD. Международные заявки WO 99/47726 и WO 97/43042 приводят список материалов подложек, каталитически активных металлов и (или) способов для нанесения каталитически активных металлов на материалы подложки. Эти два документа, однако, также не оценивают преимуществ использования нанопористых подложек в качестве подложки для каталитически активного золота, осажденного при помощи PVD. На самом деле, WO 99/47726 приводит много предпочтительных подложек, которые лишены нанопористости.
Относительно недавно очень эффективные гетерогенные каталитические системы и связанные с ними методологии, использующие каталитически активное золото, описаны в находящейся на рассмотрении патентной заявке США 10/948,012, имеющей реестровый поверенного 58905US003, озаглавленной «Катализаторы, активаторы, материалы подложек и связанные с ними методологии, пригодные для изготовления каталитических систем, особенно когда катализатор осаждается на материал подложки из паровой фазы», на имя Larry Brey et al., поданной 23 сентября 2004; и в предварительной заявке на патент США с предварительным 60/641,357, имеющей реестровый номер поверенного 60028US002, озаглавленной «Гетерогенные композитные углеродистые каталитические системы и способы, которые используют каталитически активное золото», на имя Larry Brey, поданной 4 января 2005. Соответствующие содержания этих двух находящихся на рассмотрении заявок на патент включены сюда посредством ссылки. Каталитические системы, описанные в этих заявках на патент, обеспечивают превосходные каталитические характеристики по отношению к окислению СО.
Двуокись титана, которая является пористой и (или) наноразмерной, очень желательна в качестве подложки для ряда каталитических процессов, в том числе процессов, включающих в себя каталитически активное золото. Наноразмерная двуокись титана может быть легко приготовлена при помощи гидролиза алкооксидов титана, гидролиза солей титана и при помощи окисления газовой фазы летучих составов титана. Таким образом, наноразмерная двуокись титана доступна для приобретения по разумной стоимости. Помимо этого, двуокись титана в наноразмерном виде может быть легко распределена в воде или других растворителях для нанесения на другие подложки и частицы подложек и может быть обеспечена в качестве покрытия на множество подложек в нанопористом виде.
Помимо своей доступности в нанопористом и наноразмерном виде, двуокись титана имеет поверхностные свойства, которые отвечают за сильные каталитические эффекты. Двуокись титана общеизвестна своей способностью образовывать частично восстановленные поверхностные структуры, содержащие дефектные сайты, такие как вакантные места анионов кислорода. Высокая плотность вакансий анионов кислорода обеспечивает сайты для адсорбции кислорода, и показано, что адсорбированный кислород является мобильным на двуокиси титана, что обеспечивает кислороду перенос на активные сайты окисления на катализаторе, содержащем металлические частицы, восстановленные на двуокиси титана (Xueyuan Wu, Annabella Selloni, Michele Lazzeri, and Saroj K. Nayak, Phys. Rev. В 68, 241402(R), 2003). Помимо помощи в переносе кислорода, известно, что поверхностные вакансии помогают стабилизировать частицы нанозолота от деактивации посредством спекания и таким образом помогают в возможности генерирования высокодисперсного, каталитически активного золота на катализаторе из двуокиси титана. Обнаружено что двуокись титана является превосходной подложкой для нанозолота в высокоактивных катализаторах окисления СО и для катализаторов, используемых для прямого эпоксидирования пропилена (Т. Alexander Nijhuis, Tom Visser, and Bert M. Weckhuysen, J. Phys. Chem. В 2005, 109,19309-19319).
Нанозолото на различных подложках, включая двуокись титана, предложено использовать в качестве PROX катализатора. Хотя изучен ряд способов, успешная организация поточного производства PROX катализаторов, использующих этот подход, не появилась. Анализ ситуации приведен в работе Yu et al. (Wen-Yueh Yu, Chien-Pang Yang, Jiunn-Nan Lin, Chien-Nan Kuo and Ben-Zu Wan, Chem. Commun., 2005, 354-356):
«В нескольких сообщениях в литературе описано предпочтительное окисление СО в богатом Н2 потоке по сравнению с золотом, нанесенным на TiO2. Среди них Haruta et al. использовали способ нанесения-осаждения (DP), Choudhary et al. использовали способ привитой сополимеризации, Schubert et al. и Schumacher et al. использовали импрегнацию и DP способы для приготовления золота на подложке. Из их данных видно, что только часть СО в подводимом потоке была избирательно окислена до СО2, и ни одна из каталитических систем не могла достичь близкого к ожидаемому 100% преобразованию».
PROX катализаторы, содержащие золото на наночастичной двуокиси титана, описаны Yu et al. в вышеупомянутой статье. Но эта работа не раскрывала способ, при помощи которого двуокись титана может быть модифицирована, для того чтобы показать превосходную активность PROX. В результате, материалы Yu et al. показали сильную избирательность к двуокиси углерода и влаге. Избирательность была очень чувствительна к изменениям температуры и содержания кислорода и требуемую скорость пришлось уменьшить, для того чтобы достичь умеренных PROX характеристик.
Mallick и Scurrell (Kaushik Mallick and Mike S. Scurrell, Applied Catalysis A, General 253 (2003) 527-536) сообщали, что модификация подложек наночастиц двуокиси титана, используемых для подложек нанозолота, путем гидролиза цинка на наночастицы двуокиси титана, чтобы образовать наночастицы двуокиси титана, покрытые окисью цинка, вызывала уменьшенную каталитическую активность для окисления СО. Количество оксида цинка, представленное в этой работе, однако, было чрезмерным по сравнению с требуемыми уровнями, как показано здесь. Работа также не раскрыла улучшенные PROX материалы, которые могли бы быть приготовлены, как показано здесь.
Однако обнаружено, что нанозолото на частицах нанопористой двуокиси титана является действенным катализатором для реакции водорода с кислородом. Например, Landon et al. (Philip Landon, Paul J. Collier, Adam J. Papworth, Christopher J. Kiely, and Graham J. Hutchings, Chem. Commun. 2002, 2058-2059) показали, что каталитически активное золото на двуокиси титана может быть использовано для прямого синтеза перекиси водорода из H2 и О2. Эта высокая активность для окисления водорода, по-видимому, сделала бы системы, включающие в себя каталитически активное золото, нанесенное на нанопористые подложки из двуокиси титана, не пригодными для PROX применений. В PROX применениях каталитическая система желательно окисляет СО, избегая в то же время окисления водорода. Таким образом, в то время как золото на двуокиси титана исследовано как PROX катализатор, промышленный успех для этого применения неясен.
Следовательно, все еще желательны усовершенствования для PROX катализаторов. В особенности желательно обеспечить каталитические системы, которые демонстрируют улучшенную активность и избирательность для окисления СО в присутствии водорода. Было бы также желательно обеспечить каталитические системы, которые относительно нечувствительны к присутствию двуокиси углерода и воды. Такие каталитические системы были бы очень полезны для удаления СО из риформингового водорода.
Сущность изобретения
Настоящее изобретение обеспечивает технологию для управления или регулирования каталитической активностью золота, обеспеченного на нанопористых подложках, таких как подложки, полученные из наночастиц двуокиси титана. Обнаружено, что природа поверхности наночастиц, используемых для того, чтобы нанести нанометаллический катализатор, такой как каталитически активное золото, оказывает сильный эффект на каталитические свойства нанесенного катализатора. Особенно с некоторых практических точек зрения поверхность вещества наночастиц, включенная в каталитическую систему по настоящему изобретению, обеспечивается химическими модификациями этой поверхности, которые значительно подавляют способность результирующей каталитической системы окислять водород. Тем не менее, система по-прежнему легко окисляет СО.
Другими словами, путем выбора и (или) изменения поверхности наночастиц посредством принципов настоящего изобретения PROX катализаторы легко изготовляются из материалов, включающих в себя каталитически активное золото и вещество наночастиц. В добавление к таким химическим модификациям подложка из наночастиц также может быть опционально термически обработана, чтобы дополнительно улучшить избирательность для окисления СО по отношению к водороду. Такие термические обработки могут происходить до и после химической модификации, но желательно, чтобы они происходили до нанесения каталитически активного золота на подложку, включающую наночастицы.
Настоящее изобретение желательно использует методы термовакуумного осаждения из паровой фазы (PVD), чтобы нанести золото на подложку, включающую в себя наночастицы, поскольку методы PVD облегчают поддержание поверхностных характеристик подложки, на которую наносится золото. Также наблюдали, что каталитически активный металл, такой как золото, становится активным сразу, когда он нанесен посредством PVD. Нет необходимости нагревать систему после нанесения золота, как в случае с некоторыми другими методиками, хотя такая обработка нагревом может практиковаться при желании. Вдобавок к этому, золото является каталитически высоко активным в течение относительно длительного времени по отношению к окислению СО, хотя оно стремится быть нанесенным только рядом с поверхностью материала подложки при использовании PVD для нанесения золота.
Для применений PROX каталитическая система по настоящему изобретению имеет высокую активность окисления СО по отношению к водороду. Например, в одном варианте осуществления каталитическая система эффективно удаляла СО из газа, имеющего состав риформингового водородного газа, т.е. газа, богатого водородом и также содержащего примерно от 1 до 2 объемных процентов СО. Содержание СО было уменьшено до уровней ниже уровня обнаружения средств мониторинга, т.е. ниже 10 частей на миллион и даже ниже 1 части на миллион, несмотря на то, что потреблялось незначительное количество водорода.
PROX каталитическая система работает в широком диапазоне температур, включая более низкие температуры, чем те, которые связаны с другими ранее известными катализаторами, предложенными для избирательного окисления СО. Например, иллюстративные варианты осуществления настоящего изобретения показывают окислительную активность для СО при относительно низких температурах, например температурах ниже примерно 70°С, и даже ниже примерно от 40°С до 50°С. Некоторые варианты осуществления могут функционировать при температуре окружающей среды или ниже температуры окружающей среды с превосходной избирательностью к окислению СО по отношению к водороду, включая температуры в диапазоне от примерно 22°С до примерно 27°С и даже гораздо прохладнее (к примеру, менее 5°С).
PROX каталитические системы также могут работать при повышенных температурах. Например, иллюстративные варианты осуществления настоящего изобретения показывают высокую избирательность, например более 65%, для окисления СО в газах, содержащих водород при температурах выше 60°С и даже выше 85°С.
Характерные варианты осуществления PROX каталитической системы относительно нечувствительны как к влаге, так и к СО2. Это позволяет использовать настоящее изобретение для окисления СО в риформинговом водороде, который часто содержит CO2 и воду. Каталитическая система очень стабильна, имеет длительный срок хранения и обеспечивает высокие уровни каталитической активности для продолжительных периодов времени. Следовательно, настоящее изобретение является весьма полезным в PROX реакциях для удаления СО из риформингового водорода, чтобы быть использованным в работе топливного элемента или другого чувствительного к СО устройства. Эти каталитические системы также эффективны во влажных средах и работают в широком температурном диапазоне, включая комнатную температуру (к примеру, от примерно 22°С до примерно 27°С) и гораздо прохладнее (к примеру, менее 5°С).
PROX каталитическая система по настоящему изобретению также демонстрирует исключительную активность даже тогда, когда сталкивается с высокими скоростями потока газа, загрязненного СО. Проблемы СО при уровнях 1 объемного % СО или даже 2 объемных % СО или выше устраняются при помощи PROX каталитической системы до уровней ниже 10 частей на миллион и даже ниже 1 части на миллион СО при избирательностях СО/Н2 выше 90% и даже при избирательностях выше 95%, протестированных при больших скоростях потока выше 2,600,000 мл ч-1г-Au-1, даже выше 5,000,000 мл ч-1г-Au-1 и даже выше 10,000,000 мл ч-1г-Au-1 в присутствии 20 объемных % СО2, 30 объемных % CO2 или даже выше, как измерено при температуре и давлении окружающей среды.
Один особый вариант осуществления нанопористой подложки, включающей в себя такую модификацию, включает в себя наночастицы двуокиси титана, которые включают один или несколько дополнительных видов металл-оксо содержания рядом с поверхностями частиц. В дополнение к дополнительному металл-оксо содержанию двуокись титана желательно термически обработана, чтобы дополнительно улучшить работу PROX. Сделать эффективные PROX катализаторы из золота и двуокиси титана было трудной для достижения целью. Считается, что значительная часть работы до настоящего времени в этой области не имела успеха из-за неспособности многих обычных процессов обеспечить управляемое изучение эффекта изменений в природе поверхностей наночастиц на каталитические свойства нанесенного на них золота. Эта неспособность проявляется, по меньшей мере, частично потому, что многие обычные процессы, используемые для того, чтобы образовать каталитически активные катализаторы золота, не использовали методов PVD для нанесения золота. Вместо этого такие процессы включали в себя, например, гидролизующие растворы, содержащие золотосодержащий хлорид или тому подобное, так что золото наносилось на частицы либо подаваемые в процесс или сформированные в нем. За таким нанесением часто следовала термическая обработка, чтобы попытаться изменить как золото, так и взаимодействие золото-подложка. Из-за изменяющихся условий нанесения и непостоянных результатов такого процесса систематические изменения в поверхности подложки и во взаимодействии подложка-золото оказались особенно важными.
За счет использования методов термического осаждения из паровой фазы для того, чтобы нанести каталитически активное золото на двуокись титана, легко оценить влияние модификации поверхности подложки двуокиси титана на каталитическую активность. Использование методов PVD для нанесения каталитически активного золота на различные подложки, в том числе двуокись титана, описано в находящейся на рассмотрении заявке на патент США 10/948,012 с реестровым номером поверенного 58905US003, озаглавленной «Катализаторы, активаторы, материалы подложек и связанные с ними методики, пригодные для изготовления каталитических систем, особенно когда катализатор осаждается на материал подложки с помощью физического осаждения из паровой фазы», на имя Larry Brey et al., поданной 23 сентября 2004, содержание которой включено сюда посредством ссылки для всех целей.
Для PROX и других аспектов изобретения золото наносится на наноструктурные частицы подложки после того, как имеется желательная модификация поверхности. В некоторых случаях принципы изобретения могут быть использованы для отбора серийно выпускаемых подложек из наночастиц, имеющих желательные характеристики поверхности. В других случаях принципы изобретения могут быть использованы для должной настройки подложки, чтобы результирующий катализатор имел желательную активность. Эти наноструктурированные частицы подложки в свою очередь могут быть дополнительно нанесены на, или иначе, включены в большое разнообразие относительно больших исходных структур и материалов.
В одном объекте настоящее изобретение относится к системе для выработки электричества, содержащей:
каталитический сосуд, удерживающий каталитическую систему, содержащую каталитически активное золото, нанесенное на подложку, причем упомянутая подложка содержит множество наночастиц, которые имеют многодоменную поверхность и присутствуют в подложке в виде массивов сгруппированных наночастиц, на которые наносится каталитически активное золото;
источник газоснабжения, связанный по текучей среде с впускным отверстием каталитического сосуда, причем упомянутое газоснабжение содержит СО и водород; и
гальванический элемент, находящийся ниже по потоку от выпускного отверстия каталитического сосуда и связанный по текучей среде с этим выпускным отверстием.
В другом объекте настоящее изобретение относится к системе для выработки электричества, содержащей:
каталитический сосуд, удерживающий каталитическую систему, содержащую каталитически активное золото, нанесенное на подложку, причем упомянутая подложка содержит множество наночастиц двуокиси титана, которые имеют многодоменную поверхность и присутствуют в подложке как массивы сгруппированных наночастиц, на которые нанесено каталитически активное золото, причем упомянутая двуокись титана является, по меньшей мере частично, кристаллической;
источник газоснабжения, связанный по текучей среде с впускным отверстием каталитического сосуда, причем упомянутая газоснабжение содержит СО и водород; и
гальванический элемент, находящийся ниже по потоку от выпускного отверстия каталитического сосуда и связанный по текучей среде с этим выпускным отверстием.
В другом объекте настоящее изобретение относится к системе для избирательного окисления СО относительно водорода, содержащей:
каталитический сосуд, удерживающий каталитическую систему, содержащую каталитически активное золото, нанесенное на подложку, причем упомянутая подложка включает в себя множество наночастиц, которые имеют многодоменную поверхность и присутствуют в подложке как массивы сгруппированных наночастиц, на которые нанесено каталитически активное золото; и
источник газоснабжения, связанный по текучей среде с впускным отверстием каталитического сосуда, причем упомянутое газоснабжение содержит СО и водород.
В другом объекте настоящее изобретение относится к системе для избирательного окисления СО относительно водорода, содержащей каталитически активное золото, нанесенное на подложку, причем упомянутая подложка содержит множество наночастиц, которые имеют многодоменную поверхность и присутствуют как массивы сгруппированных наночастиц, на которые нанесено каталитически активное золото.
В другом объекте настоящее изобретение относится к способу изготовления каталитической системы, содержащему этап, на котором используют методы термического осаждения из паровой фазы для нанесения каталитически активного золота на подложку, причем упомянутая подложка содержит множество наночастиц, которые имеют многодоменную поверхность и присутствуют как массивы сгруппированных наночастиц, на которые нанесено каталитически активное золото.
В другом объекте настоящее изобретение относится к способу выработки электричества, содержащему этапы, на которых:
обеспечивают контактирование текучей смеси, содержащей газы СО и водород, с каталитической системой, содержащей каталитически активное золото, нанесенное на подложку, причем упомянутая подложка включает в себя множество наночастиц, которые имеют многодоменную поверхность и присутствуют в подложке как массивы сгруппированных наночастиц, на которые нанесено каталитически активное золото; и
после осуществления контактирования газа с каталитической системой используют газ для создания электричества.
В другом объекте настоящее изобретение относится к способу приготовления катализатора, содержащему этапы, на которых:
обеспечивают множество наночастиц окисла металла;
гидролизируют материал, содержащий второй металл, на наночастицах окисла металла при условиях, эффективных для образования композитных частиц, содержащих, по меньшей мере, первую и вторую композиционно различные домены металл-кислород;
встраивают композитные частицы в каталитическую подложку, в которой эти композитные частицы присутствуют по меньшей мере на части поверхности подложки как массивы сгруппированных частиц; и
физически осаждают из паровой фазы каталитически активное золото на композитные частицы.
В другом объекте настоящее изобретение относится к способу изготовления каталитической системы, содержащему этапы, на которых:
получают информацию, указывающую на то, как подложка реагирует с перекисью; и используют эту информацию для изготовления каталитической системы, содержащей каталитически активное золото, нанесенное на подложку.
Краткое описание чертежей
Фиг.1 является условным видом в перспективе устройства для выполнения процесса PVD для нанесения каталитически активного золота на подложку.
Фиг.2 представляет собой условный вид сбоку устройства по Фиг.1.
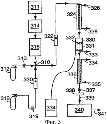
Фиг.3 условно показывает тестовую систему, используемую для тестирования каталитических образцов на PROX активность и избирательность.
Фиг.4 представляет собой условную схему PROX каталитической системы по изобретению, которая перемещает СО из сырья для промышленности в топливный элемент, применимый для выработки электричества, который будет использоваться, например, портативным электронным устройством.
Подробное описание
Варианты осуществления настоящего изобретения, описанные ниже, не предназначены быть исчерпывающими или ограничивающими данное изобретение точными формами, раскрытыми в нижеследующем подробном описании. Вместо этого данные варианты осуществления выбраны и описаны так, чтобы специалисты могли оценить и понять принципы и реализации настоящего изобретения. Все патенты, опубликованные заявки, другие публикации и находящиеся на рассмотрении заявки на патент, процитированные здесь, включены сюда посредством ссылки во всей их полноте для всех целей.
Обнаружили, что природа поверхностей нанопористой подложки, используемой для каталитически активных материалов, таких как золото, оказывает сильное влияние на каталитические свойства наносимого каталитически активного материала. Далее обнаружили, что можно избирательно изменять природу поверхности подложки таким образом, чтобы регулировать каталитическую избирательность для окисления СО относительно водорода.
PROX катализаторы по настоящему изобретению составлены из каталитически активного золота, имеющегося на одном или нескольких нанопористых многодоменных материалах подложки. Предпочтительно, нанопористый многодоменный материал подложки получен из ингредиентов, включающих в себя материал наночастиц, опционально далее нанесенный на больший исходный материал(ы). Обнаружили, что поверхностное нанесение/покрытие каталитически активного металла на наноразмерный рельеф подложек, образованных из таких материалов наночастиц, обеспечивает PROX каталитические системы с превосходной производительностью. В случае золота, например, оказывается, что эти наноразмерные свойства помогают зафиксировать золото, предотвращая накопление золота, которое может в противном случае привести к нарушению работы. Помимо того, многодоменные характеристики обеспечивают результирующий катализатор с PROX избирательностью.
Вещества наночастиц, используемые как, по меньшей мере, один из ингредиентов для формирования нанопористого многодоменного материала подложки, в общем случае имеются в виде наноразмерных частиц с размером частиц порядка примерно 100 нм или меньше, хотя совокупности этих частиц, как они используются в настоящем изобретении, могут быть и больше этого. Как используется здесь, размер частиц относится к наибольшему измерению ширины частиц, если иное не указано явно. Предпочтительные вещества наночастиц содержат очень мелкие частицы, самая большая ширина которых желательно составляет менее 50 нанометров, предпочтительно менее 25 нанометров и наиболее предпочтительно менее 10 нм.
В типичных вариантах осуществления наночастицы сами могут иметь или могут не иметь нанопористость, но они могут группироваться, чтобы образовывать большие нанопористые агрегированные структуры, которые могут дополнительно образовывать еще большие агрегированные массивы. В этих агрегированных структурах и агрегированных массивах нанопоры могут быть образованы по меньшей мере за счет пустот между наночастицами, образующими совокупности. Массивы этих совокупностей в общем случае могут иметь размеры частицы в диапазоне от 0,2 мкм до 3 мкм, более предпочтительно в диапазоне от 0,2 мкм до 1,5 мкм и наиболее предпочтительно в диапазоне от 0,2 мкм до 1,0 мкм. В типичных вариантах осуществления массивы агрегированных частиц дополнительно наносятся на исходный материал, как описано ниже. Особенно полезная структура материалов по настоящему изобретению – это структура, включающая в себя использование агломератов обработанных наночастиц, причем агломераты наночастиц упакованы так, чтобы образовать слои, обладающие многомодальными, например, бимодальными или тримодальными, распределениями пор.
Нанопористые агрегированные структуры и агрегированные массивы, применяемые в настоящем изобретении, могут быть образованы, например, за счет управляемой агрегации золей и дисперсий наночастиц. Управляемая агрегация может быть осуществлена механическим рассеиванием наночастиц в изоэлектрической точке используемых наночастиц или рядом с этой точкой, например в пределах примерно 2 единиц pH. Управляемая агрегация может также быть введена через увеличение ионной силы дисперсной среды или добавлением флокулянтов, как это известно в данной области.
Размер частиц в различных объектах настоящего изобретения может быть измерен любым подходящим образом в соответствии с обычными процедурами, используемыми в настоящее время или в будущем. В соответствии с одним подходом размер частиц может быть определен при проверке информации просвечивающей электронной микроскопии (ПЭМ) (ТЕМ). Наночастицы и полученные из них нанопористые вещества подложек предпочтительно имеют высокую удельную поверхность, как измерено при помощи BET. Удельная поверхность каждого предпочтительно больше примерно 35 м2/г, более предпочтительно больше примерно 100 м2/г, и наиболее предпочтительно больше примерно 250 м2/г, соответственно.
Нанопористость в общем случае означает, что подложка (опционально, частицы) включает в себя поры с шириной примерно 100 нм или меньше, более типично с шириной в диапазоне от примерно 1 нм до примерно 30 нм. Нанопоры можно наблюдать в материале подложки, и соответствующий размер нанопор может быть измерен посредством анализа просвечивающей электронной микроскопии (ПЭМ). Важно отметить, что материалам подложки необходимо только быть нанопористыми в области внешней поверхности подложки, особенно когда золото наносится по линии визирования методами PVD. Предпочтительно, нанопористость распространяется до глубины, равной или большей, чем глубина проникновения атомов золота, нанесенных посредством таких методов PVD.
Нанопористая природа подложки, такой как подложка, содержащая нанопористые агломераты из наночастиц двуокиси титана (причем наночастицы сами по себе могут содержать или могут не содержать нанопористости), может быть охарактеризована таким методом, как описанный в ASTM Standard Practice D 4641-94, в котором изотермы десорбции азота используются для расчета распределения размеров пор катализаторов и каталитических подложек в диапазоне примерно от 1,5 до 100 нм. При использовании этого метода ASTM нанопористые, предпочтительно на основе двуокиси титана, материалы подложек обычно обладают порами в диапазоне от 1 до 100 нм на или рядом с поверхностью подложки. Более характерно, такие материалы подложек могут иметь общий объем нанопор для пор в диапазоне размеров от 1 до 10 нм, что составляет более 20% (т.е. более примерно 0,20 по приведенной ниже формуле), более предпочтительно больше 40% и наиболее предпочтительно более 60% общего объема пор предпочтительного, на основе двуокиси титана, материала подложки в диапазоне от 1 до 100 нм, как рассчитано с использованием нижеследующей формулы с данными, полученными из ASTM D4641-94, вся полнота которых включена сюда посредством ссылки:
,
где NPC относится к объему нанопор, CPvn относится к совокупному объему пор при ширине n пор в см3/г, и n – ширина пор в нанометрах.
Кроме нанопористости материал подложки, полученный из ингредиентов, включающих в себя вещества наночастиц, может дополнительно иметь такие микропористые, мезопористые и (или) макропористые характеристики, как определено в применимых условиях IUPAC Compendium of Chemical Technology, 2d edition (1997).
В предпочтительных вариантах осуществления, в которых наночастицы включают в себя частицы двуокиси титана, эти наночастицы двуокиси титана предпочтительно имеют размер частиц в диапазоне от 3 нм до 35 нм, более предпочтительно в диапазоне от 3 на до 15 нм и наиболее предпочтительно в диапазоне от 3 нм до 8 нм. Наночастицы двуокиси титана могут сами содержать некоторые нанопоры в диапазоне от 1 нм до 5 нм. Типичные агломераты наночастиц двуокиси титана могут включать в себя нанопоры, которые являются очень мелкими и находятся в диапазоне от 1 до 10 нм. Агрегированные структуры будут также стремиться включать в себя далее дополнительные поры, которые больше, т.е. в диапазоне от 10 до 30 нм. Еще большие поры в диапазоне от 30 до 100 нм образуются путем упаковки совокупностей наночастиц в большие массивы. Структуры, образованные из этих совокупностей, могут также стремиться включать в себя даже большие поры, имеющие размер в диапазоне от 0,1 мкм до 2 мкм, более предпочтительно в диапазоне от 0,1 мкм до 1,0 мкм и наиболее предпочтительно в диапазоне от 0,1 мкм до 0,5 мкм.
Материал подложки, образованный из этих агломератов, преимущественно имеет больше пор, присутствующих на уровне от 20 до 70% объема вещества наночастиц, предпочтительно на уровне от 30 до 60% объема вещества наночастиц, и наиболее предпочтительно на уровне от 35 до 50% объема вещества наночастиц. Процент по объему больших пор может быть измерен сканирующей электронной микроскопией (СЭМ) (SEM) и ртутной порозиметрией, как это известно специалистам в данной области.
За счет пор на нескольких уровнях размера можно изготовить очень активные катализаторы, которые как несут на себе очень мелкие частицы золота, так и допускают в то же время свободный доступ к сайтам активного золота при помощи эталонной газовой пробы. Большие поры в этих структурах также особенно важны тем, что позволяют нанести золото в глубину пористой матрицы двуокиси титана посредством способа PVD.
В некоторых применениях использования при высокой влажности может быть предпочтительно оптимизировать размер пор так, чтобы ограничить ингибирующее действие капиллярной конденсации воды. В этом случае может быть желательно увеличить очень маленькие поры путем термической обработки так, чтобы поддерживать высокую удельную поверхность при понижении процентного отношения очень маленьких пор, т.е. пор в диапазоне от 2 нм или меньше. При обработках по настоящему изобретению, использованных для изменения природы поверхности частиц двуокиси титана, удельная поверхность двуокиси титана может увеличиться, остаться той же или до некоторой степени уменьшиться. Предпочтительно, чтобы эти обработки осуществляли это изменение поверхности преимущественно без значительного уменьшения площади поверхности частиц.
Ингредиенты наночастиц, используемые для образования материала подложки по настоящему изобретению, могут быть сами по себе нанопористыми. Альтернативно, наночастицы могут быть непористыми в исходном виде, но могут быть сделаны такими, чтобы обладать внешними поверхностями, характеризующимися нанопористостью, путем агрегации, покрытия, химической или термической обработки и (или) тому подобного. Например, характерные методологии включают в себя адсорбцию материала наночастиц, такого как гели и коллоиды наночастичного размера, на поверхности большего исходного материала, чтобы образовать композит с желательной нанопористостью; гидролиз алкоксидов или солей металлов на поверхности материала, чтобы образовать нанопористые материалы; и окисление тонкого покрытия металла, например алюминия, титана, олова, сурьмы или тому подобного, на поверхности материала, чтобы образовать нанопористый материал. В последнем случае тонкие металлические пленки могут быть нанесены способами термического осаждения из паровой фазы, а окисление может быть выполнено сухим или влажным воздухом, чтобы произвести пленку наночастиц на подложке.
В дополнение к нанопористости материал подложки по настоящему изобретению имеет многодоменную поверхность, на которую наносится каталитически активное золото. Многодоменная означает, что поверхность подложки включает в себя два или более композиционно различных домена, по меньшей мере, рядом с поверхностью, на которую наносится золото. Данные показывают, что избирательная каталитическая активность для окисления СО относительно водорода улучшается, когда золото наносится на многодоменную поверхность. Хотя это не подтверждено теорией, считается, что результирующие границы домена на поверхности не только помогают стабилизировать золото, но также блокируют сайты, которые, при активации нанозолотом, участвуют в низкотемпературном окислении водорода. Считается также, что эти границы доменов являются очень высокодисперсными на наношкале, помогая сделать границы эффективными для фиксации наноразмерного каталитически активного золота.
Домены могут быть кристаллическими и (или) аморфными и предпочтительно как можно меньшими. Предпочтительно, чтобы домены были наноразмерными, имеющими размеры в направлении, в общем случае перпендикулярном к поверхности частицы (к примеру, толщина), менее примерно 5 нм, предпочтительно менее примерно 2 нм, более предпочтительно менее примерно 1 нм. Домены могут иметь размеры в направлении, в общем случае параллельном поверхности частицы (к примеру, ширина), приближающиеся к диаметру частицы. Предпочтительно этот размер составляет менее 10 нм, более предпочтительно менее 5 нм и наиболее предпочтительно менее 2 нм.
Домены в общем случае можно различить с помощью ПЭМ анализа, анализа электронной спектроскопии (ЭСС) (XPS), инфракрасного анализа или другими подходящими способами. Так как эти домены чрезвычайно малы, часто используются комбинации аналитических способов. Рентгеновский анализ может быть использован для изучения изменений в материале наночастиц, которые модифицируются настоящими способами, но он часто не может обнаружить нанодомены, которые обеспечиваются настоящими способами.
Чтобы оценить многодоменный характер, ПЭМ анализ обработанных наночастиц может быть выполнен следующим образом. Образцы для ПЭМ исследования подготавливаются путем рассеивания наночастиц в этаноле. Одна капля результирующей разбавленной суспензии частиц помещается на пленку lacey подложки углерод/формвар, нанесенную стандартным ситом 200, медная сетка 3 мм диаметра. Образец позволяют высушить в течение нескольких минут, прежде чем его помещают на устройство ПЭМ. Обработка изображения осуществляется на ПЭМ Hitachi H9000, работающем на 300 кВ. Изображения получаются в цифровом виде при помощи камеры GATAN Ultrascan 894 CCD.
Чтобы осуществить это исследование, частицы, закрепленные на сетке ПЭМ, как описано выше, исследуются при увеличении в 200-500 раз. Предметный столик регулируется так, чтобы обеспечить четкое наблюдение наночастиц, и предметный столик наклонен к оси зоны, чтобы получить четкое наблюдение линий пространственной решетки частиц. Фокус микроскопа регулируется так, чтобы обеспечить резкий фокус в разных областях частицы для тщательного исследования. Исследование должно обеспечить четкий, беспрепятственный вид частей рассматриваемых частиц. В случае изучения кромки для доменной структуры эта кромка не может перекрываться другими частицами или осколками или затемняться другими частицами или материалами, наложенными над ней.
Домены наблюдаются как аберрации линий пространственной решетки, а также как разрыв в этих линиях или изменения в прозрачности ориентированного кристалла по отношению к электронному лучу. Когда используются обработки, как описано здесь, для того чтобы обеспечить многодоменные характеристики, очень полезно сравнить изображения обработанных частиц с изображениями необработанных частиц, чтобы иметь возможность различить наблюдаемые домены и беспорядочные области, обычно обнаруживаемые на этих частицах.
Кроме того, при анализе доменов с использованием ПЭМ кристаллические части выбранной частицы могут освещаться при рассмотрении в режиме темного поля дискретизацией дифрагированных электронов кристаллического домена. Такие методы, как это известно специалистам в данной области ТЕМ, могут быть использованы для того, чтобы обеспечить дополнительную дифференциацию поверхностных доменов так, чтобы дать возможность наблюдения и описания.
Далее, энергорассеивающий рентгеновский микроанализ может быть выполнен на образцах с очень высоким пространственным разрешением, для того чтобы композиционно оценить соответствующие домены. Регулируя разрешение до примерно размера измерений доменов, можно проверять элементный состав конкретной области домена.
Эти виды анализов показывают, что домены, присутствующие на поверхности наночастиц, могут изменяться от очень маленьких, менее 1 нм в ширину, до конформных поверхностных доменов 5 нм в ширину или больше. Большинство доменов очень тонкие, например менее 1 нм в толщину. При наблюдении толщина этих больших доменов может быть от 1 до 3 нм. Нежелательно иметь большие домены, которые начинают образовывать непрерывные покрытия на частицах, поскольку преимущества многодоменного характера и наночастичной природы частиц могут быть чрезмерно уменьшены и (или) утеряны. В случае обработок, включающих в себя гидролиз и окисление железистых продуктов предшествующей стадии в присутствии наночастиц, в добавление к доменам на поверхностных частицах иногда наблюдались игольчатые частицы оксида железа или окси-гидроксида железа.
Исследования электронной спектроскопии (XPS) могут также быть использованы для того, чтобы подтвердить наличие металлических элементов, содержащих множество доменов на поверхностях наночастиц, а также обеспечить информацию относительно состояния окисления поверхности катионами металла. Помимо этого, может быть использован ИК анализ коэффициента диффузного отражения образцов, высушенных для удаления поверхностной воды, чтобы показать изменения в абсорбции из-за поверхностных гидроксильных разновидностей по сравнению с характеристиками абсорбции материнскими частицами, указывающими на присутствие новых гидроксил-функциональных доменов на поверхности частиц.
По отношению к тем вариантам осуществления, в которых наночастицы двуокиси титана обработаны химически и (или) термически, как описано здесь, дифракционный рентгеновский (XRD) анализ термически или химически обработанных наночастиц обеспечивает информацию по идентичности и кристаллическому размеру основных присутствующих кристаллических материалов. Наблюдается, что единственной основной присутствующей кристаллической фазой является либо анатаз, либо рутил двуокиси титана. При помощи рентгеновского анализа уширения линии определяется примерный размер двуокиси титана. Наблюдается, что размер кристаллической двуокиси титана увеличивается до некоторой степени термической или химической обработкой. Предпочтительно, чтобы рост двуокиси титана был менее 50% и более предпочтительно менее 20%, как определено рентгеновским анализом уширения линии, потому что чрезмерный рост обычно сопровождается нежелательно большим уменьшением в площади поверхности. Удивительно, что образцы, которые при рентгеновском анализе уширения линии показали очень малый рост кристалла двуокиси титана, не обязательно делали лучшие PROX подложки катализатора после обработки золотом. Аналогично, образцы, которые показали больший рост кристалла двуокиси титана, не обязательно работали хуже в качестве PROX подложек катализатора. По отношению к работе материалов в качестве PROX катализатора после обработки золотом, если площадь поверхности была в большей степени определяющей, природа поверхности двуокиси титана являлась большим определяющим фактором по отношению к работе PROX, чем рост кристаллита двуокиси титана.
Каждый такой домен может быть получен из одного или нескольких компонентов, которые перемешиваются. Например, первый домен может включать в себя комбинацию ингредиентов А и опционально В, но быть обогащенным А по всему объему. Второй домен может включать в себя комбинацию ингредиентов В и опционально А, но быть обогащенным В по всему объему. В других примерах первый домен может включать в себя комбинацию ингредиентов А и В (будучи обогащенным А или В по всему объему в зависимости от обстоятельств), в то время как второй домен может включать в себя комбинацию ингредиентов С и D (будучи обогащенным С или D по всему объему в зависимости от обстоятельств). В других случаях первый домен может включать в себя комбинацию ингредиентов А и В (будучи обогащенным А или В по всему объему в зависимости от обстоятельств), в то время как второй домен может включать в себя комбинацию ингредиентов В и С (будучи обогащенным В или С по всему объему в зависимости от обстоятельств).
В некоторых вариантах осуществления домены могут быть физически или химически связаны вместе, по меньшей мере, на границах доменов. Например, описанный ниже вариант осуществления включает в себя частицы титан-кислород, которые поверхностно обработаны материалом цинк-кислород, чтобы образовать многодоменный композит, имеющий, по меньшей мере, богатые титаном домены и богатые цинком домены. Считается, что домены этих вариантов осуществления могут быть химически связаны вместе через оксидные и гидроксидные связи в некоторых примерах и физически связаны через силы Ван-дер-Ваальса или подобные в других.
Многодоменный характер частиц преимущественно позволяет создать нанопористую структуру подложки, имеющую тщательно разработанные свойства поверхности. Некоторые подложки, такие как окись титана на наночастицах, функционируют очень хорошо в качестве подложки для частиц каталитически активного золота, поскольку они обладают высокой каталитической активностью для окисления СО. Однако эти материалы могут быть недостаточно избирательными при подходящей температуре, чтобы быть способными к контролируемому окислению СО в присутствии водорода, воды и двуокиси углерода. Материалы окиси титана на наночастицах, однако, очень желательны в отношении их фазовой стабильности и наличия в качестве материалов макрочастиц, имеющих первоначальные размеры в диапазоне чрезвычайно малого размера. Таким образом, одно усилие настоящего изобретения направлено на то, чтобы обеспечить способ адаптации активности подложек, таких как двуокись титана на наночастицах, чтобы обеспечить превосходную подложку для нанесения каталитически активного золота для избирательного окисления СО в присутствии водорода и, в некоторых применениях, в присутствии газа двуокиси углерода и паров воды. Таким образом, катализаторы по настоящему изобретению очень полезны для избирательного удаления окиси углерода в газовых потоках, содержащих водород, в таких как относительно недорогой, являющийся сырьем для промышленности риформинговый газ топливного элемента.
Без обеспечения в многодоменной форме в соответствии с настоящим изобретением наблюдалось, что существуют свойства, присущие свойствам поверхности двуокиси титана наночастиц и определенных других оксидов металлов на наночастицах, которые стремятся катализировать окисление водорода после нанесения каталитически активного золота. Хотя это не доказано теорией, эти свойства поверхности могут включать в себя активные сайты, содержащие массивы с анионной вакансией кислорода, дислокации, поверхностные ступени, кромки, аморфные и беспорядочные домены и другие дефекты, которые обеспечивают активные сайты для адсорбции водорода и частичного уменьшения поверхности двуокиси титана. Эти сайты могут также активировать частицы каталитически активного золота в сторону окисления водорода. Так как эти сайты могут также улучшать окисление СО в отсутствии водорода, подложки для каталитически активного золота, которые включают в себя наночастицы двуокиси титана, могут быть очень полезными для удаления СО из газов, не содержащих водород, как описано в процитированной выше находящейся на рассмотрении заявке правообладателя. Но для PROX применений каталитическое окисление водорода является очень нежелательным.
Обнаружили, что нежелательное окисление водорода каталитически активным золотом может быть сильно подавлено использованием нанопористых поверхностей подложки, которые включают в себя множество композиционных доменов, предпочтительно наноразмерных композиционных доменов. Считается, что настоящее изобретение работает, по меньшей мере частично, потому, что выбранные модификации поверхности подложки могут стремиться маскировать, демаскировать или иным способом регулировать количество и (или) химическую активность различных активных сайтов на поверхности подложки, и природа этих активных сайтов оказывает влияние на каталитическую активность нанесенного на них золота.
В случае двуокиси титана, например, природа поверхности двуокиси титана в общем случае характеризуется химической идентичностью поверхностных сайтов и областей, координацией поверхностных атомов, способностью поверхности связывать или реагировать с определенными молекулами и зависимыми характеристиками поверхности. Известно, что некоторые общие поверхности двуокиси титана оканчиваются двойными согласованными анионами О2- и 5-кратными согласованными катионами Ti4+ (Renald Schaub, Erik Wahlstrym, Anders RØnnau, Erik Laegsgaard, Ivan Stensgaard, and Flemming Besenbacher. Science, 299, 377-379 (2003)). Частичное уменьшение поверхности производит одиночные вакансии кислорода, а более сильное уменьшение поверхности производит массивы вакансии кислорода и углубления.
Эти свойства поверхности очень важны при фиксации и активации частиц каталитически активного золота и массивов в присутствии катализаторов. Обнаружили, что некоторые из этих свойств поверхности могут быть заблокированы или иными словами модифицированы, чтобы подавить способность нанесенного впоследствии золота окислять водород при низкой температуре и тем самым обеспечить высоко избирательную PROX каталитическую систему. В частности, хотя это и не доказано теорией, считается, что способность золота окислять водород в общем случае связана, по меньшей мере частично, с беспорядочными или аморфными оксо-доменами титана, которые существуют на или рядом с поверхностями наночастиц двуокиси титана. Наблюдалось, что золото, нанесенное на двуокись титана, включающую в себя относительно больше таких областей, стремилось более легко окислять как окись углерода, так и водород без большой избирательности и поэтому может быть менее пригодно для работы PROX.
Напротив, включение дополнительных нетитановых аморфных доменов металл-кислород на поверхность двуокиси титана может блокировать или иначе снизить способность этих доменов титан-кислород окислять водород. Наблюдалось, что золото, нанесенное на двуокись титана, включающую в себя относительно меньшее количество таких аморфных титан-кислород доменов, стремилось легко окислять окись углерода, но имело меньшую способность к окислению водорода. Поэтому каталитические системы, в которых двуокись титана включает в себя уменьшенное количество таких доменов, будут проявлять тенденцию к большей пригодности для работы PROX.
Типичные варианты осуществления многодоменных наночастиц, пригодные в реализации настоящего изобретения, включают в себя металлосодержащие наночастицы, на которые нанесен, по меньшей мере, один или иным образом включен дополнительный металлосодержащий материал, чтобы создать, по меньшей мере, многодоменную поверхность, на которую наносится каталитически активное золото. В предпочтительных вариантах осуществления металлосодержащие наночастицы являются оксидным компаундом одного или нескольких металлов, в то время как дополнительный металлосодержащий материал является отличным кислородным компаундом одного или нескольких металлов.
Типичные примеры кислородных компаундов, пригодных для использования в качестве металлосодержащих наноразмерных частиц, включают в себя наночастичную двуокись титана, окись алюминия, двуокись кремния, двуокись хрома, окись магния, окись цинка, окиси железа, двуокись церия, двуокись циркония и другие оксиды, которые могут быть выработаны или получены в наноразмерном диапазоне. Предпочтительными являются наночастицы двуокиси титана. Двуокись титана, пригодная в настоящем изобретении, предпочтительно находится в виде анатаза и (или) рутила.
Многодоменные частицы просто образуются путем нанесения одного или нескольких дополнительных видов металлосодержащих материалов, например материалов металл-кислород, на наночастицы, такие как наночастицы двуокиси титана. С одной точки зрения, наночастицы поверхностно обработаны дополнительным(и) металлосодержащим(и) материалом(-ами). Полагают, что нанесение дополнительных композиционных доменов на поверхность наночастиц помогает блокировать уменьшаемые сайты поверхности на результирующей нанопористой подложке, полученной из наночастиц, и, кроме того, помогает блокировать сайты, которые обеспечивают адсорбцию водорода и катализ окисления водорода. В типичных вариантах осуществления структура поверхности, которая производится нанесением гетеро- (т.е. содержащих металлы, отличные от титана) доменов металл-кислород на нанопористую подложку, такую как частицы двуокиси титана, обладает размерами доменов, которые находятся в нанометровом диапазоне размеров. Считается, что эти композиционно четкие домены и (или) границы между этими доменами также помогают стабилизировать каталитически активное золото, что желательно для высокой активности окисления СО.
Предпочтительные материалы для модификации наноразмерных частиц подложки включают в себя широкий диапазон категорий металл-кислород. В общем случае категории металл-кислород по настоящему изобретению могут быть выбраны из металл-оксо материалов, которые не восстанавливаются водородом при условиях использования PROX катализатора. Примеры применимых металлов включают в себя компаунды М2+ и М3+ (где М обозначает один или несколько металлов) и комбинации этих металлов, причем металлы присутствуют в комбинации с кислородом. В результирующих доменах металл-кислород кислород обычно существует, по меньшей мере, в виде О2-, ОН– и (или) Н2О. Другие анионы, которые не подавляют должным образом катализ окисления СО, могут присутствовать в меньших (незначительных) количествах, например вплоть до примерно 15 мольных процентов домена. Примеры других анионов, которые могут присутствовать, включают в себя фосфаты, нитраты, фторид, ацетат, их комбинации и тому подобное.
Металлы М2+ и М3+ могут быть выбраны из металлов основной группы, металлов переходного ряда, щелочноземельных металлов и редкоземельных металлов, которые не восстанавливаются водородом при условиях использования катализатора. Подходящие металлы включают в себя один или несколько из Mg2+, Са2+, Sr2+, Zn2+, Co2+, Mn2+, La3+, Nd3+, Al3+, Fe3+, Cr3+ и других ионов низковалентных металлов, которые образуют стабильные кислородные разновидности на поверхности наночастиц после нанесения. Щелочные металлы, такие как Na+, K+, Rb+, Li+, могут также присутствовать в дополнительном материале металл-кислород с благоприятным воздействием.
В дополнение к компаундам М2+ и М3+ эффективные металлические системы включают в себя компаунды, содержащие олово и вольфрам. В этих случаях компаунды олова и вольфрама с более высоким состоянием окисления могут эффективно использоваться в качестве продукта предшествующей стадии реакции, чтобы образовать домены металл-кислород на наночастицах, но для того, чтобы получить эффективные PROX катализаторы с использованием этих систем, должно быть осуществлено, по меньшей мере, частичное восстановление наночастиц, обработанных оловом или вольфрамом. Это может быть легко достигнуто путем кальцинирования в инертной или восстановительной среде, такой как азот или атмосфера азот-водород. В случае, когда этап восстановления не включается, результирующие катализаторы по изобретению могут быть более чувствительны к добавлению двуокиси углерода в исходную газовую смесь, чем может быть желательно.
Аналогичный эффект наблюдается, когда модифицирующие домены содержат окиси на основе церия. Материалы с доменом на окиси церия, которые модифицируются так, чтобы обеспечивать облегченную окислительно-восстановительную химию, например домены церия, модифицированные окислами редкоземельных элементов и смесями окиси циркония и окислами редкоземельных элементов, лучше используются как эффективные домены в настоящих PROX катализаторах после кальцинирования в восстановительной или неокисляющей атмосфере (см. примеры 28-33). В случае модификации кислородных доменов, содержащих церий в более сложной для восстановления форме, таких как домены, содержащие беспримесные церий или цериевую двуокись циркония, этап восстановления не обязательно должен иметь благоприятный эффект от добавления этих содержащих церий кислородных доменов на поверхности двуокиси титана. Способность к восстановлению таких церий-модифицированных окислов может быть измерена при помощи температурно-программируемого восстановления (TPR), как это известно в технике.
Окислы металлов, содержащие цинк, щелочноземельные элементы, железо, алюминий, восстановленное олово, восстановленный вольфрам, молибден и церий, и железо в комбинации со щелочноземельными металлами являются предпочтительными материалами для модификации доменов. Показано, что наночастицы с поверхностными доменами, содержащими эти материалы, обеспечивают высокую избирательность, высокую активность и низкую чувствительность к двуокиси углерода, когда используются в виде подложки для нанозолота.
Хотя смешанные металлические системы эффективно используются в настоящем изобретении, следует позаботиться о том, чтобы не наносить металлы в виде, который может недолжным образом катализировать окисление водорода. Таким образом, несмотря на то, что Со2+ и Mn2+ могут быть эффективно использованы для образования доменов металл-кислород на подложках наночастиц, которые создают очень эффективные PROX катализаторы после обработки каталитически активным золотом, кобальт и марганец могут быть объединены с другими переходными металлами в других примерах для того, чтобы создать определенные смешанные окислы, которые легко восстанавливаются водородом и которые, следовательно, могут быть эффективными катализаторами для окисления водорода. Эмпирическое тестирование может быть использовано для того, чтобы определить, имеет ли некоторое средство желательную избирательность по отношению к водороду.
Большая часть сырья для топливных элементов содержит существенные количества двуокиси углерода. Важным преимуществом композитных PROX катализаторов по настоящему изобретению поэтому является нечувствительность изобретенных катализаторов к присутствию двуокиси углерода. Нечувствительность катализаторов по настоящему изобретению к присутствию двуокиси углерода объясняется, по меньшей мере частично, наличием соответствующей многодоменной поверхности. Нечувствительность к CO2 дополнительно улучшается в некоторых вариантах осуществления при помощи тщательного исключения вредных анионов из подложки содержащего золото катализатора, таких как анионы хлорида, бромида и (или) йодида. Также желательно исключить амины из окончательной подложки катализатора, несущего каталитически активное золото. Напротив, общеизвестно, что двуокись углерода по существу ингибирует окисление СО обычными катализаторами, включая и каталитически активное золото. (Bong-Kyu Chang, Ben W. Jang, Sheng Dai, and Steven H. Overbury, J. Catal., 236 (2005) 392-400).
Когда каталитическая система используется для обработки сырья, содержащего двуокись углерода, может быть желательно ограничить и (или) исключить катионы металла, которые, как показано, имеют отрицательное воздействие на активность катализаторов к присутствию двуокиси углерода. Примеры таких катионов металлов включают в себя Cu2+, Ва2+ и некоторые формы церия, как обсуждалось выше.
Композитные многодоменные нанопористые вещества подложки по настоящему изобретению предпочтительно образуются нанесением, по меньшей мере, одного изменяющего поверхность домена металл-кислород на подложки наночастиц. Это нанесение может быть выполнено несколькими способами. Иллюстративные процессы для этих нанесений включают в себя 1) нанесение из раствора, 2) химическое осаждение из паровой фазы или 3) физическое осаждение из паровой фазы.
Нанесение из раствора включает в себя реагирование дисперсии наночастиц с продуктом(-ами) предшествующей стадии реакции дополнительного(-ых) домена(-ов) металл-кислород так, чтобы приклеить продукт предшествующей стадии реакции домена металл-кислород на поверхности наночастиц, чтобы образовать дополнительный(-е) домен(ы) на месте. Начальное склеивание может произойти путем простой адсорбции продукта предшествующей стадии реакции домена металл-кислород на поверхности или путем химической реакции, которая изменяет продукт предшествующей стадии реакции домена металл-кислород, что приводит к креплению результирующего домена металл-кислород на поверхности наночастиц. Эта химическая реакция может включать в себя гидролиз, осаждение, комплексообразование, окисление или восстановление металла в продукте предшествующей стадии реакции домена металл-кислород или комбинацию этих реакций.
В случае гидролиза соль или комплекс металла, которые должны образовать домен металл-кислород, реагируют с водой таким образом, чтобы образовать аморфную окись или гидроксид на поверхности наночастицы или нанопористой подложки. Примеры этого включают в себя индуцированный основанием гидролиз катиона растворимого в кислоте металла, например такие катионы как гидрокомплексы Al3+ Fe3+, Fe2+ Zn2+ Са2+, Со2+ и тому подобное. Гидролиз, индуцированный основанием, может быть проведен одновременным или последовательным добавлением раствора комплекса или соли металла и раствора основания к дисперсии подложки из наночастиц, в этом случае нанесение разновидностей металл-кислород происходит в результате вызванного основанием образования разновидностей гидроксида металла в присутствии наночастиц и (или) нанопористых веществ. В общем случае, разновидности гидроксидов металла, которые образованы, характеризуются низкой растворимостью, в результате чего они выпадают в осадок на поверхность материалов подложки из наночастиц. В общем случае дисперсия подложки из наночастиц поддерживается сильно перемешанной во время этого добавления, чтобы гарантировать однородное нанесение домена металл-кислород на нанопористую подложку.
Примеры вызванного кислотой гидролиза анионов стабильных к щелочи металлов включают в себя индуцированный кислотой гидролиз щелочных растворов, содержащих силикаты, алюминаты, станнаты, ванадаты и тому подобное. В этом случае нанесение доменов металл-кислород на наночастицы подложки осуществляется введением щелочного раствора анионов металла в дисперсию наночастиц подложки наряду с либо одновременным, либо последовательным добавлением кислого раствора, чтобы поддержать pH в точке, где достигается управляемое выпадение в осадок доменов металл-кислород на наночастицы. В этих реакциях добавление кислого раствора приводит к полимеризации гидроксил-анионов металла и выпадению в осадок возникающих полианионных групп на нанопористой подложке.
При использовании либо добавления кислоты к аниону растворимого в основании металла, либо добавления основания к катиону растворимого в кислоте металла, чтобы вызвать гидролиз комплекса металлов и нанесение домена металл-кислород на материалы подложки наночастиц, pH, которое выбрано для управляемого выпадения в осадок, будет зависеть от природы окисла или гидроксид металла, который подлежит нанесению (МхОу), и концентраций, которые используются. В общем случае, pH будет выбрано так, чтобы в точке, где растворимости МхОу / pH, т.е. изменение в растворимости окисла металла (М), используемое для образования продукта предшествующей стадии реакции домена металл-кислород, против изменения в pH было высоко. Очень быстрые изменения в условиях нанесения из раствора, которые приводят к быстрому уменьшению растворимости продукта предшествующей реакции металл-кислород, используемой для образования доменов металл-кислород на подложках наночастиц, приводят к нанесению очень малых размеров домена материалов, модифицирующих поверхность.
Эти гидролизы могут быть выполнены при комнатной температуре, при пониженных температурах или при повышенных температурах. В некоторых случаях, например в случае солей Fe3+, гидролиз может быть запущен увеличением температуры соли металла – смеси наночастиц. В этом случае соль металла может быть смешана до подъема температуры смеси, чтобы вызвать гидролиз, или раствор соли металла может быть добавлен постепенно к горячей дисперсии в течение некоторого периода времени так, чтобы обеспечить равномерное распределение результирующих доменов металл-кислород на подложках из наночастиц.
Дополнительные домены металл-кислород могут быть также образованы посредством гидролиза металлических комплексов, таких как алкоксид металла. Этот вид гидролиза в общем случае включает в себя реакцию воды с алкоксидом металла, чтобы образовать гидроксид или гидроксил-функционал, частично гидролизованный алкоксид, который может образовать оксид или гидроксид посредством дальнейшей термической обработки. Эти гидролизы могут быть выполнены либо путем адсорбции паров алкоксида металла на наночастицы и (или) нанопористую подложку, за чем следует введение паров воды или жидкости, или посредством гидролиза раствора алкоксида щелочи в присутствии дисперсии наночастиц материала подложки.
В случае химического осаждения доменов металл-кислород из паровой фазы на наночастицы и (или) нанопористые подложки материалы, составляющие подложку, перемешиваются во время адсорбции и разложения летучего продукта предшествующей стадии реакции на домены металл-кислород. Например, газообразные алкилы металла, такие как триметил алюминий, могут быть адсорбированы на наночастицы подложки и окислены, чтобы образовать нанодомены окиси алюминия, кислород-гидроксида или гидроксида. В этом случае комплексы металлов, используемые как продукты предшествующей стадии реакции для материалов домена металл-кислород, должны иметь достаточную летучесть, чтобы обеспечить введение этих материалов через газовую фазу. Таким образом, в общем случае эти продукты предшествующей стадии реакции включают в себя летучие продукты предшествующей стадии реакции окисла металла, такие как алкоксиды, галогениды металлов, такие как хлориды, органические комплексы, такие как алкилы и ацетилацетонаты, и тому подобное.
Физические методы осаждения из паровой фазы также могут использоваться для нанесения дополнительных доменов металл-кислород на наночастицы. Эти способы включают в себя распыление, способы плазменной дуги и способы выпаривания.
Количество модифицирующего окисла, которое требуется для того, чтобы вызвать благоприятное воздействие в поведении PROX после нанесения на наночастицы двуокиси титана, зависит от природы оксидного материала и способа нанесения. Оптимальное количество модификатора будет естественно масштабироваться с удельной поверхностью наночастиц двуокиси титана, которая используется. Слишком высокий уровень модифицирующего(-их) окисла(-ов) мог бы чрезмерно замаскировать благоприятные результаты наличия малых открытых областей двуокиси титана и мог бы ненадлежащим образом перекрыть домен металл-кислород – границы раздела двуокиси титана. Например, в случае наночастиц двуокиси титана с малой удельной поверхностью, например с поверхностью, демонстрирующей удельную поверхность примерно 55 м2/г или менее, как определено стандартными измерениями BET, верхняя граница количества модифицирующего окисла не должна превышать примерно 15 мольных процентов, основываясь на общем количестве молей модифицирующего материала и модифицируемых наночастиц. Предпочтительно, чтобы менее 10 мольных процентов использовалось, как рассчитано на основе общего количества молей модифицируемых наночастиц плюс модифицирующего окисла. В случае большей удельной поверхности наночастиц двуокиси титана, например поверхности с удельной поверхностью примерно 250 м2/г, большее количество модифицирующей добавки, свыше 15 мольных процентов и даже вплоть до 20 мольных процентов, может быть с успехом применено. В общем случае количество металла в материале модифицирующего окисла составляет более примерно 0,2 мольных процента и менее примерно 10 мольных процентов на основе общего количества молей двуокиси титана плюс модифицирующего окисла. Могут использоваться более высокие процентные соотношения, например вплоть до примерно 30 мольных процентов, но нужно соблюдать осторожность, чтобы достичь нанесения модифицирующего оксида без чрезмерной потери удельной поверхности после сушки. Предпочтительное количество материала модифицирующего окисла находится между примерно 1 и 7 мольными процентами.
Результирующие дополнительные домены металл-кислород на поверхности наночастиц двуокиси титана обычно не являются кристаллическими. Наблюдалось, что они являются аморфными как для рентгеновских лучей при исследовании с использованием рентгеновского рассеяния мощности, так и для электронов при наблюдении с помощью ПЭМ.
После нанесения материала модифицирующего оксида на наночастицы двуокиси титана обработанные частицы опционально высушиваются и кальцинируются, чтобы удалить посторонние материалы. В случае нанесения фазы модифицирующего окисла с помощью гидролизных методик обработанные материалы также обычно промываются, чтобы удалить основную часть подобных продуктов гидролизной реакции до высушивания и опционального кальцинирования.
В общем случае высушивание модифицированных наночастиц может выполняться нагреванием при температуре от 60°С до 250°С либо в статической печи, либо в печи с нагнетаемым воздухом, вращающейся печи или при помощи высушивания распылением или любым другим подходящим методом сушки. Во время сушки и опционального кальцинирования модифицированные наночастицы могут находиться в виде неподвижного слоя или осадка на фильтре, сыпучей пудры или псевдоожиженного слоя или перемешиваемого слоя.
Модифицированные наночастицы могут опционально кальцинироваться нагреванием свыше 200°С в течение определенного времени. В общем случае кальцинирование осуществляется нагреванием между примерно 250°С и 600°С в течение от многих секунд до нескольких часов, более обычно от примерно 3 до примерно 5 минут до примерно от 10 до 15 часов. Кальцинирование опционально обеспечивает благоприятную термическую обработку наночастиц. Даже без химической модификации наблюдалось, что такая термическая обработка значительно улучшает избирательность, с которой результирующий катализатор окисляет СО по отношению к водороду. Может быть использовано множество условий термической обработки. Предпочтительно условия термообработки используются так, что, по меньшей мере, частично уменьшают содержание аморфного домена, который может присутствовать рядом с поверхностями частиц. Это содержание может оцениваться ПЭМ анализом.
Например, исследование с помощью ПЭМ воздействия термообработки на частицы подложки из двуокиси титана подтверждает, что термообработка уменьшает аморфное содержимое рядом с поверхностями обработанных частиц. Чтобы провести это исследование, частицы образца двуокиси титана устанавливаются на решетку ПЭМ и исследуются при увеличении 200-450 раз. Предметный столик регулируется так, чтобы обеспечить четкое рассмотрение кромки частиц двуокиси титана, и предметный столик наклонен к оси зоны, чтобы создать четкий просмотр линий пространственной решетки двуокиси титана. Фокус микроскопа регулируется так, чтобы обеспечить четкий фокус на кромке частицы. Исследование желательно обеспечивает четкий беспрепятственный вид кромки частицы. Кромка не должна перекрывать другие частицы или остатки продукта, или быть невидимой из-за того, что другие частицы или материалы наложены выше нее. Если наблюдаемые линии пространственной решетки заканчиваются до кромки, область от кромки до начала линий пространственной решетки определяется как область аморфной поверхности.
Это ПЭМ исследование дополнительно проверяет элементы этой области поверхности при данных условиях наблюдения (к примеру, она ступенчатая и зубчатая, или она закругленная и аморфная по виду и т.д.). Чтобы осуществить это исследование, проверяются, по меньшей мере, 20 или более частиц из каждого образца. В необработанных образцах двуокиси титана наблюдается, что многие из кристаллических поверхностей характеризуются неупорядоченными поверхностными доменами, проходящими примерно от 0,5 до 1 нм в поверхность частиц. В некоторых случаях наблюдалось, что эти области следуют очертанию кристаллической области, как определено областью, отображающей линии пространственной решетки. Во многих случаях эти области были нерегулярными и включали в себя закругленный аморфообразный материал с низкой плотностью (как свидетельствует низкий контраст электронного луча), а не кристаллическую часть. В некоторых случаях аморфные домены были больше 5 нм по размеру и содержали значительную часть наночастиц.
Термообработки образцов привели к модификации большей части аморфного, содержащего титан поверхностного материала и вызвали увеличение четкости изображения наблюдаемых границ кристаллита двуокиси титана. Таким образом, в термообработанных в соответствии с настоящим изобретением частицах для большинства частиц наблюдается, что линии пространственной решетки кристаллита двуокиси титана проходят до самой кромки частицы. Хотя могут быть заметны некоторые аморфные титан-кислород области поверхности, плотность таких доменов и размер этих доменов в термически обработанных образцах были гораздо меньше. В исследованных таким образом образцах процент наблюдения аморфных титан-кислород доменов поверхности больше, чем примерно 2 нм в размере, уменьшается, по меньшей мере, в 4 раза после термообработки.
При использовании более высокой температуры, например 550°С, термообработка может быть меньшей по длительности, например от 30 секунд до 30 минут, и все же очень эффективной для того, чтобы помочь подавить активность окисления водорода. При использовании более низкой температуры, например 275°С, обработка может быть более длительной, чтобы быть эффективной. Термообработки могут осуществляться в различных атмосферных условиях, включая окружающую, инертную, окислительную и (или) восстановительную атмосферы. Обработка может происходить более чем в одном виде атмосферы последовательно, например когда образцы кальцинируются в окислительной атмосфере сначала для того, чтобы удалить поверхностные углеродные разновидности, а затем в восстановительной атмосфере, чтобы ввести дополнительные вакансии анионов кислорода.
Желательно, чтобы обработки проводились так, чтобы не уменьшать значительно удельную поверхность частиц. Так как обработки более высокой температурой могут вызвать спекание частиц и уменьшат удельную поверхность, предпочтительно использовать температуры как можно ниже, чтобы вызывать требуемое уменьшение активности окисления водорода. Используя описанную здесь оценку перекиси, чтобы отобрать условия термообработки в сочетании с измерениями удельной поверхности, можно определить очень эффективные условия для подготовки подложек для PROX катализаторов каталитически активного золота.
Наночастицы с подходящим композиционно многодоменным свойством также серийно выпускаются. Одним из примеров является двуокись титана, выпускаемая серийно под торговым обозначением ST-31 компанией Ishihara Sangyo Kaisha Ltd., Osaka, Япония. Эти частицы двуокиси титана включают в себя содержание цинк-кислород рядом со своими поверхностями, и термообработанные варианты осуществления этих частиц обеспечивают превосходные подложки для PROX каталитических систем. Многодоменные частицы также могут быть легко сформированы путем нанесения одного или нескольких дополнительных видов металлосодержащих материалов, например материалов металл-кислород, на наночастицы, такие как частицы двуокиси титана, которые могут быть или могут не быть композиционно многодоменными при поставке.
Также обнаружено, что PROX способности нанопористой подложки после активации нанозолотом имеют тенденцию инверсно коррелировать со способностью подложки реагировать и связываться с перекисью, такой как перекись водорода. Например, частицы двуокиси титана, которые в большей степени подходят для PROX работы, имеют тенденцию реагировать с перекисью водорода и связывать ее в меньшей степени, чем частицы двуокиси титана, которые являются более химически активными с перекисью водорода. Известно, что перекись водорода реагирует с определенным типом сайта, который может присутствовать на поверхностях двуокиси титана очень специфичным образом, для того чтобы произвести поверхностный комплекс желтого цвета, который характеризуется абсорбцией коэффициента диффузного отражения ультрафиолетового-видимого (УФ-ВИД) излучения при 400 нм и 455 нм (Dimitar Klissurski, Konstantin Hadjiivanov, Margarita Kantcheva, and Lalka Gyurova, J. Chem. Soc. Faraday Trans., 1990, 86(2), 385-388). Кроме того, величина связанной перекиси водорода может быть количественно измерена реакцией с перманганатом калия с помощью способа Klissurski et al. (J. Chem. Soc. Faraday Trans., 1990, 86(2), 385-388). Таким образом, связанные перекисью сайты на продукте предшествующей стадии двуокиси титана могут быть определены количественно и (или) качественно путем измерения их интенсивности желтого цвета, образованного после реакции с перекисью водорода.
Таким образом, двуокись титана, которая становится относительно более насыщенного желтого цвета (т.е. является более химически активной с перекисью водорода) после активации нанозолотом, стремится окислить как окись углерода, так и водород с меньшей избирательностью, чем двуокись, которая ближе к бледному желтому или не меняет цвет при реакции с перекисью водорода. Соответственно, один применимый способ для оценки пригодности материала двуокиси титана для использования в качестве подложки золота для PROX работы включает в себя использование перекиси водорода в качестве зонда поверхности путем определения степени, до которой частицы двуокиси титана реагируют и связывают перекись водорода. Для PROX применений предпочтительно, чтобы двуокись титана по настоящему изобретению демонстрировала как можно меньшую реакцию с перекисью водорода.
Чтобы оценить степень реакции наночастиц двуокиси титана с перекисью водорода, наночастица двуокиси титана подвергается реакции с определенным количеством перекиси водорода, и результирующие материалы анализируются с использованием колориметрических способов (см. ниже). Скрининг тест, который хорошо работает, включает в себя визуальное исследование степени желтого цвета, привнесенного во время реакции с перекисью водорода. Количественный тест включает в себя анализ образца как до, так и после реакции с перекисью водорода с помощью УФ-ВИД спектрометра в режиме диффузного отражения. Из этих измерений определяется значение поверхностной активности перекиси (способ, определенный здесь). Желательно, чтобы поверхностная активность перекиси модифицированных наночастиц двуокиси титана была меньше примерно 0,17, более предпочтительно менее примерно 0,12 и наиболее предпочтительно менее 0,09.
Чтобы далее подтвердить корреляцию между реакционной способностью двуокиси титана с перекисью водорода и PROX способностями, наблюдали, что обработки (к примеру, термообработка и (или) введение дополнительных доменов металл-кислород в поверхности двуокиси титана), которые ослабляют реакцию поверхности двуокиси титана с перекисью водорода, также улучшают способность результирующих обработанных золотом двуокисей титана функционировать в качестве PROX катализаторов. Хотя это не доказано теорией, вероятно, что сайты, которые реагируют очень сильно с перекисью водорода, являются также сайтами, которые способствуют окислению водорода при низкой температуре. Считается, что реакция наночастиц двуокиси титана с перекисью водорода приводит к разновидности, которая аналогична разновидности, образованной реакцией перекиси водорода с комплексами Ti4+ в растворе, – она состоит из катиона титана, связанного двузубчатым образом с обоими кислородами в O-O части перекиси водорода. Для того чтобы это было так, этот сайт должен иметь два подвижных сайта связи на одном поверхностном катионе титана. Таким образом, это указывает на аморфный или неупорядоченный сайт или область титана. Несмотря на то, что присутствие этих аморфных реагирующих на перекись водорода доменов может улучшить применимость золота на катализаторах двуокиси титана для других каталитических окислений, например окисления СО в газах, не содержащих водород, синтеза перекиси водорода, эпоксидирования олефинов и других органических окислений, они являются вредными, когда обнаруживаются на золоте на катализаторах двуокиси титана для PROX применений. Обработки двуокиси титана (термическая и (или) химическая), которые описаны здесь, изменяют природу поверхности наночастиц двуокиси титана, о чем свидетельствует уменьшение сильного взаимодействия с перекисью водорода и улучшение способности PROX.
Модификации наночастиц двуокиси титана, как описано здесь, не оказывают неблагоприятного воздействия на размер наночастиц золота, которые наносятся на них способом PVD. Например, после нанесения золота способом PVD на наночастицы двуокиси титана (Hombikat UV100, производится Sachtleben Chemie GmbH, DE), при определенном наборе условий размер частиц нанозолота определялся равным 2,2 нм (среднеквадратическое отклонение 0,82 нм, измерено 375 частиц нанозолота). Обработка той же двуокиси титана, которая была термически модифицирована кальцинированием при 450°С в воздухе с нанозолотом при тех же условиях PVD, создала катализатор, который имел нанозолото со средним размером 1,6 нм (среднеквадратическое отклонение 0,95, измерено среднее по 541 частице нанозолота). Обработка той же двуокиси титана, которая была термически модифицирована кальцинированием при 450°С в азоте с нанозолотом при тех же условиях PVD, создала катализатор, который имел нанозолото со средним размером 1,8 нм (среднеквадратическое отклонение 0,87, измерено среднее по 162 частицам нанозолота).
После модификации наночастиц подложки, такой как химическая и (или) термическая модификация, каталитически активное золото наносится на многодоменные нанопористые наночастицы. Опционально, как описано далее ниже, наночастицы могут быть сначала дополнительно введены в и (или) на множество исходных материалов (описанных ниже) до нанесения золота. Золото предпочтительно наносится на материалы наночастиц подложки по настоящему изобретению посредством способов физического осаждения из паровой фазы. Несмотря на то, что активные наночастицы золота могут быть нанесены при помощи более обычных способов гидролиза раствора или химических способов осаждения из паровой фазы, физические способы осаждения из паровой фазы являются менее дорогими и позволяют проводить нанесение золота без включения вредных анионов, таких как ион галогенида. Кроме того, физические способы осаждения из паровой фазы дают возможность использовать материалы наночастиц с модифицированной поверхностью, которые не могут быть покрыты без изменения с использованием нанесения золота из раствора.
Например, наночастицы двуокиси титана могут быть поверхностно модифицированы с разновидностью растворимых кислотой поверхностей, например разновидностью цинк-кислород, и каталитически активные наночастицы золота могут быть нанесены на эту подложку с использованием физического способа осаждения из паровой фазы без внесения какого-либо ухудшения поверхностно-модифицированной наночастичной двуокиси титана. В обычно применяемых способах растворения золото вводится на подложку в виде раствора кислоты, содержащего золотосодержащий хлорид. Такой раствор не только вымывает окись цинка из наночастиц двуокиси титана, но также вводит нежелательные анионы хлорида. При этом способ с использованием раствора является ограниченным в своем применении некоторыми объектами настоящего изобретения.
Физическое осаждение из паровой фазы относится к физическому переносу золота из золотосодержащего источника или мишени на подложку. Физическое осаждения из паровой фазы может рассматриваться как включающее в себя нанесение атом за атомом, хотя в реальной практике золото может переноситься как чрезвычайно малые частички, составляющие более одного атома на частицу. Если оно находится на поверхности, золото может взаимодействовать с поверхностью физически, химически, ионно и (или) иным образом. Использование методов физического осаждения из паровой фазы для нанесения наноразмерного золота на активирующий нанопористый материал подложки значительно упрощает синтез каталитически активного золота и открывает двери для значительных усовершенствований, связанных с разработкой, изготовлением и использованием основанных на золоте каталитических систем.
Процесс физического осаждения из паровой фазы является очень чистым в том смысле, что нет примесей, вводимых в систему, как в случае процессов из состояния раствора. В частности, процесс может быть свободным от хлорида, и таким образом нет необходимости в стадии промывания, чтобы удалить хлорид или другие нежелательные ионы, молекулы или подобные продукты реакции, как в случае большинства процессов нанесения из состояния раствора.
При использовании этого процесса требуются очень низкие уровни каталитического металла для высокой активности. Хотя большая часть исследований в этой области использует, по меньшей мере, 1% по массе золота (на основе общего веса нанесенного золота плюс наночастицы и исходный материал, если таковой имеется), чтобы достичь активности, и зачастую в несколько раз больше чем 1% по массе золота для достижения высокой активности, в этой работе авторы достигли очень высокой активности при 0,15% по массе золота или меньше. Это уменьшение в количестве драгоценного металла, необходимого для высокой активности, обеспечивает очень значительное снижение себестоимости. Однако другие варианты осуществления настоящего изобретения, такие как внесенные/исходные композитные системы, обеспечивают высокую эффективность, используя более высокие уровни золота, например от 0,3% до 5% по массе золота. Этот процесс приводит к очень однородному продукту по отношению к концентрации драгоценного металла на частицу и размеру наночастиц металла и распределению размера. ПЭМ исследования показали, что наш процесс может наносить золото в виде, включающем дискретные наночастицы и малые массивы или в более непрерывной тонкой пленке, в зависимости от того, что желательно. В общем случае, желательно включать золото в виде наночастиц / малых массивов золота.
Этот способ приготовления катализатора может наносить каталитические металлы однородно на неоднородные или негомогенные поверхности. Это не верно для процессов нанесения из состояния раствора, которые имеют тенденцию благоприятствовать нанесению на поверхности с зарядом, противоположным иону наносящего материала, оставляя другие поверхности непокрытыми или в лучшем случае слабо покрытыми.
Кроме золота, процесс PVD может использоваться для нанесения других материалов одновременно или последовательно или для нанесения смесей металлов с использованием многофазных мишеней, когда частицы катализатора могут быть сформированы таким образом, чтобы содержать многофазные наночастицы, например наночастицы, содержащие атомные смеси, скажем M1 и М2 (где M1 и М2 представляют разные металлы), или которые имеют комбинации наночастиц металлов для многофункциональных катализаторов, например смесей наночастиц, содержащих смеси дискретных частиц M1 и дискретных частиц М2. При этом частицы катализатора могут быть приготовлены так, что катализируют более одной реакции, и эти функции могут быть на практике выполнены одновременно. Таким образом, например, частица катализатора может быть приготовлена так, что будет окислять СО несмотря на то, что в то же время будет эффективно окислять SO2.
Подход PVD позволяет легко наносить каталитически активное золото на подложки, содержащие углерод, а также на другие чувствительные к окислению подложки. В процессах, известных в данной области, которые требуют стадию нагрева, чтобы прикрепить и активировать частицы катализатора, углерод в присутствии окисляющей окружающей среды не может адекватно выдерживать повышенные температуры, которые часто используются. Таким образом, частицы углерода должны быть обработаны в восстановительной атмосфере, так как на них воздействовал бы кислород во время этой стадии нагрева. Такая стадия восстановления может нежелательно уменьшить составляющие других катализаторов (к примеру, как в случае окиси железа, нанесенной на углерод или в пористом углероде). В настоящем изобретении частицы углерода и другие неоксидные частицы могут быть покрыты наночастицами катализатора, и не требуется стадии нагрева или последующего восстановления. Таким образом, углерод с высокой удельной поверхностью может быть представлен каталитическим для окисления СО без потери адсорбционных свойств пористого углерода для удаления других примесей из газового потока.
Подход PVD может быть использован для покрытия катализатором очень мелких частиц, причем мелкие частицы уже нанесены на больший исходный материал. Альтернативно, подход PVD может быть использован для того, чтобы наносить катализатор на очень мелкие частицы до того, как эти мелкие частицы нанесены на вторую зернистую фазу или другой исходный материал, или сформированы впоследствии в пористую гранулу. При любом подходе результирующий композит обеспечивает высокую активность окисления СО с малым встречным давлением во время использования.
Физическое осаждение из паровой фазы предпочтительно происходит в условиях температуры и вакуума, в которых золото является очень подвижным. Следовательно, золото будет стремиться мигрировать на поверхность подложки до фиксации каким-либо образом, например путем прилипания к сайту на поверхности подложки или очень близко к ней. Считается, что сайты прилипания могут включать в себя дефекты, такие как поверхностные вакансии, структурные сосредоточенные неоднородности, такие как ступеньки и нарушения правильности кристаллической структуры, межфазные границы между фазами или кристаллами или другие разновидности золота, такие как малые массивы золота. Явное преимущество изобретения заключается в том, что нанесенное золото эффективно зафиксировано таким образом, при котором золото сохраняет высокий уровень каталитической активности. Этот контрастирует с теми обычными методами, в которых золото накапливается в такие большие объекты, что каталитическая активность ненадлежаще подрывается или даже теряется.
Существуют разные подходы к выполнению физического осаждения из паровой фазы. Типичные подходы включают в себя осаждение методом распыления, испарения и осаждения электронно-лучевой дугой. Могут быть использованы любые из этих или других подходов PVD, хотя природа используемого способа PVD может оказывать влияние на каталитическую активность. Например, энергия используемого физического способа осаждения из паровой фазы может оказать влияние на мобильность нанесенного золота и, следовательно, тенденцию аккумулировать его. Более высокая энергия обычно соответствует увеличенной тенденции к аккумулированию золота. Увеличенное аккумулирование, в свою очередь, имеет тенденцию уменьшать каталитическую активность. В общем случае, энергия наносящего препарата является наименьшей для испарения, более высокой для осаждения распылением (которое может включать в себя некоторое содержание ионов, в которых ионизирована малая доля сталкивающихся металлических частиц) и самой высокой для электронно-лучевой дуги (которая может достигать нескольких десятков процентов содержания ионов). Соответственно, если конкретный метод PVD дает нанесенное золото, которое более подвижно, чем хотелось бы, вместо него может быть полезно использовать метод PVD с меньшей энергией.
Физическое осаждение из паровой фазы в общем случае представляет собой метод покрытия поверхности в прямой видимости между источником золота и подложкой. Это означает, что непосредственно покрываются только открытые внешние поверхности подложки, а не внутренние поры внутри подложки. Внутренние поверхности, не находящиеся на прямой линии видимости с источником, не будут непосредственно покрываться золотом. Однако обнаружили с помощью ПЭМ анализа, что после нанесения на поверхность пористой подложки атомы золота могут мигрировать за счет диффузии или другого механизма на некоторое умеренное расстояние в поверхность катализатора, чтобы обеспечить наночастицы и массивы золота в порах подложки в области, непосредственно граничащей с поверхностью, до своей фиксации. Среднее проникновение в пористые подложки может быть вплоть до 50 нанометров в глубину или иногда больше, например вплоть от примерно 70 до примерно 90 нм в глубину. В общем, тем не менее, глубина проникновения составляет менее 50 нм и может быть менее 15 нм. Проникновение золота очень неглубокое по сравнению с обычным размером подложки.
Полная толщина золота, или Ct, равна глубине проникновения золота плюс толщине золота, которое нанесено на поверхность подложки и которое не проникло за счет диффузии. Эта полная толщина в общем случае меньше 50 нм и может зачастую быть меньше 30 нм или даже меньше 10 нм. На материалах с поверхностными порами, глубина которых больше примерно от 10 нм до 20 нм, полная толщина золота может оказываться больше 50 нм, так как слой золота следует контурам поверхности, а контур реальной поверхности отражается структурой пор, которой она обладает. Наиболее предпочтительно, чтобы разновидности активного золота собирались на наиболее удаленной части частицы катализатора, так как это поверхность катализатора, которая взаимодействует наиболее легко с газообразными реагентами.
Толщина области золотой оболочки относительно размера частиц подложки катализатора количественно определяется формулой:
PRD=Ct/UST, где PDR – отношение глубины проникновения, UST – толщина подложки или размер частиц, а Ct – полная толщина золота, как определено выше. Толщина подложки представляет размер подложки, измеренный перпендикулярно к поверхности катализатора, и обычно является показателем размера частицы. Толщина подложки может быть определена способами микроскопии, в том числе оптической микроскопии или сканирующей электронной микроскопии. Значение для Ct может быть определено при помощи просвечивающей электронной микроскопии в случае тонких пленок и сканирующей электронной микроскопии высокого разрешения в случае более толстых пленок. Полная толщина Ct очень легко распознается из визуального осмотра данных ПЭМ. На практике образец может быть эффективно охарактеризован посредством исследования ряда ПЭМ изображений поперечного сечения поверхности катализатора (см. ниже). В предпочтительных вариантах осуществления PDR находится в диапазоне примерно от 1×10-9 до 0,1, предпочтительно от 1×10-6 до 1×10-4, указывая, что область золотой оболочки на самом деле очень тонкая относительно толщины подложки. Как отмечено выше, это в общем случае соответствует глубине проникновения порядка вплоть до примерно 50 нм, предпочтительно примерно 30 нм на предпочтительных подложках.
Определение параметров области поверхности и золотых частиц осуществляется с использованием просвечивающей электронной микроскопии, как общеизвестно в области катализаторов. Один способ, пригодный для получения характеристики каталитических поверхностей для мелких частиц, нанесенных на гранулы, или для больших пористых частиц, заключается в следующем: частицы катализатора встраиваются в 3М Scotchcast Electrical Resin #5 (epoxy; 3М Company, St. Paul, MN) в одноразовые встроенные капсулы; смоле дают затвердеть при комнатной температуре в течение 24 часов.
Для каждого образца вырезается произвольная встроенная гранула (с помощью лезвия бритвы из нержавеющей стали, предварительно очищенного изопропиловым спиртом) до серединной области поверхности гранулы так, что большая часть гранулы срезается на одной стороне, оставляя эпоксидную смолу на другой стороне. Выбирается малая трапецеидальная поверхность (менее половины миллиметра на сторону) и подгоняется так, что граница раздела эпоксидная смола / гранула остается нетронутой. Продольное направление этой границы раздела также является направлением резания. Используется микротом Leica Ultracut UCT (Leica Microsystems Inc., Bannockburn, IL), чтобы провести поперечный разрез лицевой поверхности. Лицевая поверхность сначала выравнивается так, что поверхность гранулы находится перпендикулярно кромке ножа. Участки примерно 70 нм в толщину нарезаются со скоростью 0,08 мм/с. Эти участки разделяются флотацией на деионизированную воду и собранные с использованием устройства для микротомии волоса и отобранные с использованием «Perfect Loop» (петли, производимой фирмой Electron Microscopy Sciences, Fort Washington, PA). Образцы перемещаются посредством этой петли к медному ситу 300 ПЭМ диаметром 3 мм с подложкой lacey из углерода / формвара. Интересующие области (неповрежденные четко отрезанные образцы, демонстрирующие граничную область), которые лежат поверх отверстий в подложке, отображаются и анализируются.
Изображения берутся при различных увеличениях (50,000× и 100,000×) в просвечивающем электронном микроскопе Hitachi H-9000 (ТЕМ; Hitachi High Technologies America, Pleasanton, CA) при ускоряющем напряжении 300 кВ с использованием ПЗС камеры Gatan (Gatan Inc., Warrenton, PA) и программного обеспечения Digital Micrograph. Отображаются характерные области (области, выбранные там, где граница раздела каталитической поверхности четко наблюдается перпендикулярно поверхности образца). Калиброванные маркеры и обозначения образцов размещаются на каждом изображении. Исследуются многочисленные (>10) граничные области.
Как следствие, покрытия по линии прямой видимости, результирующий каталитически активный материал по изобретению с одной стороны может рассматриваться как нанопористые каталитические подложки, имеющие относительно тонкие оболочки из дискретного каталитического золота на их внешних поверхностях и рядом с ними. То есть результирующий каталитически активный материал содержит обогащенную золотом область оболочки рядом с поверхностью и внутреннюю область, содержащую незначительное количество золота. В предпочтительных вариантах осуществления эта богатая золотом область оболочки содержит малые (в общем случае менее 10 нм, наиболее предпочтительно менее 5 нм) дискретные золотые частицы.
Изобретательский подход к формированию каталитически активной области оболочки только на поверхности нанопористой подложки при разработке нового каталитического материала противоположен обычному здравому смыслу, и поэтому тот факт, что результирующий материал является таким каталитически активным, довольно удивителен. А именно настоящее изобретение создает каталитическую функциональную возможность только рядом с поверхностью высокопористой подложки. Внутренняя пористость преднамеренно не используется. С обычной точки зрения, кажется нецелесообразным недоиспользовать нанопористую подложку таким образом. Зная, что каталитически активный металл должен быть нанесен только на поверхности подложки, обычным предубеждением было бы использовать непористую подложку при нанесении каталитически активного золота на подложку. Это главным образом тот случай, когда метод PVD не способен получить доступ к внутренней стороне пористой подложки в любом случае. Настоящее изобретение преодолевает это предубеждение через объединенное понимание того, что (1) подвижность золота очень ограничена на поверхности нанопористых подложек, и (2) золото по-прежнему каталитически активно даже при очень низких массовых нагрузках, являющихся результатом подхода покрытия поверхностей.
Следовательно, использование таких подложек является весьма и однозначно благоприятным в контексте нанесения золота на область поверхности нанопористой подложки, даже если полная каталитическая способность подложки не использована. По этой причине, каталитически активное золото легко образуется на композитных подложках (описанных далее ниже), в которых нанопористые «гостевые» частицы нанесены на «исходный» материал, который сам по себе может быть или не быть нанопористым.
В общем случае, физическое осаждение из паровой фазы предпочтительно осуществляется, когда подлежащая обработке подложка хорошо перемешивается (к примеру, переворачивается, разжижается и тому подобное), чтобы помочь гарантировать, что поверхности частиц обработаны в достаточной мере. Способы переворачивания частиц для нанесения с помощью метода PVD обобщены в патенте США 4,618.525 относительно способов, специально направленных на катализаторы, см. Wise: “High Dispersion Platinum Catalyst by RF Sputtering, “Journal of Catalysis, Vol.83, pages 477-479 (1983) и Cairns et al. патент США 4,046,712.
Физическое осаждение из паровой фазы может осуществляться при любой желательной температуре в очень широком диапазоне. Однако нанесенное золото может быть более каталитически активным, если золото нанесено при относительно низких температурах, например при температуре ниже примерно 150°С, предпочтительно ниже примерно 50°С, более предпочтительно при окружающей температуре (к примеру, примерно от 20°С до примерно 27°С) или меньше. Работа в условиях окружающей среды является предпочтительной, поскольку она является эффективной и экономичной, так как не требуются нагрев или охлаждение во время нанесения.
Хотя это не подтверждено теорией, считается, что нанесение при низкой температуре дает более каталитически активное золото, по меньшей мере, по двум причинам. Во-первых, более низкие температуры дают золото с большими дефектами с точки зрения геометрического размера и (или) формы (угловатость, изгибы, ступеньки и т.п.). Считается, что такие дефекты играют роль во многих каталитических процессах (см. Z.P. Liu and Р. Hu, /. Am. Chem. Soc, 2003, 125, 1958). С другой стороны, нанесение при более высоких температурах чаще дает золото, которое имеет более организованную и свободную от дефектов структуру кристалла и, следовательно, является менее активным. Кроме того, температура нанесения может также влиять на мобильность золота. Золото стремится к большей подвижности при более высоких температурах и, следовательно, более вероятно, что оно аккумулируется и потеряет каталитическую активность.
Настоящее изобретение обеспечивает каталитически активное золото на желательной(-ых) подложке(-ах), чтобы образовать гетерогенную каталитическую систему по настоящему изобретению. Золото общеизвестно как благородный относительно инертный металл желтоватого цвета. Однако характеристики золота значительно изменяются в наноразмерных режимах, где золото становится высоко каталитически активным. Высокая активность золотых катализаторов по сравнению с другими металлическими катализаторами иллюстрируется реакциями, такими как окисление СО в условиях окружающей среды и восстановления NO, а также эпоксидирование и гидрохлорирование ненасыщенных углеводородов.
В предпочтительных вариантах осуществления каталитически активное золото может определяться одной или несколькими требуемыми характеристиками, в том числе размером, цветом и (или) электрическими характеристиками. В общем случае, если образец золота имеет одну или несколько из этих требуемых характеристик, и предпочтительно две или более из этих характеристик, оно будет считаться каталитически активным в практике настоящего изобретения. Наномасштабный размер является ключевым требованием, связанным с каталитически активным золотом, по той причине, что каталитически активное золото в значительной степени является функцией того, имеет ли образец золота размер толщины в наномасштабном режиме (к примеру, диаметр частицы, диаметр волокна, толщина пленки и т.п.). Частицы (также называемые в литературе массивами) с меньшими измерениями обычно каталитически более активны. По мере увеличения размера каталитические характеристики быстро ухудшаются. Соответственно, предпочтительные варианты осуществления каталитически активного золота могут иметь наномасштабный размер в широком диапазоне, причем меньшие размеры являются более предпочтительными, когда желательна более высокая активность. В качестве общих рекомендаций каталитически активное золото имеет измерения частицы или массива в диапазоне от примерно 0,5 нм до примерно 50 нм, предпочтительно от примерно 1 нм до примерно 10 нм. Предпочтительно, чтобы золото имело размер не более от примерно 2 нм до примерно 5 нм в любом измерении.
В технической литературе сообщается, что каталитическая активность может быть максимальной при размерах в диапазоне от примерно 2 нм до примерно 3 нм. Размер отдельных наночастиц золота может определяться ПЭМ анализом, как общеизвестно в данной области и как описано здесь.
С точки зрения цвета золото в режимах размеров большего масштаба имеет желтоватый цвет. Однако в наномасштабных режимах, в которых золото является каталитически активным, цвет золота становится красновато-розовым, а затем лиловато-синим при рассмотрении в белом свете невооруженным глазом, хотя очень малые массивы золота и поверхности золотых частиц могут быть бесцветными. Такие бесцветные разновидности могут быть вполне каталитическими, и присутствие таких бесцветных разновидностей обычно сопровождается некоторыми цветными наночастицами золота. Следовательно, определение того, включает ли цвет образца золота заметную компоненту от красновато-розовой до лиловато-синей и (или) является бесцветным, указывает на то, что, возможно, этот образец является каталитически активным.
Катализаторы, включающие в себя в общем случае окрашенные белым частицы двуокиси титана после нанесения золота, желательно имеют голубой оттенок. Конечно, в случае подложек катализаторов, которые окрашены благодаря модифицирующим доменам металл-кислород, результирующий цвет является комбинацией голубого цвета нанозолота и цвета подстилающей подложки. По нашему опыту, голубые катализаторы нанозолота, содержащие двуокись титана, являются гораздо более активными, чем более розовые или более красные аналоги.
Количество каталитически активного золота, получаемого на подложке, может изменяться в широком диапазоне. Однако с практической точки зрения полезно рассмотреть и обдумать несколько факторов при выборе желательной массовой нагрузки. Например, каталитически активное золото является очень активным, когда получается на нанопористых подложках в соответствии с практикой настоящего изобретения. Таким образом, необходимы очень малые массовые нагрузки, чтобы достичь хорошей каталитической работы. Это удачно, потому что золото является дорогим. По экономическим причинам поэтому было бы желательно не использовать больше золота, чем разумно требуется для достижения желательной степени каталитической активности. Кроме того, так как наноразмерное золото является высоко подвижным при нанесении с помощью метода PVD, каталитическая активность может быть подорвана, если использовано слишком много золота, из-за аккумуляции золота в больших частицах. С учетом таких факторов и в качестве общих рекомендаций массовые нагрузки золота на подложку предпочтительно находятся в диапазоне от 0,005 до 5% по массе, предпочтительно от 0,005 до 2% по массе, и наиболее предпочтительно от 0,005 до 1,5% по массе на основе общей массы подложки и золота. Когда подложкой является композит из двух или более составляющих, например композит, образованный множеством из одного или нескольких видов гостевых частиц на одном или нескольких видах исходных частиц, общая масса подложки соотносится с общей массой результирующего композита.
Нанесение каталитически активного золота на подложку хорошо совмещается с методами PVD. Золото естественно распыляется на нанопористую поверхность подложки, чтобы сформировать каталитически активные наноразмерные частицы и массивы. Считается, что золото наносится в основном в элементарной форме, хотя могут присутствовать другие состояния окисления. Хотя золото является подвижным и имеет тенденцию аккумулироваться на сайтах на поверхности, которые дают общее понижение энергии системы, нанопористые характеристики подложки и предпочтительное использование включения границ металл-кислород в практику настоящего изобретения помогают фиксировать золото, помогая удерживать нанесенные массивы золота изолированными и предпочтительно дискретными. Это помогает сохранить каталитическую активность, которая могла бы иначе быть подорвана, если бы золото аккумулировалось в частицах большего размера. Альтернативно, очень тонкие золотые пленки наноразмерной толщины могут также быть образованы на некоторой части или на всей поверхности подложки по желанию, имея в виду, что каталитическая активность уменьшается с увеличением толщины пленки. Даже если такие пленки могут быть образованы с каталитической активностью, дискретные изолированные массивы золота имеют тенденцию к гораздо большей каталитической активности и являются предпочтительными в большинстве применений.
Также считается, что низкокоординированное золото в каталитических наночастицах является благоприятным. Низкокоординированное золото соотносится с Aun, для которого n в среднем находится в диапазоне от 1 до 100, предпочтительно примерно от 2 до 20. Хотя это не доказано теорией, считают, что каталитическая активность очень малых массивов золота связана, по меньшей мере, до некоторой степени с дефектами низкой координации, и что эти дефекты способны обеспечить сайты для хранения зарядов, которые могут быть перенесены из подстилающих подложек и (или) других источников. Соответственно, имея в виду такие дефекты и механизмы, предпочтительно, чтобы гетерогенные катализаторы по изобретению включали в себя одно или несколько из следующих свойств: (а) золото и следовательно дефекты расположены в основном на поверхности подстилающей подложки; (b) средняя величина n больше примерно 2; и (с) насколько это практически возможно, массивы золота являются изолированными, но несмотря на это близкими друг к другу (на расстоянии от примерно 1 нм до примерно 2 нм или меньше). Хотя такие свойства могут быть связаны с массивами золота больших размеров, возможно, что такие характеристики могут быть найдены в основном на ступеньках или кромках больших массивов.
Помимо золота один или несколько других катализаторов могут также быть обеспечены на тех же подложках и (или) на других подложках, смешанных с золотосодержащими подложками. Примеры включают в себя один или несколько из серебра, палладия, платины, родия, рутения, осмия, меди, индия и тому подобного. Если они используются, их можно совместно нанести на подложку из источника, который является тем же или отличается от мишени источника золота. Альтернативно, такие катализаторы могут быть обеспечены на подложке либо до, либо после золота. Другие катализаторы, требующие термообработки для активации, преимущественно могут наноситься на подложку и обрабатываться нагревом до нанесения золота. В некоторых случаях катализаторы, такие как Rh, Pd и Pt, могут наноситься в соответствии с настоящим изобретением и использоваться как катализаторы без присутствия золота.
Опционально, гетерогенная каталитическая система может быть обработана термически после нанесения золота, если это желательно. Некоторые традиционные способы могут потребовать такой термообработки, чтобы сделать золото каталитически активным. Однако золото, нанесенное в соответствии с настоящим изобретением, является высоко активным, поскольку нанесено без какой-либо необходимости в термообработке. В действительности такое золото может очень эффективно каталитически окислять СО, чтобы образовать СО2 при комнатной температуре или даже гораздо более низких температурах. Кроме того, в зависимости от таких факторов как природа подложки, активаторы, количество золота или тому подобное, каталитическая активность может быть подорвана до некоторой степени в случае термической обработки при слишком высокой температуре. Однако осуществление термообработки после нанесения золота остается возможным вариантом. Например, для некоторых практических режимов, в которых гетерогенная каталитическая система предназначена для использования в нагретой окружающей среде, к примеру окружающей среде с температурой выше примерно 200°С, каталитическая активность системы должна быть подтверждена при этих температурах.
Многодоменный нанопористый каталитически активный композитный катализатор по настоящему изобретению преимущественно используется применительно к чувствительным устройствам, например системам питания топливных элементов, чтобы очистить водородное промышленное сырье, загрязненное СО, посредством каталитического окисления СО в CO2. Катализатор может быть включен в такие системы множеством различных способов. В качестве опций, многодоменный нанопористый каталитически активный композитный катализатор может быть введен в качестве так называемого «гостевого» материала на и (или) в большом «исходном материале». Каталитически активное золото катализатора может быть нанесено на гостевой материал до или после того, как образована структура гостевой / исходный материал. В этих гостевых / исходных структурах гостевой материал может присутствовать в виде нанопористых совокупностей наночастиц. Они могут быть до некоторой степени агрегированы.
Эта гостевая / исходная структура обеспечивает сильно развитую общую внешнюю поверхность при сохранении желательного малого падения давления структур, имеющих более крупные промежутки между частицами. Кроме того, используя нанопористые меньшие частицы при создании этих структур, гостевой / исходный материал, могут быть использованы недорогие ненанопористые более грубые материалы. Таким образом, могут быть приготовлены очень недорогие высоко активные частицы катализатора, так как большая часть объема слоя катализатора занята недорогим подстилающим веществом.
Широкий диапазон материалов и структур может быть использован в качестве исходного вещества для нанесения гостевых частиц. Примеры исходных структур включают в себя порошки, частицы, шарики, гранулы, экструдаты, волокна, оболочки, соты, пластины, мембраны или тому подобное. Так как структура гостевой / исходный материал включает в себя нанопористый гостевой материал, исходный материал не обязательно должен быть нанопористым, но может быть таким, если это желательно.
Один предпочтительный вариант осуществления исходного вещества подложки содержит один или несколько видов частиц. Исходные частицы могут по форме быть правильными, неправильными, древовидными, не ветвящимися или тому подобное. Исходные частицы в общем случае являются относительно большими по сравнению с более мелкими гостевыми частицами и обычно независимо могут иметь средний размер частицы в диапазоне от 3 микрометров до примерно 2000 микрометров, более предпочтительно в диапазоне от примерно 5 микрометров до примерно 1000 микрометров. Однако в некоторых применениях могут использоваться более крупные исходные частицы. Также желательно, чтобы в таких диапазонах относительные размеры исходных и гостевых частиц были пригодны для образования упорядоченной смеси. Таким образом, предпочтительно, чтобы соотношение размеров частиц среднего объема у исходных частиц к гостевым частицам было больше примерно 3:1, более предпочтительно больше примерно 10:1 и наиболее предпочтительно больше примерно 20:1.
В некоторых практических режимах размер частиц исходного материала можно удобно выразить в терминах размера ячеек сита. Обычное выражение для размера ячеек сита приводится как «а×b», где «а» относится к плотности ячеек сита, через которые практически все частицы провалились бы, а «b» относится к плотности ячеек сита, которая является достаточно высокой, так что практически задерживает все частицы. Например, размер ячеек сита 12×30 означает, что практически все частицы провалились бы через сито, имеющую плотность 12 проволочек на дюйм, и практически все частицы были бы задержаны ситом с плотностью 30 проволочек на дюйм. Частицы подложки, характеризующиеся размером сита 12×30, будут включать в себя совокупность частиц, имеющих диаметр в диапазоне от примерно 0,5 мм до примерно 1,5 мм.
Выбор соответствующего размера сита для частиц подложки включает в себя согласование каталитической скорости с сопротивлением воздушному потоку. В общем случае более мелкий размер ячеек сита (т.е. меньшие частицы) будет обеспечивать не только более высокую каталитическую скорость, но также более высокое сопротивление воздушному потоку. При согласовании этих значений «а» обычно находится в диапазоне от 8 до 12, а «b» обычно бывает от 20 до примерно 40 с условием, что разность между а и b в общем случае составляет от примерно 8 до примерно 30. Конкретные размеры ячеек сита, которые пригодны в практике настоящего изобретения, включают в себя 12×20, 12×30 и 12×40. Частицы с размером ячейки 40×140 или 80×325 или даже меньше могут быть использованы в волокнистых структурах, где частицы удерживаются в структуре путем сплетения с волокнами или другими средствами.
Широкое разнообразие материалов может служить в качестве пригодных исходных частиц в практике настоящего изобретения. Типичные примеры включают в себя углеродистые материалы, полимерные материалы, дерево, бумагу, хлопок, кварц, кремнезем, молекулярные сита, ксерогели, металлы, сплавы металлов, интерметаллические соединения, аморфные металлы, компаунды металлов, такие как окиси, нитриды или сульфиды металлов, их комбинации и тому подобное. Характерные окиси (или сульфиды) металлов включают в себя окиси (или сульфиды) одного или нескольких из магния, алюминия, титана, ванадия, хрома, марганца, кобальта, никеля, меди, цинка, галлия, германия, стронция, иттрия, циркония, ниобия, молибдена, технеция, рутения, родия, палладия, серебра, кадмия, индия, железа, олова, сурьмы, бария, лантана, гафния, таллия, вольфрама, рения, осмия, иридия, платины, двуокиси титана-окиси алюминия, бинарных окисей, таких как гопкалит (CuMn2O4), их комбинации и тому подобное.
Примеры углеродистых подложек включают в себя активированный уголь и графит. Подходящие частицы активированного угля могут быть получены из широкого выбора источников, в том числе угля, кокосов, торфа, любого активированного углерода из любого(-ых) источника(-ов), комбинации, по меньшей мере, двух из перечисленных и (или) тому подобного. Предпочтительный вариант осуществления углеродистых исходных частиц включает в себя активированный уголь, серийно выпускаемый под товарным обозначением “Kuraray GG” фирмой Kuraray Chemical Co., Ltd. (Япония). Этот углерод преимущественно микропористый, но также содержит мезопоры и макропоры («фидер поры»), необходимые для быстрого переноса массы по всей частице углерода. Он содержит карбонат калия, но имеет низкое содержание галогенидов. Материал получают из кокосов.
В общем случае может быть использован широкий выбор способов для создания структур гостевой / исходный материал из гостевых и исходных частиц. В одном способе нанопористые гостевые частицы смешиваются в растворе с одной или несколькими связывающими веществами, а затем эта смесь объединяется с более грубыми исходными частицами. Если более грубая частица является пористой, то смесь раствора маленькая частица-связывающее вещество может быть введена при помощи начального смачивания пористой большей частицы. Если более крупная частица не является пористой, смесь раствора маленькая частица-связывающее вещество может быть смешана с более грубыми частицами, и жидкость из раствора может быть удалена либо одновременно со смешиванием, либо после смешивания. В любом из этих двух случаев после объединения нанопористого материала с малым размером частиц, связывающего вещества и более грубых частиц и удаления жидкости из раствора смесь высушивается и опционально кальцинируется или иным образом термообрабатывается, чтобы получить композитную частицу, имеющую меньшие нанопористые частицы, сцепленные на поверхности более грубой частицы.
Температура кальцинирования выбирается так, чтобы она была ниже температуры, при которой нанопористые частицы теряют пористость. В общем случае температура кальцинирования будет находиться в диапазоне примерно от 200°С до примерно 800°С. В общем, предпочтительнее низкая температура. Образец нагревается в достаточной степени для того, чтобы создать связь между связывающим веществом и частицами, но недостаточной высокой, чтобы значительно изменить нанопористую природу покрытия.
Связывающее вещество в общем случае включается в количестве от 0,1 до примерно 50 частей по массе на основе 100 частей по массе гостевого материала. Примеры связывающих веществ включают в себя соли основных металлов, частично гидролизованные комплексы металлов, такие как частично гидролизованные окиси щелочей, содержащие воду частицы металл-оксо-гидроксид и соли других металлов. Хотя примеры, содержащие углерод, в общем случае нагреваются при более умеренных температурах, к примеру от 120°С до 140°С. В качестве другого способа для изготовления композитного вещества подложки гостевые частицы могут быть сцеплены с исходными частицами с помощью частично гидролизованных растворов алкоксидов, растворов солей основных металлов или наноразмерных коллоидных окислов металлов и кислород-гидроксидов в качестве связывающих веществ. Частично гидролизованные растворы алкоксидов приготавливаются, как это общеизвестно в технике золь-гелей. Пригодные алкоксиды металлов включают в себя алкоксиды титана, алюминия, кремния, олова, ванадия и смеси этих алкоксидов. Соли основных металлов включают в себя соли нитратов и карбоксилатов титана и алюминия. Коллоидные наноразмерные материалы включают в себя коллоиды оксидов и кислород-гидроксиды алюминия, титана и оксиды кремния, олова и ванадия.
В качестве альтернативного способа создания композиты гостевой-исходный материал могут быть приготовлены путем физического смешивания гостевого и исходного материалов. Это может произойти при помощи методов, включающих в себя механическое и (или) электростатическое смешивание. Как следствие этого смешивания, гостевой и исходный компоненты стремятся связаться в желательные упорядоченные смеси, в которых гостевой материал практически однородно покрывает или иным образом связан с поверхностями исходного материала. Опционально, один или несколько жидких ингредиентов могут быть включены в ингредиенты, используемые для создания упорядоченной смеси, хотя сухое смешивание с небольшим количеством растворителя или без него может обеспечить подходящие композиты. Хотя это не доказано теорией, считается, что гостевой материал может физически, химически и (или) электростатически взаимодействовать с исходным материалом, чтобы образовать упорядоченную смесь. Упорядоченные смеси и способы изготовления таких смесей были описаны в Pfeffer et al., “Synthesis of engineered Particulates with Tailored Properties Using Dry Particle Coating”, Powder Technology 117 (2001) 40- 67; и Hersey, “Ordered Mixing: A New Concept in Powder Mixing Practice,” Powder Technology, 11 (1975) 41-44, каждая из которых включена сюда посредством ссылки.
В других типичных вариантах осуществления многодоменные наноразмерные композитные каталитические частицы и скопления частиц, содержащие каталитически активное золото, наносятся на, по меньшей мере, часть поверхностей массивов фильтрационного вещества, таких как описанные в патенте США 6,752,889 (все содержание которого включено сюда посредством ссылки) или такие как серийно выпускаемые фильтры под товарным обозначением 3М High Air Flow (HAF) от фирмы 3М Company, St. Paul, MN. Эти вещества в общем случае включают в себя множество разомкнутых траекторий или протоков, проходящих от одной стороны вещества до другой. Обнаружено, однако, что даже если композитные каталитические частицы могут покрывать только поверхности этих протоков, оставляя большие открытые объемы через эти протоки для прохождения воздушных потоков, по существу весь СО в воздушных потоках, проходящих через это вещество, каталитически окисляется фактически без падения давления.
Еще один иллюстративный метод упаковки композитного многодоменного нанопористого каталитически активного композитного катализатора включает в себя интеграцию катализатора в заполненную мембранную структуру. Мембраны, заполненные катализаторами, описаны в технике, например в патентах США  4,810,381 и 5,470.532. Однако интеграция таких заполненных мембран в PROX системы с помощью композитного многодоменного нанопористого каталитически активного композитного катализатора по настоящему изобретению была бы особенно благоприятна, потому что эти материалы могут быть выполнены в виде, который является чрезвычайно активным, проявляя только низкое противодавление.
Каталитические системы, содержащие нанозолото на модифицированной двуокиси титана, как описано здесь, работают как превосходные PROX катализаторы. При применении этих PROX катализаторов могут быть созданы высокоэффективные топливные элементы, питающиеся от продукта риформинга газов. Эти катализаторы удаляют СО из промышленного сырья топлива, содержащего водород, окись углерода, СО2 и H2O так, что наблюдается малая потеря эффективности, когда топливный элемент работает на продукте риформинга газа, по сравнению с работой на очищенной смеси водородного газа, не содержащей окись углерода и имеющей то же содержание водорода.
В этих применениях PROX количество кислорода может изменяться так, чтобы удовлетворять требованиям конкретного устройства. Молярное отношение кислорода к СО может быть стехиометрическим, то есть 0,5:1, и может быть выше, например 1:1, 2:1 или еще выше.
Может быть желательно управлять температурой каталитического слоя во время использования таких материалов в качестве PROX катализаторов. Примеры таких устройств для поддержания температуры включают в себя следующие: вентиляторы с циркуляцией воздуха, в которых воздух циркулирует вокруг или над каталитическим контейнером во время применения посредством использования механического вентилятора или посредством пассивного потока воздуха; охлаждающие ребра и охлаждающие структуры, такие как теплосъемники и теплоотводы, прикрепленные к контейнеру с катализатором, чтобы удалять избыток тепла, вырабатываемого во время работы катализатора; разбавление самого слоя катализатора неактивными частицами, чтобы уменьшить в каталитическом слое плотность участков, производящих тепло; комбинацию частиц катализатора со структурами с высокой теплопроводностью, такими как металлические ткани, фольга, волокна, пены и тому подобное, чтобы обеспечить улучшенную теплопередачу от внутренней части слоя частиц катализатора к внешней части слоя катализатора. Такие подходы дают возможность поддерживать температуру слоя катализатора в температурной зоне самой высокой активности окисления СО при поддержании также очень высокой избирательности.
Настоящее изобретение теперь будет дополнительно описано в контексте следующих иллюстративных примеров.
Способ нанесения золота: Процесс нанесения наночастиц золота на частицы подложки.
Устройство 10 для нанесения каталитически активного золота, использующее методы PVD, показано на Фиг.1 и 2. Устройство 10 включает в себя корпус 12, определяющий вакуумную камеру 14, содержащую смеситель 16 частиц. Корпус 12, который может быть выполнен из сплава алюминия, если это желательно, является ориентированным в вертикальном направлении полым цилиндром (45 см в высоту и 50 см в диаметре).
Основание 18 содержит отверстие 20 для высоковакуумного клапана 22, за которым следует шестидюймовый диффузионный насос 24, а также подложка 26 для смесителя 16 частиц. Камера 14 способна иметь разрежение до фоновых давлений в диапазоне 10-6 Торр.
Верхняя часть корпуса 12 включает в себя съемную резиновую L-образную прокладочную уплотнительную пластину 28, которая подогнана к установленному снаружи магнетронному источнику 30 нанесения распылением на постоянном токе диаметром три дюйма (a US Gun II, US, INC., San Jose, CA). В источник 30 встроена распыляющая золото мишень 32 (7,6 см (3,0 дюйма) диаметром ×0,48 см (3/16 дюйма) толщиной. Источник 30 распыления запитывается от магнетронного привода MDX-10 Magnetron Drive (Advanced Energy Industries, Inc, Fort Collins, CO), согласованного с дугогасительным устройством Sparc-le 20 (Advanced Energy Industries, Inc, Fort Collins, CO).
Смеситель 16 частиц является полым цилиндром (12 см в длину ×9,5 см диаметром по горизонтали) с прямоугольным отверстием 34 (6,5 см ×7,5 см) в верхней части 36. Отверстие 34 расположено на 7 см непосредственно ниже поверхности 36 распыляющей золото мишени 32, так что распыленные атомы золота могут проникнуть в объем 38 смесителя. Смеситель 16 согласован с валом 40, выровненным с его осью. Вал 40 имеет прямоугольное поперечное сечение (1 см × 1 см), к которому прикреплены болтами четыре прямоугольные лопасти 42, которые образуют механизм перемешивания или гребное колесо для переворачиваемых частиц подложки. Лопасти 42 каждая содержит два отверстия 44 (2 см в диаметре), чтобы способствовать сообщению между объемами частиц, содержащимися в каждом из четырех квадрантов, образованных лопастями 42 и цилиндром 16 смесителя. Размеры лопастей 42 выбраны так, чтобы задать расстояния бокового и концевого зазора либо 2,7 мм, либо 1,7 мм от стенок 48 смесителя. Предпочтительные режимы использования этого устройства описаны ниже в примерах.
Данное устройство используется следующим образом, чтобы приготовить каталитические материалы в соответствии со следующей процедурой, если иное не указано явно. 300 куб.см частиц подложки сначала нагреваются до примерно 150°С в воздухе в течение ночи, чтобы удалить остаток воды. Затем их помещают в устройство 10 для смешивания частиц, пока они горячие, и в камере 14 затем осуществляют разрежение. Если давление камеры находится в диапазоне 10-5 Торр (базовое давление), распыляющий газ аргон подводится в камеру 14 при давлении примерно в 10 миллиторр. Затем начинается процесс нанесения золота путем приложения заранее заданного питания к катоду. Вал 40 смесителя частиц вращается со скоростью примерно 4 оборота в минуту во время процесса нанесения золота. Питание прекращается после заранее заданного времени. Камера 14 заполняется воздухом, и частицы с нанесенным золотом удаляются из устройства 10. Мишень 32 распыления золота взвешивается до и после нанесения покрытия, чтобы определить количество нанесенного золота. В общем случае, примерно 20% потери веса мишени представляет собой золото, нанесенное на образец.
Во время процесса нанесения зазор между лопастями 42 и стенкой камеры был установлен на заранее заданную величину 2,7 мм. Для условия 1 распыления мощность распыления составляет 0,12 кВт и время нанесения составляет 1 час. Для условий 2 распыления мощность распыления составляет 0,24 кВт и время нанесения составляет 1 час.
Тестовая процедура 1: Тест на активность окисления СО
Фиг.4b находящейся на рассмотрении заявки, поданной 30 декабря 2005, на имя John Т. Brady et al., озаглавленной «Гетерогенная композитная содержащая углерод каталитическая система и способы, которые используют каталитически активное золото» и носящей номер поверенного 60028US003, показывает тестовую систему 250, используемую для того, чтобы быстро сортировать малые количества новых каталитических составов по активности. Содержание этой находящейся на рассмотрении заявки включено сюда посредством ссылки для всех целей. Ссылочные позиции, используемые в нижеследующей процедуре, являются теми же ссылочными позициями, которые используются на Фиг.4b этой находящейся на рассмотрении заявки. 3600 частей на миллион смеси СО/воздух поступают в отсек 280 по линии 285 обычно со скоростью 64 л/мин и относительной влажности (OB)>90%. 9,6 л/мин этого потока пропускаются по трубке 289, содержащей образец 290 катализатора, в то время как избыток выводится наружу из отсека 280 через отверстие (не показано) на стороне отсека 280.
5 мл образец катализатора готовится путем его загрузки в 10 мл градуированный цилиндр с помощью способа, описанного в ASTM D2854-96 Standard Method for Apparent Density of Activated Carbon. Используя тот же способ, образец 290 катализатора загружается в трубку 289 внутренним диаметром 5/8 дюйма (наружный диаметр 3/4 дюйма) – медную трубку примерно 3,5 дюйма в длину, уплотненную на одном конце ватной затычкой (не показана).
Трубка 289, содержащая образец 290 катализатора, вводится вверх через 29/42 внутренний патрубок в нижней части поликарбонатного отсека 287 так, что открытый конец проходит в отсек. Другой конец трубки оборудован 3/4 дюймовой гайкой Swagelok® и муфтой (не показана) для легкого соединения с тестовой системой 250 и разъединения от тестовой системы 250. Гайка входит в зацепление с фитингом с внутренней резьбой (не показан) в трубке 295 с наружным диаметром 1/2 дюйма, соединенной через патрубок 296 с источником вакуума (не показан) через ротаметр 293 и игольчатый клапан 294. Трубка 295 также соединяет входное отверстие диафрагменного насоса (не показан) через патрубок 297, который втягивает образец в клапан отбора проб инструмента для газовой хроматографии, и детектор СО, используемый в качестве системы 284 обнаружения СО. Малый поток в инструмент для газовой хроматографии (примерно 50 мл/мин) пренебрежимо мал по сравнению с общим потоком через слой катализатора. Ротаметр 293 калибруется путем размещения расходомера Gilibrator по методу мыльного пузыря (не показан) на входе в медную трубку, содержащую катализатор.
Чтобы начать тест, стационарный поток 64 л/мин 3600 частей на миллион смеси СО/воздух при относительной влажности >90% вводится в поликарбонатный отсек 280. Затем игольчатый клапан 294 регулируется так, чтобы давать поток 9,6 л/мин через образец 290 катализатора. Концентрация СО в воздухе, выходящая из образца 290 катализатора, анализируется системой 284 обнаружения СО. Результаты обрабатываются через компьютер 286. Система 284 обнаружения СО включает в себя газовый хроматограф (ГХ) SRI 8610С (SRI Instruments, Torrance, CA), оборудованный 10-входным клапаном для отбора проб. Диафрагменный насос (KNF Neuberger UNMP830 KNI, Trenton, NJ) непрерывно втягивает примерно 50 мл/мин образца из тестового выпускного отверстия через клапан для отбора проб ГХ. Периодически клапан впрыскивает образец в 3 футовую 13Х колонку молекулярного сита. СО отделяется от воздуха, и его концентрация измеряется при помощи детектора метанайзер/FID (минимальная определяемая концентрация СО менее 1 частей на миллион). ГХ калибруется с использованием подтвержденного стандарта СО в смесях воздуха или азота в диапазоне от 100 до 5000 частей на миллион СО (Quality Standards, Pasadena, TX). Каждый анализ СО занимает примерно 3 минуты. После завершения анализа другой образец впрыскивается в колонку, и анализ повторяется.
Тестовая процедура 2: Тест для оценки PROX катализатора
Целью данного теста является быстрая оценка новых катализаторов на активность и избирательность в PROX. Стехиометрический избыток кислорода (увлажненный воздух при 60 мл/мин; =4) смешивается с увлажненной газовой смесью 300 мл/мин 2% СО в водороде и пропускается через слой катализатора при комнатной температуре. Относительно высокое значение , равное 4, было выбрано для того, чтобы более четко отличать высоко избирательный PROX катализатор от менее избирательного.
При осуществлении PROX реакции температура слоя катализатора увеличивается пропорционально количеству энергии, освобождаемой во время реакций окисления. Если реакция окисления включает в себя только СО, который протекает через слой катализатора, увеличение температуры равно увеличению температуры, которое ожидалось бы для теплоты реакции для полного окисления СО. Если во время PROX теста катализатор начинает окислять не только СО, но также водород, температура возрастет пропорционально количеству водорода, которое окисляется. Таким образом, измеряя как количество окиси углерода, которое не окисляется в PROX тесте, так и температуру слоя катализатора, определяют способность материала в качестве PROX катализатора. Катализатор, который каталитически окисляет самое большое количество СО наряду с тем, что имеет наименьшую температуру реакционной трубки, является превосходным PROX катализатором для использования в этих условиях.
Слой быстро нагревается по мере того, как СО окисляется в CO2 при помощи катализатора. Внешняя температура тестового крепления измеряется в точке, соответствующей верхней части слоя катализатора. Также измеряется концентрация СО в выпускном отверстии слоя катализатора. Примерно после 35 минут с начала теста к сырью добавляется увлажненный CO2 при 150 мл/мин, чтобы оценить влияние на преобразование СО и избирательность.
Хороший PROX катализатор будет демонстрировать близкое к 100% преобразование СО как до, так и после добавления CO2 в сырье. Как обсуждалось выше, концентрации СО больше, чем примерно 10 частей на миллион могут испортить анодный катализатор PEFC.
Температура, достигаемая слоем катализатора, является мерой избирательности катализатора. Когда проводился этот тест с использованием эквивалентного количества чистого СО (6 мл/мин) в гелии при значении , равном 4, и общем потоке 360 мл/мин, установившаяся температура, измеренная считывающим устройством термопары, составляла примерно 40°С. Эта температура соответствует полному окислению только СО (нет водорода). Температура выше примерно 40°С указывает, что катализатор также окисляет Н2, т.е. избирательность низка.
Фиг.3 показывает тестовую систему, используемую для тестирования образцов катализатора на PROX активность и избирательность. Газовая смесь, используемая в этой тестовой процедуре, изготовлена путем соединения трех различных газовых потоков в фитинге проходной крестовины из нержавеющей стали Swagelok® 1/8 дюйма (Swagelok Company, Solon, ОН, номер компонента SS-200-4) 310. Каждый поток газа может быть отдельно соединен с фитингом и отъединен от фитинга. Затычки используются для того, чтобы закрывать неиспользуемые входы. Использовались три следующих газа для создания тестовой смеси:
(1) Смесь высокого давления 2% (объем/объем) СО в водороде (Quality Standards, Pasadena, TX), которая хранилась в резервуаре 312, оборудованном регулятором давления и клапаном 313 с тонкой иглой (Whitey SS-21RS2). (2) Строительный сжатый воздух 311 фильтруется и регулируется панелью 314 регулировки фильтра сжатого воздуха 3М W-2806 и замеряется в тестовой системе при помощи контроллера 316 массового расхода (Sierra Instruments model 810C-DR-13, Monterey, CA). (3) Резервуар 318 СО технического сорта, оборудованный регулятором давления и клапаном 319 с тонкой иглой (Whitey SS-21RS2, Swagelok Company, Solon, ОН). Поток СО2 проходит через ротаметр 320 (Alphagaz 3502 flowtube, Air Liquide, Morrisville, PA) до попадания на фитинг 310 проходной крестовины.
Вышеупомянутые газы смешиваются в фитинге 310 проходной крестовины и проходят через ротаметр 322 (Aalborg Instruments 112-02 flowtube, Orangeburg, NY). Этот ротаметр измеряет общий поток газовой смеси, используемый в тестовой процедуре.
Затем газовая смесь увлажняется до относительной влажности >90% при комнатной температуре (~ 2,7% водяного пара) путем ее пропускания через внутреннюю трубку увлажнителя 324 в виде Nafion® трубки в оболочке, как показано (Perma Pure МН-050-12Р-2, Toms River, NJ). Жидкая вода вводится в увлажнитель через линию 326 и выходит через линию 328.
Увлажненная газовая смесь затем проходит в трубку 330 внешним диаметром 0,5 дюйма и внутренним диаметром 0,42 дюйма из нержавеющей стали длиной примерно 3 дюйма, которая содержит образец 331 катализатора, подлежащий тестированию. Трубка оборудована понижающими общую компрессию патрубками Swagelok® (1/2 дюйма к 1/4 дюйма; не показаны) для легкого крепления к тестовой системе и удаления из тестовой системы. Катализатор удерживается в трубке на слое стекловаты, нанесенном на дне понижающего патрубка. Термопара 332 типа К прикреплена к внешней стороне трубки с 3М полиимидной пленочной лентой типа 5413 (3М Company, St. Paul, MN) в положении, соответствующем верхней части слоя катализатора. Термопара удерживается от прямого контакта с металлической поверхностью трубки при помощи слоя ленты. Считывающее устройство 334 термопары (модель HH509R, Omega Engineering, Stamford, CT) используется для считывания температуры спая термопары.
После выхода из слоя катализатора большая часть газового потока отводится в вытяжной шкаф через вентиляционное отверстие 333, но примерно 50 мл/мин высушивается при прохождении через трубку в оболочке сушильного аппарата 336 Nafion® (Perma Pure MD-050-12P, Toms River, NJ) и проходит в ГХ для измерения концентрации СО. Сушильный аппарат удаляет большие количества воды, которые являются результатом окисления Н2 PROX катализаторами с низкой избирательностью. В противном случае эта вода конденсировалась бы в транспортных линиях и могла бы поступить на клапан отбора газа ГХ. Поток сухого азота протекает через оболочку сушильного аппарата, чтобы отвести эту воду (впускное отверстие 335 N2; выпускное отверстие 334 N2). Диафрагменный насос 338 UNMP830 KNI (KNF Neuberger, Trenton, NJ) используется для транспортировки высушенного газового потока 339 в клапан отбора газа ГХ (не показан). Поток регулируется дозирующим клапаном 337 из нержавеющей стали (номер детали SS-SS2, Swagelok Company, Solon, ОН). Поток 339 проходит через клапан для отбора газа и выходит из ГХ как поток 341.
Содержание СО газового потока определяется газовой хроматографией с использованием газового хроматографа 340 SRI 8610С (SRI Instruments, Torrance, CA), оборудованного 10-входным клапаном для отбора проб газа и метанайзером / детекторами пламенной ионизации (FID) и гелиевой ионизации (HID) водорода. Периодически клапан для отбора проб газа впрыскивает образец 0,5 мл из потока 339 в колонку силикагеля 5 футов × 1/8 дюйма при 125°С. Эта колонка расположена в основном отсеке печи ГХ. CO2 и пары воды удерживаются на силикагелевой колонке, в то время как другие компоненты (СО, O2, N2 и Н2) проходят через колонку молекулярного сита 5А 3 футов × 1/8 дюйма при 125°С, расположенную в отсеке клапана печи ГХ. Данная колонка отделяет эти компоненты, и газовый поток проходит к метанайзеру / FID. Водород добавляется к газовому потоку до того, как он подается в метанайзер.
Никелевый катализатор при 380°С в метанайзере превращает СО в СН4, который обнаруживается FID. Могут быть измерены уровни СО вплоть до примерно 0,2-0,5 частей на миллион. После того как СО вымывается, клапан отбора проб газа включается (на 4 минуты за прогон) и изменяет на обратную ориентацию двух колонок по отношению к детектору (направление потока через колонки остается неизменным). Вытекающий поток из силикагелевой колонки теперь проходит прямо к детектору. Температура силикагелевой колонки возрастает до 215°С до тех пор, пока CO2 и пары воды не удаляются. СО2 также преобразуется в метан при помощи метанайзера и обнаруживается FID. Уровни CO2 в этих экспериментах насколько высоки, что электронная аппаратура детектора насыщается до того, как все пики СО2 элюируются. Одно измерение требует 9,25 минуты. Клапан для отбора проб газа переключается назад, и затем процесс повторяется для следующего образца. Требуется дополнительно 2 минуты, чтобы понизить основную температуру печи до 125°С при подготовке к следующему запуску.
Устройство с двумя колонками, описанное выше, гарантирует, что СО2 никогда не попадет на колонку молекулярного сита. Это необходимо, чтобы предотвратить быстрое насыщение колонки очень высокими концентрациями CO2 в данном тесте. Последующая утечка СО2 из колонки в метанайзер сделала бы измерения низких уровней СО невозможными.
Метанайзер / детектор пламенной ионизации был использован в данном PROX тесте, так как он избирателен к СО и СО2, чрезвычайно чувствителен (границы обнаружения <1 части на миллион), стабилен и демонстрирует линейный отклик от ~1 частей на миллион до >7000 частей на миллион СО (насыщение усилителя). ГХ калибруется с использованием СО в смесях воздуха или азота в диапазоне от 50 до 6500 частей на миллион (Quality Standards, Pasadena, TX).
Контроллер 316 массового расхода для воздуха, ротаметр 320 для СО2 и ротаметр 322 для смеси СО/Н2 были откалиброваны в окружающей среде лаборатории в мл/мин для каждого газа с помощью измерителя пузырькового режима Gilibrator® (Sensidyne, Clearwater, FL) (не показан), расположенного на месте слоя катализатора. В этой точке газы содержат примерно 2,7% (объем/объем) паров воды.
Образцы катализаторов просеиваются, чтобы удалить частицы мельче 25 меш с использованием ASTM E1 1 Стандартных Сит США перед тестированием. 5 мл образца катализатора измеряется в 10 мл градуированном цилиндре с использованием способа, описанного в ASTM D2854-96 Standard Method for Apparent Density of Activated Carbon. 5 мл образца затем загружается в держатель 330 катализатора с наружным диаметром 1/2 дюйма с использованием того же способа. Масса катализатора обычно составляет примерно 2 грамма.
Держатель 330 катализатора устанавливается в тестовой системе, и СО2 пропускается через тестовый прибор в течение примерно минуты. Это препятствует образованию возможно взрывчатой смеси в слое катализатора, когда запускается поток CO/H2. Температура, указанная считывающим устройством 334 термопары, увеличивается на несколько градусов во время этой процедуры по мере того как смесь пары воды/СО2 адсорбируется на сухой подложке катализатора из активированного угля.
300 мл/мин увлажненного 2% СО в Н2 теперь пропускается через слой катализатора. Поток СО2 отъединяется от фитинга 310 проходной крестовины и вход закупоривается. Теперь добавляется увлажненный воздух при 60 мл/мин. Предполагается, что содержание кислорода во влажном воздухе составляет 20,4%. Подача в катализатор составляет 1,63% СО, 79,8% Н2, 3,32% О2, 12,9% N2 и 2,7% H2O при скорости потока 360 мл/мин. Отношение O2 к СО составляет 2, что соответствует значению , равному 4.
После примерно 1 минуты запускается ГХ 340, и первый образец газа впрыскивается для анализа. Температура, показываемая считывающим устройством 334 термопары, записывается как концентрация СО, измеренная ГХ 340. Это повторяется каждые 11,25 минут, по мере того как новый образец впрыскивается для анализа.
После примерно 35 минут увлажненный СО2 при 150 мл/мин добавляется в сырье. Затем тест продолжается примерно в течение еще 30 минут. Это делается для того, чтобы наблюдать влияние СО2 на активность и избирательность катализатора. После добавления СО2 сырье составляет 1,15% СО, 56,3% Н2, 2,35% О2, 9,1% N2, 28,7% СО2 и 2,7% H2O; при скорости потока 510 мл/мин остается равным 4.
Тестовая процедура 3: Тест на активность окисления Н.
Цель данного теста заключается в оценке катализаторов на активность в окислении водорода без присутствия СО. Интерес представляет влияние химической модификации поверхности двуокиси титана на активность окисления Н2 катализатора золота. Следует отметить, что присутствие СО может модифицировать активность катализатора в сторону водорода.
Данная тестовая процедура использует ту же базовую тестовую систему, что и показанная на Фиг.3, с некоторыми изменениями. Цилиндр с 2% СО в водороде заменяется цилиндром с водородом ультравысокой чистоты, а вместо ротаметра 322, показанного на Фиг.3, используется поточный расходомер по методу мыльного пузыря Gilibrator®, чтобы измерить поток H2. Детектор ГХ переключается из метанайзера / FID в HID, и температура колонки молекулярного сита 5А понижается до 65°С.
HID является универсальным детектором, поэтому он может определять Н2, О2, N2 и H2O, а также СО и СО2. Большое превышение водорода по сравнению с кислородом используется в этом тесте так, чтобы разность концентрации Н2 до и после катализатора была мала. Более практично измерять изменения концентрации О2 и использовать % преобразования О2(XO2) в качестве меры активности окисления Н2 катализатора.
.
HID калибруется для кислорода путем смешивания измеренных потоков воздуха и водорода в тестовой системе, чтобы задать концентрации кислорода в диапазоне от 0,2 до 1,4% по объему. Предполагается, что содержание кислорода увлажненного воздуха составляет 20,4%.
Увлажненный водород при 420 мл/мин смешивается с увлажненным воздухом при 30 мл/мин и проходит через слой катализатора при комнатной температуре. Состав сырья равен 91% Н2, 1,3% O2, 5,2% N2 и 2,7% H2O при 450 мл/мин. CO2 пропускается через систему до запуска потока Н2 точно так же, как в тестовой процедуре 2.
После примерно 1 минуты запускается ГХ 340, и первый образец газа впрыскивается для анализа. Записывается концентрация O2, измеренная ГХ 340. Это повторяется каждые 4,25 минуты по мере того как новый образец впрыскивается для анализа.
Цветовой тест 1 перекиси водорода
Этот тест должен оценить степень удаления или ингибирования пероксид-связанных участков на заданном типе наночастиц двуокиси титана после модификации, использующей процессы по настоящему изобретению.
Образец в 2,0 г немодифицированного материала макрочастиц продукта предшествующей стадии реакции и образец в 2,0 г модифицированного материала наночастиц помещаются в отдельные 30 мл (внутренний объем) ампулы из прозрачного стекла, и к каждой добавляются 5,0 г деионизированной воды. Образец в 1,0 мл свежей 30% перекиси водорода (Mallinckrodt, Paris, Kentucky) добавляется в каждую из пробирок с помощью пастерки. Ампулы свободно накрываются и перемешиваются с помощью мешалки MaxiMix II (Barnstead/Thermolyne Inc., Dubuque, Iowa). После того как частицам дают осесть, разница в интенсивности желто-оранжевого цвета, вызванного добавлением перекиси, оценивается визуальным сравнением расположенных рядом двух обработанных материалов. Оценка следующая: если оказывается, что желтый/желто-оранжевый цвет осадков частиц является идентичным или близок к идентичному, цветовой тест оценивается как «отрицательный».
Если интенсивность желтого/желто-оранжевого цвета осадка немодифицированных частиц оказывается несколько сильнее по интенсивности, чем у модифицированных частиц, цветовой тест оценивается как «положительный». Если интенсивность желтого/желто-оранжевого цвета осадка немодифицированных частиц оказывается гораздо сильнее по интенсивности, чем у модифицированных частиц, цветовой тест оценивается как «чрезвычайно положительный».
Хотя этот тест работает наилучшим образом для неокрашенных образцов, он может быть использован для выгоды и в окрашенных образцах, если цвет образца не является чрезмерно интенсивным. В этом случае готовится дополнительный образец модифицированных частиц путем дисперсии 2,0 г модифицированного образца в 6 г воды и после установки этого образца также сравнивается с модифицированным образцом, который реагирует с перекисью водорода. При таком сравнении можно визуально определить величину увеличения интенсивности желтого компонента цвета по сравнению с увеличением, которое наблюдается для немодифицированного эталона. Если цвет образца не является настолько интенсивным, чтобы перекрыть изменение в желто-оранжевом компоненте цвета в результате пероксидной реакции, тогда следует использовать цветовой тест 2.
Некоторые металлы, такие как железо и марганец, которые применимы в настоящем изобретении, также способны катализировать разложение перекиси водорода. В общем случае разложение перекиси, вызываемое подложками наночастиц катализатора по настоящему изобретению, не является достаточно сильным, чтобы мешать исследованию материалов. Независимо от этого следует предпринять предосторожности в использовании перекиси водорода во всех исследованиях. Домены, содержащие церий, также способны реагировать с перекисью водорода, чтобы образовывать оранжевый комплекс. Хотя образцы наночастиц, содержащие церий, которые окрашены не сильно, могут исследоваться с использованием цветового теста 1, цветовой тест 2 необходим для точной оценки взаимодействия перекиси водорода с частицами двуокиси титана, обработанными церием.
Цветовой тест 2 перекиси водорода
Этот тест включает в себя спектроскопическое сравнение образца материала двуокиси титана, подлежащего исследованию, с образцом того же материала, который был обработан перекисью водорода. Высота поглощающей способности из-за образования комплекса перекись водорода-поверхность, рассчитанная как показано ниже, определяется как значение поверхностной активности перекиси.
Для того чтобы приготовить эти образцы, две отдельные 30 мл (внутренний объем) пробирки из прозрачного стекла наполняются 2,0 г образца материала, подлежащего исследованию. 6,0 г деионизированной воды добавляется в пробирку, содержащую образец, который будет являться контрольным материалом. К образцу, которому назначено быть обработанным перекисью образцом, добавляется 5,0 г деионизированной воды вместе с 1,0 мл 30% перекиси водорода (Mallinckrodt, Paris, Kentucky). Пробирки свободно накрываются и перемешиваются с помощью смесителя MaxiMix II (Barn-stead/Thermolyne Inc., Dubuque, Iowa). Образцы разделяются путем фильтрации, промываются в 5 мл деионизованной воды, высушиваются на воздухе в течение ночи при комнатной температуре с последующим высушиваем при 80°С в течение 5 минут. После сушки образцы исследуются с использованием спектроскопии коэффициента диффузного отражения УФ-ВИД, описываемой следующим образом.
Полное отражение света (TLR) измеряется при угле падения восемь градусов на образец, упакованный в ячейку с порошком кварца с использованием прибора Perkin Elmer Lambda 950 (#BV900ND0, Perkin Elmer Incorporated, Wellesley, MA), снабженного 150 мм вспомогательным фотометрическим шаром (Perkin Elmer Inc.). Этот вспомогательный фотометрический шар соответствует способам ASTM E903, D1 003, Е308 et al., как опубликовано в “ASTM Standards on Color and Appearance Measurement”, Third Edition, ASTM, 1991. Это устройство оснащено обычным деполяризатором лучей, который включался для этих измерений. Условия для сбора данных были следующими:
| Скорость сканирования: |
350 нм/мин |
| Объединение УФ-ВИД: |
0,24 с/точку |
| Объединение ближней ИК-области: |
0,24 с/точку |
| Интервал данных: |
1 нм |
| Ширина прорези: |
5 нм |
| Режим: |
% отражательной способности |
Данные записывались от 830 нм до 250 нм.
Для того чтобы приготовить материалы для анализа, образцы загружаются в кварцевую ячейку на полубесконечную глубину, определяемую на глаз. Средняя толщина составляет примерно 2,5 мм. Образцы удерживаются на месте с помощью черного штырька Delrin (E.I.DuPont de Nemours and Co., Wilmington, DE). Подготовка образцов для контрольного образца и обработанного перекисью образца идентична и образцы идентично упаковываются в ячейку.
Данные собираются в цифровом виде как для контрольного материала наночастиц, так и для материала наночастиц, который реагировал с перекисью водорода. Для того чтобы определить поверхностную активность перекиси, отражательная способность для контрольного образца, А (материал наночастиц до реакции с перекисью), делится на отражательную способность для согласующего обработанного перекисью образца, В (материал, идентичный контрольному образцу за исключением того, что он реагировал с перекисью водорода), и это отношение было преобразовано к величине типа «оптическая плотность» нахождением десятичного логарифма по отрицательному основанию.
Таким образом, для каждой пары образцов наночастиц катализатора (контрольный образец и образец, обработанный перекисью) расчет поглощающей способности для i-той точки данных образца В, обработанного перекисью водорода, производится следующим образом:
Поглощающая способность для длины волны i=-log(Bi/Ai).
Это соответствует обычному расчету поглощающей способности =-log(IS/I0), где IS – интенсивность переданного на образец излучения, a I0 – первоначальная интенсивность падающего света. Результирующая кривая дает спектры типа поглощающей способности для всех длин волн i.
Из этих результатов поверхностная активность перекиси определяется как высота максимума кривой типа поглощающей способности в области 390-410 нм, сформированной как описано выше. В качестве реперных точек для промышленно выпускаемых двуокислов титана Hombikat UV100 (Sachtleben Chemie GmbH, Duisburg, Германия) демонстрирует поверхностную активность перекиси 0,1883, а наноактивная двуокись титана (Nanoscale Materials Inc., Manhattan, KS) демонстрирует поверхностную активность перекиси 0,3905. Модифицирующие способы, описанные здесь, понижают поверхностную активность перекиси для наночастиц двуокислов титана. Желательно, чтобы поверхностная активность перекиси модифицированных наночастиц двуокиси титана была меньше 0,17, более предпочтительно менее 0,12 и наиболее предпочтительно менее 0,09.
Сравнительный пример 1: Необработанные наночастицы двуокиси титана
18-дюймовый вращающийся смесительный-сушильный аппарат RCD Rotocone (Paul О. Abbe Со. Newark, NJ) был загружен 5,00 кг 12 × 20 углерода Kuraray GG (Kuraray Chemical Company, Ltd., Osaka, Япония) и 681 г наночастиц двуокиси титана Hombikat UV100 (Sachtleben Chemie, DE). Смесь перемешивалась в смесительном-сушильном аппарате Rotocone в течение 30 секунд при скорости 12 оборотов в минуту. Смешивание продолжалось в то время как 5,0 кг дистиллированной воды распылялось на смесь углерода и Hombikat в течение 10 минут посредством перистальтического насоса через 8 мил насадку со 110° вентилированием. Вакуум (-425 кПа) и нагрев (заданное значение 140°С нагревателя модели Sterlco F6016-MX (Sterling Inc., New Berlin, WI)) были приложены к смесительному-сушильному аппарату, чтобы высушить смесь. Перемешивание смеси было снижено до 0,5 оборотов в минуту во время сушки в смесительном-сушильном аппарате. Сушка была завершена после 7,5 часов.
Часть в 300 мл результирующего углерода Kuraray GG 12 × 20, покрытого Hombikat UV100, использовалась в качестве материала подложки и обрабатывалась золотом в соответствии с условием 1 распыления. Масса образца составляла 151 г, давление на основание составляло 0,0000076 Торр и потеря веса мишени составляла 3,59 г.
После обработки золотом образец тестировался в качестве катализатора окисления СО в соответствии с тестовой процедурой 1. Среднее значение преобразования СО (%) и средняя концентрация СО (частей на миллион) в выпускном потоке, измеренная от 4,25 минут до 30,5 минут, указана в Таблице 1.
| Таблица 1 |
 |
Среднее значение преобразования CO(%) |
Средняя концентрация CO (частей на миллион) |
| Сравнительный пример 1 |
97,5 |
91 |
Покрытый золотом образец тестировался в соответствии с тестовой процедурой 2. COavg и Tavg, т.е. средняя концентрация СО (частей на миллион) в выпускном потоке и средняя температура слоя (°С), соответственно, были рассчитаны суммированием концентрации СО или температуры слоя для каждого измерения и делением на количество измерений в течение периодов времени до и после добавления СО2. COmax и Tmax являются максимальными концентрацией СО и температурой слоя, зарегистрированными до и после добавления CO2. Минимальная определяемая концентрация СО составила 0,5 частей на миллион СО. Результаты тестирования включены в Таблицу 2.
| Таблица 2 |
 |
До добавления СО2 |
После добавления СО2 |
| COavg (ppm) |
Tavg (°С) |
COmax (ppm) |
Tmax (°С) |
COavg (ppm) |
Tavg (°С) |
COmax (ppm) |
Tmax (°С) |
| Сравнительный пример 1 |
<0,5 |
66,8 |
<0,5 |
82,1 |
<0,5 |
74,6 |
<0,5 |
77,3 |
Примеры 1-5 и сравнительные примеры 2 и 3
Домены металл-кислород на двуокиси титана через кислотный гидролиз основного растворимого металл-оксо-аниона.
| Таблица 3 |
 |
Содержимое раствора А |
Содержимое раствора В |
Атмосфера обжига |
| Пример 1 |
5,0 г Na2WO4·2H2O |
30,2 мл 1 М уксусной кислоты |
50% N2/50% H2 |
| Пример 2 |
5,0 г Na2WO4·2H2O |
30,2 мл 1 М уксусной кислоты |
воздух |
| Пример 3 |
5,0 г K2SnO3·3H2O |
30,2 мл 1 М уксусной кислоты |
50% N2/50% Н2 |
| Пример 4 |
5,0 г K2SnO3·3H2O |
30,2 мл 1 М уксусной кислоты |
воздух |
| Пример 5 |
3,0 г раствора силиката натрия |
33,5 мл 1 М уксусной кислоты |
50% N2/50% H2 |
| Сравнительный пример 2 |
3,0 г раствора силиката натрия |
33,5 мл 1 М уксусной кислоты |
воздух |
| Сравнительный пример 3 |
3,7 г Na2MoO4·2H2O |
33,5 мл 1 М уксусной кислоты |
50% N2/50% Н2 |
(Na2WO4·2H2O и Na2MoO4·2H2O: Mallinckrodt, Inc., Phillipsburg, New Jersey; K2SnO3·H2O: Aldrich Chemical Company, St. Louis, Missouri; Раствор силиката натрия: 40% по массе Na2O(SiO2)2,75, PQ Corporation, Valley Forge, Pennsylvania).
Раствор соли металла был приготовлен путем растворения требуемого количества соли металла (Содержимое раствора А, Таблица 3) в 100 мл деионизированной воды, чтобы образовать «раствор А». Раствор уксусной кислоты был приготовлен путем смешивания 28,5 мл концентрированной уксусной кислоты с водой до конечного объема 0,5 литра. Требуемое количество этого раствора уксусной кислоты (Содержимое раствора В, Таблица 3) было дополнительно разбавлено 70 мл деионизованной воды, чтобы образовать «раствор В». Дисперсия наночастиц двуокиси титана была приготовлена путем смешения 30,0 г Hombikat UV100 двуокиси титана (Sachtleben Chemie GmbH, Duisburg, Германия) в 300 г деионизированной воды с помощью высокоинтенсивного смесителя IKA Т 18 (IKA Works, Inc., Wilmington, NC), оснащенного 19 мм дисперсионным устройством. При быстром перемешивании двуокиси титана Hombikat, Раствор А и Раствор В добавлялись по капле в дисперсию наночастиц двуокиси титана при той же скорости. Добавление осуществлялось в течение примерно 30 минут. После добавления дисперсии дали отстояться и отфильтровали, чтобы получить фильтрационный осадок, который повторно промывался деионизированной водой. Промытый образец высушивался в печи при 130°С в течение ночи. Высушенные образцы кальцинировались в соответствии со следующими графиками.
Образцы, кальцинированные в воздухе, обжигались путем нагревания образца на воздухе в печи от комнатной температуры до 300°С в течение 3 часов. Образец выдерживался при 300°С в течение 1 часа и затем охлаждался в печи. Образцы, кальцинированные в азоте/водороде, обжигались путем нагрева образца в 50% N2/50% Н2 в печи от комнатной температуры до 400°С в течение 3 часов. Образцы затем выдерживались при 400°С в течение 1 часа, водородный газ отводился, и образец остужался в печи в атмосфере азота.
Части образцов в примерах 1-4 и сравнительных примерах 2 и 3 были отделены и протестированы в соответствии с тестом 1 цвета перекиси. Модифицированные материалы наночастиц Примеров 1 и 4 и сравнительных примеров 2 и 3 были оценены как положительные. Модифицированные материалы наночастиц примеров 3 и 4 были оценены как чрезвычайно положительные.
11,0 г каждого из термообработанных образцов были диспергированы в 70,0 г деионизованной воды с использованием высокоинтенсивного смесителя ПСА. Каждая дисперсия распылялась на слой в 300 мл (примерно 124 г) углеродных частиц 12×20 Kuraray GG (Kuraray Chemical Company, Ltd., Osaka, Япония) с помощью запускаемой пальцем распылительной установки, чтобы обеспечить мелкий туман дисперсии. Каждый слой углеродных частиц переворачивался с помощью шпателя после каждых двух распылений, чтобы гарантировать однородное нанесение дисперсии на частицы углерода. После того как частицы были нанесены на большие частицы углерода, покрытые дисперсии были высушены при 130°С на воздухе.
300 мл углеродных частиц, несущих модифицированные наночастицы двуокиси титана, были покрыты распылением золотом по условию 2. Масса образца, давление на основание и потеря массы золотой мишени приведены в Таблице 4.
 |
 |
 |
Таблица 4 |
 |
Масса образца (г) |
Давление на основание (Торр) |
Потеря массы золотой мишени (г) |
| Пример 1 |
128 |
0,000053 |
6,73 |
| Пример 2 |
127,93 |
0,000039 |
6,68 |
| Пример 3 |
130 |
0,00008 |
6,67 |
| Пример 4 |
128,19 |
0,00017 |
6,6 |
| Пример 5 |
128,29 |
0,00014 |
6,62 |
| Сравнительный пример 2 |
128 |
0,00011 |
6,58 |
| Сравнительный пример 3 |
125,58 |
0,000017 |
6,53 |
После обработки золотом образцы тестировались в качестве катализаторов окисления СО в соответствии с тестовой процедурой 1. Результаты этого тестирования включены в Таблицу 5.
| Таблица 5 |
 |
Среднее преобразование СО (%) |
Средняя концентрация СО (частей на миллион) |
| Пример 1 |
96,6 |
122 |
| Пример 2 |
96,5 |
127 |
| Пример 3 |
97,7 |
82 |
| Пример 4 |
97,4 |
92,2 |
| Пример 5 |
94,9 |
182 |
| Сравнительный пример 2 |
94,5 |
198 |
| Сравнительный пример 3 |
83,7 |
586 |
Покрытые золотом образцы из Примеров с 1 по 5 и сравнительных примеров 2 и 3 тестировались в соответствии с тестовой процедурой 2. Результаты тестирования включены в Таблицу 6. Минимальное время выборки до добавления СО2 составляло 36 минут. Минимальное время выборки, следующее за добавлением СО2, составляло 28 минут.
| Таблица 6 |
 |
До добавления СО2 |
После добавления CO2 |
| COavg (ppm) |
Tavg (°С) |
COmax (ppm) |
Tmax (°С) |
COavg (ppm) |
Tavg (°C) |
COmax (ppm) |
Tmax (°C) |
| Пример 1 |
0,5 |
45,2 |
1,3 |
49,1 |
132,8 |
42,7 |
181 |
43 |
| Пример 2 |
<0,5 |
39,7 |
<0,5 |
45 |
73 |
40,3 |
81 |
41 |
| Пример 3 |
<0,5 |
39,1 |
<0,5 |
40,9 |
141 |
35,6 |
250,4 |
36,7 |
| Пример 4 |
<0,5 |
42 |
<0,5 |
48 |
28,6 |
45,3 |
32,6 |
46 |
| Пример 5 |
<0,5 |
40 |
<0,5 |
42,9 |
873 |
34,4 |
1120 |
36,2 |
Сравни тельный пример 2 |
<0,5 |
43,3 |
<0,5 |
47,5 |
1922 |
35,3 |
2569 |
39,8 |
Сравни тельный пример 3 |
<0,5 |
39,1 |
<0,5 |
39,6 |
2301 |
31,7 |
3144 |
32 |
Примеры 6-13 и Сравнительный пример 4
Металл-оксо домены, полученные из М2+. Катионы на наночастицах двуокиси титана
| Таблица 7 |
 |
Раствор А |
Раствор В |
Дисперсия двуокиси титана |
Атмосфера/ температура обжига |
| Пример 6 |
1,47 г Са(CH3CO2)2·H2O в 20 г H2O |
0,75 г NaOH в 20 г H2O |
25,0 г TiO2 в100 г H2O |
Воздух/ 300 °С |
| Пример 7 |
2,32 г Со(CH3CO2)2·4H2O в 20 г H2O |
0,75 г NaOH в 20 г H2O |
25,0 г TiO2 в100 г H2O |
Воздух/ 400 °С |
| Пример 8 |
4,73 г Со(CH3CO2)2·4H2O в 100 г H2O |
4,03 г Na2CO3 в 100 г H2O |
30,0 г TiO2 в 200 г H2O |
Воздух/ 400 °С |
| Пример 9 |
2,0 г Mn(CH3CO2)2·4H2O в 20 г H2O |
0,75 г NaOH в 20 г H2O |
25,0 г TiO2 в 100 г H2O |
Воздух/ 300 °С |
| Пример 10 |
4,65 г Mn(CH3CO2)2·4H2O в 100 г H2O |
4,03 г Na2CO3 в 100 г H2O |
25,0 г TiO2 в 200 г H2O |
Воздух/ 300 °С |
| Пример 11 |
2,05 г Zn(CH3CO2)2·2H2O в 20 г H2O |
0,75 г NaOH в 20 г H2O |
25,0 г TiO2 в 100 г H2O |
Воздух/ 300°С |
| Пример 12 |
4,41 г Zn(CH3CO2)2·2H2O в 100 г H2O |
2,13 г NaOH в 100 г H2O |
65,0 г TiO2 в 500 г H2O |
Воздух/ 400°С |
| Пример 13 |
2,50 г Са(CH3CO2)2·H2O в 100 г H2O |
1,13 г NaOH в 100 г H2O |
65,0 г TiO2 в 500 г H2O |
Воздух/ 400°С |
| Сравнительный пример 4 |
3,0 г Cu(CH3CO2)2·H2O в 100 г H2O |
4,03 г Na2CO3 в 100 г H2O |
30,0 г TiO2 в 200 г H2O |
Воздух/ 400°С |
(Са(CH3CO2)2·H2O: МР Biomedicals, Aurora, Illinois; Со(CH3CO2)2·4H2O: Aldrich Chemical Co., Milwaukee, Wisconsin; Mn(CH3CO2)2·4H2O: Fisher Scientific Company, Fair Lawn, New Jersey; Zn(CH3CO2)2·2H2O: Mallinckrodt Inc., Paris, Kentucky; TiO2: Hombikat UV100, Sachtleben Chemie GmbH, Duisburg, Германия).
Раствор А и Раствор В были приготовлены путем смешивания реагентов, как показано в вышеприведенной таблице. Растворы перемешивались до тех пор, пока твердые вещества полностью не растворились. Дисперсия наночастиц двуокиси титана была приготовлена путем смешивания ингредиентов дисперсии TiO2, как показано в вышеприведенной таблице, с помощью высокоинтенсивного смесителя IKA Т 18 (IKA Works, Inc., Wilmington, NC), оснащенного 19 мм устройством диспергирования. Раствор А и Раствор В добавлялись по капле к этой перемешиваемой дисперсии двуокиси титана в течение примерно 30 минут. Скорость добавления этих растворов регулировалась так, чтобы добавлять оба раствора медленно и с одинаковой скоростью. После добавления дисперсия осаждалась, и обработанные частицы удалялись путем фильтрации. Материалы были промыты примерно 500 мл деионизированной воды и в случае примеров 6-11 и сравнительного примера 4 материалы высушивались в печи при 100°С. Материалы примеров 12 и 13 высушивались в печи при 130°С. Обработанные частицы кальцинировались путем увеличения температуры от комнатной температуры до температуры обжига в течение 3 часов, выдержки при обозначенной температуре (см. таблицу выше) в течение 1 часа, затем охлаждения в печи.
Часть модифицированных наночастиц из примера 13 была отделена и протестирована в соответствии с тестом 1 цвета перекиси, и этот материал был оценен как чрезвычайно положительный. Образец материала модифицированных наночастиц двуокиси титана из сравнительного примера 4 был протестирован на реакцию перекиси водорода в соответствии с тестом 1 цвета перекиси. Наблюдалось, что образец стал кирпично-красным после добавления перекиси водорода и цвет медленно вернулся обратно к первоначальному светло-голубому после нахождения на воздухе. Для этого теста не было сделано никакого вывода (заключения).
Размер кристаллита кальцинированных поверхностно-модифицированных наночастиц двуокиси титана для части образца из примера 8 определялся при помощи рентгеновского анализа уширения линий, и обнаружено, что размер кристаллита составляет 16,0 нм. Единственной наблюдаемой при помощи XRD кристаллической фазой являлась анатаз.
11,0 г каждого из термообработанных образцов диспергировались в 70,0 г деионизированной воды с помощью высокоинтенсивного смесителя IKA. Эти дисперсии распылялись на отдельные слои в 300 мл (примерно 124 г) углеродных частиц 12×20 Kuraray GG (Kuraray Chemical Company, Ltd., Osaka, Япония) с использованием запускаемого пальцем распылительного устройства, чтобы обеспечить мелкий туман дисперсии. Каждый слой углеродных частиц переворачивался с помощью шпателя после каждых двух распылений, чтобы гарантировать однородное нанесение дисперсии на частицы углерода. После того как частицы были нанесены на более крупные частицы углерода, нанесенные дисперсии высушивались на воздухе при 130°С.
Сравнительный пример 5. Влияние кислотного промывания на каталитическую активность катализатора, содержащего домены кобальт-кислород на наночастицах двуокиси титана.
Образец в 15 г кальцинированного и охлажденного материала из примера 8 был смешан с 50 мл 0,5 М HNO3 в деионизированной воде. Смесь перемешивали в течение примерно 1 часа, после чего pH медленно увеличивался до 7 путем добавления 0,25 N NaOH. Промытое твердое вещество было отделено путем фильтрации, промыто деионизированной водой и высушено при 130°С.
300 мл кальцинированных материалов подложки из примеров 6-13 и сравнительного примера 4 и 200 мл из сравнительного примера 5 были обработаны золотом при условиях, описанных в Таблице 8. Время сушки для всех образцов, кроме примера 10, составляло 24 часа. Время сушки для примера 10 составляло 20 часов.
| Таблица 8 |
 |
Условия распыления |
Масса образца (г) |
Базовое давление (Торр) |
Потеря массы золотой мишени (г) |
| Пример 6 |
1 |
128,81 |
0,000029 |
3,57 |
| Пример 7 |
1 |
131,51 |
0,000005 |
3,61 |
| Пример 8 |
2 |
128,9 |
0,000044 |
6,94 |
| Пример 9 |
1 |
128,69 |
0,00012 |
3,47 |
| Пример 10 |
2 |
126,61 |
0,000038 |
7 |
| Пример 11 |
1 |
128,4 |
0,000017 |
3,58 |
| Пример 12 |
1 |
125,51 |
0,00021 |
3,57 |
| Пример 13 |
1 |
125,03 |
0,00024 |
3,46 |
| Сравнительный пример 4 |
2 |
125,03 |
0,00018 |
6,59 |
| Сравнительный пример 5 |
1 |
87,22 |
0,0024 |
3,47 |
После обработки золотом образцы тестировались в качестве катализаторов окисления СО в соответствии с тестовой процедурой 1. Результаты этого теста включены в Таблицу 9.
| Таблица 9 |
 |
Среднее преобразование СО (%) |
Средняя концентрация СО (частей на миллион) |
| Пример 6 |
97,0 |
108 |
| Пример 7 |
96,3 |
133 |
| Пример 8 |
96,0 |
143 |
| Пример 9 |
96,9 |
112 |
| Пример 10 |
97,7 |
84 |
| Пример 11 |
96,9 |
113 |
| Пример 12 |
96,6 |
121 |
| Пример 13 |
95,6 |
158 |
| Сравнительный пример 4 |
95,3 |
170 |
| Сравнительный пример 5 |
93,2 |
245 |
Образцы с нанесенным золотом из примеров 6 и 8-13 и сравнительных примеров 4 и 5 были протестированы в соответствии с тестовой процедурой 2. Результаты тестирования включены в Таблицу 10. Минимальное время выборки до добавления СО2 составляло 36 минут. Минимальное время выборки после добавления CO2 составляло 27 минут.
| Таблица 10 |
 |
До добавления СО2 |
После добавления CO2 |
| COavg (ppm) |
Tavg (°С) |
COmax (ppm) |
Tmax (°C) |
COavg (ppm) |
Tavg (°C) |
COmax (ppm) |
Tmax (°C) |
| Пример 6 |
<0,5 |
34 |
<0,5 |
39 |
1,5 |
36,5 |
1,96 |
37 |
| Пример 8 |
<0,5 |
42,2 |
<0,5 |
43,5 |
<0,5 |
40,1 |
<0,5 |
40,3 |
| Пример 9 |
<0,5 |
37,8 |
<0,5 |
42 |
5 |
39 |
5,8 |
39 |
| Пример 10 |
<0,5 |
38,2 |
0,5 |
39,6 |
<0,5 |
39,28 |
<0,5 |
39,7 |
| Пример 11 |
<0,5 |
37,8 |
<0,5 |
47 |
<0,5 |
42,3 |
0,92 |
43 |
| Пример 12 |
<0,5 |
37 |
<0,5 |
38,8 |
<0,5 |
35,3 |
<0,5 |
36,5 |
| Пример 13 |
<0,5 |
39,8 |
<0,5 |
41,8 |
<0,5 |
40 |
<0,5 |
41 |
| Сравнительный пример 4 |
<0,5 |
40,6 |
<0,5 |
43,5 |
7391 |
29,1 |
7792 |
30,7 |
| Сравнительный пример 5 |
<0,5 |
40,4 |
<0,5 |
42,5 |
346 |
33,8 |
365 |
34 |
Пример 14-16. Домены железо-оксо на наночастицах двуокиси титана посредством гидролиза и окисления Fe2+, содержащих продукт предшествующей стадии реакции
| Таблица 11 |
 |
Раствор А |
Раствор В |
Условия реакции |
Условия окисления |
| Пример 14 |
15,0 г сульфата железа в 250 г деионизированной воды |
4,53 г NaOH в 250 г деионизированной воды |
Реакция осуществлялась в атмосфере азота |
3 мл 30% H2O2 после добавления раствором А и В |
| Пример 15 |
15,0 г сульфата железа в 250 г деионизированной воды |
4,53 г NaOH в 250 г деионизированной воды |
Реакция осуществлялась в атмосфере азота |
Без добавления дополнительного окислителя |
| Пример 16 |
15,0 г сульфата железа в 250 г деионизированной воды |
4,53г NaOH в 250 г деионизированной воды |
Реакция осуществлялась в воздухе |
Без добавления дополнительного окислителя |
(Гептагидрат сульфата железа: J.T. Baker, Phillipsburg, New Jersey; H2O2: Mallinckxodt Inc., Phillipsburg, New Jersey)
Для примеров 14-16 условия гидролиза и количество реагентов обобщены в Таблице 11. В каждом случае дисперсия наночастиц двуокиси титана была приготовлена путем перемешивания 65,0 г двуокиси титана Hombikat UV100 (Sachtleben Chemie GmbH, Duisburg, Германия) в 500 г деионизированной воды с помощью высокоинтенсивного смесителя IKA Т 18 (IKA Works, Inc., Wilmington, NC), оборудованного 19 мм устройством диспергирования. Раствор А и Раствор В добавлялись по каплям в эту перемешиваемую дисперсию двуокиси титана в течение примерно 40 минут. Скорость добавления этих двух растворов регулировалась так, чтобы добавлять оба раствора медленно и с одинаковой скоростью. В Примерах 14 и 15 растворы А и В были деоксигенированы перед реакцией путем пропускания пузырьков азота через раствор в течение 20 минут до использования, и гидролиз раствора железа путем добавления основания был проведен под защитным покровом азота. В случае из примера 14 после добавления растворов А и В было добавлено 3 мл 30% перекиси водорода и наблюдалось изменение цвета дисперсии до светлого желтовато-каштанового. Во всех этих случаях дисперсии давали отстояться, и обработанные частицы удалялись фильтрацией. Материалы промывались примерно 600 мл деионизированной воды и высушивались в печи при 100°С.
Обработанные частицы кальцинировались путем увеличения температуры от комнатной температуры до 400°С свыше 3 часов, выдержки при 400°С в течение 1 часа и охлаждения затем в печи.
Часть обработанных наночастиц из примера 14 была отделена и протестирована в соответствии с тестом 1 на цвет перекиси. Хотя образцы были светло-каштановыми, цветовой тест 1 можно было выполнить. Модифицированный материал наночастиц из Примера 14 был оценен как положительный.
Размер кристаллита кальцинированных поверхностно-модифицированных наночастиц двуокиси титана для части из образца примера 14 был определен при помощи рентгеновского анализа уширения линий, и было обнаружено, что размер кристаллита составляет 15,5 нм. Единственная наблюдаемая с помощью XRD кристаллическая фаза была анатазом.
11,0 г термически обработанных образцов были каждый диспергирован в 70,0 г деионизированной воды с использованием высокоинтенсивного смесителя IKA. Дисперсии распылялись на отдельные слои в 300 мл (примерно 121 г) углеродных частиц 12 × 20 Kuraray GG (Kuraray Chemical Company, Ltd., Osaka, Япония) с помощью срабатывающего от пальца распылительного устройства, чтобы обеспечить мелкий туман дисперсий. Слои углеродных частиц переворачивались с помощью шпателя после каждых двух распылений, чтобы гарантировать однородное нанесение дисперсии на частицы углерода. После нанесения частиц на более крупные частицы углерода нанесенные дисперсии высушивались при 130°С на воздухе.
Обработанная двуокись титана на углеродных образцах дополнительно обрабатывалась золотом в условиях распыления 1. Масса образца, давление на основание и масса золотой мишени приведены в Таблице 12.
| Таблица 12 |
 |
Масса образца (г) |
Базовое давление (Торр) |
Потеря массы золотой мишени (г) |
| Пример 14 |
129,18 |
0,000081 |
3,41 |
| Пример 15 |
130,26 |
0,0002 |
3,37 |
| Пример 16 |
129,2 |
0,00024 |
3,39 |
Исследование СЭМ части частиц, обработанных золотом, из примеров 14 и 15 показало, что гранулы углерода были покрыты полунепрерывным покрытием поверхностно-модифицированных наночастиц двуокиси титана. Наблюдалось, что двуокись титана присутствует в основном в виде совокупностей от 0,1 до 3 мкм, которые было агломерированы, чтобы образовать пористое покрытие на углероде. Было оценено, что покрытия содержат поры от 0,2 до примерно 1 мкм в объемном процентном отношении от 35 до 65% покрытия. Более крупные поверхностные поры, от 3 до 8 мкм в диаметре, присутствовали в обоих образцах, что обеспечивало неровную текстуру внешней части покрытия.
После обработки золотом образцы тестировались в качестве катализаторов окисления СО в соответствии с тестовой процедурой 1. Результаты этого теста включены в Таблицу 13.
| Таблица 13 |
 |
Среднее преобразование СО (%) |
Средняя концентрация СО (частей на миллион) |
| Пример 14 |
95,1 |
176 |
| Пример 15 |
94,5 |
197 |
| Пример 16 |
95,4 |
166 |
Образцы с нанесенным золотом из примеров 14-16 были протестированы в соответствии с тестовой процедурой 2. Результаты тестирования включены в Таблицу 14. Время выборки до добавления СО2 составило 36 минут. Время выборки после добавления СО2 составило 47 минут.
| Таблица 14 |
 |
До добавления CO2 |
После добавления СО2 |
| COavg (ppm) |
Tavg (°С) |
COmax (ppm) |
Tmax (°C) |
COavg (ppm) |
Tavg (°С) |
COmax (ppm) |
Tmax (°С) |
| Пример 14 |
<0,5 |
43,9 |
<0,5 |
45,1 |
<0,5 |
42,1 |
<0,5 |
42,6 |
| Пример 15 |
<0,5 |
43,3 |
<0,5 |
45,3 |
<0,5 |
40,75 |
<0,5 |
41,4 |
| Пример 16 |
<0,5 |
43 |
<0,5 |
44,7 |
<0,5 |
40 |
<0,5 |
40,4 |
Примеры 17-20. Смешанные металл-оксо домены на наночастицах двуокиси титана
| Таблица 15 |
 |
Раствор А |
Раствор В |
Окислитель |
| Пример 17 |
3,95 г дигидрата уксуснокислого цинка, 10,0 г гептагидрата сернокислого железа в 250,0 г деионизированной воды |
4,95 г NaOH в 250,0 г деионизированной воды |
Воздух |
| Пример 18 |
3,95 г моногидрата уксуснокислого кальция, 10,0 г гептагидрата сернокислого железа в 250,0 г деионизированной воды |
4,65 г NaOH в 250,0 г деионизированной воды |
Воздух |
| Пример 19 |
3,95 г дигидрата уксуснокислого цинка, 10,0 г гептагидрата сернокислого железа в 250,0 г деионизированной воды |
4,56 г NaOH в 250,0 г деионизированной воды |
10 мл 30% H2O2 |
| Пример 20 |
3,56 г гексагидрата хлористого магния, 10,0 г гептагидрата сернокислого железа в 250,0 г деионизированной воды |
4,53 г NaOH в 250,0 г деионизированной воды |
Воздух |
(Гептагидратат сернокислого железа: J.Т.Baker, Phillipsburg, New Jersey; H2O2: Mallinckrodt Inc., Phillipsburg, New Jersey; Zn(CH3CO2)2·H2O: Mallinckrodt Inc., Paris, Kentucky; Са(CH3CO2)2·H2O: MP Biomedicals, Aurora, Illinois; MgCl2·6H2O: EMD Chemicals, Inc., Gibbstown, New Jersey)
Раствор, обеспечивающий железо и катион второго металла, обозначенный «Раствор А», был приготовлен путем растворения необходимого количества компаундов металлов в воде (см. Таблицу 15). Раствор гидроксида натрия («Раствор В») был приготовлен путем растворения необходимого количества гидроксида натрия в 250 г деионизированной воды (см. Таблицу 15). Дисперсия наночастиц двуокиси титана была приготовлена путем смешивания 65,0 г двуокиси титана Hombikat UV100 (Sachtleben Chemie GmbH, Duisburg, Германия) в 500 г деионизированной воды с помощью высокоинтенсивного смесителя IKA Т 18 (IKA Works, me., Wilmington, NC), оснащенного 19 мм устройством диспергирования. Раствор А и Раствор В добавлялись по капле к этой перемешиваемой дисперсии двуокиси титана в течение примерно 40 минут. Скорость добавления этих двух растворов регулировалась так, чтобы добавлять оба раствора медленно и с одинаковой скоростью. После добавления в случае примеров, где окислителем для железа был воздух, дисперсии давали отстояться, и обработанные частицы удалялись фильтрацией. В случае из примера 19, 10 мл 30% перекиси водорода добавлялось к обработанной дисперсии в качестве окислителя после добавления Раствора А и В. Этот материал затем обрабатывался так же, как и другие образцы, и отделялся фильтрацией. Каждый из материалов промывался примерно 600 мл деионизированной воды и высушивался в печи при 100°С.
Каждый из образцов обработанных частиц кальцинировался путем увеличения температуры от комнатной температуры до 400°С более 3 часов, выдержки при 400°С в течение 1 часа и охлаждения затем в печи.
Части образцов из примеров 19 и 20 были отделены и протестированы в соответствии с тестом 1 на цвет перекиси. Хотя образцы были светло-каштанового цвета, цветовой тест 1 можно было выполнить. Модифицированные материалы наночастиц из Примеров 19 и 20 были оценены как положительные в этом цветовом тесте. Наблюдалось, что образцы вызывают медленное разложение избыточной перекиси, о чем свидетельствует медленное образование пузырьков газа после добавления перекиси водорода.
Размер кристаллита кальцинированных поверхностно-модифицированных наночастиц двуокиси титана для части из образца примера 21 был определен при помощи рентгеновского анализа уширения линий, и обнаружено, что размер кристаллита составляет 16,0 нм. Единственная наблюдаемая с помощью XRD кристаллическая фаза была анатазом.
Для каждого примера 11,0 г термически обработанного образца были каждый диспергирован в 70,0 г деионизированной воды с помощью высокоинтенсивного смесителя IKA. Каждая из этих дисперсий распылялась на отдельные слои в 300 мл (примерно 121 г) углеродных частиц 12 × 20 Kuraray GG (Kuraray Chemical Company, Ltd., Osaka, Япония) с помощью срабатывающего от пальца распылительного устройства, чтобы обеспечить мелкий туман дисперсий. Каждый из слоев углеродных частиц переворачивался с помощью шпателя после каждых двух распылений, чтобы гарантировать однородное нанесение дисперсии на частицы углерода. После нанесения частиц на более крупные частицы углерода нанесенные дисперсии высушивались при 130°С на воздухе.
Кальцинированные материалы подложки были обработаны золотом при условии распыления 1. Масса образца, давление на основание и потеря массы золотой мишени приведены в Таблице 16.
| Таблица 16 |
 |
Масса образца (г) |
Базовое давление (Торр) |
Потеря массы золотой мишени (г) |
| Пример 17 |
124,79 |
0,00024 |
3,44 |
| Пример 18 |
127,12 |
0,00025 |
3,44 |
| Пример 19 |
130,49 |
0,00019 |
3,54 |
| Пример 20 |
130,16 |
0,00023 |
3,43 |
Сравнительный пример 6. Влияние кислотной промывки на каталитическую активность катализатора, содержащего железные и цинк-оксо домены на наночастицах двуокиси титана
Материал из примера 17 был промыт 0,5 М азотной кислоты, чтобы удалить часть металл-оксо доменов, которые были нанесены на частицы посредством процесса гидролиза. Образец в 15 г кальцинированного и охлажденного материала из примера 17 был смешан с 50 мл 0,5 М HNO3 в деионизированной воде. Смеси дали перемешиваться в течение примерно 1 часа, после чего pH был медленно увеличен до 7 путем добавления 0,25 М NaOH. Промытое твердое вещество было отделено фильтрацией, промыто в деионизированной воде и высушено при 130°С.
После кислотной промывки катализатор был нанесен на углерод точно так же, как в примере 17, и покрыт каталитически активным золотом, как в примере 17. Масса образца составила 126,61 г, давление на основание составило 0,000045 Торр и потеря массы мишени составила 3,5 г.
Сравнительный пример 7. Влияние кислотной промывки на каталитическую активность катализатора, содержащего железные и магний-оксо домены на наночастицах двуокиси титана
Часть обработанных частиц из примера 20 была промыта 0,5 М азотной кислоты, чтобы удалить часть металл-оксо доменов, которые были нанесены на частицы посредством процесса гидролиза. Образец в 15 г кальцинированного и охлажденного материала из примера 20 был смешан с 50 мл 0,5 М HNO3 в деионизированной воде. Смеси дали перемешиваться в течение примерно 1 часа, после чего pH был медленно увеличен до 7 путем добавления 0,25 М NaOH. Промытое твердое вещество было отделено фильтрацией, промыто в деионизированной воде и высушено при 130°С.
После кислотной промывки катализатор был нанесен на углерод точно так же, как в примере 20, и покрыт каталитически активным золотом, как в примере 20. Масса образца составила 126,04 г, давление на основание составило 0,00023 Торр и потеря массы мишени составила 3,44 г.
После обработки золотом Примеры 17-20 и Сравнительные примеры 6 и 7 были протестированы в качестве катализаторов окисления СО в соответствии с тестовой процедурой 1. Результаты этого теста включены в Таблицу 17.
| Таблица 17 |
 |
Среднее преобразование CO (%) |
Средняя концентрация CO (частей на миллион) |
| Пример 17 |
95,7 |
156 |
| Пример 18 |
96,3 |
133 |
| Пример 19 |
95,6 |
160 |
| Пример 20 |
91,5 |
306 |
| Сравнительный пример 6 |
95,4 |
165 |
| Сравнительный пример 7 |
91,4 |
309 |
Покрытые золотом образцы из примеров 17-20 и сравнительных примеров 6 и 7 были протестированы в соответствии с тестовой процедурой 2. Результаты тестирования включены в Таблицу 18. Минимальное время выборки до добавления CO2 составляло 36 минут. Минимальное время выборки после добавления CO2 составляло 47 минут.
| Таблица 18 |
 |
До добавления СО2 |
После добавления CO2 |
| COavg (ppm) |
Tavg (°С) |
COmax (ppm) |
Tmax (°C) |
COavg (ppm) |
Tavg (°C) |
COmax (ppm) |
Tmax (°С) |
| Пример 17 |
<0,5 |
41,9 |
<0,5 |
43,7 |
<0,5 |
41,6 |
<0,5 |
41,7 |
| Пример 18 |
<0,5 |
44,9 |
<0,5 |
47,8 |
<0,5 |
44,4 |
<0,5 |
45 |
| Пример 19 |
<0,5 |
43,6 |
<0,5 |
46 |
<0,5 |
42,9 |
<0,5 |
43,3 |
| Пример 20 |
<0,5 |
43 |
<0,5 |
44,4 |
128,9 |
38,4 |
136,5 |
38,5 |
| Сравнительный пример 6 |
4,3 |
43,4 |
6,23 |
45,4 |
151 |
39,7 |
269 |
40,1 |
| Сравнительный пример 7 |
<0,5 |
43,4 |
<0,5 |
44,9 |
651 |
37,7 |
787 |
38 |
Примеры 21-26. Оценка количества железо-оксо доменов на наночастицах двуокиси титана из гидролиза/окисления железистой соли
| Таблица 19 |
 |
Содержимое раствора А |
Содержимое раствора В |
| Пример 21 |
1,0 г FeSO4·7H2O |
0,288 г NaOH |
| Пример 22 |
2,5 г FeSO4·7H2O |
0,72 г NaOH |
| Пример 23 |
5,0 г FeSO4·7H2O |
1,44 г NaOH |
| Пример 24 |
7,5 г FeSO4·7H2O |
2,16 г NaOH |
| Пример 25 |
10,0 г FeSO4·7H2O |
2,88 г NaOH |
| Пример 26 |
20,0 г FeSO4·7H2O |
5,76 г NaOH |
(Гептагидратат сернокислого железа: J.T.Baker, Phillipsburg, New Jersey)
Для примеров 21-26 количества реагентов обобщены в Таблице 19. В каждом случае дисперсия наночастиц двуокиси титана готовилась путем смешивания 65,0 г двуокиси титана Hombikat UV100 (Sachtleben Chemie GmbH, Duisburg, Германия) в 500 г деионизированной воды с помощью высокоинтенсивного смесителя IKA Т 18 (IKA Works, Inc., Wilmington, NC), оснащенного 19 мм устройством диспергирования. Раствор А и Раствор В добавлялись по капле к этой перемешиваемой дисперсии двуокиси титана в течение примерно 40 минут. Скорость добавления этих двух растворов регулировалась так, чтобы добавлять оба раствора медленно и с одинаковой скоростью. Во всех случаях дисперсиям давали отстояться и обработанные частицы удалялись фильтрацией. Материалы промывались примерно 600 мл деионизированной воды и высушивались в печи при 100°С.
Обработанные частицы кальцинировались путем увеличения температуры от комнатной температуры до 400°С более 3 часов, выдержки при 400°С в течение 1 часа, затем охлаждения в печи.
Части образцов из примеров 21, 22 и 23 были отделены и протестированы в соответствии с тестом 1 на цвет перекиси. Эти образцы были светло-каштанового цвета, но их можно было протестировать цветовым тестом 1. Модифицированные материалы наночастиц из Примеров 21, 22 и 23 были оценены как положительные. Наблюдалось, что образцы вызывают медленное разложение избыточной перекиси, о чем свидетельствует медленное образование пузырьков газа после добавления перекиси водорода.
11,0 г термически обработанных образцов были каждый диспергирован в 70,0 г деионизированной воды с помощью высокоинтенсивного смесителя IKA. Дисперсии распылялись на отдельные слои в 300 мл (примерно 121 г) углеродных частиц 12 × 20 Kuraray GG (Kuraray Chemical Company, Ltd., Osaka, Япония) с помощью срабатывающего от пальца распылительного устройства, чтобы обеспечить мелкий туман дисперсий. Слои углеродных частиц переворачивались с помощью шпателя после каждых двух распылений, чтобы гарантировать однородное нанесение дисперсии на частицы углерода. После нанесения частиц на более крупные частицы углерода нанесенные дисперсии высушивались при 130°С на воздухе.
Обработанная двуокись титана на углеродных образцах из Примеров с 21 по 26 была дополнительно обработана золотом по условию распыления 1. Масса образца, давление на основание и потеря массы золотой мишени приведены в Таблице 20.
| Таблица 20 |
 |
Масса образца (г) |
Базовое давление (Торр) |
Потеря массы золотой мишени (г) |
| Пример 21 |
127 |
0,000053 |
3,6 |
| Пример 22 |
126,73 |
0,00019 |
3,37 |
| Пример 23 |
126,27 |
0,00024 |
3,42 |
| Пример 24 |
127,44 |
0,000024 |
3,24 |
| Пример 25 |
126,64 |
0,00027 |
3,32 |
| Пример 26 |
127,69 |
0,00019 |
3,47 |
Исследование СЭМ части частиц, обработанных золотом, из примеров 23 и 25 обнаружило, что гранулы углерода были покрыты полунепрерывным покрытием поверхностно-модифицированных наночастиц двуокиси титана. Наблюдалось, что двуокись титана присутствует в основном в виде совокупностей от 0,1 до 1,5 мкм, которые было агломерированы, чтобы образовать пористое покрытие на углероде. Было оценено, что покрытия содержат поры от 0,2 до примерно 1 мкм в объемном процентном отношении от 35 до 50% покрытия. Более крупные поверхностные поры, от 3 до 8 мкм в диаметре, присутствовали в обоих образцах, что обеспечивало неровную текстуру внешней части покрытия.
После обработки золотом Примеры с 21 по 25 были протестированы в качестве катализатора окисления СО в соответствии с тестовой процедурой 1. Результаты этого теста включены в Таблицу 21.
| Таблица 21 |
 |
Среднее преобразование СО (%) |
Средняя концентрация СО (частей на миллион) |
| Пример 21 |
95,1 |
177 |
| Пример 22 |
94,4 |
203 |
| Пример 23 |
94,0 |
215 |
| Пример 24 |
94,8 |
185 |
| Пример 25 |
93,8 |
222 |
Покрытые золотом образцы из примеров 21-26 были протестированы в соответствии с тестовой процедурой 2. Результаты тестирования включены в Таблицу 22. Время выборки до добавления СО2 составляло 36 минут. Время выборки после добавления CO2 составляло 47 минут.
| Таблица 22 |
 |
До добавления CO2 |
После добавления CO2 |
| COavg (ppm) |
Tavg (°С) |
COmax (ppm) |
Tmax (°C) |
COavg (ppm) |
Tavg (°C) |
COmax (ppm) |
Tmax (°C) |
| Пример 21 |
<0,5 |
40,3 |
<0,5 |
43,5 |
167 |
34,9 |
221 |
35,6 |
| Пример 22 |
<0,5 |
46,3 |
<0,5 |
49,9 |
<0,5 |
45,7 |
<0,5 |
46,6 |
| Пример 23 |
<0.5 |
38 |
<0,5 |
39,5 |
437 |
32,9 |
555 |
33,4 |
| Пример 24 |
<0,5 |
38 |
<0,5 |
39,5 |
49 |
35,8 |
102 |
36,3 |
| Пример 25 |
<0,5 |
40,7 |
<0,5 |
43,3 |
107 |
37,9 |
145 |
38,5 |
| Пример 26 |
<0,5 |
42,2 |
<0,5 |
45,1 |
5,3 |
37,4 |
21,0 |
38,3 |
Пример 27. Кальций-оксо домены на наночастицах двуокиси титана посредством термического разложения оксалата кальция, осажденного на наночастицы двуокиси титана посредством образования нерастворимой соли оксалата кальция.
Раствор, содержащий ионы кальция, был приготовлен путем растворения 5,0 г Са(CH3CO2)2·H2O (MP Biomedicals, Aurora, Illinois) в 100 мл деионизированной воды для образования «раствора А». Раствор оксалата натрия был приготовлен путем смешивания 1,0 г оксалата натрия (Fisher Scientific, Fair Lawn, New Jersey) в 100 г воды. Дисперсия наночастиц двуокиси титана была приготовлена путем смешивания 65,0 г двуокиси титана Hombikat UV100 (Sachtleben Chemie GmbH, Duisbwg, Германия) в 500 г деионизированной воды с помощью высокоинтенсивного смесителя IKA Т 18 (IKA Works, Inc., Wilmington, NC), оснащенного 19 мм устройством диспергирования. При быстром смешивании двуокиси титана Hombikat Раствор А и Раствор В добавлялись по капле в дисперсию наночастиц двуокиси титана с одинаковой скоростью. Добавление было выполнено в течение примерно 30 минут. После добавления дисперсии дали возможность осесть, и она была профильтрована, чтобы дать осадок на фильтре, который вымывался повторно деионизированной водой. Промытый образец высушивался в печи при 130°С в течение ночи. Высушенный образец кальцинировался в соответствии со следующим графиком.
Образец кальцинировался на воздухе путем нагревания образца на воздухе в печи от комнатной температуры до 400°С в течение более 3 часов. Образец выдерживался при 400°С в течение 1 часа и затем охлаждался в печи.
Часть обработанных наночастиц из примера 27 были отделена и протестирована в соответствии с тестом 1 на цвет перекиси. Модифицированный материал наночастиц из Примера 27 был оценен как положительный в этом цветовом тесте.
11,0 г термически обработанного образца были каждый диспергирован в 70,0 г деионизированной воды с помощью высокоинтенсивного смесителя IKA. Эта дисперсия распылялась на слой в 300 мл (примерно 121 г) углеродных частиц 12 × 20 Kuraray GG (Kuraray Chemical Company, Ltd., Osaka, Япония) с помощью срабатывающего от пальца распылительного устройства, чтобы обеспечить мелкий туман дисперсий. Слой углеродных частиц переворачивался с помощью шпателя после каждых двух распылений, чтобы гарантировать однородное нанесение дисперсии на частицы углерода. После нанесения частиц на более крупные частицы углерода нанесенные дисперсии высушивались при 130°С на воздухе.
Частицы углерода, несущие модифицированные наночастицы двуокиси титана, обрабатывались золотом при условии 1 распыления. Масса образца составляла 122,45 г, давление на основание составляло 0,00022 Торр и потеря массы золотой мишени составляла 3,49 г.
После обработки золотом образец был протестирован в качестве катализатора окисления СО в соответствии с тестовой процедурой 1. Результаты этого теста включены в Таблицу 23.
| Таблица 23 |
 |
Среднее преобразование СО (%) |
Средняя концентрация СО (частей на миллион) |
| Пример 27 |
92,2 |
282 |
Покрытый золотом образец из Примера 27 был протестирован в соответствии с тестовой процедурой 2. Результаты тестирования включены в Таблицу 24.
| Таблица 24 |
 |
До добавления СО2 |
После добавления CO2 |
| COavg (ppm) |
Tavg (°С) |
COmax (ppm) |
Tmax (°С) |
COavg (ppm) |
Tavg (°С) |
COmax (ppm) |
Tmax (°C) |
| Пример 27 |
<0,5 |
44,2 |
<0,5 |
46,3 |
2,7 |
43,6 |
5,9 |
44,4 |
Примеры 28-33 и Сравнительные Примеры 8-9. Церийсодержащие-оксо домены на наночастицах двуокиси титана – Влияние состава и атмосферы обжига
| Таблица 25 |
 |
Содержимое раствора А |
Содержимое раствора В |
Атмосфера обжига |
| Пример 28 |
8,0 г раствора нитрата церия |
1,68 г NaOH |
Воздух |
| Пример 29 |
8,0 г раствора нитрата церия |
1,68 г NaOH |
N2/H2 |
| Пример 30 |
5,9 г раствора нитрата церия, 5,0 г раствора ацетата цирконила |
1,21 г NaOH |
Воздух |
| Пример 31 |
5,9 г раствора нитрата церия, 5,0 г раствора ацетата цирконила |
1,21 г NaOH |
N2/H2 |
| Пример 32 |
8,0 г раствора нитрата церия, 1,0 г La(NO3)3·6H2O |
1,68 г NaOH |
N2/H2 |
| Сравнительный пример 8 |
8,0 г раствора нитрата церия, 1,0 г La(NO3)3·6H2O |
1,68 г NaOH |
Воздух |
| Пример 33 |
5,0 г раствора нитрата церия, 5,0 г раствора ацетата цирконила 1,0 г La(NO3)3·6H2O |
1,49 г NaOH |
N2/H2 |
| Сравнительный пример 9 |
5,0 г раствора нитрата церия, 5,0 г раствора ацетата цирконила 1,0 г La(NO3)3·6H2O |
1,49 г NaOH |
Воздух |
(Раствор нитрата церия: 20% по массе Се, Shepherd Chemical, Norwood, Ohio; раствор ацетата цирконила: 22% ZrO2, Magnesium Elecktron Inc., Flemihgton, New Jersey; La(NO3)3·6H2O: Alfa Aesar, Ward Hill, Massachusetts)
«Раствор А» был приготовлен путем растворения содержимого, показанного выше в Таблице 25 для каждого примера, в 100 г деионизированной воды. Раствор гидроксида натрия («Раствор В») был приготовлен путем растворения требуемого количества гидроксида натрия, как показано в вышеприведенной Таблице, в 100 г деионизированной воды. Для каждого примера дисперсия наночастиц двуокиси титана была приготовлена путем смешивания 30,0 г двуокиси титана Hombikat UV100 (Sachtleben Chemie GmbH, Duisburg, Германия) в 200 г деионизированной воды с помощью высокоинтенсивного смесителя IKA Т 18 (ПСА Works, Inc., Wilmington, NC), оснащенного 19 мм устройством диспергирования. Раствор А и Раствор В добавлялись по капле к этой перемешиваемой дисперсии двуокиси титана в течение примерно 30 минут. Скорость добавления этих двух растворов регулировалась так, чтобы добавлять оба раствора медленно и с одинаковой скоростью. Дополнительный раствор гидроксида натрия был приготовлен как в Растворе В, и он добавлялся к смеси по капле до тех пор, пока pH раствора не стал равен 8-9. После добавления дисперсии дали возможность отстояться, и обработанные частицы были удалены фильтрацией. После фильтрации каждый из результирующих материалов был промыт примерно 500 мл деионизированной воды и высушен в печи при 100°С.
Обработанные частицы кальцинировались в требуемой атмосфере, как показано в Таблице, путем увеличения температуры от комнатной температуры до 400°С более 3 часов, выдержки при 400°С в течение 1 часа, затем охлаждения в печи.
Размер кристаллита кальцинированных поверхностно-модифицированных наночастиц двуокиси титана для части кальцинированного образца из примера 29 был определен при помощи рентгеновского анализа уширения линий, и обнаружено, что размер кристаллита составляет 14,5 нм. Единственная наблюдаемая с помощью XRD кристаллическая фаза была анатазом.
11,0 г каждого из термически обработанных образцов были диспергированы в 70,0 г деионизированной воды с помощью высокоинтенсивного смесителя IKA. Дисперсии распылялись на слой в 300 мл (примерно 121 г) углеродных частиц 12 × 20 Kuraray GG (Kuraray Chemical Company, Ltd., Osaka, Япония) с помощью срабатывающего от пальца распылительного устройства, чтобы обеспечить мелкий туман дисперсий. Слои углеродных частиц переворачивались с помощью шпателя после каждых двух распылений, чтобы гарантировать однородное нанесение дисперсии на частицы углерода. После нанесения частиц на более крупные углеродные частицы нанесенные дисперсии высушивались при 100°С на воздухе.
Сравнительный Пример 10. Отрицательное влияние реактивной поверхности церия
Дисперсия была приготовлена путем смешивания 75,0 г двуокиси титана Hombikat UV100 (Sachtleben Chemie GmbH, Duisburg, Германия) наряду с 20,0 г ацетата цирконила (22% по массе ZrO2, Magnesium Elektron, Inc., Flemington, New Jersey), 20,0 г раствора нитрата церия (20% по массе Се, Shepherd Chemical, Norwood, Ohio), 5,0 г нитрата лантана (La(NO)3·6Н2О, Alfa Aesar, Ward Hill, Massachusetts) в 500 г деионизированной воды с помощью высокоинтенсивного смесителя IKA T18 (IKA Works, Inc., Wilmington, NC), оснащенного 19 мм устройством диспергирования. Раствор гидроксида натрия был приготовлен путем растворения 15,0 г гидроксида натрия (J.T. Baker, Inc., Phillipsburg, New Jersey) в 500 г деионизированной воды. При быстром помешивании раствора гидроксида натрия с помощью смесителя IKA T18 медленно добавлялась дисперсия, содержащая наночастицы двуокиси титана наряду с солями металлов. После смешивания продукт отделялся путем фильтрации и промывался повторно деионизированной водой до тех пор, пока рН не стал равен 8-9. Отфильтрованный продукт высушивался при 120°С в печи и затем кальцинировался путем увеличения температуры от комнатной температуры до 400°С в течение 3 часов, выдержки при 400°С в течение 1 часа, затем охлаждения в печи.
11,0 г термически обработанного образца были диспергированы в 70,0 г деионизированной воды с помощью высокоинтенсивного смесителя IKA. Дисперсия распылялась на слой в 300 мл (примерно 121 г) углеродных частиц 12 × 20 Kuraray GG (Kuraray Chemical Company, Ltd., Osaka, Япония) с помощью срабатывающего от пальца распылительного устройства, чтобы обеспечить мелкий туман дисперсий. Слой углеродных частиц переворачивался с помощью шпателя после каждых двух распылений, чтобы гарантировать однородное нанесение дисперсии на частицы углерода. После нанесения частиц на более крупные углеродные частицы нанесенные дисперсии высушивались при 100°С на воздухе.
Размер кристаллита кальцинированных поверхностно-модифицированных наночастиц двуокиси титана из сравнительного примера 10 был определен при помощи рентгеновского анализа уширения линий, и обнаружено, что размер кристаллита составляет 9,5 нм. Единственная наблюдаемая с помощью XRD кристаллическая фаза была анатазом.
Кальцинированные материалы подложки из Примеров 28-33 и Сравнительных примеров 8-10 были обработаны золотом. Условия распыления, масса образца, давление на основание и потеря массы золотой мишени приведены в Таблице 26.
| Таблица 26 |
 |
Условие распыления |
Масса образца (г) |
Базовое давление (Торр) |
Потеря массы золотой мишени (г) |
| Пример 28 |
2 |
121,71 |
0,0001 |
6,5 |
| Пример 29 |
2 |
114,24 |
0,00017 |
6,55 |
| Пример 30 |
2 |
122,09 |
0,000098 |
6,97 |
| Пример 31 |
2 |
128,81 |
0,000098 |
7,02 |
| Пример 32 |
2 |
130 |
0,00014 |
6,45 |
| Сравнительный пример 8 |
2 |
129,17 |
0,0001 |
6,98 |
| Пример 33 |
2 |
128,72 |
0,00012 |
6,57 |
| Сравнительный пример 9 |
2 |
118,49 |
0,00012 |
6,63 |
| Сравнительный пример 10 |
1 |
126,19 |
0,00013 |
3,43 |
Исследование СЭМ части частиц, обработанных золотом, из примера 29 обнаружило, что гранулы углерода были покрыты полунепрерывным покрытием поверхностно-модифицированных наночастиц двуокиси титана. Наблюдалось, что двуокись титана присутствует в основном в виде совокупностей от 0,1 до 1,5 мкм, которые были агломерированы для образования пористого покрытия на углероде. Было оценено, что покрытия содержат поры от 0,2 до примерно 1 мкм в объемном процентном отношении от 35 до 50% покрытия. Более крупные поверхностные поры, от 3 до 8 мкм в диаметре, присутствовали в обоих образцах, что обеспечивало неровную текстуру внешней части покрытия.
После обработки золотом образцы были протестированы в качестве катализатора окисления СО в соответствии с тестовой процедурой 1. Результаты этого теста включены в Таблицу 27.
| Таблица 27 |
 |
Среднее преобразование СО (%) |
Средняя концентрация СО (частей на миллион) |
| Пример 28 |
98,0 |
73 |
| Пример 29 |
96,1 |
140 |
| Пример 30 |
97,5 |
89 |
| Пример 31 |
97,9 |
75 |
| Пример 32 |
97,3 |
97 |
| Сравнительный пример 8 |
96,9 |
111 |
| Пример 33 |
98,1 |
68 |
| Сравнительный пример 9 |
97,1 |
103 |
| Сравнительный пример 10 |
95,2 |
174 |
Покрытые золотом образцы из примеров с 28 по 33 и сравнительных примеров 8 и 10 были протестированы в соответствии с тестовой процедурой 2. Результаты тестирования включены в Таблицу 28. Минимальное время выборки до добавления CO2 составляло 36 минут. Время выборки после добавления CO2 составляло 28 минут.
| Таблица 28 |
 |
До добавления СО2 |
После добавления CO2 |
| COavg (ppm) |
Tavg (°С) |
COmax (ppm) |
Tmax (°С) |
COavg (ppm) |
Tavg (°C) |
COmax (ppm) |
Tmax (°С) |
| Пример 28 |
<0,5 |
43,2 |
<0,5 |
44,4 |
4,5 |
39,5 |
3,6 |
40,3 |
| Пример 29 |
<0,5 |
41,7 |
<0,5 |
50 |
<0,5 |
44,3 |
<0,5 |
46 |
| Пример 30 |
<0,5 |
40,8 |
0,5 |
42,7 |
<0,5 |
40,6 |
<0,5 |
41,4 |
| Пример 31 |
<0,5 |
44,0 |
<0,5 |
46,8 |
71 |
40,2 |
152 |
41 |
| Пример 32 |
<0,5 |
41,2 |
<0,5 |
43,4 |
1,4 |
41 |
3,2 |
41,4 |
| Сравнительный пример 8 |
<0,5 |
36,8 |
<0,5 |
38,3 |
1185 |
32,1 |
1955 |
33,6 |
| Пример 33 |
<0,5 |
39 |
<0,5 |
40,8 |
93 |
35,1 |
190 |
35,8 |
| Сравнительный пример 9 |
<0,5 |
39,7 |
<0,5 |
42,2 |
377 |
35,2 |
605 |
36 |
| Сравнительный пример 10 |
<0,5 |
40,7 |
<0,5 |
42,4 |
169 |
35 |
182 |
35 |
Пример 34. Домены алюминий-кислород на наночастицах двуокиси титана
Раствор нитрата алюминия («Раствор А») был приготовлен путем растворения 5,0 г нонагидрата нитрата алюминия (Mallinckrodt, Paris, Kentucky) в 100 г деионизированной воды. Раствор гидроксида натрия («Раствор В») был приготовлен путем растворения 1,60 г гидроксида натрия в 100 г деионизированной воды. Дисперсия наночастиц двуокиси титана была приготовлена путем смешивания 65,0 г двуокиси титана Hombikat UV100 (Sachtleben Chemie GmbH, Duisburg, Германия) в 500 г деионизированной воды с помощью высокоинтенсивного смесителя IKA Т 18 (IKA Works, Inc., Wilmington, NC), оснащенного 19 мм устройством диспергирования. Раствор А и Раствор В добавлялись по капле к этой помешиваемой дисперсии двуокиси титана в течение примерно 30 минут. Скорость добавления этих двух растворов регулировалась так, чтобы добавлять оба раствора медленно и с одинаковой скоростью. После добавления дисперсии давали возможность осесть, и обработанные частицы удалялись путем фильтрации. Материал промывался примерно 500 мл деионизированной воды и высушивался в печи при 100°С.
Обработанные частицы кальцинировались на воздухе путем увеличения температуры от комнатной температуры до 400°С в течение 3 часов, выдержки при 400°С в течение 1 часа, затем охлаждения в печи.
Часть обработанных наночастиц из Примера 34 была отделена и протестирована в соответствии с тестом 1 на цвет перекиси. Модифицированный материал наночастиц из Примера 34 был оценен как положительный в этом цветовом тесте. Часть обработанных наночастиц из Примера 34 была дополнительно протестирована в соответствии с тестом 2 на цвет перекиси водорода. Обнаружено, что активность поверхности перекиси равна 0,1132.
11,0 г термически обработанного образца было диспергировано в 70,0 г деионизированной воды с помощью высокоинтенсивного смесителя IKA. Эта дисперсия распылялась на слой в 300 мл (примерно 121 г) углеродных частиц 12×20 Kuraray GG (Kuraray Chemical Company, Ltd., Osaka, Япония) с помощью срабатывающего от пальца распылительного устройства, чтобы обеспечить мелкий туман дисперсий. Слой углеродных частиц переворачивался с помощью шпателя после каждых двух распылений, чтобы гарантировать однородное нанесение дисперсии на частицы углерода. После нанесения частиц на более крупные углеродные частицы нанесенные дисперсии высушивались при 100°С на воздухе.
Кальцинированный материал подложки был обработаны золотом при условии 1 распыления. Масса образца составляла 129,04 г, давление на основание было 0,00022 Торр и потеря массы мишени составляла 3,43 г.
После обработки золотом образец был протестирован в качестве катализатора окисления СО в соответствии с тестовой процедурой 1. Результаты этого теста включены в Таблицу 29.
| Таблица 29 |
 |
Среднее преобразование СО (%) |
Средняя концентрация СО (частей на миллион) |
| Пример 34 |
94,9 |
182 |
Покрытый золотом образец из Примера 34 был протестирован в соответствии с тестовой процедурой 2. Результаты тестирования включены в Таблицу 30.
| Таблица 30 |
 |
До добавления CO2 |
После добавления CO2 |
| COavg (ppm) |
Tavg (°С) |
COmax (ppm) |
Tmax (°С) |
COavg (ppm) |
Tavg (°С) |
COmax (ppm) |
Tmax (°C) |
| Пример 34 |
<0,5 |
41,0 |
<0,5 |
44,4 |
17,2 |
37,2 |
54,7 |
38,6 |
Пример 35. Алюминий-оксо домены на наночастицах двуокиси титана, нанесенные посредством гидролиза раствора
Раствор нитрата алюминия был приготовлен путем растворения 2,0 г нонагидрата нитрата алюминия (Mallinckrodt, Paris, Kentucky) в 100 г деионизированной воды. Дисперсия наночастиц двуокиси титана была приготовлена путем смешения 65,0 г двуокиси титана Hombikat UV100 (Sachtleben Chemie GmbH, Duisburg, Германия) в 500 г деионизированной воды с помощью высокоинтенсивного смесителя IKA Т 18 (IKA Works,. Inc., Wilmington, NC), оснащенного 19 мм устройством диспергирования. Раствор нитрата алюминия добавлялся по капле к этой помешиваемой дисперсии двуокиси титана в течение примерно 30 минут. После добавления дисперсии давали возможность отстояться, и обработанные частицы удалялись путем фильтрации. Материал промывался примерно 200 мл деионизированной воды и высушивался в печи при 130°С.
Обработанные частицы кальцинировались путем увеличения температуры от комнатной температуры до 400°С более 3 часов, выдержки при 400°С в течение 1 часа, затем охлаждения в печи.
11,0 г термически обработанного образца было диспергировано в 70,0 г деионизированной воды с помощью высокоинтенсивного смесителя IKA. Эта дисперсия распылялась на слой в 300 мл (примерно 121 г) углеродных частиц 12×20 Kuraray GG (Kuraray Chemical Company, Ltd., Osaka, Япония) с помощью срабатывающего от пальца распылительного устройства, чтобы обеспечить мелкий туман дисперсий. Слой углеродных частиц переворачивался с помощью шпателя после каждых двух распылений, чтобы гарантировать однородное нанесение дисперсии на частицы углерода. После нанесения частиц на более крупные углеродные частицы нанесенные дисперсии высушивались при 100°С на воздухе.
Кальцинированный материал подложки был обработан золотом при условии 1 распыления. Масса образца составляла 129,07 г, давление на основание составляло 0,00015 Торр и потеря веса мишени составляла 3,41 г.
После обработки золотом образец был протестирован в качестве катализатора окисления СО в соответствии с тестовой процедурой 1. Результаты этого теста включены в Таблицу 31.
| Таблица 31 |
 |
Среднее преобразование СО (%) |
Средняя концентрация СО (частей на миллион) |
| Пример 35 |
96,0 |
144 |
Покрытый золотом образец из Примера 35 был протестирован в соответствии с тестовой процедурой 2. Результаты тестирования включены в Таблицу 32.
| Таблица 32 |
 |
До добавления CO2 |
После добавления CO2 |
 |
COavg (ppm) |
Tavg (°C) |
COmax (ppm) |
Tmax (°C) |
COavg (ppm) |
Tavg (°C) |
COmax (ppm) |
Tmax (°С) |
| Пример 35 |
<0,5 |
39,8 |
<0,5 |
41,9 |
<0,5 |
39,9 |
<0,5 |
40,2 |
Пример 36-43. Изменение количества железо-оксо доменов на наночастицах двуокиси титана, осажденных путем термически запускаемого гидролиза нитрата железа (III)
Растворы нитрата железа (III) (J.T.Baker, Inc., Phillipsburg, New Jersey) были приготовлены путем растворения необходимого количества нитрата железа (III) в 100 г деионизированной воды. Количества нитрата железа (III) для каждого образца приведены ниже в Таблице. Дисперсии наночастиц двуокиси титана были приготовлены путем смешения 65,0 г двуокиси титана Hombikat UV100 (Sachtleben Chemie GmbH, Duisburg, Германия) в 500 г деионизированной воды с помощью высокоинтенсивного смесителя IKA T18 (IKA Works, Inc., Wilmington, NC), оснащенного 19 мм устройством диспергирования. Дисперсии наночастиц двуокиси титана были нагреты до 80-90°С. Растворы нитрата железа (III) добавлялись по капле к помешиваемым и нагретым дисперсиям двуокиси титана в течение примерно 30 минут. После добавлений дисперсиям давали возможность отстояться, и обработанные частицы удалялись фильтрацией. Каждый из материалов был промыт примерно 500 мл деионизированной воды и высушен в печи при 130°С.
| Таблица 33 |
 |
Количество нитрата железа (III) |
| Пример 36 |
1,0 г |
| Пример 37 |
2,5 г |
| Пример 38 |
5,0 г |
| Пример 39 |
7,5 г |
| Пример 40 |
10,0 г |
| Пример 41 |
15,0 г |
| Пример 42 |
20,0 г |
| Пример 43 |
25,0 г |
Обработанные частицы кальцинировались на воздухе в отдельных тиглях путем увеличения температуры от комнатной температуры до 400°С в течение 3 часов, выдержки при 400°С в течение 1 часа, затем охлаждения в печи.
Размер кристаллита кальцинированных поверхностно-модифицированных наночастиц двуокиси титана для части образцов из Примеров 36-39 и 41-43 был определен при помощи рентгеновского анализа уширения линий и результаты показаны в Таблице 34. Единственная наблюдаемая с помощью XRD кристаллическая фаза была анатазом.
| Таблица 34 |
 |
Размер кристаллита |
| Пример 36 |
12,3 нм |
| Пример 37 |
14,0 нм |
| Пример 38 |
12,3 нм |
| Пример 39 |
12,4 нм |
| Пример 41 |
12,5 нм |
| Пример 42 |
12,1 нм |
| Пример 43 |
11,6 нм |
Эти результаты размера кристаллита раскрывают относительную нечувствительность окончательного размера кристаллита наночастиц двуокиси титана к количеству реагента, используемого для образования металл-оксо доменов, и к термообработке.
11,0 г каждого из термически обработанных образцов были диспергированы в 70,0 г деионизированной воды с помощью высокоинтенсивного смесителя IKA. Дисперсии распылялись на отдельные слои в 300 мл (примерно 124 г) углеродных частиц 12×20 Kuraray GG (Kuraray Chemical Company, Ltd., Osaka, Япония) с помощью срабатывающего от пальца распылительного устройства, чтобы обеспечить мелкий туман дисперсий. Каждый слой углеродных частиц переворачивался с помощью шпателя после каждых двух распылений, чтобы гарантировать однородное нанесение дисперсии на частицы углерода. После нанесения частиц на более крупные углеродные частицы нанесенные дисперсии высушивались при 130°С на воздухе.
Кальцинированные материалы подложки были обработаны золотом при условии 1 распыления. Масса образца, давление на основание и потеря массы золотой мишени приведены в Таблице 35.
| Таблица 35 |
 |
Масса образца (г) |
Базовое давление (Торр) |
Потеря массы золотой мишени (г) |
| Пример 36 |
126,2 |
0,00025 |
3,38 |
| Пример 37 |
126,78 |
0,00019 |
3,39 |
| Пример 38 |
125,65 |
0,00017 |
3,56 |
| Пример 39 |
125,81 |
0,000051 |
3,61 |
| Пример 40 |
126,85 |
0,0002 |
3,53 |
| Пример 41 |
129,3 |
0,00002 |
3,73 |
| Пример 42 |
129,42 |
0,00028 |
3,44 |
| Пример 43 |
129,44 |
0,00016 |
3,45 |
После обработки золотом образцы были протестированы в качестве катализатора окисления СО в соответствии с тестовой процедурой 1. Результаты этого теста включены в Таблицу 36.
| Таблица 36 |
 |
Среднее преобразование СО (%) |
Средняя концентрация СО (частей на миллион) |
| Пример 36 |
94,6 |
194 |
| Пример 37 |
95,4 |
166 |
| Пример 38 |
95,2 |
171 |
| Пример 39 |
95,2 |
174 |
| Пример 40 |
95,9 |
148 |
| Пример 41 |
95,9 |
148 |
| Пример 42 |
95,3 |
168 |
| Пример 43 |
95,1 |
175 |
Покрытые золотом образцы из Примеров с 36 по 43 были протестированы в соответствии с тестовой процедурой 2. Результаты тестирования включены в Таблицу 37. Время выборки до добавления СО2 составляло 36 минут. Время выборки после добавления СО2 составляло 47 минут.
| Таблица 37 |
 |
До добавления СО2 |
После добавления CO2 |
| COavg (ppm) |
Tavg (°С) |
COmax (ppm) |
Tmax (°C) |
COavg (ppm) |
Tavg (°C) |
COmax (ppm) |
Tmax (°C) |
| Пример 36 |
<0,5 |
38,5 |
<0,5 |
41,3 |
225 |
33,3 |
347 |
34,2 |
| Пример 37 |
<0,5 |
41,7 |
<0,5 |
44,2 |
8,4 |
38,6 |
24,6 |
40,6 |
| Пример 38 |
<0,5 |
39,5 |
<0,5 |
43,1 |
4,8 |
38,4 |
19,4 |
39,1 |
| Пример 39 |
<0,5 |
40,1 |
<0,5 |
43,3 |
<0,5 |
36,7 |
<0,5 |
37,5 |
| Пример 40 |
<0,5 |
42,7 |
<0,5 |
45,1 |
<0,5 |
39,9 |
<0,5 |
40,2 |
| Пример 41 |
<0,5 |
43,5 |
<0,5 |
46 |
<0,5 |
42,1 |
<0,5 |
44,8 |
| Пример 42 |
<0,5 |
43,7 |
<0,5 |
46,6 |
<0,5 |
42,9 |
<0,5 |
43,9 |
| Пример 43 |
<0,5 |
44,8 |
<0,5 |
47,5 |
<0,5 |
42,7 |
<0,5 |
43,2 |
Примеры 44-47. Термическая модификация поверхности наночастиц
Каждый из Примеров 44-47 включает в себя термообработку наночастиц двуокиси титана, чтобы модифицировать его реакционную способность. В каждом случае образец в 65 г двуокиси титана Hombikat UV100 кальцинировался путем увеличения температуры от комнатной температуры до температуры мишени в течение 3 часов, выдержки при температуре мишени в течение 1 часа, затем охлаждения в печи. В случае Примеров 44 и 45 температура мишени составляла 400°С. В случае Примера 44 кальцинирующей атмосферой являлся воздух; в случае Примера 45 кальцинирующей атмосферой являлся азот. В случае Примера 46 кальцинирующей атмосферой являлся воздух, а температура мишени составляла 550°C. В случае Примера 47 кальцинирующей атмосферой был азот, а температура мишени составляла 550°С.
Часть кальцинированных наночастиц двуокиси титана из Примеров 44, 45 и 46 была протестирована в соответствии с цветовым тестом 1 перекиси водорода. Обнаружено, что кальцинированные наночастицы двуокиси титана из Примеров 44 и 45 являются положительными, причем частицы из Примера 45 являются более положительными, то есть менее желтыми, чем в Примере 44. Обнаружено, что кальцинированные наночастицы двуокиси титана из Примера 46 являются чрезвычайно положительными в соответствии с цветовым тестом 1. Кальцинированные наночастицы двуокиси титана из Примера 46 были дополнительно протестированы в соответствии с цветовым тестом 2 перекиси водорода, и обнаружено, что поверхностная активность перекиси составляет 0,0539.
11,0 г каждого из термически обработанных образцов были диспергированы в 70,0 г деионизированной воды с помощью высокоинтенсивного смесителя IKA. Дисперсии распылялись на отдельные слои в 300 мл (примерно 124 г) углеродных частиц 12 × 20 Kuraray GG (Kuraray Chemical Company, Ltd., Osaka, Япония) с помощью срабатывающего от пальца распылительного устройства, чтобы обеспечить мелкий туман дисперсии. Каждый слой углеродных частиц переворачивался с помощью шпателя после каждых двух распылений, чтобы гарантировать однородное нанесение дисперсии на частицы углерода. После нанесения частиц на более крупные углеродные частицы нанесенные дисперсии высушивались при 130°С на воздухе.
Кальцинированные материалы подложки были обработаны золотом при условии 1 распыления. Масса образца, давление на основание и потеря массы золотой мишени приведены в Таблице 38.
| Таблица 38 |
 |
Масса образца (г) |
Базовое давление (Торр) |
Потеря массы золотой мишени (г) |
| Пример 44 |
125,12 |
0,00024 |
3,32 |
| Пример 45 |
128,85 |
0,00022 |
3,33 |
| Пример 46 |
129,47 |
0,00029 |
3,27 |
| Пример 47 |
127,83 |
0,0002 |
3,46 |
После обработки золотом образцы из Примеров 44-46 были протестированы в качестве катализатора окисления СО в соответствии с тестовой процедурой 1. Результаты этого теста включены в Таблицу 39.
| Таблица 39 |
 |
Среднее преобразование |
Средняя концентрация CO |
 |
СО (%) |
(частей на миллион) |
| Пример 44 |
95,2 |
173 |
| Пример 45 |
97,4 |
93 |
| Пример 46 |
96,0 |
145 |
Покрытые золотом образцы из Примеров 44-47 были протестированы в соответствии с тестовой процедурой 2. Результаты тестирования включены в Таблицу 40. Время выборки до добавления CO2 составляло 36 минут. Время выборки после добавления CO2 составляло 47 минут.
| Таблица 40 |
 |
До добавления CO2 |
После добавления СО2 |
| COavg (ppm) |
Tavg (°С) |
COmax (ppm) |
Tmax (°C) |
COavg (ppm) |
Tavg (°С) |
COmax (ppm) |
Tmax (°C) |
| Пример 44 |
<0,5 |
39,1 |
<0,5 |
41,3 |
<0,5 |
37,4 |
<0,5 |
38,1 |
| Пример 45 |
<0,5 |
39,2 |
<0,5 |
40,7 |
<0,5 |
37,9 |
<0,5 |
38,6 |
| Пример 46 |
<0,5 |
44 |
<0,5 |
47,3 |
<0,5 |
41,6 |
<0,5 |
42,6 |
| Пример 47 |
<0,5 |
45,3 |
<0,5 |
48,1 |
<0,5 |
43,7 |
<0,5 |
45,5 |
Пример 48. Цинк-оксо домены на наночастицах двуокиси титана
201,43 г 12 × 20 меш углерода Kuraray GG (Kuraray Chemical Company, Ltd., Osaka, Япония) были помещены в 1 галонную металлическую тару для краски. 22,61 г двуокиси титана ST-31 (Ishihara Sangyo Kaisha, Ltd., Osaka, Япония) было подмешано в 250 мл химический стакан. Было добавлено 160,41 г деионизированной воды, и содержимое химического стакана затем было перемешано с помощью смесителя Turrax Т 18 (IKA-Werke GmbH & Co., Staufen, DE) при установке З в течение 4 минут. Тара затем помещалась на оснащенные приводом ролики (Bodine Electric Company of Chicago, IL), поднималась до угла в 45° и вращалась со скоростью 24 оборота в минуту. Затем дисперсия двуокиси титана ST-31 прокачивалась через приводимую в движение пальцем насадку распылителя (обычная домашняя пластиковая бутылка для распыления) на углерод до тех пор, пока не была истрачена половина дисперсии, за это время углерод осторожно высушивался струйной воздушной сушилкой до тех пор, пока не оказывалось, что углерод не связан и сухой. Затем распыление продолжалось до тех пор, пока вся дисперсия не была распылена на GG. Затем углерод высушивался струйной воздушной сушилкой в течение 3 минут и затем помещался в алюминиевый поддон. Поддон и углерод помещались в печь, установленную на 120°С, в течение 16 часов.
Образец покрывался золотом и тестировался как описано ниже.
Пример 49. Использование катализатора из Примера 48 для удаления СО из промышленного сырья для топливных элементов
3,0 г катализатора из Примера 48 использовалось для очистки СО из газового потока топливного элемента, содержащего водород, двуокись углерода, окись углерода и азот в присутствии паров воды, как описано ниже.
Во время опытов использовалась одна мембранная электродная сборка (МЭС). МЭС была собрана из следующих компонентов:
Мембрана – Мембрана была отлита ЗМ из раствора иономера DuPont Nafion® эквивалентной массы 1000 (E.I.du Font de Nemours and Company, Wilmington, DE). Толщина мембраны составляла 1,1 мил.
Электроды – Как анодный, так и катодный электрод были изготовлены из 50% катализатора Pt/C, производимого фирмой NECC (тип SA50BK) (N.E.Chemcat Corporation, Tokyo, Япония), и водного раствора иономера Nation® эквивалентной массы 1100. Электрод содержит приблизительно 71% катализатора Pt/C и 29% иономера. Металлическая нагрузка электрода составляет 0,4 мг Pt/см2.
Газовый диффузионный слой (ГДС) (GDL) – Как анодный, так и катодный газовые диффузионные слои состояли из нетканой копировальной бумаги (Ballard® AvCarb P50, Ballard Material Products, Inc., Lowell, MA), пропитанной водным раствором, содержащим 5% (по массе) политетрафторэтилена (PTFE), что обеспечивается растворением 60 мас.% раствора эмульсии Dupont 30 В PTFE в деионизированной воде. Затем микрослой, содержащий 20% PTFE и 80% углерода Vulcan (Cabot Corporation, Boston, MA), покрывается из водной дисперсии, как описано в патенте США 6.703.068, на обработанную PTFE нетканую копировальную бумагу с последующим обжигом при 380°С, чтобы получить ГДС.
МЭС была составлена из различных компонентов, перечисленных выше. Во-первых, слои катализатора были перенесены на мембрану посредством процесса расслоения методом декалькомании. Два 50 см2 электрода были вырезаны из листа и совмещены на мембране. Затем сборка была подана в пресс для ламинирования с температурой валиков, установленной на 101,7°С, с давлением, установленным на 12,4 МПа. Во-вторых, ГДС были прикреплены к мембране, покрытой катализатором посредством процесса статической связи, чтобы получить МЭС. Условия статической связи были следующие: 132,2°С в течение 10 минут при 1361 кг/50 см2 и 30% сжатии ГДС посредством остановки с резким торможением.
Схема системы 400 окисления СО, используемая в данном примере, показана на Фиг.4. Система соединяется с источником 402 газа азота, источником 404 двуокиси углерода, источником 406 воздуха и источником 408 продукта риформинга газа. Продукт риформинга включает 2% или 50 частей на миллион СО, в зависимости от обстоятельств. N2, CO2, воздух и газы риформинга направляются в смешивающий тройник 410 по линиям 411, 412, 413, 414 и 415. Контроллеры 416, 417 и 418 расхода массы помогают управлять потоком этих газов. Из смешивающего тройника 410 исходный материал перемещается к переключающему клапану 420 по линии 422.
Переключающий клапан 420 может быть установлен, чтобы направлять исходное сырье в колонку 424 с уплотненным слоем, содержащую золотой катализатор, по линии 426 или к обходной линии 428 колонки. Колонка 424 с уплотненным слоем включала все 3,0 г катализатора из Примера 48, содержащиеся в одном и том же держателе 330 катализатора, используемом в тестовой процедуре 2. Колонку 424 с уплотненным слоем можно шунтировать, чтобы сравнить, как обработанное и необработанное исходное сырье влияет на работу МЭС. Увлажнитель 430 пузырьков газа комнатной температуры (~ 23°С точка росы) включен в линию 426, чтобы увлажнять поток исходного сырья из колонки 424 с уплотненным слоем.
Выход их колонки 424 с уплотненным слоем через линию 432 или исходное сырье, подаваемое через обходную линию 428, подается на тройник 434, который оснащен обратными клапанами (не показаны), чтобы предотвратить обратный поток. Из тройника 434 поток газа направляется в тройник 436, также оснащенный обратными клапанами (не показаны), чтобы предотвратить обратный поток. Поток направляется в тройник 436 по линиям 438, 440 и 442. Часть исходного сырья в МЭС подается через газовый хроматограф (ГХ) (GC) 444 на линии 440 для того, чтобы подтверждать состав потока исходного сырья, прежде чем он достигнет МЭС (не показано). После выхода из клапана для отбора проб газа ГХ 444 исходное сырье, передаваемое через ГХ 444 по линии 440, рекомбинирует с основным потоком в сочленении 445. Это тот же самый ГХ с метанайзером/ВМД, описанный выше в тестовой процедуре 2. Переключающий клапан 446 на линии 442 позволяет исходному сырью выходить через линию 448, чтобы обойти МЭС.
Альтернативный путь 450 подачи позволяет, при желании, подавать исходное сырье из чистого Н2 из подходящего источника (не показан) на МЭС. Подобно тому, как основное исходное сырье перемещается по линии 442, альтернативное исходное сырье также перемещается к тройнику 436. Из тройника 436 основное исходное сырье или альтернативное исходное сырье, в зависимости от обстоятельств, подается в МЕА (не показано) по линии 452. Входные потоки газа в МЭС могут быть увлажнены до 100% относительной влажности с помощью увлажнителя (не показан).
МЭС были уравновешены при Н2/воздух в работе при 800/1800 sccm под управлением потенциодинамического сканирования (PDS) (начальное напряжение 0,9 В, минимальное напряжение 0,3 В, интервал 0,05 В, время в каждой точке 10 сек/точ.) /потенциостатическим сканированием (PSS) (статическое напряжение 0,4 В, время 10 мин). Чтобы оценить эффективность Аu катализатора, рабочие условия были установлены на 0,2 А/см2. Анодный поток изменялся от 400 до 600 sccm в зависимости от входного потребления газа. Катодный воздушный поток был установлен на 417 sccm. Составы газа на входе (сухая масса) к Аu катализатору и выходное напряжение МЭС показаны в Таблице 41.
| Таблица 41 |
Идентификатор (ID) газа |
Н2(%) |
N2(%) |
СО2 (%) |
СО (%) |
O2 (%) |
Напряжение топливного элемента 0,2 А/см2 (мВ) |
Изменение в напряжении топливного элемента. Чистый Н2 – Идентификатор газа (мВ) |
| 1 |
100,0 |
 |
 |
 |
 |
774±2 |
Неприменимо |
| 2 |
30,0 |
70,0 |
 |
 |
 |
749±2 |
25 (потеря разведения H2) |
| 9 |
39,5 |
39,5 |
20,7 |
0,005 |
0,3 |
749±2 |
25 |
| 10 |
38,1 |
40,9 |
20,0 |
0,005 |
1,0 |
747±2 |
27 |
| 11 |
29,7 |
45,4 |
20,8 |
1,3 |
2,8 |
747±1 |
27 |
Наблюдаемое небольшое уменьшение напряжения топливного элемента в 25 мВ для газа ID 2 по сравнению с контрольным (газ ID 1) происходит из-за растворения Н2. Из результатов для газов с идентификаторами 9, 10 и 11 очевидно, что Аu катализатор был эффективен при удалении СО из риформингового потока исходного сырья. По существу не наблюдалось потери напряжения из-за загрязнения СО при использовании любого состава продукта риформинга; вместо этого потеря напряжения согласуется с наблюдаемым эффектом растворения газа водорода. Температура слоя катализатора изменялась в тесте от комнатной температуры (23°С) до 50°С в зависимости от газового состава. Концентрация СО, измеренная ниже по потоку от каталитического слоя, была меньше, чем предел обнаружения ГХ (0,5 частей на миллион) для газа с идентификаторами 9, 10 и 11.
Другие варианты осуществления данного изобретения будут очевидны специалистам после рассмотрения данного описания или из практики изобретения, раскрытой здесь. Различные удаления, модификации и изменения, относящиеся к принципам и вариантам осуществления, описанным здесь, могут быть сделаны специалистами без отхода от действительного объема и сущности изобретения, которые указываются нижеследующей формулой изобретения.
Формула изобретения
1. Система для избирательного окисления СО относительно водорода, содержащая: a) каталитический сосуд, удерживающий каталитическую систему, содержащую массивы каталитически активного золота с размером от примерно 0,5 нм до примерно 50 нм, нанесенные на подложку, причем упомянутая подложка включает в себя множество наночастиц, которые имеют многодоменную поверхность и присутствуют в подложке как массивы сгруппированных наночастиц, на которые нанесено каталитически активное золото; и b) источник газоснабжения, связанный по текучей среде с впускным отверстием каталитического сосуда, причем упомянутое газоснабжение содержит СО и водород.
2. Система по п.1, отличающаяся тем, что многодоменная поверхность содержит два или более композиционно четких домена вблизи поверхности, на которую нанесено золото, причем упомянутые домены имеют толщину менее 5 нм и ширину менее 10 нм.
3. Система по п.1, отличающаяся тем, что многодоменная поверхность содержит первый домен, содержащий компаунд титан-оксо, и второй домен, содержащий по меньшей мере один дополнительный компаунд металл-оксо.
4. Система по п.3, отличающаяся тем, что дополнительный компаунд металл-оксо содержит компаунд кислорода и металла, выбранного из группы Mg, Ca, Sr, Zn, Co, Mn, La, Nd, Al, Fe, Cr, Sn, W, Mo, Се или их комбинаций.
5. Система по п.3, отличающаяся тем, что дополнительный компаунд металл-оксо содержит компаунд цинк-оксо.
6. Система по п.1, отличающаяся тем, что наночастицы содержат двуокись титана, которая является по меньшей мере частично кристаллической.
7. Система по п.6, отличающаяся тем, что наночастицы дополнительно содержат цинк.
8. Система по п.1, отличающаяся тем, что подложка дополнительно содержит нанопоры с размером в диапазоне от 1 нм до 30 нм.
9. Система по п.1, отличающаяся тем, что подложка содержит множество частиц исходного материала, на которые нанесены наночастицы.
10. Система по п.1, отличающаяся тем, что массивы наночастиц имеют размер в диапазоне от 0,2 до 3 мкм.
11. Система по п.1, отличающаяся тем, что дополнительно содержит электрохимическую ячейку ниже по потоку от выпускного отверстия каталитического сосуда и связанную по текучей среде с этим выпускным отверстием.
12. Способ изготовления каталитической системы, содержащий этап, на котором используют методы термического осаждения из паровой фазы для нанесения массивов каталитически активного золота с размерами в диапазоне от примерно 0,5 нм до примерно 50 нм на подложку, причем упомянутая подложка содержит множество наночастиц, которые имеют многодоменную поверхность и присутствуют как массивы сгруппированных наночастиц, на которые нанесено каталитически активное золото.
13. Способ по п.12, отличающийся тем, что дополнительно содержит этап, на котором до нанесения золота на подложку наночастицы подвергают термообработке.
14. Способ п.12, отличающийся тем, что термообработку производят при температуре в диапазоне от 200 до 600°С в течение периода времени от 30 с до 15 ч.
15. Способ по п.12, отличающийся тем, что дополнительно содержит этап на котором, до нанесения золота на подложку, побуждают наночастицы иметь многодоменную поверхность путем осаждения по меньшей мере одного оксо-компаунда на наночастицы.
16. Способ по п.15, отличающийся тем, что этап, побуждающий наночастицы иметь многодоменную поверхность, происходит до термообработки.
17. Способ по п.15, отличающийся тем, что этап, побуждающий наночастицы иметь многодоменную поверхность, происходит после термообработки.
18. Способ по п.12, отличающийся тем, что наночастицы содержат двуокись титана, которая по меньшей мере частично является кристаллической.
19. Способ по п.18, отличающийся тем, что наночастицы дополнительно содержат по меньшей мере один металл-оксо компаунд, причем металл-оксо компаунд содержит оксо-компаунд металла, выбранного из Mg, Ca, Sr, Zn, Co, Mn, La, Nd, Al, Fe, Cr, Sn, W, Mo, Се или их комбинаций.
20. Способ по п.19, отличающийся тем, что металл-оксо компаунд содержит цинк-оксо компаунд.
21. Способ по п.12, отличающийся тем, что дополнительно содержит этап, на котором наносят наночастицы на исходный материал, который содержит множество исходных частиц.
22. Способ по п.12, отличающийся тем, что подложка дополнительно содержит нанопоры с размером в диапазоне от 1 до 30 нм.
23. Способ по п.12, отличающийся тем, что наночастицы содержат наночастицы окиси первого металла, при этом способ включает в себя этап, на котором гидролизируют материал, содержащий второй металл на наночастицы, чтобы обеспечить наночастицы с многодоменной поверхностью, содержащей по меньшей мере первые и вторые композиционно различные домены металл-оксо.
24. Способ выработки электричества, содержащий этапы, на которых: a) обеспечивают контактирование текучей смеси, содержащей газы СО и водород, с каталитической системой, содержащей массивы каталитически активного золота с размером в диапазоне от примерно 0,5 нм до примерно 50 нм, нанесенные на подложку, причем упомянутая подложка включает в себя множество наночастиц, которые имеют многодоменную поверхность и присутствуют в подложке как массивы сгруппированных наночастиц, на которые нанесено каталитически активное золото; и b) после осуществления контактирования газа с каталитической системой используют газ для создания электричества.
РИСУНКИ
|
|