|
|
(21), (22) Заявка: 2008110517/09, 20.03.2008
(24) Дата начала отсчета срока действия патента:
20.03.2008
(43) Дата публикации заявки: 27.09.2009
(46) Опубликовано: 10.04.2010
(56) Список документов, цитированных в отчете о поиске:
RU 2173902 C1, 20.09.2001. SU 1365143 A1, 07.01.1988. EP 0121133 A2, 10.10.1984. EP 0066261 A1, 08.12.1982.
Адрес для переписки:
125009, Москва, Брюсов пер., 7, кв.61, В.В. Старцеву
|
(72) Автор(ы):
Соловьев Эдуард Павлович (RU), Ярмаркин Михаил Кириллович (RU), Яковлева Галина Ильинична (RU), Любимов Вячеслав Александрович (RU), Старцев Вадим Валерьевич (RU)
(73) Патентообладатель(и):
Закрытое акционерное общество “Арматурно-изоляторный завод” (RU)
|
(54) ПОЛИМЕРНЫЙ ИЗОЛЯТОР
(57) Реферат:
Изобретение относится к электротехнике и касается опорных и подвесных полимерных изоляторов для высоковольтных линий электропередачи и подстанций. Полимерный изолятор состоит из несущего тела, металлической арматуры и защитной трекингостойкой оболочки, снабженной световым индикатором. Источник света на основе светодиода указывает на опасное увеличение тока утечки, проходящего через изолятор и возникающего из-за повышенной внутренней проводимости изолятора. Источник света может быть включен непосредственно в рассечку цепи тока утечки либо через фильтр, осуществляющий заданное преобразование тока утечки. Источник света может быть включен в рассечку цепи прохождения продольного тока утечки, протекающего через несущее тело изолятора. Источник света может быть подключен к вторичной обмотке трансформатора тока, первичная обмотка которого включена в рассечку цепи тока утечки. Техническим результатом является возможность контролирования тока утечки через изолятор в целом, а также через несущее тело изолятора в отдельности. 3 н. и 3 з.п. ф-лы, 4 ил.
Область техники
Изобретение относится к электротехнике и касается опорных и подвесных полимерных изоляторов для высоковольтных подстанций и линий электропередачи.
Предшествующий уровень техники
Такие полимерные изоляторы представляют собой, как правило, стеклопластиковый стержень или трубу, снабженную закрепленной на концах металлической арматурой и защитной оболочкой с ребрами. Изоляторы предназначены для изоляции и крепления элементов высоковольтной ошиновки в распределительных устройствах станций и подстанций, проводов воздушных линий электропередачи, а также используются в качестве междуфазных распорок, покрышек высоковольтных вводов, корпусов газоизолированных трансформаторов тока и т.п.
Известна опорно-изоляционная конструкция в виде опорного полимерного изолятора, содержащего стержень из электроизоляционного материла, например из стекложгута, пропитанного термореактивным компаундом, а также трекингостойкую оболочку и металлические фланцы (Патент РФ 2173902, Н01В 17/14).
Недостатком указанной конструкции является отсутствие доступных методов оперативного контроля состояния внутренней структуры изолятора, в особенности при воздействии высокого напряжения.
Известна конструкция подвесного изолятора, содержащая стеклопластиковый стержень, а также трекингостойкую оболочку и металлическую арматуру (ГОСТ 2885690. Изоляторы линейные подвесные стержневые полимерные. Общие технические условия).
Недостатком указанной конструкции также является отсутствие доступных методов оперативного контроля состояния внутренней структуры изолятора, причем известны случаи замены изоляторов на целых линиях электропередачи из-за невозможности найти и идентифицировать один пробитый и потерявший электрическую прочность изолятор.
Цель изобретения
Предлагаемым изобретением решается задача создания изоляции для крепления элементов высоковольтной ошиновки в распределительных устройствах станций и подстанций, проводов воздушных линий электропередачи, создания междуфазных распорок, покрышек высоковольтных вводов, корпусов газоизолированных трансформаторов тока и т.п. Одновременно решается задача повышения надежности энергоснабжения, что связано с высокой приспособленностью изоляторов для контроля внутреннего состояния в процессе эксплуатации, позволяющей своевременно обнаруживать и устранять существующие и возникающие дефекты полимерной изоляции.
Для решения поставленной задачи, согласно предлагаемому изобретению, используется полимерный изолятор, содержащий несущее тело изолятора, защитную оболочку, металлическую арматуру, установленную на обоих торцах изолятора и источник света, мощность потока светового излучения которого зависит от величины продольного тока утечки, протекающего через изолятор, отличающийся тем, что источник света включен в рассечку цепи присоединения изолятора к внешним элементам. Ток утечки протекает через источник света, который преобразует электрическую энергию тока утечки в световую энергию. Зависимость мощности потока светового излучения источника света от величины тока утечки является свойством источника света. Мощность потока светового излучения источника света должна быть достаточно велика, чтобы обеспечить констатацию факта свечения с выбранного для наблюдения расстояния. Рассечка цепи присоединения изолятора к внешним элементам может быть выполнена как со стороны нулевого потенциала (земли), так и со стороны высокого потенциала. Внешними элементами но отношению к изолятору являются проводники, присоединяющие изолятор к электроду высокого потенциала с одной стороны изолятора и к контуру заземления электроустановки с другой стороны изолятора.
В качестве источника света целесообразно использовать светодиод, мощность потока светового излучения которого зависит от величины протекающего тока и достаточна для визуального наблюдения при токе 10 мкА и более.
Источник света может быть включен через фильтр, осуществляющий заданное преобразование продольного тока. Например, указанный фильтр может устранять влияние емкостной составляющей продольного тока утечки, а также выделять заданное сочетание заданных гармоник активной составляющей тока утечки.
Для устранения влияния тока утечки по внешней поверхности изолятора, связанного с загрязнением и увлажнением поверхности, можно использовать полимерный изолятор, содержащий несущее тело изолятора, защитную оболочку, металлическую арматуру, установленную на обоих торцах изолятора, и источник света, мощность потока светового излучения которого зависит от величины продольного тока утечки, протекающего через изолятор, отличающийся тем, что источник света включен в рассечку цепи прохождения продольного тока утечки, протекающего исключительно через несущее тело изолятора. С этой целью внутри изолятора на торце несущего тела размещается коллекторный электрод, отделенный от металлической арматуры изолятора изоляционной прослойкой. Ток утечки проходит двумя параллельными путями по внешней поверхности изолятора и внутри изолятора через тело изолятора. Коллекторный электрод установлен таким образом, чтобы через него проходил весь ток утечки, проходящий через тело изолятора. Коллекторный электрод изолирован от цепи прохождения тока утечки по поверхности изолятора, поэтому через коллекторный электрод проходит исключительно ток утечки, проходящий через тело изолятора. Изолированный вывод коллекторного электрода выведен наружу изолятора. Источник света включен между изолированным выводом коллекторного электрода и металлической арматурой изолятора, охватывающей коллекторный электрод.
В этом случае источник света также может быть включен через фильтр, осуществляющий заданное преобразование продольного тока. Например, указанный фильтр может устранять влияние емкостной составляющей продольного тока утечки, а также выделять заданное сочетание заданных гармоник активной составляющей тока утечки.
Для исключения необходимости рассечки цепи присоединения изолятора к внешним элементам и устранения изолирующих прокладок может быть использован полимерный изолятор, содержащий несущее тело изолятора, защитную оболочку, металлическую арматуру, установленную на обоих торцах изолятора, и источник света, мощность потока светового излучения которого зависит от величины продольного тока утечки, протекающего через изолятор, отличающийся тем, что источник света включен в цепь вторичной обмотки трансформатора тока, по первичной обмотке которого протекает ток утечки. В этом случае первичной обмоткой трансформатора тока служит металлическая арматура изолятора.
Для повышения чувствительности регистрации тока утечки может быть использован полимерный изолятор, содержащий несущее тело изолятора, защитную оболочку, металлическую арматуру, установленную на обоих торцах изолятора, и источник света, мощность потока светового излучения которого зависит от величины продольного тока утечки, протекающего через изолятор, отличающийся тем, что источник света включен в цепь вторичной обмотки трансформатора тока, по первичной обмотке которого протекает ток утечки. В этом случае первичная обмотка имеет более одного витка и включена в рассечку цепи присоединения изолятора к внешним элементам. Рассечка цепи присоединения изолятора к внешним элементам может быть выполнена как со стороны нулевого потенциала (земли), так и со стороны высокого потенциала.
Для устранения влияния тока утечки по внешней поверхности изолятора, связанного с загрязнением и увлажнением поверхности, можно использовать полимерный изолятор, содержащий несущее тело изолятора, защитную оболочку, металлическую арматуру, установленную на обоих торцах изолятора, и источник света, мощность потока светового излучения которого зависит от величины продольного тока утечки, протекающего через изолятор, отличающийся тем, что источник света подключен к вторичной обмотке трансформатора тока, по первичной обмотке которого проходит продольный ток утечки, протекающий исключительно через несущее тело изолятора. С этой целью внутри изолятора на торце несущего тела размещается коллекторный электрод, отделенный от металлической арматуры изолятора изоляционной прослойкой. Изолированный вывод коллекторного электрода выведен наружу изолятора. Первичная обмотка трансформатора тока включена между изолированным выводом коллекторного электрода и металлической арматурой изолятора, охватывающей коллекторный электрод. Источник света подключен к вторичной обмотке трансформатора тока непосредственно или через фильтр.
Заявителям неизвестен полимерный изолятор, содержащий несущее тело изолятора, защитную оболочку, металлическую арматуру, установленную на обоих торцах изолятора, и источник света, мощность потока светового излучения которого зависит от величины продольного тока утечки, протекающего через изолятор, отличающийся тем, что источник света включен в рассечку цепи присоединения изолятора к внешним элементам.
Заявителям неизвестен указанный полимерный изолятор, отличающийся тем, что источник света включен через фильтр, осуществляющий заданное преобразование продольного тока.
Заявителям неизвестен полимерный изолятор, содержащий несущее тело изолятора, защитную оболочку, металлическую арматуру, установленную на обоих торцах изолятора, и источник света, мощность потока светового излучения которого зависит от величины продольного тока утечки, протекающего через изолятор, отличающийся тем, что источник света включен в рассечку цепи прохождения продольного тока утечки, протекающего исключительно через несущее тело изолятора.
Заявителям неизвестен указанный полимерный изолятор, отличающийся тем, что источник света включен через фильтр, осуществляющий заданное преобразование продольного тока.
Заявителям неизвестен полимерный изолятор, содержащий несущее тело изолятора, защитную оболочку, металлическую арматуру, установленную на обоих торцах изолятора, и источник света, мощность потока светового излучения которого зависит от величины продольного тока утечки, протекающего через изолятор, отличающийся тем, что источник света включен в цепь вторичной обмотки трансформатора тока, по первичной обмотке которого протекает ток утечки.
Заявителям неизвестен полимерный изолятор, содержащий несущее тело изолятора, защитную оболочку, металлическую арматуру, установленную на обоих торцах изолятора, и источник света, мощность потока светового излучения которого зависит от величины продольного тока утечки, протекающего через изолятор, отличающийся тем, что источник света подключен к вторичной обмотке трансформатора тока, по первичной обмотке которого проходит продольный ток утечки, протекающий исключительно через несущее тело изолятора.
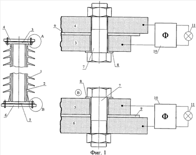
Сущность изобретения поясняется фиг.1, 2, 3, 4. На фиг.1 изображен опорный изолятор, включающий защитную оболочку 1, цилиндрическое тело изолятора 2, металлическую арматуру 3, установленную со стороны высокого потенциала и скрепленную болтовым соединением 7 с шиной высокого напряжения 4, металлическую арматуру 5, установленную со стороны нулевого потенциала и скрепленную болтовым соединением с шиной нулевого потенциала 6, фильтр 10 и источник света 11, причем источник света через фильтр включен в рассечку цепи продольного тока утечки, образованную изолирующими прокладками 8 и 9.
На фиг.2 изображен опорный изолятор, включающий защитную оболочку 1, цилиндрическое тело изолятора 2, металлическую арматуру 3, установленную со стороны высокого потенциала и скрепленную болтовым соединением с шиной нулевого потенциала 4, металлическую арматуру 5, установленную со стороны нулевого потенциала и скрепленную болтовым соединением с шиной нулевого потенциала 6, фильтр 10 и источник света 11, причем источник света через фильтр включен в рассечку цепи продольного тока утечки, протекающего исключительно через несущее тело изолятора, и образованную изолирующими прокладками 13, изоляторами 14 и коллекторными электродами 12. Коллекторный электрод 12 установлен вплотную к торцу тела изолятора 2 и изолирован изолирующей прокладкой 13 от металлической арматуры, надетой на данный торец тела изолятора. Коллекторный электрод 12 изолирован изолирующей прокладкой 13 также от цепи протекания тока утечки по внешней поверхности изолятора. Это обеспечивает прохождение через коллекторный электрод только тока утечки, проходящего через тело изолятора.
На фиг.3 изображен подвесной изолятор, включающий защитную оболочку 1, цилиндрическое тело изолятора 2, металлическую арматуру 5, установленную со стороны нулевого потенциала и скрепленную болтовым соединением 7 с шиной нулевого потенциала 6, фильтр 10 и источник света 11, причем источник света через фильтр включен в рассечку цепи продольного тока утечки, образованную изолирующими прокладками 8 и 9.
На фиг.4 изображен опорный изолятор, включающий защитную оболочку 1, цилиндрическое тело изолятора 2, металлическую арматуру 3, установленную со стороны высокого потенциала и скрепленную болтовым соединением с шиной высокого напряжения 4, металлическую арматуру 5, установленную со стороны нулевого потенциала и скрепленную болтовым соединением с опорой нулевого потенциала 6, фильтр 10 и источник света 11.
На выноске А фиг.4 показано подключение источника света 11 через фильтр 10 к вторичной обмотке трансформатора тока 12, причем первичной обмоткой служит металлическая арматура 3.
На выноске В фиг.4 показано подключение источника света 11 через фильтр 10 к вторичной обмотке трансформатора тока 12, причем первичная обмотка включена в рассечку цепи продольного тока утечки, образованную изолирующими прокладками 8 и 9. В этом случае первичная обмотка может иметь более одного витка. В обоих случаях фильтр 10 может отсутствовать, а источник света 11 подключаться непосредственно к вторичной обмотке трансформатора тока.
На выноске С фиг.4 показано подключение источника света 11 через фильтр 10 к вторичной обмотке трансформатора тока 12, причем первичная обмотка включена в рассечку цепи продольного тока утечки, протекающего исключительно через несущее тело изолятора, и образованную изолирующими прокладками 8, изолятором 14 и коллекторным электродом 7. В этом случае первичная обмотка может иметь более одного витка. Коллекторный электрод 7 установлен вплотную к торцу тела изолятора 2 и изолирован изолирующей прокладкой 8 от металлической арматуры, надетой на данный торец тела изолятора. Коллекторный электрод 7 изолирован изолирующей прокладкой 8 также от цепи протекания тока утечки по внешней поверхности изолятора. Это обеспечивает прохождение через коллекторный электрод только тока утечки, проходящего через тело изолятора.
Во всех случаях, изображенных на выносках А, В, С фиг.4, фильтр 10 может отсутствовать, а источник света 11 подключаться непосредственно к вторичной обмотке трансформатора тока.
Применение предложенных изоляторов позволяет контролировать ток утечки через изолятор в целом, а также через несущее тело изолятора в отдельности.
Результаты предложенного изобретения
Результаты испытаний полимерных изоляторов, снабженных источником света на основе светодиодов, подтверждают возможность их применения.
Заявляемый полимерный изолятор может найти применение для изоляции и крепления элементов высоковольтной ошиновки в распределительных устройствах станций и подстанций, проводов воздушных линий электропередачи, а также в качестве междуфазных распорок, покрышек высоковольтных вводов, корпусов газоизолированных трансформаторов тока и т.п. Применение таких изоляторов позволит увеличить надежность энергоснабжения потребителей электроэнергии.
Формула изобретения
1. Полимерный изолятор, содержащий несущее тело изолятора, защитную оболочку, металлическую арматуру, установленную на обоих торцах изолятора и источник света, мощность потока светового излучения которого зависит от величины продольного тока утечки, протекающего через изолятор, отличающийся тем, что источник света включен в рассечку цепи присоединения изолятора к внешним элементам.
2. Полимерный изолятор по п.1, отличающийся тем, что источник света включен через фильтр, осуществляющий заданное преобразование продольного тока.
3. Полимерный изолятор, содержащий несущее тело изолятора, защитную оболочку, металлическую арматуру, установленную на обоих торцах изолятора и источник света, мощность потока светового излучения которого зависит от величины продольного тока утечки, протекающего через изолятор, отличающийся тем, что источник света включен в рассечку цепи прохождения продольного тока утечки, протекающего исключительно через несущее тело изолятора.
4. Полимерный изолятор по п.3, отличающийся тем, что источник света включен через фильтр, осуществляющий заданное преобразование продольного тока.
5. Полимерный изолятор, содержащий несущее тело изолятора, защитную оболочку, металлическую арматуру, установленную на обоих торцах изолятора и источник света, мощность потока светового излучения которого зависит от величины продольного тока утечки, протекающего через изолятор, отличающийся тем, что источник света включен в цепь вторичной обмотки трансформатора тока, первичная обмотка которого включена в рассечку цепи присоединения изолятора к внешним элементам.
6. Полимерный изолятор по п.5, отличающийся тем, что первичная обмотка включена в рассечку цепи прохождения продольного тока утечки, протекающего исключительно через несущее тело изолятора.
РИСУНКИ
|
|