|
|
(21), (22) Заявка: 2005115497/09, 22.10.2003
(24) Дата начала отсчета срока действия патента:
22.10.2003
(30) Конвенционный приоритет:
22.10.2002 US 60/420,127 19.03.2003 US 60/455,789 22.10.2003 US 10/691,114
(43) Дата публикации заявки: 20.01.2006
(46) Опубликовано: 10.04.2010
(56) Список документов, цитированных в отчете о поиске:
US 5539616 A, 23.07.1996. US 6351375 B1, 26.02.2002. RU 2084953 C1, 20.07.1997. М.А.Рыбаков. Анатомия персонального компьютера. М.: Интермеханика, 1990. RU 2066067 C1, 27.08.1996.
(85) Дата перевода заявки PCT на национальную фазу:
23.05.2005
(86) Заявка PCT:
US 03/33546 20031022
(87) Публикация PCT:
WO 2004/038527 20040506
Адрес для переписки:
129090, Москва, ул. Б.Спасская, 25, стр.3, ООО “Юридическая фирма Городисский и Партнеры”, пат.пов. Ю.Д.Кузнецову, рег. 595
|
(72) Автор(ы):
САЛЛИВАН Джейсон А. (US)
(73) Патентообладатель(и):
САЛЛИВАН Джейсон А. (US)
|
(54) СИСТЕМЫ И СПОСОБЫ ОБЕСПЕЧЕНИЯ ДИНАМИЧЕСКОГО МОДУЛЬНОГО УСТРОЙСТВА ОБРАБОТКИ ДАННЫХ
(57) Реферат:
Данная группа изобретений относится к устройствам и системам для обеспечения динамического модульного устройства обработки данных. Технический результат заключается в повышении производительности устройства, к которому подсоединены динамические модульные устройства обработки данных. Он достигается тем, что модульное устройство обработки данных обеспечивается как платформа, которая является компактной и сконфигурирована для выборочного использования в одиночку или совместно с одним или более дополнительными устройствами обработки данных в некотором устройстве. Модульное устройство обработки данных включает в себя непериферийный корпус, процессор, оптимизированную конфигурацию монтажной платы и заменяемую соединительную панель, которая обеспечивает повышенную гибкость и поддержку периферийных устройств и приложений. Модульное устройство обработки данных является настраиваемым и может быть использовано совместно со всеми типами компьютерных устройств. Платформа допускает множество модификаций, которые могут быть сделаны с минимальным влиянием на динамическое модульное устройство, тем самым увеличивая полезность платформы для всех типов приложений. 2 н. и 19 з.п. ф-лы, 16 ил.
Область техники, к которой относиться изобретение
Настоящее изобретение относиться к системам и способам для обеспечения динамического модульного устройства обработки данных. В частности, настоящее изобретение относиться к обеспечению модульного устройства обработки данных, которое сконфигурировано для избирательного использования в одиночку или в блоке с подобными устройствами обработки информации. В некоторых реализациях, каждое модульное устройство обработки данных включает в себя непериферийный корпус, процесс охлаждения (например, охлаждение с помощью термодинамической конвекции, принудительной циркуляции воздуха, и/или жидкостного охлаждения), оптимизированную конфигурацию монтажной платы, оптимизированные отношения обработки и памяти, и динамическую соединительную панель, которая обеспечивает повышенную гибкость и поддержку периферийных устройств и приложений.
Уровень техники
В последние несколько лет в связанных с компьютерами технологиях произошел ряд технологических побед. Например, сначала компьютерные системы реализовывались на основе электровакуумных приборов. Электровакуумные приборы были заменены транзисторами. Магнитные сердечники использовались в качестве запоминающего устройства. Затем стали широко использоваться перфокарты и магнитные ленты. Появились интегральные схемы и операционные системы. В настоящее время в компьютерных системах используются микропроцессорные БИС.
Эволюция в связанных с компьютерами технологиях включала в себя разработку различных форм-факторов в компьютерной индустрии. Один из таких стандартных форм-факторов называется “Advanced Technology” (“AT”), он развивался значительно быстрее предшествующих систем, и включает в себя новую клавиатуру, 80286 процессор, накопитель на гибких магнитных дисках, который имеет большую емкость (1,2 MB) по сравнению с предшествующими системами, и 16-битную шину данных.
Со временем были сделаны усовершенствования AT форм-фактора, которые включали в себя изменения ориентации системной платы. Эти усовершенствования сделали возможным более эффективный дизайн системной платы посредством размещения разъемов дискового накопителя ближе к отсеку для установки дисковода и размещения центрального процессора ближе к блоку питания и вентилятору охлаждения. Новое расположение центрального процессора сделало возможным установку полноразмерных карт расширения во все слоты расширения.
В то время как разработки увеличивают возможности обработки данных, методики только слегка эффективны в их способности к модернизации компонент в случае улучшения компьютерных технологий. Фактически, методики становятся все менее желательными в качестве механизма доставки компьютерных технологий. Прогнозируемые модели отказов идентифицируются в терминах эксплуатационной надежности, производства, поставок и поддержки. Системы генерируют тепло, которое требует внутренних систем охлаждения, которые производят шум. Более того, современные компьютерные системы требуют ремонта.
Таким образом, пока существуют компьютерные технологии, сконфигурированные для использования в обработке данных, существуют возможности для их улучшения. Соответственно, улучшение или даже замена существующих методик другими методиками будет являться улучшением существующих технологий.
РАСКРЫТИЕ ИЗОБРЕТЕНИЯ
Настоящее изобретение относится к системам и способам для обеспечения динамического модульного устройства обработки данных. В частности, реализация настоящего изобретения связана с модульным устройством обработки данных, имеющим малый вес и размеры, и сконфигурированным для селективной работы в одиночку или совместно с подобными устройствами обработки данных. В некоторых реализациях каждое модульное устройство обработки данных включает в себя непериферийный корпус, процесс охлаждения (например, охлаждение с помощью термодинамической конвекции, принудительной циркуляции воздуха, и/или жидкостного охлаждения), оптимизированную конфигурацию монтажной платы, оптимизированные отношения обработки и памяти, и динамическую соединительную панель, которая обеспечивает повышенную гибкость и поддержку периферийных устройств и приложений.
В одной реализации динамическое модульное устройство обработки данных имеет вид куба (например, куб размером 3 дюйма (8,9 см) или другого размера и/или конфигурации), который использует улучшенный процесс охлаждения (например, модель термодинамического охлаждения, которая устраняет необходимость в охлаждающем вентиляторе, принудительное воздушное охлаждение и/или жидкостное охлаждение). Устройство также включает в себя многослойную системную плату и оптимизированные отношения обработки и памяти. Шинная архитектура устройства улучшает производительность и увеличивает как и аппаратную, так и программную стабильность. Соединительная панель с высокой гибкостью обеспечивает поддержку периферийных устройств и вертикальных приложений. Другие реализации настоящего изобретения охватывают использование надежного и динамически модульного устройства обработки данных, которое больше чем или меньше чем кубическая платформа с размером 3 дюйма. Аналогичным образом, другие реализации охватывают использование других форм, отличных от кубической.
Реализация настоящего изобретения обеспечивает платформу, которая может быть реализована в связи со всеми типами компьютерных сборок. Платформа допускает большое количество модификаций, которые могут быть сделаны с минимальным влиянием на динамический модульный блок, тем самым, увеличивая пригодность платформы ко всем типам приложений.
Несмотря на то что методы и процессы настоящего изобретения доказали свою пригодность в области персональных компьютеров, специалисту в данной области техники должно быть понятно, что способы и процессы настоящего изобретения могут быть использованы во множестве различных приложений и во множестве различных областей производства для получения удобных для пользователя устройств, включая устройства для любой отрасли промышленности, использующей системы управления или системы с динамическим интерфейсом и/или устройств, выигрывающих от реализации подобных устройств. Примеры таких отраслей промышленности включают в себя, но не ограничены перечисленным, автомобильную промышленность, авиационную промышленность, гидравлическую промышленность, авто/видео контрольную промышленность, телекоммуникационные отрасли промышленности, медицинские отрасли промышленности, отрасли промышленности специального назначения и отрасли промышленности, связанные с производством потребительской электроники. Соответственно, системы и методы настоящего изобретения обеспечивают огромную вычислительную мощность для рынка, который, как правило, не затронут текущими компьютерными технологиями.
Эти и другие особенности и преимущества настоящего изобретения станут очевидными или более понятными после прочтения нижеследующего описания. Особенности и преимущества могут быть реализованы и получены посредством инструментов и комбинаций, приведенных в этом описании. Более того, особенности и преимущества могут быть изучены при помощи использования изобретения, или станут очевидными из описания, представленного ниже.
КРАТКОЕ ОПИСАНИЕ ЧЕРТЕЖЕЙ
Для того чтобы изложить способ, которым могут быть получены вышеперечисленные особенности и преимущества настоящего изобретения, будет приведено более подробное описание изобретения со ссылкой на его определенные реализации, которые проиллюстрированы приложенными чертежами. С учетом понимания того, что чертежи отображают только типичные реализации настоящего изобретения и, таким образом, не могут ограничивать объем изобретения, настоящее изобретение будет описано и объяснено с дополнительными спецификами и деталями, с использованием сопроводительных чертежей, на которых:
Фиг.1 иллюстрирует блок-схему, которая обеспечивает типичное модульное устройство обработки данных, соединенное с периферийными устройствами для обеспечения типичного компьютерного устройства в соответствии с настоящим изобретением;
Фиг.2 иллюстрирует типичную реализацию надежного и динамически модульного устройства обработки данных;
Фиг.3 представляет другой вид реализации по Фиг.2, имеющей непериферийный корпус, процесс охлаждения (например, охлаждение с помощью термодинамической конвекции, принудительной циркуляции воздуха, и/или жидкостного охлаждения), оптимизированную конфигурацию многослойной печатной платы, оптимизированные отношения обработки и памяти, и динамическую соединительную панель, которая обеспечивает повышенную гибкость и поддержку периферийных устройств и приложений;
Фиг.4 представляет типичное устройство, в котором динамическое модульное устройство обработки данных, имеющее непериферийный корпус, применяется в одиночку в персональном компьютерном устройстве;
Фиг.5 представляет типичное устройство, в котором динамическое модульное устройство обработки данных, имеющее непериферийный корпус, применяется в другом персональном компьютерном устройстве;
Фиг.6 представляет другое типичное устройство, подобное устройству по Фиг.5, которое включает в себя дополнительные периферийные устройства, такие как сменные приводы или другие модульные периферийные устройства;
Фиг.7 представляет другое типичное устройство, в котором динамическое модульное устройство обработки данных используется в электронном устройстве;
Фиг.8 представляет другое типичное устройство, в котором динамическое модульное устройство обработки данных используется как портативное устройство;
Фиг.9 представляет использование реализации по Фиг.8 в другом типичном устройстве;
Фиг.10 представляет другое типовое портативное устройство, имеющее непериферийный корпус, объединенный со внешним откидным периферийным устройством ввода/вывода;
Фиг.11 представляет другой вид реализации по Фиг.10;
Фиг.12 представляет типичное устройство, в котором динамическое модульное устройство обработки данных применяется в типичном бытовом электрическом устройстве;
Фиг.13 представляет другое типичное устройство, в котором динамическое модульное устройство обработки данных применяется в типичном электрическом устройстве;
Фиг.14 представляет типичное устройство, в котором одно или более динамических модульных устройства обработки данных применяются в другом электрическом устройстве;
Фиг.15 представляет типичное устройство, в котором одно или более динамических модульных устройства обработки данных применяются в другом типичном устройстве; и
Фиг.16 представляет типичное устройство, в котором множество динамических модульных устройств обработки данных, каждое из которых имеет непериферийный корпус, применяются в другом электрическом устройстве; пригодны и применяются в компьютерном устройстве для обеспечения увеличенных возможностей по обработке данных.
ОСУЩЕСТВЛЕНИЕ ИЗОБРЕТЕНИЯ
Настоящее изобретение относится к системам и способам для обеспечения динамического модульного устройства обработки данных. В частности, реализация настоящего изобретения связана с модульным устройством обработки данных, имеющим малый вес, размеры, и сконфигурированным для селективной работы в одиночку или пригодным для совместной работы с одним и более дополнительными устройствами обработки данных. В некоторых реализациях каждое модульное устройство обработки данных включает в себя непериферийный корпус, процесс охлаждения (например, охлаждение с помощью термодинамической конвекции, принудительной циркуляции воздуха, и/или жидкостного охлаждения), оптимизированную конфигурацию многослойной печатной платы, оптимизированные отношения обработки и памяти, и динамическую соединительную панель, которая обеспечивает повышенную гибкость и поддержку периферийных устройств и приложений.
Реализации настоящего изобретения охватывают платформу, которая может быть использована в связи со всеми типами компьютеров и/или электрических устройств. Платформа допускает большое количество модификаций, которые могут быть сделаны с минимальным влиянием на динамический модульный блок, тем самым, увеличивая пригодность платформы ко всем типам приложений. Более того, как отмечено выше, модульное устройство обработки данных может функционировать в одиночку или быть связано с одним или более другими модульными устройствами обработки данных в настраиваемом устройстве, для обеспечения улучшенных возможностей по обработке данных.
Фиг.1 и соответствующее обсуждение предназначены для обеспечения общего описания подходящей рабочей среды в соответствии с реализациями настоящего изобретения. Как будет дополнительно обсуждаться ниже, реализации настоящего изобретения охватывают использование одного или более динамически модульных устройств обработки данных во множестве настраиваемых конфигураций, включая сетевую или комбинационную конфигурацию, как будет обсуждаться ниже.
Реализации настоящего изобретения охватывают один или более машиночитаемых носителя, где каждый носитель может быть сконфигурирован для включения в себя данных или машинно-исполняемые инструкции для манипуляции данными. Машинно-исполняемые инструкции включают в себя структуры данных, объекты, программы, процедуры или другие программные модули, которые могут быть доступны одному или более процессорам, например, таким как процессор, связанный с модульным устройством обработки данных общего назначения, способным выполнять множество различных функций, или процессор, связанный с модульным устройством обработки данных специального назначения, способным выполнять ограниченное количество функций.
Машинно-исполняемые инструкции вынуждают один или более процессоров в устройстве выполнять определенную функцию или группу функций и являются примерами средств программного кода для реализации этапов способа обработки. Более того, определенная последовательность выполняемых инструкций представляет пример соответствующих действий, которые могут быть использованы для реализации таких этапов.
Примеры машиночитаемых носителей включают в себя память с произвольной выборкой (RAM), постоянное запоминающее устройство (ROM), перепрограммируемую постоянную память (PROM), стираемую программируемую постоянную память (EPROM), электронно-перепрограммируемую постоянную память (EEPROM), постоянную память на компакт-дисках (CD-ROM), любое твердотельное устройство хранения данных (например, флэш-память, смарт-память, и тому подобное), или любое другое устройство или компонент, который способен предоставить данные или исполняемые инструкции, которые могут быть доступны блоку обработки данных.
Со ссылкой на Фиг.1, типичное устройство включат в себя модульное устройство 10 обработки данных, которое может быть использовано как устройство обработки данных общего или специального назначения. Например, модульное устройство 10 обработки данных может быть применено одно или вместе с одним или более подобных модульных устройств обработки данных в качестве персонального компьютера, ноутбука, персонального цифрового помощника (PDA) или другого портативного устройства, рабочей станции, миникомпьютера, универсальной вычислительной машины, суперкомпьютера, многопроцессорной системы, сетевого компьютера, бытового устройства с процессором, интеллектуального приспособления или устройства, системы управления, или тому подобного. Использования множества устройств обработки данных в одном устройстве обеспечивает увеличение возможностей по обработке данных. Например, каждое устройство обработки данных в устройстве может быть выделено для выполнения определенной задачи или может совместно участвовать в распределенной обработке данных.
На Фиг.1 модульное устройство 10 обработки данных включает в себя одну или более шин и/или соединительных элементов 12, которые могут быть сконфигурированы для соединения различных компонент устройства и делают возможным обмен данными между двумя и более компонентами. Шина(шины)/соединительный(ые) элемент(ы) 12 могут включать в себя одну из множества шинных структур, включая шину память, периферийную шину или локальную шину, которые используют любую из множества шинных архитектур. Типичные компоненты, соединяемые шиной(шинами)/соединительным(и) элементом(ами) 12 включают в себя один или более процессоров 14 и одно или более запоминающих устройства 16. Другие компоненты могут быть выборочно соединены с шиной(ами)/соединительным(и) элементом(ами) 12 при помощи логической схемы, одной или более систем, одной или более подсистем и/или одного или более интерфейсов ввода/вывода, далее называемые как “система(ы) 18 манипулирования данными”. Более того, другие компоненты могут быть внешне соединены с шиной(ами)/соединительным(и) элементом(ами) 12 при помощи логической схемы, одной или более систем, одной или более подсистем и/или одного или более интерфейсов ввода/вывода, и/или могут функционировать как логическая схема, одна или более система, одна или более подсистема и/или один или более интерфейса ввода/вывода, например, такие как модульное(ые) устройство(а) 30 обработки данных и/или запатентованное устройство(а) 34. Примеры интерфейсов ввода/вывода включают в себя один или более интерфейсов запоминающих устройств большой емкости, один или более интерфейсов ввода, один или более интерфейсов вывода, и тому подобное. Соответственно реализации настоящего изобретения охватывают способность использовать один или более интерфейсов ввода/вывода, и/или способность изменять используемость продукта на основе логической схемы или других примененных систем манипулирования данными.
Логическая схема может быть связана с интерфейсом, частью системы, подсистемой, и/или использоваться для выполнения определенной задачи. Соответственно, логическая схема или другая система манипулирования данными может позволять, например, использование IEEE1394 (firewire), в которой логическая схема или другая система манипулирования данными интерфейсом ввода/вывода. В качестве альтернативы или дополнительно, логическая схема или другая система манипулирования данными может быть использована так, чтобы допустить соединение модульного устройства обработки данных с другой внешней системой или подсистемой. Например, со внешней системой или подсистемой, которая может включать или не включать в себя специальное соединение ввода/вывода. В качестве альтернативы или дополнительно, логическая схема или другая система манипулирования данными может быть использована, когда нет внешнего ввода/вывода, связанного с логической схемой. Реализации настоящего изобретения также охватывают использование специальных логических схем, таких как для блоков защиты от ошибок (ECU) для транспортных средств, систем гидравлического управления, и тому подобного и/или логических схем, которые информируют процессор о том, как управлять определенной частью аппаратных средств. Более того, специалисту в данной области техники должно быть понятно, что реализации настоящего изобретения с избытком охватывают множество различных систем и конфигураций, использующих логические схемы, системы, подсистемы и/или интерфейсы ввода/вывода.
Как было представлено выше, реализации настоящего изобретения охватывают способность использовать один или более интерфейсов ввода/вывода и/или способность изменять используемость продукта, на основе логической схемы или другой использованной системы манипулирования данными. Например, когда модульное устройство обработки данных является частью персональной компьютерной системы, которая включает в себя один или более интерфейсов ввода/вывода и логических схем, спроектированных для использования в качестве настольного компьютера, логические схемы или другие системы манипулирования данными могут быть изменены с тем, чтобы включать в себя флэш-память или логическую схему для выполнения декодирования аудиосигнала для музыкальной станции, которая хочет принимать аналоговый аудиосигнал через два стандартных RCA разъема и широковешательно передавать его на некоторый IP адрес. Соответственно, модульное устройство обработки данных может быть частью системы, которая используется в качестве приспособления, а не компьютерной системы, из-за того, что модификация сделана с системой(ами) манипулирования данных (например, логическими схемой, системой, подсистемой, интерфейсом(ами) ввода/вывода, и так далее) на соединительной панели модульного устройства обработки данных. Таким образом, модификация систем(ы) манипулирования данными на соединительной панели может изменить применение модульного устройства обработки данных. Соответственно, реализации настоящего изобретения охватывают очень адаптивные модульные устройства обработки данных.
Как представлено выше, устройство 10 обработки данных включает в себя один или более процессора 14, таких как центральный процессор и опционально один или более процессоров, спроектированных для выполнения определенной функции или задачи. Как правило, это процессор 14, который выполняет инструкции, предоставляемые на машиночитаемом носителе, таком как запоминающие устройство(а) 16, магнитный жесткий диск, съемный магнитный диск, магнитная кассета, оптический диск, или от коммуникационного соединения, которое также может рассматриваться как машиночитаемый носитель.
Запоминающие устройство(а) 16 включает в себя один или более машиночитаемых носителя, которые могут быть сконфигурированы для содержания в себе данных или инструкций для манипуляций данными, и могут быть доступными процессору(ам) 14 через шину(ы)/ соединительный(ые) элемент(ы) 12. Запоминающие устройство(а) 16 могут включать в себя, например, постоянное запоминающее устройство(а) 20 (ROM), используемые для постоянного хранения информации, и/или память 22 с произвольной выборкой (RAM), используемую для временного хранения информации. Постоянное запоминающее устройство(а) 20 (ROM) могут включать в себя базовую систему ввода/вывода (BIOS), которая имеет одну или несколько процедур, которые используются для установления коммуникации, например, в ходе запуска модульного устройства 10 обработки данных. В процессе работы память 22 с произвольной выборкой (RAM) может включать в себя один или более программных модуля, например, одну или более операционных систем, прикладных программ и/или данные программ.
Как проиллюстрировано, по меньшей мере некоторые реализации настоящего изобретения охватывают непериферийные корпуса, которые обеспечивают прочные устройства обработки данных, что делает возможным использование устройства во множестве различных приложений. На Фиг.1 один или более интерфейсов запоминающих устройств большой емкости (проиллюстрированных как система(ы) 18 манипулирования данными) могут быть использованы для соединения одного или более запоминающих устройств 24 большой емкости с шиной(шинами)/соединительным(и) элементом(ами) 12. Запоминающие устройства 24 большой емкости являются периферийными для модульного устройства 10 обработки данных и позволяют модульному устройству 10 обработки данных сохранять большие объемы данных. Примеры запоминающих устройств большой емкости включают в себя накопители на жестких дисках, накопители на магнитных дисках, ленточные накопители и накопители на оптических дисках.
Запоминающее устройство 24 большой емкости может считывать с и/или записывать на жесткий магнитный диск, съемный магнитный диск, магнитную кассету, оптический диск или другой машиночитаемый носитель. Запоминающие устройства 24 большой емкости и соответствующие им машиночитаемые носители обеспечивают энергонезависимое хранение данных и/или исполняемых инструкций, которые могут включать в себя один или более программных модулей, таких как операционная система, одна или более прикладных программы, другие программные модули, или данные программ. Такие исполняемые инструкции являются примерами средств программного кода для реализации раскрытых здесь способов.
Система(ы) 18 манипулирования данными могут быть применены для того, чтобы сделать возможным обмен данными и/или инструкциями с модульным устройством 10 обработки данных через один или более соответствующих периферийных устройств 26 ввода/вывода. Примеры периферийных устройств 26 ввода/вывода включают в себя устройства ввода, такие как клавиатура и/или альтернативные устройства ввода, такие как мышь, шаровой манипулятор, световое перо, перо для ввода данных или другое координатно-указательное устройство, микрофон, координатная ручка, игровая панель, спутниковая антенна, сканер, видеокамера, цифровая камера, датчик и тому подобное, и/или устройства вывода, такие как монитор или экран дисплея, громкоговоритель, принтер, система управления, и тому подобное. Аналогичным образом, примеры систем(ы) 18 манипулирования данными, связанных со специализированными логическими схемами, которые могут быть использованы для соединения периферийных устройств 26 ввода/вывода с шиной(шинами)/соединительным(и) элементом(ами) 12, включают в себя последовательный порт, параллельный порт, игровой порт, универсальную последовательную шину USB, последовательную шину стандарта IEEE 1394, беспроводной приемник, видеоадаптер, аудиоадаптер, параллельный порт, беспроводной передатчик, любое параллельное или последовательное периферийное устройство ввода/вывода или другой интерфейс.
Система(ы) 18 манипулирования данными делают возможным обмен информацией через один или более сетевых интерфейса 28. Примеры сетевых интерфейсов 28 включают в себя соединение, которое делает возможным обмен информацией между устройствами обработки данных, сетевой адаптер для соединения с локальной сетью (LAN) или модем, беспроводной канал связи, или другой адаптер для соединения с глобальной сетью (WAN), например Интернет. Сетевой интерфейс 28 может быть встроен в или быть периферийным по отношению к модульному устройству 10 обработки данных, и может быть связан с локальной сетью, беспроводной сетью, глобальной сетью и/или с любым соединением между устройствами обработки данных.
Система(ы) 18 манипулирования данным делают возможным обмен информацией между модульным устройством 10 обработки данных и одним или более другими локальными или удаленными модульными устройствами 30 обработки данных или компьютерными устройствами. Соединение между модульным устройством 10 обработки данных и модульным устройством 30 обработки данных может включать в себя проводные или беспроводные каналы связи. Соответственно, реализации настоящего изобретения охватывают прямые соединения шина-шина. Это делает возможным создание больших шинных систем. Это также устраняет возможность взлома, как известно в настоящее время, из-за прямых соединений шина-шина в устройстве. Более того, система(ы) 18 манипулирования данными делают возможным обмен информацией между модульным устройством 10 обработки данных и одним или более запатентованным соединением 32 ввода/вывода и/или одним или более запатентованным устройством 34.
Программные модули или их части, которые доступны устройству обработки данных, могут храниться в удаленном устройстве хранения данных. Более того, в сетевой системе или комбинированной конфигурации, модульное устройство 10 обработки данных может принимать участие в распределенной вычислительной среде, в которой функции или задачи выполняются множеством устройств обработки данных. В качестве альтернативы, каждое устройство обработки данных в объединенной конфигурации/устройстве может быть выделено для определенной задачи. Так, например, одно устройство обработки данных в устройстве может быть выделено для видеоданных, тем самым, замещая традиционную видеокарту, и обеспечивая увеличение возможностей по обработке данных для выполнения таких задач, выходящих за рамки традиционных технологий.
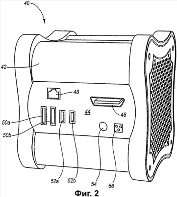
В то время как специалисту в данной области техники должно быть понятно, что реализации настоящего изобретения могут включать в себя множество конфигураций, обратимся к Фиг.2, которая иллюстрирует типичную реализацию надежного и динамически модульного устройства обработки данных. В проиллюстрированной реализации на Фиг.2 устройство 40 обработки данных надежно и динамически модульно. В проиллюстрированной реализации устройство 40 является кубом с размером 3 дюйма (8,9 см), который использует улучшенную модель термодинамического охлаждения, устраняющую необходимость использования охлаждающего вентилятора.
Тем не менее, как представлено здесь, реализации настоящего изобретения охватывают использование других процессов охлаждения в дополнение или вместо термодинамического процесса охлаждения, таких как принудительное воздушное охлаждение и/или жидкостное охлаждение. Более того, хотя иллюстративная реализация включает в себя кубическую платформу с размерами 3 дюйма, специалисту в данной области техники должно быть понятно, что реализации настоящего изобретения охватывают использование модульных устройств обработки данных, которые больше чем или меньше чем кубическая платформа с размерами 3 дюйма. Аналогично, другие реализации охватывают использование форм, отличных от кубической.
Устройство 40 обработки данных также включает в себя конфигурацию многослойной системной платы, которая оптимизирует отношения обработки и памяти, и шинную архитектуру, которая улучшает производительность и увеличивает как аппаратную, так и программную стабильность, каждая из которых будет детально рассмотрена ниже. Специалисту в данной области техники должно быть понятно, что другие реализации настоящего изобретения охватывают также немногослойные системные платы. Более того, другие реализации настоящего изобретения охватывают конфигурации со встроенной системной платой, в которых компоненты системной платы встроены в один или более материалов, и в которых один или более компонентов системной платы является механическим, оптическим, электрическим или электромеханическим. Более того, по меньшей мере некоторые из реализаций конфигураций со встроенной системной платой включают в себя механические, оптические, электрические и/или электромеханические компоненты, которые зафиксированы в трехмерной стерильной среде. Примеры таких материалов включают в себя полимеры, резины, эпоксидные смолы и/или любой непроводящий герметик.
Реализации настоящего изобретения охватывают обеспечение эксплуатационной гибкости обработки данных. Например, в соответствии с, по меньшей мере, некоторыми реализациями настоящего изобретения, затраты ресурсов на обработку данных идентифицируются, а затем разрешаются при помощи селективного выделения и/или распределения мощностей по обработке данных. Например, отдельная система определяется в соответствии с определенными нуждами, так чтобы выделение или распределение мощностей по обработке данных контролировалось. Таким образом, одно или более модульных устройств обработки данных может быть выделено для предоставления мощностей по обработке данных для таких определенных нужд (например, видео, аудио, одна или более системы, одна или более подсистемы, и так далее). В некоторых реализациях способность предоставлять мощности по обработке данных уменьшает загрузку центрального устройства. Соответственно, мощности по обработке данных направляются в те области, в которых они нужны.
Хотя в иллюстративной реализации устройство 40 обработки данных включает в себя процессор с тактовой частотой 2 ГГц и 1,5 Гб памяти с произвольной выборкой (RAM), специалисту в данной области техники должно быть понятно что, другие реализации настоящего изобретения охватывают использование более быстрого или более медленного процессора и/или большего или меньшего количества памяти с произвольной выборкой (RAM). В, по меньшей мере, некоторых реализациях настоящего изобретения, скорость процессора и количество памяти с произвольной выборкой (RAM) в устройстве обработки данных зависят от условий, в которых будет использоваться устройство обработки данных.
Высокодинамичная, настраиваемая и взаимозаменяемая соединительная панель 44 обеспечивает поддержку периферийных устройств и вертикальных приложений. В иллюстративной реализации соединительная панель 44 выборочно связана с корпусом 42 и может включать в себя один или более элементов, интерфейсов, возможностей, логических схем и/или компонент, которые позволяют устройству 40 быть динамически настраиваемым. В иллюстративной реализации соединительная панель 44 включает в себя видеопорт 46 DVI, порт 48 Ethernet, порты 50 (50a и 50b) USB, порты 52 (52a и 52b) шины SATA, кнопку 54 управления питанием, и порт 56 питания. Соединительная панель 44 также может включать в себя механизм, которые связывает электрически два или более модульных устройства обработки данных вместе для увеличения возможностей по обработке данных целой системы, как упоминалось выше, и для обеспечения масштабируемой обработки данных, как будет обсуждаться ниже.
Специалисту в данной области техники должно быть понятно, что соединительная панель 44 с соответствующими ей элементами, интерфейсами, возможностями, логическими схемами и/или компонентами является только примерной, и что реализации настоящего изобретения охватывают соединительные панели, имеющие множество различных элементов, интерфейсов, возможностей и/или компонент. Соответственно, устройство обработки данных является динамически настраиваемым благодаря возможности замены одной соединительной панели другой соединительной панелью для того, чтобы дать возможность пользователю выборочно модифицировать логические схемы, элементы и/или возможности устройства обработки данных.
Более того, реализации настоящего изобретения охватывают любое количество и/или тип логических схем и/или соединительных элементов, для того чтобы позволить использование одного или более устройств 40 обработки данных во множестве различных систем. Например, эти системы включают в себя транспортные средства (например, легковые машины, грузовики, мотоциклы, и так далее), системы гидравлического управления и другие системы. Изменение систем(ы) манипулирования данными на соединительной панели делает возможным вертикальное и/или горизонтальное масштабирование для множества систем, как будет обсуждаться ниже.
Более того, реализации настоящего изобретения охватывают множество форм и размеров модульного устройства обработки данных. Например, на Фиг.2 модульное устройство 40 обработки данных есть куб, который меньше чем традиционные устройства обработки данных по ряду причин.
Как должно быть понятно специалисту в данной области техники, реализации настоящего изобретения легче обслуживать по сравнению с традиционными методиками из-за, например, использованных материалов, размера и/или формы, типа логических схем и/или отсутствия периферийного корпуса.
В иллюстративной реализации кнопка 54 управления питанием имеет три состояния, а именно, включено, выключено и резерв для загрузки питания. Когда питание включено и подается, устройство 40 инструктируется для загрузки в память и выполнения начальной загрузки операционной системы, поддерживаемой в памяти. Когда питание выключается, устройство 40 обработки данных прерывает любую текущую обработку данных и начинает последовательность операций останова, за которой следует состояние резерва, в котором система ожидает подачи питания для активации.
Порты 50 USB сконфигурированы для присоединения периферийных устройств ввода/вывода к устройству 40 обработки данных. Примеры таких устройств ввода или вывода включают в себя клавиатуру, мышь или шаровой манипулятор, монитор, принтер, другое устройство обработки данных или компьютерное устройство, модем и камеру.
Порты 52 шины SATA сконфигурированы для электронной связи и поддержки запоминающих устройств большой емкости, которые являются периферийными по отношению к устройству 40 обработки данных. Примеры таких запоминающих устройств большой емкости включают в себя дисководы, оптические приводы, накопители на жестких дисках, ленточные накопители, и тому подобное.
Как было представлено выше, другие реализации настоящего изобретения охватывают использование дополнительных портов и средств для присоединения периферийных устройств, как должно быть хорошо понятно специалисту в данной области техники. Таким образом, определенные порты и средства соединения, определенные и описанные здесь, предназначены только для иллюстрации, и не являются ограничивающими.
Как было представлено выше, множество существует преимуществ при использовании непериферийного устройства обработки данных в больших периферийных компьютерных устройствах. Для примера, пользователь способен выборочно уменьшить место, требуемое для размещения системы, и может при этом обеспечить увеличенную мощность по обработке данных при помощи добавления устройств обработки данных в систему, которая, при этом, требует меньше места. Более того, так как каждое из устройств обработки данных содержит твердотельные компоненты, в отличие от систем, подверженных поломке, индивидуальные устройства могут быть спрятаны (например, в стенах, мебели, стенных шкафах, в декоративных устройствах, например часах).
Надежность отдельного устройства/куба обработки данных позволяет выполнять обработку данных, в которых это немыслимо при использовании традиционных методик. Например, устройства обработки данных могут быть закопаны в землю, погружены в воду, утоплены в море, размещены в головке буровой коронки, находящейся на глубине в сотни футов, размещены на нестабильных поверхностях мебели, и так далее. Потенциальные расположения обработки данных невозможно перечислить. Другие преимущества заключаются в уменьшении шума и тепловыделения, в способности обеспечения “умных” технологий в различных устройствах, доступных потребителям, таким как мебель, приборы, транспортные средства, структуры, поддержки, приспособления, оборудование, персональные вещи, и так далее.
Обратимся теперь к Фиг.3, другому виду реализации по Фиг.2, на котором представлен вид, иллюстрирующий устройство 40 обработки данных со снятыми боковыми сторонами куба, для более полной иллюстрации непериферийного корпуса, процесса охлаждения (например, охлаждения с помощью термодинамической конвекции, принудительной циркуляции воздуха, и/или жидкостного охлаждения), оптимизированной конфигурации многослойной монтажной платы и динамической соединительной панели. В иллюстративной реализации различные платы связаны вместе с использованием методики посадки с гарантированным натягом, которая предотвращает случайное отсоединение плат и делает возможной их замену. Платы предусматривают улучшенное распределение электромагнитных помех и/или размещение микросхем/логических схем. Специалистам в данной области техники должно быть понятно, что реализации настоящего изобретения охватывают любое количество плат и/или конфигураций. Более того, структуры плат могут быть модифицированы для получения определенного преимущества и/или потребности на основе одного или более приложений и/или особенностей. На Фиг.3 устройство 40 обработки данных включает в себя конфигурацию 60 многослойной монтажной/системной платы, которая включает в себя две параллельных боковых платы 62 (62a и 62b) и центральную плату 64, перпендикулярную к и электронно связывающую боковые платы 62. Хотя иллюстративная реализация использует конфигурацию из трех плат, специалисту в данной области техники должно быть понятно, что реализации настоящего изобретения охватывают конфигурации плат, имеющие меньше чем три платы и многослойные конфигурации плат, имеющие больше чем три платы. Более того, реализации настоящего изобретения охватывают другие конфигурации монтажных плат, отличные от тех, в которых платы расположены под прямым углом друг к другу.
В этой иллюстративной реализации, многослойная системная плата 60, поддерживается внутри корпуса 42 с использованием средств для связи системной платы 60 с корпусом 42. В иллюстративной реализации средства для связи системной платы 60 с корпусом 42 включают в себя множество канальных щелевых отверстий, которые сконфигурированы для выборочного получения хотя бы части системной платы 60 и удержания системной платы 60 в положении. Когда необходимы модернизации, связанные с улучшением технологий, например, когда процессор 66 необходимо заменить улучшенным процессором, соответствующая плата (например, центральная плата 64) удаляется из корпуса 42 и новая плата с новым процессором вставляется для осуществления модернизации. Соответственно, доказано, что реализации настоящего изобретения упрощают модернизацию и обеспечивают настраиваемое и динамическое устройство обработки данных.
Устройство 40 обработки данных также включает в себя один или более процессоров, которые сконфигурированы для выполнения одной или более задач. На Фиг.3 один или более процессоров проиллюстрированы процессором 66, который связан с центральной платой 64. По мере продвижения технологии может настать время, когда пользователь устройства 40 обработки данных захочет заменить процессор 66 модернизированным процессором. Соответственно, центральная плата 64 может быть удалена из корпуса 42 и новая центральная плата, имеющая модернизированный процессор, может быть установлена и использована в связи с устройством 40. Соответственно, реализации настоящего изобретения охватывают динамически настраиваемые устройства обработки данных, которые легко модернизировать, и тем самым обеспечить платформу, имеющую долговечность, в отличие от традиционных методик.
Обратимся теперь к Фиг.4, на которой представлено характерное устройство 70, в котором динамически модульное устройство 40, имеющее непериферийный корпус, использовано совместно с персональным вычислительным устройством. В этой иллюстративной реализации устройство 40 обработки данных включает в себя соединение 71 питания и использует беспроводную технологию с периферийными устройствами устройства 70. Периферийные устройства включают в себя монитор 72, имеющий накопитель 74 на жестких дисках, динамики 76, привод 78 оптических дисков, клавиатуру 80 и мышь 82. Специалисту в данной области техники должно быть понятно, что реализации настоящего изобретения также охватывают персональные вычислительные устройства, которые используют технологии, отличные от беспроводных технологий.
Устройство 40 обработки данных является движущей силой устройства 70, так как оно обеспечивает мощности по обработке данных для манипулирования данными для выполнения задач. Динамическая и настраиваемая природа настоящего изобретения позволяют пользователю легко нарастить мощности по обработке данных. В настоящей реализации устройство 40 обработки данных является кубом размером 3 дюйма (8,9 см), который использует термодинамическое охлаждение и оптимизирует отношения обработки данных и памяти. Тем не менее, как представлено здесь, реализации настоящего изобретения охватывают использование других процессов охлаждения в дополнение к или вместо термодинамического процесса охлаждения, такие как принудительная циркуляция воздуха, и/или жидкостное охлаждение. Более того, хотя иллюстративная реализация включает в себя кубическую платформу с размером 3 дюйма, специалисту в данной области техники должно быть понятно, что реализации настоящего изобретения охватывают использование модульного устройства обработки данных, которое больше чем или меньше чем кубическая платформа с размером 3 дюйма. Аналогичным образом, другие реализации охватывают использование отличных от кубической формы.
В частности, устройство 40 обработки данных в иллюстративной реализации, включает в себя процессор с тактовой частотой 2 ГГц, 1,5 Гб памяти с произвольной выборкой (RAM) 512 L2 кэш, и беспроводной сетевой интерфейс. Таким образом, например, если пользователь устройства 70 определит, что желательно увеличение мощности обработки данных для устройства 70, вместо того чтобы приобретать новую систему, как того требуют некоторые традиционные технологии, пользователь может просто добавить один или более модульных устройства обработки данных к устройству 70. Устройства/кубы обработки данных могут быть выборочно расположены пользователем по его желанию для выполнения обработки данных. Например, устройства обработки данных могут быть использованы для выполнения распределенной обработки данных, каждое устройство может быть выделено для выполнения определенной задачи (например, одно устройство может быть выделено для обработки видеоданных, или другой задачи) или модульные устройства могут функционировать вместе как одно устройство обработки данных.
Хотя данный пример включает в себя процессор с тактовой частотой 2 ГГц, 1,5 Гб памяти с произвольной выборкой (RAM), и 512 L2 кэш, специалисту в данной области техники должно быть понятно, что другие реализации настоящего изобретения охватывают использование более быстрого или более медленного процессора, большего или меньшего количества памяти с произвольной выборкой (RAM) и/или другого кэша. В, по меньшей мере, некоторых реализациях настоящего изобретения, возможности устройства обработки данных зависят от условий, в которых будет использоваться устройство обработки данных.
Хотя на Фиг.4 представлено устройство обработки данных на поверхности иллюстративного стола, прочная природа устройства/куба обработки данных позволяет, в качестве альтернативы, разместить устройство 40 в незаметном месте, например в стене, под столом, в декоративном устройстве или объекте, и тому подобном. Соответственно, иллюстративная реализация устраняет традиционные башни, которые имеют тенденцию к тому, чтобы их ударили, и, затем имеют тенденцию производить звук от системы охлаждения внутри башни. Никакого звука не исходит от устройства 40, так как все внутренние компоненты находятся в твердом состоянии, когда используется конвекционное или жидкостное охлаждение.
На Фиг.5 представлен еще один пример использования модульного устройства обработки данных в компьютерном устройстве. Фиг.5 иллюстрирует способность модульного устройства 40 обработки данных функционировать в качестве несущего элемента. Например, модульное устройство обработки данных может быть использовано для связи двух или более структур вместе и для вклада в общую структурную поддержку и стабильность структуры или устройства. Дополнительно, модульное устройство обработки данных может нести нагрузку, приложенную напрямую к первичному поддерживающему телу. Например, компьютерный экран или монитор может физически поддерживаться, а обработка данных управляться модульным устройством обработки данных. В иллюстративной реализации монитор 90 смонтирован на модульном устройстве 40 обработки данных, которое, в свою очередь, смонтировано на опоре 92, имеющей основание 94.
На Фиг.6 представлено другое характерное устройство, в котором динамическое модульное устройство 40 обработки данных, имеющее непериферийный корпус, используется в компьютерном устройстве. На Фиг.6 характерное устройство подобно реализации, представленной на Фиг.5, тем не менее, одно или более модульных периферийных устройств выборочно соединены с устройством. В частности, Фиг.6 иллюстрирует запоминающие устройства 93 большой емкости, которые выборочно соединены с устройством как периферийные устройства. Специалисту в данной области техники должно быть понятно, что любое количество (например, меньше чем два или больше чем два) и/или любые типы периферийных устройств могут быть использованы. Примеры таких периферийных устройств включают в себя запоминающие устройства большой емкости, устройства ввода/вывода, сетевые интерфейсы, другие модульные устройства обработки информации, запатентованные соединения ввода/вывода; запатентованные устройства, и тому подобное.
На Фиг.7 проиллюстрирована другая характерная реализация, в которой динамическое модульное устройство 40 обработки данных, имеющее непериферийный корпус, используется в устройстве. В соответствии с, по меньшей мере, некоторыми реализациями настоящего изобретения, модульное устройство обработки данных, имеющее непериферийный корпус, может быть использовано в центральном процессоре или в электронных устройствах, включая телевизор, стереосистему, устройство записи, телеприставка, или в любом другом электронном устройстве. Соответственно, модульное устройство обработки данных может быть выборочно использовано в устройстве для отображения, предупреждения, информирования, управления, наблюдения, записи, распознавания, и того подобного. На Фиг.7 модульное устройство обработки данных связано с источником 94 питания, одним или более периферийными устройствами 95 и соединениями 96 для использования в устройстве.
Как представлено здесь, реализации настоящего изобретения охватывают множество форм и размеров модульного устройства обработки данных. На Фиг.8 проиллюстрировано модульное устройство 40 обработки данных, которое используется в качестве портативного компьютерного устройства, такого как персональный цифровой помощник (PDA). Периферийное устройство 97 ввода/вывода связано с модульным устройством 40 обработки данных. В иллюстративной реализации периферийное устройство 97 ввода/вывода включает в себя монитор и перо, делающие возможным ввод и вывод. Для специалиста в данной области техники должно быть понятно, что могут быть включены дополнительные периферийные устройства, такие как динамики, микрофон, сотовый телефон, клавиатура, или любой другой тип периферийного устройства, характерные примеры которых будут приведены ниже.
В реализации по Фиг.8 портативное вычислительное устройство имеет размеры 3,5 ×4,75 ×0,75 , тем не менее, специалисту в данной области техники должно быть понятно, что настоящее изобретение также охватывает реализации, которые больше или меньше по размерам, чем иллюстративная реализация. На Фиг.8 периферийное устройство 97 ввода/вывода есть раздвижные части, которые выборочно соединены с модульным устройством 40 обработки данных, которое включает в себя немногослойный дизайн платы, для того, чтобы сделать устройство 40 более тонким. Дополнительные периферийные устройства включают в себя источник питания и запоминающее устройство большой емкости. В одной реализации запоминающее устройство большой емкости есть накопитель на жестких дисках емкостью 40 ГБ, что позволяет пользователю всегда иметь с собой все свои файлы. Соответственно, реализация по Фиг.8 позволяет пользователю использовать полноценный компьютер в ладони его/ее руки. Более того, из-за твердотельных компонент реализация по Фиг.8 более надежна, чем традиционные методики. Более того, в, по меньшей мере, некоторых реализациях корпус включает в себя металл для увеличения надежности. Соответственно, если уронить устройство 40, его ядро не сломается.
На Фиг.9 представлено другое характерное устройство, которое включает в себя динамическое модульное устройство 40 обработки данных, имеющее непериферийный корпус. На Фиг.9 устройство 40 обработки данных, имеющее периферийное устройство 97 ввода/вывода, выборочно соединено с периферийным устройством 98, делая возможным функционирование характерного устройства в виде настольного компьютера высокого класса. С использованием методики жидкостного охлаждения, например, устройство 40 может быть очень эффективным портативным устройством. И, как показано на Фиг.9, устройство 40 может быть выборочно вставлено, подобно картриджу, в большое периферийное устройство 98 ввода/вывода, которое включает в себя клавиатуру, монитор, динамики, и опционально, логические схемы, зависящие от приложения конечного пользователя. Когда устройство 40 отсоединяется/извлекается из периферийного устройства 98, устройство 40 может сохранить файлы, для того чтобы пользователь имел возможность иметь с собой свои файлы. Соответственно, здесь нет необходимости для синхронизации устройства 40 с периферийным устройством 98, так как устройство 40 включает в себя все эти файлы. Хотя реализация, представленная на Фиг.9, включает одно устройство обработки данных, другие реализации настоящего изобретения охватывают использование множества устройств обработки данных.
Аналогичным образом, модульное устройство 40 обработки данных может быть вставлено или как-либо связано со множеством периферийных устройств других типов, включая устройства в транспортных средствах, дома, офисе, и тому подобном. Устройство 40 может быть использовано для сохранения и предоставления музыки, фильмов, картин и любых других аудио и/или видео.
На Фиг.10-11 представлено другое характерное устройство, в котором динамическое модульное устройство 40 обработки данных, имеющее непериферийный корпус, используется в персональном вычислительном устройстве. На Фиг.10-11 модульное устройство 40 обработки данных связано с периферийным устройством 99 с откидной крышкой, которое включает в себя монитор, клавишную клавиатуру и манипулятор типа мышь. Периферийное устройство 99 с откидной крышкой работает на полной скорости с hand top компьютером для работы с электронными таблицами, просмотра Интернет и других функций и/или задач. Реализация, показанная на Фиг.10-11, загружает полную версию операционной системы, когда открывается крышка. В другой реализации периферийное устройство 99 с откидной крышкой и периферийное устройство 97 ввода/вывода (Фиг.8) одновременно связаны с одним и тем же модульным устройством обработки данных, таким что устройство загружает полную версию операционной системы, когда открывается крышка и выполняет модифицированную версию, когда закрыто, что приводит к работе с минимальным энергопотреблением и минимальным расходом мощностей обработки данных.
В дальнейших реализациях модульные устройства обработки данных используются в качестве MP3 проигрывателей и/или видеопроигрывателей. В других реализациях камера используется как периферийное устройство и изображения/видео сохраняются на модульном устройстве обработки данных.
Как было представлено выше, реализации настоящего изобретения невероятно гибкие. В качестве дополнительных примеров устройство 40 управления обработкой данных может быть использовано для физического крепления и/или обеспечения обработки для различных приборов или устройств, таких как осветительный прибор (Фиг.12), электрическая розетка (Фиг.13) или прерыватель (Фиг.14). Как представлено здесь, в, по меньшей мере, некоторых реализациях настоящее изобретение охватывает модульное устройство обработки данных, которое функционирует как машина, которая управляет и контролирует операцию множества компонент, структур, сборок, модулей, оборудования и тому подобное.
На Фиг.12 представлено характерное устройство, в котором динамическое модульное устройство обработки данных используется в характерном бытовом электрическом устройстве. На Фиг.12 модульное устройство 40 обработки данных вмонтировано в осветительный прибор 100. Например, модульное устройство 40 обработки данных может использоваться для управления включением/выключением, регулировать свет лампы и управлять другими атрибутами осветительного прибора 100, например отслеживать мощность, потребляемую лампой, и предупреждать центр управления, если требуется какое-либо техническое обслуживание для осветительного прибора 100, или любую другую желаемую информацию. В иллюстративной реализации модульное устройство 40 обработки данных смонтировано к потолочной структуре через раздвижную монтажную скобу 102, и к осветительному прибору 100 с использованием монтажной скобы раздвижного осветительного модуля 104, который раздвигается в приемники ползунков (не показаны), которые расположены в основном опорном корпусе модульного устройства 40 обработки данных. Осветительный модуль 104 может иметь одну или более электрических лампочек и покрытие, как показано на чертеже. В иллюстративной реализации модульное устройство 40 обработки данных также смонтировано на ползунке реостата 194 для регулирования силы света лампы.
На Фиг.13 представлено характерное устройство, в котором динамическое модульное устройство 40 обработки данных, имеющее непериферийный корпус, используется в другом характерном электрическом устройстве, в котором характерное электрическое устройство является электрической розеткой или розеткой для распределения сети по протоколу 802,11x. На Фиг.13 модульное устройство 40 обработки данных соединено с интерфейсом 107 переменного тока, периферийной розеткой 108 переменного тока, и монтажной скобой 109. Периферийная розетка 108 переменного тока и монтажная скоба 109 являются раздвижными периферийными устройствами. Модульное устройство 40 обработки данных получает питание от распределения переменного тока в устройство 40 и используется как умная розетка для наблюдения, управления, слежением и/или распределением мощности.
В одной реализации устройство 40 используется в качестве маршрутизатора. В другой реализации устройство 40 наблюдает распределение электричества и отсоединяет нагрузку, когда это необходимо, для обеспечения безопасности. Например, устройство 40 способно обнаружить, что индивидуум вошел в контакт с электрической сетью и автоматически отключить питание. В некоторых реализациях, технологии, такие как технологии X10 или другие технологии, используются для соединения различных устройств, например, такого как показано на Фиг.13 по медным проводным линиям. В дальнейших реализациях множество устройств обменивается данными по, например, протоколу TCP/IP или другому протоколу.
Соответственно, реализации настоящего изобретения охватывают использование модульного устройства обработки данных в связи с земным продуктом для получения “умного” продукта. Хотя список не является полным, другие примеры продуктов, систем и устройств с модульным устройством обработки данных могут быть использованы для получения “умного” продукта, системы и/или устройства, включая системы отопления, системы охлаждения, системы водоснабжения, системы электропитания, мебель, приборы, оборудование, одежда, буровые установки, инструменты, здания, искусственный интеллект, транспортные средства, датчики, видео и/или аудиосистемы, системы безопасности и множество других продуктов, систем и/или устройств.
Например, модульное устройство обработки данных, связанное с печью, может быть использовано для управления эффективностью печной системы. Если эффективность уменьшается, модульное устройство обработки данных может быть запрограммировано для предоставления владельцу здания, например, посредством коммуникаций по электронной почте, запроса на замену фильтров, сервисное обслуживание системы, идентификации поломки и тому подобное. Аналогичным образом модульное устройство обработки данных может быть использовано в связи с системой водоснабжения для наблюдения за чистотой воды и обеспечении предупреждения в случае загрязнения. Аналогичным образом, приспособления (например, стиральные машины, сушильные машины, посудомоечные машины, холодильники и тому подобное) могут быть сделаны умными, когда используются совместно с модульным устройством обработки данных. Более того, модульное устройство обработки данных может быть использовано совместно с системами, обеспечивающими безопасность, включая обнаружение угарного газа, сибирской язвы или других биологических агентов, радиоактивных агентов или других агентов или опасных веществ. Более того, из-за стабильности и многосторонности устройств обработки данных, модульные устройства обработки данных могут быть помещены в места, которые ранее были недоступными. В, по меньшей мере, некоторых реализациях использование модульного устройства обработки данных с суперструктурой позволяет модульному устройству обработки данных взять качества суперструктуры.
На Фиг.14 представлена характерная реализация, в которой один или более динамических модульных устройства обработки данных используются в другом характерном устройстве, а именно, отслеживающем напряжение прерывателе. В иллюстративной реализации модульные устройства 40 обработки данных используются для трансформации стандартного прерывателя 114 в отслеживающий напряжение прерыватель 110. Двойные избыточные модульные устройства 40 обработки данных функционируют для управления прерывателем 110 и всем домом. К каждому модульному устройству 40 обработки данных присоединена соединительная панель 112 мониторинга напряжения, которая присоединена с использованием скользящих приемников. Хотя иллюстративная реализация содержит два модульных устройства обработки данных, специалисту в данной области техники должно быть понятно, что другие реализации охватывают использование одного модульного устройства обработки данных или более чем двух модульных устройств обработки данных.
На Фиг.15 представлено другое характерное устройство, в котором одно или более динамических модульных устройств обработки данных применяется в характерном устройстве. На Фиг.15 модульное устройство 40 обработки данных используется в несущей конфигурации сборки 120 стола, которая использует раздвижной монтаж 122 ножек, который связывает с соответствующими приемниками ползунков на соответствующем модульном устройстве 40 обработки данных для создания ножек сборки 120 стола. В иллюстративной конфигурации множество модульных устройств 40 обработки данных связаны вместе физически и электронно, и составляют основную физическую структуру сборки 120. Также показан раздвижной DVD привод и модуль 124 жестких дисков, которые позволяют сборке 120 стола выполнять определенные операции. Также, проиллюстрировано множество модульных устройств обработки данных, несущих соединительный элемент 126.
Эти иллюстрации являются только примерами возможностей одного или более модульных устройств обработки данных в соответствии с реализациями настоящего изобретения. В самом деле, специалисту в данной области должно быть понятно, что реализации настоящего изобретения охватывают много других конфигураций, окружений и структур, все из которых попадают в пределы объема реализаций настоящего изобретения.
Как представлено здесь, динамическая и модульная природа устройств обработки данных допускает, что одно или более устройство обработки данных может быть использовано со всеми типами устройств. На Фиг.16 представлен серверный массив 130, который сконфигурирован для серверной кластеризации и включает в себя множество динамических модульных устройств 132 обработки данных, каждое из которых имеет непериферийный корпус, который закреплен в стойке 134, и доступен для использования в обработке данных. В иллюстративной реализации стойка 13 включает в себя выдвижные ящики, которые получают модульные устройства 132 обработки данных. Устройство 130 дополнительно включает в себя запоминающее устройство 136 для хранения данных.
Хотя Фиг.16 иллюстрирует стойку, которая включает в себя выдвижные ящики, сконфигурированные для получения индивидуальных устройств/кубов обработки данных, другие реализации настоящего изобретения включают в себя использование монтажных скоб, которые могут быть использованы в связи с устройством/кубом обработки данных для монтажа устройства/куба в стойку. Иллюстративная реализация дополнительно включает в себя систему охлаждения (не показана), которая позволяет осуществлять температурный контроль внутри стойки 134 и использовать вентиляторы 138.
Модульная природа устройства/куба обработки данных проиллюстрирована с помощью использования устройств обработки данных в различных характерных проиллюстрированных устройствах. Реализации настоящего изобретения охватывают разветвление устройств/кубов в проводном и/или оптоволоконном дизайне каналов, объединение кубов, как последовательное так и параллельное назначение индивидуальных кубов для выполнения определенной задачи обработки, и другие конфигурации обработки данных и/или объединений.
Каждое устройство/куб включает в себя полностью переконфигурируемую системную плату. В одной реализации один или более процессоров расположены на соединительной панели системной платы и модули RAM расположены на плоскостях, пересекающих соединительную панель системной платы. В следующей реализации модули связаны непосредственно с системной платой, а не используют традиционные разъемы. Цикл часов в устройстве оптимизирован по RAM модулям.
Хотя один способ для улучшения мощности по обработке данных устройства включает в себя добавление одного или более дополнительных устройств/кубов обработки данных в устройство, другой способ включает в себя замену панелей системной платы определенного устройства/куба панелью, имеющей модернизированные модули. Аналогичным образом интерфейсы, имеющиеся на каждом устройстве/кубе, могут быть обновлены при помощи выборочной замены панели устройства/куба. Более того, 32 битная шина может быть модернизирована до 64 битной шины, может быть обеспечена новая функциональность, могут быть обеспечены новые порты, подсистема модуля электропитания может быть обеспечена/модернизирована, и другие подобные модификации модернизации и улучшения могут быть сделаны в отдельном устройстве/кубе обработки данных при помощи замены одной или более панелей.
Таким образом, как здесь обсуждалось, реализации настоящего изобретения охватывают системы и способы для обеспечения динамически модульного устройства обработки данных. В частности, реализации настоящего изобретения относятся к обеспечению модульного устройства обработки данных, сконфигурированного для выборочного взаимодействия с одним или более дополнительными устройствами в устройстве. В, по меньшей мере, некоторых реализациях модульное устройство обработки данных включает в себя непериферийный корпус, процесс охлаждения (например, процесс охлаждения с помощью термодинамической конвекции, процесс охлаждения с принудительной циркуляцией воздуха, и/или процесс жидкостного охлаждения), оптимизированную конфигурацию многослойной монтажной платы, оптимизированные отношения обработки и памяти, и динамическую соединительную панель, которая обеспечивает повышенную гибкость и поддержку периферийных устройств и приложений.
Настоящее изобретение может быть реализовано в других особых формах без выхода за пределы его сущности или необходимых характеристик. Описанные реализации должны рассматриваться во всех аспектах как иллюстративные и не ограничивающие. Объем изобретения, таким образом, определяется нижеследующей формулой изобретения, а не предшествующим описанием. Все изменения, которые попадают в пределы значений и диапазона эквивалентности пунктов формулы, попадают в ее объем.
Формула изобретения
1. Динамически настраиваемое модульное устройство обработки данных, содержащее: первый непериферийный корпус; первый процессор, связанный с первой оптимизированной печатной платой, которая включает в себя первую шинную систему, при этом первая оптимизированная печатная плата является трехплатной конфигурацией электрической монтажной платы, съемно помещенной внутрь первого непериферийного корпуса; и первую заменяемую соединительную панель, связанную с первым непериферийным корпусом, при этом первая заменяемая соединительная панель обеспечивает повышенную гибкость и поддержку периферийных устройств и приложений, и при этом указанное модульное устройство обработки данных сконфигурировано для обеспечения эксплуатационной гибкости посредством селективной связи с одним или более динамических модульных устройств обработки данных в устройстве, где все динамические модульные устройства обработки данных соединены между собой на уровне системной шины.
2. Устройство обработки данных по п.1, в котором первая заменяемая соединительная панель выборочно обменивается данными с другой заменяемой соединительной панелью, и при этом логическая схема первой заменяемой соединительной панели отличается от другой заменяемой соединительной панели.
3. Устройство обработки данных по п.1, в котором динамически настраиваемое модульное устройство обработки данных является портативным компьютерным устройством.
4. Устройство обработки данных по п.3, в котором портативное компьютерное устройство выборочно соединено с, по меньшей мере, одним из (i) периферийным устройством ввода и (ii) периферийным устройством вывода.
5. Устройство обработки данных по п.4, в котором периферийное устройство ввода и периферийное устройство вывода не включают в себя мощности по обработке данных, и при этом периферийное устройство ввода и периферийное устройство вывода в комбинации с устройством обработки данных образуют портативное компьютерное устройство.
6. Устройство обработки данных по п.1, в котором первая заменяемая соединительная панель включает в себя одну или более систем манипулирования данными, и при этом первая заменяемая соединительная панель связана с первой оптимизированной печатной платой.
7. Устройство обработки данных по п.6, в котором первая оптимизированная печатная плата включает в себя множество сегментов, при этом множество сегментов соединено между собой.
8. Устройство обработки данных по п.7, в котором множество сегментов соединено между собой в многослойной конфигурации печатной платы.
9. Устройство обработки данных по п.1, в котором одно или более периферийных устройств, внешних по отношению к первому непериферийному корпусу, выборочно соединены с первой шинной системой.
10. Устройство обработки данных по п.9, в котором одно или более периферийных устройств, внешних по отношению к первому непериферийному корпусу, содержат, по меньшей мере, одно из: (i) запоминающее устройство большой емкости; (ii) периферийное устройство ввода; (iii) периферийное устройство вывода; (iv) сетевой интерфейс; (v) второе динамическое модульное устройство обработки данных; (vi) соединение ввода; (vii) соединение вывода; и (viii) устройство.
11. Устройство обработки данных по п.10, в котором второе динамическое модульное устройство обработки данных содержит: второй непериферийный корпус; второй процессор, связанный со второй оптимизированной печатной платой, которая включает в себя вторую шинную систему, где вторая оптимизированная печатная плата соединена со вторым непериферийным корпусом; и вторую заменяемую соединительную панель, связанную со вторым непериферийным корпусом, при этом вторая заменяемая соединительная панель обеспечивает повышенную гибкость и поддержку периферийных устройств и приложений.
12. Устройство обработки данных по п.11, в котором первая шинная система и вторая шинная система непосредственно соединены для образования единой шинной системы для устройства, имеющего динамические модульные устройства обработки данных.
13. Устройство обработки данных по п.12, в котором комбинация динамических модульных устройств обработки данных обеспечивает увеличение мощности обработки данных для устройства.
14. Устройство обработки данных по п.1, которое также содержит память, связанную с первой шинной системой и находящуюся внутри непериферийного корпуса.
15. Устройство обработки данных по п.1, в котором первая заменяемая соединительная панель включает в себя одну или более систем манипулирования данными, и при этом модификация одной или более систем манипулирования данными видоизменяет применение динамического модульного устройства обработки данных.
16. Устройство обработки данных по п.1, которое также содержит систему охлаждения, при этом система охлаждения содержит процесс термодинамического охлаждения.
17. Модульная система обработки данных, содержащая: первый непериферийный корпус, имеющий первое, второе и третье основания стен, и первую и вторую концевые пластины, съемно соединенные с первым непериферийным корпусом и содержащие множество вентиляционных отверстий; первый процессор, связанный с первой оптимизированной печатной платой, которая включает в себя первую шинную систему, при этом первая оптимизированная печатная плата связана с первым непериферийным корпусом, при этом первая оптимизированная печатная плата является трехплатной конфигурацией электрической монтажной платы съемно помещенной внутрь первого непериферийного корпуса; и первую заменяемую соединительную панель, соединенную с первым непериферийным корпусом, при этом первая заменяемая соединительная панель обеспечивает повышенную гибкость и поддержку периферийных устройств и приложений; второй непериферийный корпус; второй процессор, связанный со второй оптимизированной печатной платой, которая включает в себя вторую шинную систему, при этом вторая оптимизированная печатная плата связана со вторым непериферийным корпусом; и вторую заменяемую соединительную панель, соединенную со вторым непериферийным корпусом, при этом вторая заменяемая соединительная панель обеспечивает повышенную гибкость и поддержку периферийных устройств и приложений; при этом первая шинная система и вторая шинная система непосредственно соединены для образования единой шинной системы для устройства, имеющего динамически настраиваемые модульные устройства обработки данных.
18. Модульная система обработки данных по п.17, в которой одно или более периферийных устройств, внешних по отношению к первому непериферийному корпусу, выборочно соединены с первой шинной системой для формирования устройства.
19. Модульная система обработки данных по п.18, в которой одно или более периферийных устройств, внешних по отношению к первому непериферийному корпусу, содержат, по меньшей мере, одно из: (i) запоминающее устройство большой емкости; (ii) периферийное устройство ввода; (iii) периферийное устройство вывода; (iv) сетевой интерфейс; (v) второе динамическое модульное устройство обработки данных; (vi) соединение ввода; (vii) соединение вывода; и (viii) устройство.
20. Модульная система обработки данных по п.19, в которой второе динамическое модульное устройство обработки данных содержит: второй непериферийный корпус; второй процессор, связанный со второй оптимизированной печатной платой, которая включает в себя вторую шинную систему, где вторая оптимизированная печатная плата соединена со вторым непериферийным корпусом; и вторую заменяемую соединительную панель, связанную со вторым непериферийным корпусом, при этом вторая заменяемая соединительная панель обеспечивает повышенную гибкость и поддержку периферийных устройств и приложений.
21. Модульная система обработки данных по п.20, в которой первая шинная система и вторая шинная система непосредственно соединены для образования единой шинной системы.
РИСУНКИ
|
|