|
|
(21), (22) Заявка: 2006111607/28, 11.04.2006
(24) Дата начала отсчета срока действия патента:
02.11.2001
(30) Конвенционный приоритет:
03.11.2000 SE 0004034-5 05.01.2001 US 60/256,974
(43) Дата публикации заявки: 20.10.2007
(46) Опубликовано: 10.04.2010
(56) Список документов, цитированных в отчете о поиске:
US 5617859 A, 08.04.1997. WO 9858272 A1, 23.12.1998. US 6125654 A, 03.10.2000. US 5258710 A, 02.11.1993. RU 98119688 A, 20.09.2000.
(62) Номер и дата подачи первоначальной заявки, из которой данная заявка выделена: 2003112008 02.11.2001
Адрес для переписки:
191036, Санкт-Петербург, а/я 24, “НЕВИНПАТ”, пат.пов. А.В.Поликарпову
|
(72) Автор(ы):
АРДЕНКЬЕР-ЛАРСЕН Ян Хенрик (SE), АКСЕЛЬССОН Оскар Х. Э. (SE), ГОЛЬМАН Клаэс Каппель (SE), ХАНССОН Георг (SE), ЙОХАННЕССОН Х. (SE), СЕРВИН Рольф (SE), ТАНИНГ Миккель (SE), ХАНССОН Леннарт (SE)
(73) Патентообладатель(и):
Амершем Хелт АС (NO)
|
(54) УСТРОЙСТВО И СПОСОБ РАСТВОРЕНИЯ ТВЕРДОГО ГИПЕРПОЛЯРИЗОВАННОГО МАТЕРИАЛА ДЛЯ ЯМР-АНАЛИЗА
(57) Реферат:
Использование: для растворения твердого гиперполяризованного материала, используемого при ЯМР-анализе. Сущность: заключается в том, что устройство для растворения твердого поляризованного материала содержит криостат, выполненный с возможностью помещения в него контейнера для удержания образца твердого поляризуемого материала, средства динамической поляризации ядер, содержащие средства создания магнитного поля, СВЧ генератор, волновод и СВЧ камеру, выполненную с возможностью размещения внутри указанного криостата для поляризации ядерных спинов твердого поляризуемого материала в указанном контейнере, при этом оно дополнительно содержит средства подачи растворителя в указанный контейнер для растворения твердого поляризованного материала в то время, когда указанный контейнер находится внутри указанного криостата в сильном магнитном поле указанных средств создания магнитного поля. Технический результат: обеспечение возможности перевода твердого поляризованного материала в раствор при минимальной потере поляризации. 2 н. и 10 з.п. ф-лы, 7 ил.
Область техники
Настоящее изобретение относится к устройствам и способам, предназначенным для растворения твердых поляризованных материалов при сохранении высокого уровня поляризации.
Уровень техники
Настоящее изобретение касается анализа методом ядерного магнитного резонанса (ЯМР-анализа), в частности ЯМР-визуализации и аналитической ЯМР-спектроскопии высокого разрешения. ЯМР-визуализация представляет собой диагностическую методику, которая стала особенно популярной у медиков, поскольку является неразрушающей и не подвергает пациента воздействию потенциально вредного, например рентгеновского, излучения. Аналитическая ЯМР-спектроскопия высокого разрешения обычно используется для определения молекулярной структуры.
ЯМР-визуализация и ЯМР-спектроскопия характеризуются невысокой чувствительностью вследствие очень низкой поляризации ядерных спинов в обычных материалах. Существует несколько способов увеличения поляризации ядерных спинов в твердой фазе. Эти способы, известные как способы гиперполяризации, обеспечивают повышение чувствительности. Однако при применении ЯМР-сигнала для визуализации in vivo с медицинскими целями, перед введением в исследуемый объект поляризованный материал должен быть растворен или переведен в жидкую фазу. Для аналитической ЯМР-спектроскопии in vitro также часто предпочтительнее использовать поляризованный твердый материал в виде раствора. Проблема состоит в том, что поляризованный твердый материал необходимо растворить или перевести в жидкую фазу и перенести в ЯМР-магнит с минимальными потерями поляризации. В международной заявке WO 99/35508 описывается способ растворения твердого поляризованного материала. В этом способе поляризованный материал вручную вынимают из криостата и приблизительно в течение 1 секунды растворяют в тяжелой воде при 40°С в магнитном поле 0,4 Тл. Этот способ увеличивает поляризацию до 21 раза по сравнению с другими способами получения растворов, содержащих поляризованный материал. Однако, поскольку в этом способе образец перемещают вручную, трудно получить воспроизводимые результаты. Целью изобретения является разработка способов и устройств, позволяющих усовершенствовать известный способ получения раствора, содержащего поляризованный материал.
Сущность изобретения
Согласно настоящему изобретению, по меньшей мере некоторые из проблем, присущих известному способу, решаются с помощью устройства, признаки которого приведены в отличительной части п.1 или п.12 формулы изобретения, и способов, признаки которых приведены в отличительных частях п.11 или п.15 формулы изобретения. В частности, изобретение предлагает способ и средства преобразования поляризованного твердого материала из поляризующего блока в раствор или жидкую фазу с минимальной потерей поляризации. Описаны устройства и способы для приготовления растворов гиперполяризованных материалов, например контрастных агентов или аналитических образцов.
Дополнительно усовершенствованные устройства и способы имеют признаки, приведенные в зависимых пунктах формулы изобретения.
В одном из вариантов осуществления изобретения образец поляризуют в первом устройстве и растворяют во втором устройстве, связанном с первым устройством. В предпочтительном варианте осуществления изобретения поляризующее устройство и растворяющее устройство объединены в единое устройство, так что время между поляризацией и растворением сведено к минимуму и потери поляризации образца минимальны. В особо предпочтительном варианте осуществления изобретения поляризующий блок и камера для растворения объединены с ЯМР-спектрометром и/или устройством для ЯМР-визуализации, так что время между растворением и анализом сведено к минимуму и потери поляризации образца минимальны. Согласно настоящему изобретению поляризация может быть обеспечена при помощи поляризующего агента, например состава, включающего парамагнитные органические свободные радикалы. ЯМР-данные, полученные при помощи устройств и способов согласно настоящему изобретению, могут быть данными ЯМР-визуализации и/или данными ЯМР-спектроскопии.
Краткое описание чертежей
На фиг.1 схематично показан вид сбоку для первого варианта выполнения устройства согласно настоящему изобретению;
на фиг.2 схематично показан вид сбоку для второго варианта выполнения устройства согласно настоящему изобретению;
на фиг.3 схематично показан вид сбоку для третьего варианта выполнения устройства согласно настоящему изобретению, и
на фиг.4 схематично показано сечение устройства для ввода горячего растворителя согласно настоящему изобретению;
на фиг.5 показан вариант выполнения контейнера для образца согласно настоящему изобретению;
на фиг.6 схематично показан боковой вид устройства для получения гиперполяризованных материалов путем динамической поляризации ядер, это устройство соединено с ЯМР-спектрометром; и
на фиг.7 схематично показан вариант выполнения схемы для измерения магнитного резонанса.
Подробное описание примеров осуществления изобретения
В способах и устройствах согласно настоящему изобретению твердый образец из поляризуемого материала может быть поляризован, когда он еще находится в твердой фазе, любым известным способом, например прямой поляризацией, динамической поляризацией ядер или методом “замораживания” спинов, когда образец находится при низкой температуре (например, ниже 100 К) в сильном магнитном поле (например, 1-25 Тл). После того как твердый материал поляризован, из него получают раствор с минимальной потерей поляризации. В нижеследующем описании выражение “блок для растворенного поляризованного материала” означает следующее: контейнер, в котором твердый поляризованный материал может быть приведен в контакт с растворителем, количество которого достаточно для растворения твердого поляризованного материала, и/или контейнер, в котором может храниться растворенный поляризованный материал. Выражение “растворенный” означает, что молекулы материала, который должен быть растворен, однородно распределены в растворителе.
В первом варианте осуществления изобретения растворение происходит в блоке для растворенного поляризованного материала, который физически отделен от поляризующего устройства, при этом блок для растворенного поляризованного материала также физически отделен от анализирующего устройства, поэтому поляризованный материал необходимо транспортировать из одного устройства в другое. Обычно это необходимо проделывать быстро, воспроизводимо и в особых условиях, подробно описанных ниже в связи с различными примерами.
Во втором варианте осуществления изобретения растворение происходит в том же самом аппарате, который содержит поляризующее устройство.
В третьем варианте осуществления изобретения поляризованный материал растворяют и используют по назначению, когда он находится в комбинированном устройстве, предназначенном для поляризации, растворения и ЯМР-анализа.
В четвертом варианте осуществления изобретения материал поляризуют в поляризующем устройстве, расположенном рядом с ЯМР-спектрометром, поляризованный материал растворяют в поляризующем устройстве, а затем быстро переносят в область анализа ЯМР-спектрометра.
Преимущество изобретения состоит в том, что поляризованный твердый материал превращают в раствор при минимальной потере поляризации и воспроизводимым образом. Это чрезвычайно важно при использовании методов гиперполяризации твердых материалов для визуализации медицинских объектов и для проведения лабораторных аналитических исследований путем ЯМР-спектроскопии высокого разрешения. Для растворов линии ЯМР являются узкими. Это значительно улучшает отношение сигнал/шум и спектральное разрешение, а также дает технические преимущества, поскольку образец не нужно вращать, как в случае использования твердых образцов.
Для большинства твердых материалов скорость релаксации (потеря поляризации в случае гиперполяризации) быстро растет с уменьшением величины поля. Поэтому для таких поляризованных материалов предпочтительно, чтобы при обработке они находились в сильном магнитном поле (например, свыше 0,1 Тл). Известны и другие причины потери поляризации, например внезапные изменения ориентации магнитного поля, сильные градиенты магнитного поля или наличие радиочастотных электромагнитных полей, поэтому необходимо устранить эти факторы, насколько возможно. Растворение поляризованного материала может быть активировано несколькими способами. Если возможно, твердый материал должен иметь вид мелкодисперсного порошка, что обеспечивает быстрое диспергирование и хороший контакт твердых частиц с растворителем. Твердые частицы (или шарики) и растворитель могут быть энергично перемешаны путем взбалтывания, перемешивания, встряхивания, барботирования, дробления, разрушения ультразвуком, высокочастотного нагрева, лазерного облучения или любым другим способом, который обеспечивает перемешивание и, возможно, нагревание. Температура растворителя может быть оптимизирована для конкретного материала, чтобы обеспечить скорейшее растворение без излишней релаксации. 3ависимость скорости релаксации от температуры и поля уникальна для каждого твердого материала и системы растворитель/растворяемое вещество. Поэтому предпочтительно, чтобы температура растворителя была оптимизирована с целью достижения минимальной релаксации для фактического растворяемого материала. Обычно, хотя и не всегда, магнитное поле должно быть как можно более сильным. Это справедливо и для жидкого образца во время процесса растворения. Минимальная величина T1 при этом процессе в общем случае растет с ростом магнитного поля.
В предпочтительном варианте осуществления изобретения устройство для растворения твердого поляризованного материала входит в систему динамической поляризации ядер. Эта система включает магнит с индукцией магнитного поля 0,1-25 Тл или более, который помещен в криостат с малыми потерями для достижения оптимального времени криогенного удержания. Для магнитных полей свыше приблизительно 2 Тл магнит может быть сверхпроводящим. Для более слабых полей предпочтительно использовать более простые магниты. Особенно предпочтительные системы динамической поляризации ядер содержат сверхпроводящий магнит, рассчитанный на создание поля с индукцией 2-25 Тл. Для достижения оптимального времени криогенного удержания магнит помещают в криостат с очень малыми потерями. Требуемая однородность магнитного поля зависит от образца, но обычно она должна составлять ±0,2 мТл по всему объему образца. Этого можно достичь, даже для больших образцов, с помощью магнитных шиммов. Соответственно, стабильность поля в процессе поляризации должна быть лучше, чем критерий его однородности, то есть дрейф поля не должен превышать неоднородности поля. В магните имеется низкотемпературное пространство для охлаждения образца. Криостат сверхпроводящего магнита предпочтительно имеет прокачиваемую гелиевую ванну или, по меньшей мере, низкотемпературное пространство в канале магнита. Гелиевая ванна может находиться в трубе, которая термически изолирована (например, с помощью вакуума) от резервуара для гелия, предназначенного для охлаждения магнита, но связана с этим резервуаром капиллярной трубкой, что позволяет заполнять ванну из резервуара для магнита. Низкотемпературное пространство может быть простым цилиндром (выполненным из тонкостенной нержавеющей стали, или меди, или другого немагнитного материала, или из комбинаций этих материалов) с закрытым нижним торцом. Для получения минимальных возможных температур при минимальных расходах на охлаждение, низкотемпературное пространство предпочтительно располагают в вакууме внутри емкости с гелием сверхпроводящего магнита, а низкотемпературный цилиндр предпочтительно устанавливают в углублении в соответствующих местах, обеспечивая его тепловую привязку, например, к экрану, охлаждаемому испаряющимся гелием, жидким азотом и т.п. Низкотемпературный цилиндр может снабжаться гелием посредством капиллярной трубки, проходящей через его основание. Поток гелия можно регулировать с помощью игольчатого клапана, управляемого внешним устройством, вручную или автоматически посредством компьютерного устройства и т.п. Потоком гелия в гелиевую ванну можно управлять с помощью игольчатого клапана с электроприводом. Уровень жидкости можно контролировать, например, с помощью измерителя Аллена Бредли с угольным сопротивлением, и с помощью игольчатого клапана, управляемого вручную или автоматически, можно поддерживать постоянный уровень жидкости. Для достижения более низких температур, порядка 1 К (4Hе), ванну можно прокачивать, а ее температуру можно контролировать путем измерения упругости паров гелия, например, с помощью измерительного преобразователя абсолютной емкости или элемента Пирани. При охлаждении газом результаты измерения температуры можно использовать для управления работой игольчатого клапана. Криогенное вещество, например гелий или азот, можно также подавать из внешнего резервуара. Для охлаждения как магнита, так и низкотемпературного пространства, можно предусмотреть и холодильники замкнутого цикла (без криогенного вещества). Поляризацию образца производят, облучая его СВЧ излучением подходящей частоты. Для облучения образца используется СВЧ оборудование. Это СВЧ оборудование может быть сконструировано множеством способов. На более низких частотах (приблизительно менее 200 ГГц) для подвода излучения к пространству, где расположен образец, можно использовать волновод. На более высоких частотах можно использовать квазиоптические методы. Пространство для размещения образца предпочтительно формируют как резонансную СВЧ структуру. СВЧ структуру предпочтительно выполняют так, чтобы обеспечить легкую установку и замену образцов и их эффективное охлаждение. После того как образец поляризован, его растворяют с помощью устройства и способа, предложенных согласно настоящему изобретению, как описано ниже.
Пример первого варианта осуществления изобретения показан на фиг.1. На этом чертеже показано криостатное устройство 1 для поляризации твердого материала, которое содержит средства растворения твердого поляризованного материала, выполненные согласно первому варианту осуществления изобретения. Устройство 1 (показанное штриховой линией) включает криостат 2, содержащий средства 3 поляризации, например СВЧ камеру 3а, соединенную с источником 3с СВЧ излучения посредством волновода 3b, в центральном канале 6, окруженном средствами создания магнитного поля, например сверхпроводящим магнитом 5. Криостаты и средства поляризации, предназначенные для поляризации твердого материала, хорошо известны, и поэтому их конструкция не будет описываться подробно. Канал 6 идет вертикально вниз по меньшей мере до уровня области Р около сверхпроводящего магнита 5, где индукция магнитного поля достаточна для поляризации материала, например составляет от 1 до 25 Тл. Центральный канал 6 является герметичным и может быть откачан до низкого давления, например порядка 1 мбар и менее. Средство для ввода образца, например съемная трубка 7 для транспортировки образца, может вводиться в канал 6, эту трубку 7 можно вставить в верхнюю часть канала и опустить вниз до СВЧ камеры 3a в области Р. Область Р охлаждается жидким гелием до достаточно низкой температуры, позволяющей осуществить поляризацию материала, например до температуры порядка 0,1-100 К. Чтобы в канале 6 сохранялся частичный вакуум, трубку 7 можно герметизировать на верхнем конце любым подходящим способом. Контейнер для образца, например чашка 9, может быть вставлен, с возможностью последующего снятия, в нижний конец трубки 7 для транспортировки образца. Эта чашка 9 предназначена для размещения в ней любого материала, введенного в трубку 7. Чашка 9 предпочтительно выполнена из легкого материала с низкой удельной теплоемкостью, такого как пенопласт, например из полистирола, чтобы теплоемкость чашки 9 была как можно меньше. Герметичная входная трубка 10 для подачи гелия (для упрощения чертежа показана штриховой линией) проходит от верха канала 6 до дна чашки 9.
Кроме того, устройство 1 включает средства извлечения материала из чашки 9 для образца. Эти средства извлечения материала могут включать выводную трубку 11, которая начинается на небольшом расстоянии от дна чашки 9 для образца и проходит через клапан 14 к блоку 15 для растворенного поляризованного материала. Клапан 14 может открываться вручную или, предпочтительно, под управлением компьютера для соединения выводной трубки 11 с блоком 15 для растворенного поляризованного материала и может закрываться, разрывая такое соединение. Блок 15 для растворенного поляризованного материала имеет полый корпус 16 и может содержать средства ускорения растворения твердых частиц, например средства 17 встряхивания, взбалтывания или перемешивания в виде электрического лопастного смесителя с лопатками 19. Предпочтительно, чтобы все поверхности, с которыми может войти в контакт поляризованный материал, имели покрытие, предотвращающее контакт поляризованных молекул с парамагнитными металлами. Предпочтительно, чтобы блок 15 для растворенного поляризованного материала был окружен средствами создания магнитного поля хранения, например постоянным магнитом 20 или электромагнитом. Выражение “магнитное поле хранения” означает, что величина поля в блоке 15 для растворенного материала должна быть достаточна высока для сохранения материала гиперполяризованным в течение по меньшей мере нескольких секунд, а предпочтительно – нескольких минут. Блок 15 для растворенного поляризованного материала может быть по меньшей мере частично заполнен растворителем 21, подходящим для растворения этого материала. Источник V вакуума может соединяться с блоком 15 для растворенного поляризованного материала с помощью клапана 23, управление которым предпочтительно осуществляется с помощью компьютера 28. На дне блока для растворенного материала имеется выпуск 25 с клапаном 27, предпочтительно управляемым компьютером и регулирующим извлечение содержимого из блока 15 для растворенного поляризованного материала. Использование компьютерно-управляемых или иных автоматизированных клапанов предпочтительно, поскольку позволяет синхронизировать время открытия и закрытия клапанов с высокой точностью и воспроизводимостью. Естественно, можно использовать и оператора, который инициирует процесс, например, нажимая пусковую кнопку или давая команду запуска компьютеру.
Пример способа, где первый вариант осуществления изобретения используется для получения раствора материала, который был поляризован, когда находился в твердом состоянии, включает следующие шаги:
твердый материал в виде порошка, зерен или шариков вводят в чашку 9 для образца, расположенную у нижней части трубки 7 для транспортировки образца;
трубку 7 для транспортировки образца вводят в канал 6 так, чтобы чашка 9 для образца была расположена в магнитном поле необходимой величины, канал 6 герметизируют и откачивают до его рабочего давления;
материал, все еще находящийся в твердом состоянии, гиперполяризуют;
блок 15 для растворенного поляризованного материала частично заполняют растворителем;
давление в канале 6 снова доводят до атмосферного, при этом выше верхнего конца трубки 10 для ввода гелия его разгерметизируют;
если чашка 9 для образца находится под поверхностью жидкого гелия в криостате, то трубку 7 для удерживания образца поднимают до тех пор, пока она не окажется выше поверхности гелия;
клапан 27 на выпуске 25 закрывают, а клапан 23, ведущий к источнику вакуума, открывают, так что давление в корпусе 16 понижается. Клапан 23 закрывают, клапан 14 открывают, и пониженное давление в корпусе 16 приводит к эффекту всасывания на конце трубки 11 в чашке 9 для образца и к перетеканию потока гелия из верхнего конца трубки 10 для ввода гелия через трубку 11 в блок 15 для растворенного материала. При достаточно сильном всасывании этот поток газообразного гелия переносит гиперполяризованный материал через трубку 11 в корпус 16 блока 15 для растворенного поляризованного материала;
когда твердый материал всасывается в растворитель, для ускорения растворения приводятся в действие средства 17 встряхивания, взбалтывания или перемешивания;
после того как материал попадает в корпус 16, клапан 23 закрывают;
после того как материал растворится, раствор поляризованного материала может быть подан на выход через выпуск 25 путем открывания клапана 27.
Вышеописанный вариант осуществления изобретения может быть модифицирован путем использования других средств извлечения твердотельного гиперполяризованного материала из поляризующего блока. Твердый материал может быть извлечен из поляризующего блока, например, посредством импульса газа под давлением (например, гелия, если образец находится в гелиевой ванне). Газ может поступать в трубку для ввода гелия через трубку, идущую из баллона со сжатым газом. В другом варианте этот газ может быть получен путем нагрева жидкого гелия в ванне, например, с помощью резистивного нагревателя и, таким образом, испарения части гелия. В еще одном варианте твердый материал можно транспортировать из поляризующего блока в блок для растворенного поляризованного материала с помощью механических средств. Например, вместо выводной трубки 11, трубка 7 для транспортировки образца может содержать перемещаемый контейнер для транспортировки образца или челнок для размещения в нем поляризованного материала. Этот перемещаемый контейнер можно поднимать из поляризационного блока в блок для растворенного поляризованного материала и опускать обратно, например, соединив его с тросом или стержнем, связанным с исполнительным механизмом, таким как двигатель, груз, пружина и т.п. Как только этот перемещаемый контейнер окажется в блоке для растворенного поляризованного материала, его можно опрокинуть или переложить твердый материал в растворитель каким-либо другим способом. Кроме того, контейнер для материала можно также перемещать пружиной, которая растягивается, когда этот контейнер опускают в поляризационный блок. Когда требуется извлечь контейнер из поляризационного блока, натяжение пружины используют для быстрого вытягивания контейнера из поляризационного блока; или же в держатель образца можно вставить виток из высокотемпературного сверхпроводника и индуцировать ток этом витке с помощью охватывающей его катушки. Ток можно подать в таком направлении, чтобы он создал магнитное поле, противодействующее основному магнитному полю, что обеспечит выход держателя образца из трубки для приема образца.
Для уменьшения потерь поляризации растворенного материала средства транспортировки должны быть выполнены так, чтобы время переноса поляризованного материала из области высокого магнитного поля в криостате в область магнитного поля в блоке для растворенного материала или в другом контейнере или устройстве было меньше, чем (спин-решеточное) время T1 релаксации материала. Предпочтительно, чтобы это время переноса было настолько малым, чтобы потери поляризации составляли менее 99%, более предпочтительно – менее 90%, а наиболее предпочтительно – менее 10%. Время переноса можно уменьшить, уменьшая давление в блоке для растворенного поляризованного материала, регулируя скорость механических средств транспортировки и т.д. В процессе транспортировки поляризованного материала из поляризующего блока окружающее магнитное поле уменьшается по мере удаления материала от сверхпроводящего магнита. Поляризация некоторых материалов в слабом магнитном поле релаксирует всего за несколько секунд или даже быстрее. В этих случаях в процессе транспортировки можно по меньшей мере временно создать сильное локальное магнитное поле с помощью постоянного магнита, сверхпроводящего или резистивного контура, расположенного вблизи от материала. Кроме того, расстояние и время переноса следует сделать как можно меньше. Для достижения наилучших результатов поляризующий блок и блок для растворенного поляризованного материала должны предпочтительно находиться в сильном магнитном поле, например порядка 0,1-25 Тл. Как понятно специалистам в данной области техники, фактическая величина магнитного поля, необходимая в любом конкретном случае, зависит от типа твердого материала и используемого способа его растворения. Для некоторых молекул скорость релаксации в растворе зависит от температуры, и можно выбрать оптимальную температуру раствора для сохранения поляризации в течение наибольшего времени. Обычно, но не всегда, магнитное поле в процессе растворения должно быть настолько сильным, насколько это возможно. Минимальная величина T1 в процессе растворения обычно увеличивается с ростом магнитного поля. Кроме того, время релаксации зависит от магнитного поля, и соответствующее магнитное поле можно прикладывать во время транспортировки раствора (например, в процессе переноса раствора из средств поляризации в магнит, используемый для ЯМР-визуализации).
Для сохранения твердого гиперполяризованного материала максимально охлажденным в процессе его транспортировки в блок для растворенного поляризованного материала предпочтительно использовать для изготовления трубок материалы, которые имеют низкую удельную теплопроводность и низкую удельную теплоемкость, например тефлон , полиуретан, силикон и т.п. Кроме того, для уменьшения теплопередачи, вызываемой теплопроводностью и/или излучением, можно использовать трубки с двойными стенками и/или металлизированные.
Во втором варианте осуществления изобретения, схематично иллюстрируемом на фиг.2, растворение гиперполяризованного материала в чашке 9 для образца может быть выполнено в то время, когда материал все еще находится в криостатном устройстве 1. Это может быть достигнуто с использованием средств подачи растворителя. Это может быть осуществлено, например, путем подачи в клапан 23 соответствующих газов или жидкостей под давлением, например воздуха или гелия, или растворителя, как показано пунктиром на фиг.2.
Пример способа, в котором для растворения твердого материала, поляризованного в твердом состоянии, используется второй вариант осуществления изобретения, включает следующие шаги:
твердый материал в виде порошка, зерен или шариков вводят в чашку 9 для образца, расположенную у нижней части трубки 7 для транспортировки образца;
трубку 7 для транспортировки образца вводят в канал 6 так, чтобы чашка 9 для образца была расположена в магнитном поле необходимой напряженности, при этом канал 6 герметизируют и откачивают до рабочего давления;
материал, все еще находящийся в твердом состоянии, гиперполяризуют;
блок 15 для растворенного поляризованного материала частично заполняют растворителем;
давление в канале 6 снова доводят до атмосферного, при этом выше верхнего конца трубки 10 для ввода гелия его разгерметизируют;
если чашка 9 для образца находится под поверхностью жидкого гелия в криостате, то трубку 7 для удержания образца поднимают до тех пор, пока она не окажется выше поверхности гелия;
клапан 27 на выпуске 25 закрывают, а клапан 23 регулируют так, чтобы он соединял корпус 16 с источником газа или жидкости под высоким давлением и в корпусе 16 возникло избыточное давление. Клапан 14 открывают. Это заставляет растворитель перемещаться из корпуса 16 в трубку 7 для транспортировки образца. Как только объем растворителя становится достаточным или более чем достаточным для растворения твердого материала, перенесенного в трубке 7 для транспортировки образца, клапан 23 закрывают. Растворитель из трубки 7 для транспортировки образца входит в контакт с гиперполяризованным твердым материалом в чашке для образца и растворяет его. Для ускорения растворения материала могут быть предусмотрены средства 17 встряхивания, взбалтывания или перемешивания (не показаны), воздействующие на материал, находящийся в чашке 9 для образца.
Если затем желательно извлечь раствор с гиперполяризованным материалом из криостата (вместо того чтобы произвести ЯМР-анализ на месте), то клапан 23, ведущий к источнику вакуума, открывают, чтобы создать в корпусе 16 разрежение. Это приводит к возникновению эффекта всасывания на конце трубки 11 в чашке 9 для образца и к перетеканию потока гелия из конца трубки 10 для ввода гелия через трубку 11 в блок 15 для растворенного материала. Этот поток газообразного гелия переносит гиперполяризованный материал через трубку 11 в корпус 16 блока 15 для растворенного поляризованного материала;
после того как материал попал в корпус 16, клапан 23 закрывают;
средства 17 встряхивания, взбалтывания или перемешивания в блоке для растворенного материала являются необязательными в этом варианте осуществления изобретения, но если они имеются, их можно привести в действие в течение заданного промежутка времени, чтобы обеспечить полное растворение твердого материала;
раствор поляризованного материала может быть выведен через выпуск 25 путем открывания клапана 27.
Предпочтительно, этот способ автоматизирован, например осуществляется под управлением компьютера (не показан), и имеются компьютеризированные исполнительные устройства (не показаны) для управления работой клапанов и средств встряхивания, взбалтывания или перемешивания.
В еще одном варианте осуществления изобретения растворитель может быть добавлен в чашку 9 для образца просто через открытый верхний конец трубки 7 для транспортировки образца. 3атем раствор, состоящий из растворителя и растворенного поляризованного материала, можно откачать любым подходящим способом или же его можно извлечь через выпускное отверстие путем ввода дополнительного количества растворителя, газа и т.п.
Когда поляризованный твердый материал переведен в жидкую фазу в поляризующем блоке путем ввода растворителя в поляризующий блок, согласно второму варианту осуществления изобретения поляризованный твердый материал растворяют, держа его при этом в сильном магнитном поле поляризующего блока или поблизости от области сильного магнитного поля магнита. Если материал поляризуют в гелиевой (или азотной) ванне, то перед растворением этот материал можно вынуть из ванны, чтобы удалить жидкий хладагент. При этом образец все еще подвергается воздействию значительной части магнитного поля поляризующего блока. 3атем можно ввести растворитель в чашку для образца и смешать его с твердым материалом для быстрого растворения твердого материала, после чего раствор можно извлечь шприцем (вручную или автоматически) или гидравлической системой, как описано выше, и ввести в объект, предназначенный для ЯМР-визуализации, или провести непосредственный ЯМР-анализ раствора.
При переводе поляризованного твердого материала в фазу раствора в поляризующем блоке следует учитывать несколько факторов. Как сказано выше, одним из факторов является потеря тепла жидкостью, втекающей в поляризующий блок, поскольку важно, чтобы эта жидкость не замерзла при контакте с холодными контейнером для образца и твердым материалом. Поэтому добавленный растворитель должен иметь такую массу и теплоемкость, чтобы его тепловой энергии было достаточно для предотвращения замерзания растворителя при растворении твердого материала. Вода с этой точки зрения является хорошим растворителем благодаря высокой удельной теплоемкости и высокой скрытой энергии затвердевания. Кроме того, вода – хороший растворитель с точки зрения биологических аспектов, в случае когда образец должен быть использован в живом организме. Другими подходящими растворителями являются биологические буферы, например ацетат Ринжера. Если образец должен быть изучен с помощью ЯМР-спектроскопии или аналитической ЯМР-спектроскопии высокого разрешения, выбор растворителей оказывается шире и особо предпочтительно использовать воду с добавками антифриза, например глицерина. Другим важным фактором является конструкция трубок, предназначенных для ввода растворителя, и конструкция контейнера для образца. Предпочтительны легкие материалы с малой удельной теплопроводностью и малой удельной теплоемкостью, что позволяет свести к минимуму потери тепла растворителем в трубках при протекании его вниз по каналу и потери тепла при контакте с контейнером для образца. Типичными подходящими материалами являются тефлон , полиуретан, PEEK, аэрогель и перлит . Кроме того, может оказаться полезным использование трубок с двойными стенками (внутреннюю трубку можно вставить непосредственно перед добавлением растворителя). Кроме того, может оказаться полезной откачка пространства между двойными стенками в трубках. Трубки также могут быть металлизированными или покрытыми изолирующей пленкой (например, алюминированным майларом ). Кроме того, для улучшения работы средств управления температурой образца может оказаться полезным обертывание трубок проводом или пленкой с большим тепловым сопротивлением. Еще одним фактором, который необходимо принимать во внимание, является выбор материала для изготовления трубки для транспортировки образца и держателя образца. Здесь применимы те же критерии выбора материала, которые были описаны выше, но особенно подходящими являются керамические материалы. Например, предпочтительно использовать керамический или вспененный пластический материал, который является пористым до такой степени, что сверхтекучий гелий может легко проходить сквозь стенки трубки для приема образца и/или держателя образца и охлаждать твердый материал, в то время как жидкая вода или другие растворители не могут проникнуть сквозь стенки. Это позволяет охлаждать материал, погружая контейнер для образца в виде чашки или закрытой трубки в гелиевую ванну, а затем, перед добавлением воды, поднять контейнер над поверхностью жидкого гелия, чтобы жидкий гелий вытек сквозь поры контейнера. Для проведения исследований в живом организме образец после растворения необходимо извлечь из держателя образца. Это также может быть выполнено вышеописанными способами, например гидравлической системой, в которой жидкость прокачивается через держатель образца, путем всасывания или повышения давления в контейнере для образца и набирания поляризованного раствора в блок для растворенного поляризованного материала вне поляризующего блока, например в шприц, чтобы раствор был готов для инъекции в исследуемый объект.
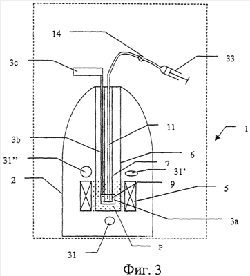
В третьем варианте осуществления изобретения аналитическое ЯМР оборудование может быть размещено в том же инструментальном средстве, что и поляризующий блок с блоком для растворения. Это показано на фиг.3, где показано множество катушек 31-31” для ЯМР-анализа, то есть катушек для ЯМР-визуализации и/или для ЯМР-спектроскопии. Катушки, которые могут использоваться для шиммирования магнитного поля и обнаружения ЯМР-сигнала, можно поместить в позиции, известные в технике ЯМР-анализа высокого разрешения. В этом случае блок для растворенного поляризованного материала представляет собой ту же самую чашку для образца, и время транспортировки равно нулю. Это предпочтительно, поскольку в этом случае при выполнении анализа, то есть при визуализации или спектроскопии, нет необходимости выносить образец из магнитного поля сверхпроводящего магнита. Кроме того, низкая рабочая температура катушек, погруженных в жидкий гелий, значительно (более чем в три раза) улучшает отношение сигнал/шум. Требования к величине магнитного поля для поляризации и для обнаружения ЯМР могут не совпадать, поэтому можно предусмотреть средства перемещения образца из одной части магнита в другую. Может оказаться предпочтительным осуществлять обнаружение ЯМР при большей или меньшей величине поля, чем оптимальная величина поля для динамической поляризации ядер. Поэтому в одном из вариантов осуществления изобретения динамическая поляризация ядер проводится в холодном газообразном гелии в нижней части магнита (то есть в менее сильном поле, например 3,35 Тл). В этом случае следует шиммировать поле в этой области для обеспечения требуемой однородности этого поля. После поляризации образца для его растворения и для обнаружения ЯМР образец можно поднять к центру магнита (где поле сильнее, например 9,4 Тл, и является однородным). Кроме того, для растворения образец можно поднять в промежуточное положение, а затем для обнаружения ЯМР переместить к центру магнита.
Возможной модификацией изобретения является включение в устройство держателя для множества образцов, чтобы можно было одновременно или последовательно поляризовать несколько образцов и либо извлекать их, либо растворять один за другим. Кроме того, можно использовать систему, в которой несколько образцов растворяют и анализируют одновременно. Как понятно специалистам, система с держателем на несколько образцов может быть выполнена многими различными способами, например с использованием карусельного или решеточного держателя.
Согласно четвертому варианту осуществления изобретения для создания устройства, которое позволяет получать высокополяризованные материалы путем динамической поляризации ядер, обычное ЯМР оборудование можно снабдить устройством, выполненным согласно настоящему изобретению. Для этого ЯМР оборудование должно иметь низкотемпературное пространство, которое находится в магнитном поле. С этой целью обыкновенный ЯМР магнит, имеющий достаточно широкий внутренний канал, можно снабдить проточным криостатом и оборудованием, описанным ниже, для получения раствора молекул, поляризация которых повышена путем динамической поляризации ядер. Проточный криостат представляет собой вакуумно-изолированную камеру, которая может быть вставлена в канал магнита, рассчитанного на работу при комнатной температуре сердечника, что позволяет понизить температуру в канале посредством потока холодного криогенного вещества. Проточный криостат обычно соединен с внешним источником криогенного вещества посредством передаточной линии. Поток криогенного вещества в проточном криостате охлаждает канал магнита и формирует низкотемпературное пространство. Проточный криостат может быть оборудован средствами, которые описаны ниже, для поляризации твердых материалов путем динамической поляризации ядер и может иметь оборудование, описанное ниже, для обнаружения сигналов от ядер в твердом теле и в растворе. Следует отметить, что в системах динамической поляризации ядер, специально предназначенных для ЯМР-анализа или для получения гиперполяризованных агентов для ЯМР-визуализации, низкотемпературное пространство предпочтительно интегрировано в криостат магнита.
Вышеописанный вариант осуществления изобретения представляет собой устройство для динамической поляризации ядер, которое реализует подход “на месте” (то есть поляризация, растворение и обнаружение ЯМР осуществляются в одном инструментальном средстве). Сложность состоит в том, что существующие ЯМР-спектрометры трудно модифицировать для улучшенной спектроскопии с динамической поляризацией ядер. Для преодоления этого предлагается еще один вариант осуществления изобретения, который описан ниже со ссылкой на фиг.6, где устройство 71 для динамической поляризации ядер содержит блок 72 генерации магнитного поля, например сверхпроводящий магнит, постоянный магнит или электромагнит, включающий внутреннее низкотемпературное пространство 73, а образец и генераторный СВЧ блок (например, содержащий СВЧ источник 74 и волноводное приспособление 75), предназначенный для поляризации образца, можно разместить поблизости от ЯМР-спектрометра 77 и соединить с ним линией 76 переноса поляризованного материала. В блоке динамической поляризации ядер могут иметься дополнительные ЯМР катушки 78, предназначенные для количественного определения намагниченности образца в твердом состоянии и/или в растворе. Поляризованный образец можно извлечь из низкотемпературного пространства в твердом состоянии и растворить в блоке 79 для поляризованного материала (показанном штриховыми линиями между блоком 71 для динамической поляризации ядер и ЯМР-спектрометром 77) или можно растворить на месте, как описывалось выше. Имеется определенная свобода в размещении устройства для динамической поляризации ядер относительно ЯМР магнита. Однако для уменьшения времени перемещения растворенного поляризованного материала между устройством для динамической поляризации ядер и ЯМР-спектрометром предпочтительно иметь между ними минимально возможное расстояние. Преимущество такой конфигурации заключается в том, что она может быть обеспечена путем модернизации существующих ЯМР-спектрометров. Модернизация ЯМР-спектрометра с целью использования гиперполяризации путем динамической поляризации ядер осуществляется быстро и легко. Можно легко использовать существующие ЯМР датчики (датчики потока) и воспользоваться всеми преимуществами современной техники ЯМР. Поляризованный жидкий образец следует как можно более быстро извлекать из устройства для динамической поляризации ядер и помещать в активную область датчика потока для непосредственного ЯМР-анализа; поэтому, как только образец окажется в ЯМР-спектрометре, требуется точная временная координация всего процесса поляризации, растворения, транспортировки и возбуждения/измерения ЯМР. Это удобно осуществлять под управлением компьютера, чтобы, в предпочтительном случае, гарантировать, что время транспортировки жидкости и задержка между ее поступлением в ЯМР-спектрометр и возбуждением/измерением ЯМР меньше времени Т1 ядерной релаксации.
На фиг.4 схематично показано поперечное сечение варианта выполнения устройства 41 для нагрева и ввода растворителя, предназначенного для ввода нагретого растворителя в контейнер для образца, например чашку для образца, в криостате. Устройство 41 для нагрева и ввода растворителя содержит контейнер 43 повышенного давления, способный выдержать давление по меньшей мере 2 бара, а предпочтительно 10 бар, причем этот контейнер 43 повышенного давления можно нагревать с помощью средств нагрева, например нагревательной спирали 45, навитой вокруг контейнера 43 и соединенной через выключатель или реле 46 с источником 47 питания. Предпочтительно, чтобы контейнер 43 повышенного давления был теплоизолирован, например, с помощью окружающей его изоляционной оболочки 49. Контейнер 43 повышенного давления имеет вход 51, соединенный через впускную трубку 53 и впускной клапан 55 с источником 57 растворителя, в то время как его выход 59 соединен через выпускную трубку 61 и выпускной клапан 63 с контейнером для образца (не показан). Устройство для измерения давления, например датчик 65 давления, может быть соединено с устройством 41 для нагрева и ввода растворителя с целью измерения и, возможно, индикации давления в контейнере 43. Устройство 41 для нагрева и ввода растворителя работает следующим образом:
при закрытом выпускном клапане 63 открывают впускной клапан 55, впуская в контейнер 43 повышенного давления растворитель в количестве, достаточном для растворения поляризованного образца, а затем закрывают клапан 55;
замыкают выключатель 46, соединяя нагревательную спираль 45 с источником 47 питания, и нагревают растворитель в контейнере 43 повышенного давления;
повышение температуры приводит к закипанию растворителя, и это приводит к повышению давления в контейнере 43;
когда давление, измеренное датчиком 65 давления, достигнет заранее заданной величины, например 2 или 5 бар, что соответствует температуре, необходимой для растворения образца, источник 47 питания отключают, выпускной клапан 63 открывают, и избыточное давление в контейнере 43 заставляет растворитель быстро выйти через выпускную трубку 61 в контейнер для образца, где этот растворитель растворяет образец. Как показано штриховыми линиями, предпочтительно, чтобы клапаны 55 и 63, датчик 65 давления и нагревательная спираль 45 были соединены со средствами управления, например с компьютером 67. В предпочтительном случае компьютер 67 имеет программное обеспечение для управления устройством 41 для нагрева и ввода растворителя и, при необходимости, для управления средствами извлечения растворенного поляризованного образца из контейнера для образца.
Для СВЧ облучения образца держатель образца и соответствующую СВЧ структуру можно разместить в низкотемпературном пространстве. СВЧ структура может быть рупорной антенной, камерой, присоединенной к концу волновода (как показано на фиг.5), набором зеркал Фабри-Перо или любым другим устройством для СВЧ облучения. Предпочтительно, эта структура работает как СВЧ резонатор, что увеличивает уровень СВЧ поля внутри нее. В случае более низких частот (меньше чем приблизительно 200 ГГц) для подвода электромагнитного излучения к облучающей структуре удобно использовать волноводы. Геометрию и габариты волноводов выбирают так, чтобы снизить потери СВЧ мощности. Предпочтительно, чтобы волновод оказывал как можно меньшую тепловую нагрузку на низкотемпературное пространство; он может быть выполнен, например, из посеребренной тонкостенной нержавеющей стали. Можно также использовать гофрированные волноводы. На более высоких частотах можно использовать квазиоптические методы и СВЧ излучение можно направлять с помощью линз и зеркал. Предпочтительно, чтобы СВЧ структура имела отверстия, обеспечивающие легкую замену и эффективное охлаждение образца. СВЧ излучение генерируют с помощью подходящего СВЧ генератора, например генератора на лавинно-пролетном диоде, генератора на диоде Ганна с усилителем на лавинно-пролетном диоде, генератора на лампе обратной волны и т.п. СВЧ генератор может быть интегрирован в резонансную структуру, предназначенную для облучения образца. Таким образом, активное устройство, создающее СВЧ колебания, может быть физически расположено в магните рядом с образцом, в результате чего потери при передаче СВЧ мощности снижаются.
На фиг.5 показана в перспективе часть одного из вариантов выполнения средств 3 поляризации, предназначенных для размещения в криостате системы динамической поляризации ядер. Эти средства содержат СВЧ камеру 3а, связанную с помощью волновода 3b с источником СВЧ мощности (не показан). Камера 3 имеет по существу цилиндрическую внешнюю стенку 3d, верхнее основание 3е и нижнее основание 3f. Камера 3а выполнена из материала, отражающего СВЧ излучение, например из латуни. Верхнее основание 3е имеет центральное круговое отверстие 3g с диаметром, позволяющим ввести чашку 9 для образца (не показана) в камеру 3а. Верхнее и нижнее основания 3е, 3f имеют множество вырезов 3h, которые закрыты сеткой 3i, отражающей СВЧ излучение, которая позволяет жидкому гелию проникать в камеру 3а через вырезы 3h, но препятствует выходу СВЧ излучения из камеры 3а. Камера 3а установлена на нижнем конце 3j волновода 3b, при этом щель 3k в стенке 3d камеры 3а совпадает с аналогичной щелью 3l в нижнем конце 3j волновода 3b, что позволяет СВЧ излучению выходить из волновода 3b в камеру 3а. Размеры щелей 3k, 3l выбраны так, чтобы оптимизировать передачу СВЧ мощности в камеру 3а. Например, если внутренний диаметр камеры равен 28 мм, внутренняя высота – 28 мм, а внутренняя ширина волновода 7 мм, то щели могут иметь высоту 5-10 мм и ширину 2-7 мм. Нижний конец 3j волновода 3b сужается по направлению к днищу, действуя как СВЧ отражатель, что увеличивает СВЧ мощность, передаваемую в камеру 3а. Подходящие углы сужения зависят от размеров волновода, частоты используемых СВЧ колебаний и размеров щелей 3k, 3l и могут быть приблизительно от 5° до 60°, а предпочтительно – от 15° до 30°. Размеры камеры 3а, волновода 3b и щелей 3k, 3l выбирают так, чтобы камера 3а работала как СВЧ резонатор. Для измерения поляризации образца, содержащегося в чашке для образца, камера может включать центральную измерительную ЯМР катушку 51. Она может быть выполнена в виде фторопластового цилиндра 53, на который, в зависимости от ориентации статического поля, помещены спиральные или седлообразные медные обмотки (не показаны), и соединена с соответствующими средствами измерения.
В этом варианте осуществления изобретения образец помещают в чашку 9 и контейнер для образца опускают в центр камеры 3а (внутрь измерительной катушки, если таковая имеется). Источник СВЧ излучения включают и облучают образец. 3атем образец можно растворить с помощью способов, описанных выше (то есть растворить прямо на месте, в криостате, или в блоке для растворения поляризованного материала, расположенном вне криостата), и держать растворенный поляризованный образец в блоке для растворенного поляризованного материала или каком-либо другом контейнере (например, в чашке для образца) в течение необходимого времени.
Во втором варианте выполнения камеры согласно настоящему изобретению нижнее основание 3f имеет центральное отверстие 3m такого же диаметра, что и чашка 9 для образца. Это позволяет опускать чашку 9 для образца сквозь камеру 3а ниже ее дна. Контейнер для образцов может содержать множество разнесенных в вертикальном направлении чашек для образцов. Высота каждой из этих чашек может быть равна высоте камеры 3а или ее части. Если она равна высоте камеры 3а, то можно подвергнуть СВЧ облучению в камере 3а первый образец в первой чашке, в то время как второй образец во второй чашке находится вне камеры, но все же очень близко к сильному магнитному полю. Когда первый образец достаточно поляризован, контейнер для образцов можно переместить вертикально, чтобы второй образец во второй чашке оказался в камере 3а, а поляризованный первый образец в первой чашке сохранялся поляризованным в магнитном поле вне камеры 3а. Эти шаги можно повторять до тех пор, пока все образцы не окажутся поляризованными, затем все образцы можно одновременно растворить, используя одно устройство или множество устройств для извлечения материала из трубки для транспортировки образца. Альтернативно, поляризованные образцы можно растворять поочередно и каждый из них хранить в жидкой фазе в соответствующей чашке (которая, следовательно, является блоком для растворенного поляризованного материала) в сильном магнитном поле в блоке для динамической поляризации ядер или в другом блоке для растворенного поляризованного материала в магнитном поле, создаваемом спектрометрическим или визуализирующим устройством.
Обнаружение ЯМР особенно желательно в аналитических приложениях. В других приложениях обнаружение ЯМР дает возможность получить меру поляризации ядер. Катушка для обнаружения ЯМР может иметь любую известную конструкцию, например она может быть соленоидной или седлообразной. Обычно катушку (индуктивность) настраивают на частоту ЯМР с помощью конденсатора и согласовывают с волновым сопротивлением кабеля. Для обнаружения ядер, представляющих интерес, катушку для обнаружения ЯМР можно настроить на множество частот. Конденсаторы можно установить близко к катушке в низкотемпературном пространстве. Это позволяет получить максимальную добротность. Если непрактично располагать конденсаторы близко к катушке, их можно поместить вне низкотемпературного пространства и соединить с катушками в низкотемпературном пространстве посредством линии передачи. Линия передачи может быть коаксиальной линией, витой парой, полосковой линией или любой кабельной линией. Выбор определяется компромиссом между тепловой нагрузкой на низкотемпературное пространство и затуханием сигнала. Можно предусмотреть также использование нескольких катушек. Их можно настроить на две частоты ЯМР, что позволяет наблюдать двойной ЯМР (расщепление, поперечную поляризацию и т.д.) как в твердой, так и в жидкой фазе. Кроме того, это позволяет одновременно обнаруживать ядра более чем одного вида. В этом случае спектрометр должен иметь несколько приемников. Как вариант, сигналы ЯМР от различных ядер можно измерять последовательно. Для анализа нескольких образцов за малое время можно предусмотреть для образцов перемещаемый держатель карусельного типа. Кроме того, растворение твердого материала можно контролировать с помощью оптических средств, поскольку для воспроизводимости ЯМР-анализа важно, чтобы исследуемый материал был растворен однородно. Это можно проконтролировать с использованием фотодетекторов внутри или снаружи камеры для ЯМР-анализа. Поскольку некоторые ядра, представляющие интерес, могут иметь очень короткие времена Т1 релаксации, может оказаться важным выполнение анализа сразу же после окончания процесса растворения. Поэтому предпочтительно иметь средства одновременного возбуждения/обнаружения всех ядер, представляющих интерес. Лучшее отношение сигнал/шум достигается, когда схема обнаружения ЯМР охлаждена. Кроме того, часто полезно охлаждать усилитель сигналов. Следовательно, усилитель сигналов можно установить близко к схеме обнаружения ЯМР, предпочтительно в низкотемпературном пространстве. Другими устройствами, позволяющими улучшить отношение сигнал/шум, являются сверхпроводящие катушки и сверхпроводящие квантовые интерференционные датчики (СКВИД).
Простая и дешевая схема, которую можно использовать для простых измерений поляризации, показана на фиг.7. Устройство представляет собой простой высокочастотный магниторезонансный спектрометр. Такое устройство может использоваться для измерения поляризации твердого образца до его растворения, и в нем используется любая из вышеописанных измерительных катушек. Высокочастотная схема содержит генератор 81, управляемый напряжением, направленный ответвитель 83, 180° гибридное устройство 85, смеситель 87, малошумящий усилитель 89, низкочастотный фильтр 91, компьютерную плату 93 сбора данных и настроенные и согласованные магниторезонансные катушки 95, или катушки возбуждения (создающие магнитное поле B1), которые обеспечивают создание практически однородного поля в направлении, поперечном направлению статического поля В0, создаваемого статическими катушками 97 возбуждения. Катушки настроены на частоту магнитного резонанса и согласованы с волновым сопротивлением линии передачи (например, 50 Ом). Генератор 81, управляемый напряжением (или функциональный генератор), вырабатывает непрерывный гармонический сигнал, разделяемый направленным ответвителем 83 (делителем) на два сигнала, один из которых возбуждает гетеродин смесителя 87, а другой подается в гибридное устройство 85, питающее магниторезонансную катушку 95. Для установки уровня сигналов можно использовать нерегулируемые аттенюаторы (не показаны). Генератор 81, управляемый напряжением, должен обеспечивать частотную модуляцию в диапазоне частот, достаточном для перекрытия спектрального диапазона, представляющего интерес. Типичная полоса частот модуляции составляет 5-50 Гц, и сигнал модуляции подается синхронно с сигналом обнаружения (усреднением сигнала). Предпочтительно, сигнал модуляции и сигнал обнаружения вырабатываются в компьютерной плате 93 сбора данных, и сигнал легкодоступен для дальнейшего анализа информации. При сканировании частоты в момент прохождения магнитного резонанса наблюдается изменение коэффициента отражения. Отраженный сигнал усиливается малошумящим усилителем 89 и подается в смеситель 87. Путем регулировки длины кабелей можно выбрать сигнал поглощения или сигнал дисперсии. Полоса частот магниторезонансных катушек 95 сама по себе задает параболическую базисную линию, которую нужно вычесть из сигнала. Базисную линию можно определить до ввода образца или же ее можно аппроксимировать полиномиальной функцией (или сплайнами) вне областей сигналов. Ширину полосы частот катушек можно оптимизировать множеством способов, например демпфированием с помощью резистора, использованием сильной связи, что дает лучшие результаты, или, предпочтительно, активной нагрузкой катушек 95 малошумящим усилителем 89. Естественная ширина полосы настроенной катушки в этом частотном режиме составляет несколько сотен герц, что является недостаточным для большинства приложений. Демпфирование с помощью резистивного сопротивления увеличивает полезную ширину полосы до приемлемой величины. Однако это приводит к ухудшению отношения сигнал/шум пропорционально квадратному корню от увеличения ширины полосы. До некоторой степени это допустимо, поскольку отношение сигнал/шум часто определяется амплитудным и фазовым шумом генератора, управляемого напряжением. Величина магнитного поля может быть от нескольких мТл до многих Тл, в зависимости от гиромагнитного соотношения для спина и частоты генератора 81, управляемого напряжением.
Как понятно специалистам, в способе согласно настоящему изобретению наличие сильного магнитного поля, а также, возможно, повышенная/оптимизированная температура растворителя, перемешивание и мелкое измельчение твердого образца снижают потери поляризации в процессе растворения. Величина поляризации, сохраняемая во время растворения любого конкретного твердого поляризованного материала, помимо прочего, зависит от следующих факторов: состава поляризованного материала, вида и размера материала (например, используется ли материал в виде шариков, порошка, частичек или в виде сплошной массы), растворителя, применяемого для растворения материала, температуры раствора, скорости растворения, магнитного поля, при котором происходит растворение. Оптимизация этих факторов для каждого конкретного материала позволяет свести потери поляризации к минимуму. Оптимальные условия для растворения, при которых образец сохраняет высокий уровень поляризации, могут быть найдены экспериментально. Приведенные ниже экспериментальные результаты показывают влияние времени растворения образца на потери поляризации при неизменных других параметрах: растворение шариков НР001 (1-гидроксиметил-1-13С-циклопропил)-метанола диаметром 1 мм, с добавкой 15 мМ 0Х063, в D2O при температуре 360 К за время 3 c в магнитном поле 3,35 Тл привело к потерям поляризации менее 10%. Растворение этого же материала в течение 8 с привело к потерям поляризации 69%. Растворение этого же материала в течение 12 с привело к потерям поляризации 97%. Эти результаты воспроизводимы и позволяют оценить степень потерь поляризации при различных скоростях растворения. Таким образом, эти результаты демонстрируют, что растворение НР001 в течение 12 секунд приводит к потерям поляризации менее 99% (фактически 97%), растворение НР001 в течение 8 секунд приводит к потерям поляризации менее 90% (фактически только 69%), а растворение НР001 в течение 3 с вызывает потери поляризации менее 10%. Более быстрое растворение, например при более интенсивном перемешивании или при более высокой температуре растворителя, приводит к еще меньшим потерям поляризации при переходе материала из твердого в жидкое состояние.
Вышеописанные варианты осуществления изобретения предназначены для иллюстрации изобретения и не ограничивают его объем, который определяется формулой изобретения.
Формула изобретения
1. Устройство для растворения твердого поляризованного материала, содержащее криостат (2), выполненный с возможностью помещения в него контейнера (9) для удержания образца твердого поляризуемого материала, средства (3) динамической поляризации ядер, содержащие средства (5) создания магнитного поля, СВЧ генератор (3с), волновод (3b) и СВЧ камеру (3а), выполненную с возможностью размещения внутри указанного криостата (2) для поляризации ядерных спинов твердого поляризуемого материала в указанном контейнере, отличающееся тем, что оно дополнительно содержит средства (11, 16; 11, 33) подачи растворителя в указанный контейнер (9) для растворения твердого поляризованного материала в то время, когда указанный контейнер (9) находится внутри указанного криостата и в сильном магнитном поле указанных средств (5) создания магнитного поля.
2. Устройство по п.1, отличающееся тем, что оно содержит средства извлечения и транспортировки растворенного поляризованного материала из контейнера (9) в блок (15) для растворенного поляризованного материала, расположенный вне указанного криостата.
3. Устройство по любому из предыдущих пунктов, отличающееся тем, что контейнер (9) содержит средства встряхивания, взбалтывания или перемешивания.
4. Устройство по п.2, отличающееся тем, что блок (15) для растворенного поляризованного материала содержит средства встряхивания, взбалтывания или перемешивания.
5. Устройство по п.1 или 2, отличающееся тем, что оно содержит катушки (31-31”) для ЯМР-анализа.
6. Устройство по п.1 или 2, отличающееся тем, что контейнер (9) является держателем для нескольких образцов, и несколько образцов поляризуемого материала могут быть поляризованы одновременно или поочередно.
7. Способ получения раствора, содержащего растворенный поляризованный материал, включающий: введение твердого материала в контейнер (9) для образца, находящийся внутри криостата (2) в устройстве, выполненном согласно любому из предыдущих пунктов, поляризацию указанного материала внутри указанного криостата (2) указанного устройства и подачу растворителя в указанный контейнер и растворение указанного поляризованного материала в указанном контейнере (9), когда он находится внутри указанного криостата (2) указанного устройства.
8. Способ по п.7, отличающийся тем, что несколько поляризованных образцов поляризуемого материала растворяют один за другим или одновременно.
9. Способ по п.7 или 8, отличающийся тем, что скорость растворения устанавливают такой, что твердый поляризованный материал растворяется менее чем за 12 с.
10. Способ по п.7 или 8, отличающийся тем, что скорость растворения устанавливают такой, что твердый поляризованный материал растворяется менее чем за 8 с.
11. Способ по п.7 или 8, отличающийся тем, что скорость растворения устанавливают такой, что твердый поляризованный материал растворяется менее чем за 3 с.
12. Способ по п.7 или 8, отличающийся тем, что далее выполняют ЯМР-анализ растворенного поляризованного материала.
РИСУНКИ
|
|