|
|
(21), (22) Заявка: 2009106266/28, 24.02.2009
(24) Дата начала отсчета срока действия патента:
24.02.2009
(46) Опубликовано: 10.04.2010
(56) Список документов, цитированных в отчете о поиске:
RU 2186351 C1, 27.02.2002. US 4338516 A, 07.06.1982. US 5051590 A, 24.09.1991. ЛЫСИКОВ Б.В., ПРОЗОРОВ В.К., ВАСИЛЬЕВ В.В., ПОПОВ Д.Н., ГРОМОВ Л.Ф., РЫБАКОВ Ю.В. Температурные измерения в ядерных реакторах. – М.: Атомиздат, 1975, с.50. ОКОСИ Т. и др. Волоконно-оптические датчики, пер. с япон. – Л.: Энергоатомиздат, 1990.
Адрес для переписки:
607188, Нижегородская обл., г. Саров, пр. Мира, 37, ФГУП “РФЯЦ-ВНИИЭФ”, начальнику ОПИНТИ
|
(72) Автор(ы):
Довбыш Леонид Егорович (RU), Синицын Алексей Владимирович (RU), Горбунов Виктор Владимирович (RU), Голубева Ольга Альбертовна (RU), Лебедев Сергей Николаевич (RU)
(73) Патентообладатель(и):
Российская Федерация, от имени которой выступает Государственный заказчик – Государственная корпорация по атомной энергии “Росатом” (RU), Федеральное государственное унитарное предприятие “Российский федеральный ядерный центр – Всероссийский научно-исследовательский институт экспериментальной физики” – ФГУП “РФЯЦ – ВНИИЭФ” (RU)
|
(54) СПОСОБ ИЗМЕРЕНИЯ ТЕМПЕРАТУРЫ В ОБЛАСТЯХ С ИОНИЗИРУЮЩИМ ИЗЛУЧЕНИЕМ
(57) Реферат:
Изобретение относится к детектированию температуры образца делящегося материала, разогреваемого реакторным облучением, и может быть использовано в ядерной физике, атомной энергетике, в частности в системах контроля и обеспечения безопасности ядерных реакторов. Способ измерения температуры в областях с ионизирующим излучением включает размещение образца делящегося материала внутри активной зоны реактора, размещение вблизи волоконного световода выполненного из того же материала дополнительного световода в виде петли. Тепловое излучение с поверхности образца делящегося материала выводят посредством волоконного световода, измеряют световую мощность, по крайней мере, в двух спектральных диапазонах, по отношению которых судят о температуре исследуемого образца. В дополнительный световод в виде петли вводят оптическое излучение и по изменению прозрачности петли световода в тех же спектральных диапазонах вносят поправки в измеряемую температуру. При этом источником оптического излучения служит светоизмерительная лампа с ленточным телом накаливания. Технический результат – создание способа регистрации температурного поля образцов делящегося материала в некоторых локальных точках в процессе его разогрева под действием импульсного облучения реакторными нейтронами. 1 з.п. ф-лы, 1 ил.
Область техники
Изобретение относится к детектированию температуры образца делящегося материала, разогреваемого реакторным облучением, и может быть использовано в ядерной физике, атомной энергетике, в частности в системах контроля и обеспечения безопасности ядерных реакторов.
Уровень техники
В предлагаемом изобретении описывается реализация способа контроля температурного поля образцов делящегося материала, разогреваемых протеканием ядерных реакций под действием реакторных нейтронов. Способ применим как для стационарных условий облучения, характерных для энергетических реакторов, так и импульсных, характерных для исследовательских реакторов.
К числу наиболее отработанных методов измерения температуры, слабо чувствительных к воздействию радиации, относятся термопреобразователи на основе термопар [1]. Однако ограничения их применения связаны с необходимостью нарушения конструкции, то есть прочностных характеристик оболочки твэла, для минимизации контактного сопротивления при измерении температуры корпуса топливных элементов [2], а также инерция контактных термопреобразователей не позволяет использовать их для импульсных условий облучения. Достигнутое значение инерционности термопар составляет 50-100 мс [3], а длительность облучения на некоторых исследовательских реакторах составляет 60-70 мкс [4].
В работе [5] предложен и использован в исследованиях микротвэлов в импульсных экспериментах на импульсном ядерном реакторе способ бесконтактного измерения температуры поверхности твэла волоконно-оптическим пирометром. Однако в условиях облучения в волоконных световодах коэффициент потерь увеличивается, происходит деформация спектрального распределения его пропускания в результате процессов окрашивания оптических материалов и изменения коэффициента преломления, апертуры и полосы пропускания [6]. Эти явления приводят к искажению информации о температуре образца. Авторы патента [7] предлагают восстанавливать исходную прозрачность световода пропусканием через него лазерного излучения, обесцвечивающего наведенное радиацией поглощение. Проведенные исследования [6] показали, что предложение авторов работы [7] справедливо только в узком диапазоне технических применений по типам световодов, диапазону уровней воздействующей радиации и спектральному диапазону, и его нельзя применить в наших импульсных условиях облучения.
Раскрытие изобретения
Техническим результатом является создание способа регистрации температуры в некоторых локальных точках образца делящегося материала в процессе его разогрева под действием импульсного облучения реакторными нейтронами.
Технический результат в заявляемом способе достигается тем, что в способе измерения температуры в областях с ионизирующим излучением, включающем размещение образца делящегося материала внутри активной зоны реактора, вывод теплового излучения с его поверхности посредством волоконного световода, измерение световой мощности, по крайней мере, в двух спектральных диапазонах, по отношению которых судят о температуре исследуемого образца, новым является то, что размещают вблизи волоконного световода выполненный из того же материала дополнительный световод в виде петли, в которую вводят оптическое излучение и по изменению прозрачности петли световода в тех же спектральных диапазонах вносят поправки в измеряемую температуру. При этом источником оптического излучения служит светоизмерительная лампа с ленточным телом накаливания.
Размещение вблизи волоконного световода дополнительного световода в виде петли и ввод оптического излучения в тех же спектральных диапазонах в эту петлю, выполненную из того же материала, что и основной световод, позволяет по изменению прозрачности в петле внести поправки в температуру, измеряемую по основному каналу.
Благодаря этому появляется возможность корректного измерения температуры в некоторых локальных точках в процессе разогрева образцов делящегося материала под действием импульсного облучения реакторными нейтронами. Использование светоизмерительной лампы обеспечивает проведение спектрофотометрических измерений в требуемых спектральных диапазонах.
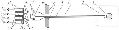
Устройство для реализации заявляемого способа выполнено в виде аппаратурного комплекса, размещенного за биологической защитой реактора, где: 1 – образец делящегося материала, 2 – активная зона (АЗ) ядерного реактора, 3 – световод, 4 – контрольная петля из световода, 5 – биологическая защита реактора, 6 – светоизмерительная лампа с ленточным телом накаливания, 7 – оптический разъем, 8 – световолоконный делитель, 9, 10 – фильтры на длинах волн 1 и 2, 11, 12 – фотоэлектрические преобразователи на длинах волн 1 и 2.
Способ измерения температуры в областях с ионизирующим излучением реализуется следующим образом. Образец делящегося материала (1) помещают в активную зону (АЗ) ядерного реактора (2), находящуюся за биологической защитой (5). Оптическое излучение разогретого образца делящегося материала воспринимается входным торцом световода (3). Для контроля уровня наведенного ионизирующим излучением затухания оптического волокна используют петлю световода (4), в которую вводят излучение от светоизмерительной лампы с ленточным телом накаливания (6). Оптическое излучение по световоду (3) и контрольной петле (4) выводится из A3 реактора к оптическому разъему (7). Техника передачи оптического излучения по волоконному световоду позволяет разделить световое излучение при помощи световолоконного делителя (8) на несколько каналов, отфильтровать излучение на длине волны 1 при помощи фильтра (9) и на длине волны 2 при помощи фильтра (10), регистрировать излучение при помощи соответствующих фотоэлектрических преобразователей (11) на длине волны 1 и (12) на длине волны 2. Измерение соотношения интенсивностей излучения на различных длинах волн позволяет определить температуру среды.
Отношение величины сигнала одного фотоприемника к величине сигнала второго при конкретной температуре не зависит от качества светосбора в торце световолокна, от расстояния до излучающего объекта, а характеризует лишь количественное изменение чувствительности к цветовому составу теплового излучения фотоприемников с различными спектральными характеристиками и однозначно относится к температуре объекта.
На предприятии проведено расчетно-теоретическое обоснование работоспособности заявляемого способа. Испытания устройства, реализующего заявленный способ, показали техническую возможность корректной регистрации температурного поля образцов делящегося материала в некоторых локальных точках в процессе его разогрева под действием импульсного облучения реакторными нейтронами.
Изобретение найдет применение в области измерения температуры образца делящегося материала, разогреваемого реакторным облучением, а также может быть использовано в ядерной физике, атомной энергетике, в частности в системах контроля и обеспечения безопасности ядерных реакторов.
Источники информации
1. Температурные измерения. Справочник. Киев: Наукова думка, 1989. С.230-396.
2. Лысиков Б.В., Прозоров В.К., Васильев В.В., Попов Д.Н., Громов Л.Ф., Рыбаков Ю.В. Температурные измерения в ядерных реакторах. М.: Атомиздат, 1975, с.102-103.
3. Лысиков Б.В., Прозоров В.К., Васильев В.В., Попов Д.Н., Громов Л.Ф., Рыбаков Ю.В. Температурные измерения в ядерных реакторах. М.: Атомиздат, 1975, с.50.
4. Павловский А.И., Малинкин А.А., Колесов В.Ф. и др. Бустер-реактор БР-1. – ВАНТ. Сер. Импульсные реакторы и простые критические сборки, 1985, вып.1, с.3-10.
5. Богданов В.Н., Горбунов В.В., Синицын А.В. и др. Исследования образцов микротвэлов в импульсных экспериментах на реакторе БИГР. – Вопросы атомной науки и техники. Сер. Физика ядерных реакторов, 2007, вып.2, с.3-12.
3, с.473-496 (1983).
7. Татжибаева О.А., Кирин И.Г. Датчик температуры. Описание изобретения к патенту RU 2247951 C2. Бюл. 7, 10.03.2005.
Формула изобретения
1. Способ измерения температуры в областях с ионизирующим излучением, включающий размещение образца делящегося материала внутри активной зоны реактора, вывод теплового излучения с его поверхности посредством волоконного световода, измерение световой мощности, по крайней мере, в двух спектральных диапазонах, по отношению которых судят о температуре исследуемого образца, отличающийся тем, что размещают вблизи волоконного световода выполненный из того же материала дополнительный световод в виде петли, в которую вводят оптическое излучение и по изменению прозрачности петли световода в тех же спектральных диапазонах вносят поправки в измеряемую температуру.
2. Способ измерения температуры по п.1, отличающийся тем, что источником оптического излучения служит светоизмерительная лампа с ленточным телом накаливания.
РИСУНКИ
TK4A – Поправки к публикациям сведений об изобретениях в бюллетенях “Изобретения (заявки и патенты)” и “Изобретения. Полезные модели”
Напечатано: (72) Довбыш Леонид Егорович (RU), Синицын Алексей Владимирович (RU), Горбунов Виктор Владимирович (RU), Голубева Ольга Альбертовна (RU), Лебедев Сергей Николаевич (RU)
Следует читать: (72) Довбыш Леонид Егорович (RU), Синицын Алексей Владимирович (RU), Горбунов Виктор Владиславович (RU), Голубева Ольга Альбертовна (RU), Лебедев Сергей Николаевич (RU)
Номер и год публикации бюллетеня: 10-2010
Код раздела: FG4A
Извещение опубликовано: 10.07.2010 БИ: 19/2010
|
|