|
|
(21), (22) Заявка: 2007127890/28, 22.12.2005
(24) Дата начала отсчета срока действия патента:
22.12.2005
(30) Конвенционный приоритет:
23.12.2004 FR 0413843
(43) Дата публикации заявки: 27.01.2009
(46) Опубликовано: 10.04.2010
(56) Список документов, цитированных в отчете о поиске:
JP 60161533 А, 23.08.1985. JP 59051312 А, 24.03.1984. ЕР 1125550 A1, 22.08. 2001. SU 438885 A, 05.08.1974.
(85) Дата перевода заявки PCT на национальную фазу:
23.07.2007
(86) Заявка PCT:
FR 2005/003256 20051222
(87) Публикация PCT:
WO 2006/070125 20060706
Адрес для переписки:
129090, Москва, ул.Б.Спасская, 25, стр.3, ООО “Юридическая фирма Городисский и Партнеры”, А.В.Мицу
|
(72) Автор(ы):
СИМОН Бенедикт (FR), ЖЮТО Патрик (FR), ЛЭНГЛЭН Бенуа (FR)
(73) Патентообладатель(и):
СЕБ С.А. (FR)
|
(54) ВЕСЫ ДЛЯ ВЗВЕШИВАНИЯ ЛЮДЕЙ
(57) Реферат:
Изобретение относится к области бытовой измерительной техники и направлено на обеспечение возможности четкого и легкого считывания на расстоянии изменения веса пользователя при сохранении привлекательного дизайна весов. Этот результат обеспечивается за счет того, что весы для взвешивания людей содержат приемную площадку для размещения, установленную на основание взвешивания или цоколь, содержащий, по меньшей мере, один датчик веса, соединенный с измерительной схемой, направляющей сигнал измерения на вычислительный блок и на средства запоминания измеренных значений или контрольных значений, а также схему управления, осуществляющую сравнение между измеренным текущим значением и предыдущим измеренным и/или рассчитанным, и/или сохраненным в памяти значением. Согласно изобретению упомянутая схема управления в зависимости от результата сравнения подает команду, по меньшей мере, на одну лампу, освещающую зону площадки таким образом, чтобы она была видна пользователю, находящемуся в устойчивом положении стоя на площадке, независимо от направления и размера его ступней относительно площадки. 17 з.п. ф-лы, 7 ил.
Изобретение относится к приборам для взвешивания, в частности к весам для взвешивания людей, конкретно к электронным весам, содержащим тензометры, соединенные с электронной измерительной схемой, выдающей сигнал, который является функцией измеряемого веса, и, в частности, изобретение касается системы индикации измеренных результатов.
Прибор для взвешивания в принципе содержит площадку, выполненную с возможностью размещения на ней измеряемого веса, по меньшей мере, одну рабочую часть, содержащую на одной из своей сторон тензометры, при этом один из концов этой рабочей части соединен с площадкой, а второй конец – с цоколем или с подошвой, предназначенной для установки на плоской поверхности. Оба конца этой рабочей части неподвижно соединены с площадкой и с цоколем и ограничивают брусок из упругого материала, на котором установлены тензометры и который в основном подвергается деформации изгиба под действием измеряемого веса. Тензометры соединены с электронной схемой, предназначенной для преобразования испытываемой тензометрами деформации в электрические сигналы и для преобразования последних в цифровые значения, соответствующие измеренному весу.
Как правило, площадку взвешивания выполняют из жесткого материала, выдерживающего нагрузки сжатия и растяжения под действием прилагаемого веса, не подвергаясь деформации. Как правило, в передней части площадки выполняют окошко индикации, под которым находится дисплей типа жидкокристаллического или светодиодного индикатора. Недостатком этих дисплеев является то, что на расстоянии считывание их показаний затруднено, учитывая размер высвечивающихся цифр. Увеличение размера высвечивающихся цифр существенно повышает стоимость индикатора и, следовательно, всего прибора.
Из патента ЕР 0377941 известны весы для взвешивания людей, содержащие площадку взвешивания круглой формы, установленную на цоколе такой же формы. В цоколе размещен механизм взвешивания, который при помощи системы рычагов преобразует осевое движение площадки, появляющееся, когда на нее становится человек, во вращательное движение индикаторной стрелки, находящейся в центре площадки. Площадка содержит прозрачную крышку, установленную над градуированной пластиной с нанесенными на ее периферии цифрами, при этом индикаторная игла проходит через эту пластину в ее центральной части. Когда пользователь становится на площадку взвешивания, стрелка осуществляет перемещение, пропорциональное приложенному весу, и ее конец показывает на периферическую шкалу. Такой тип индикатора, естественно, является более легким для считывания пользователем, стоящим на приборе, но, вместе с тем, даже если цифры имеют достаточно большой размер, стрелка может оказаться в невидимой зоне под ступнями. Кроме того, такой прибор имеет большую толщину с учетом амплитуды вертикального движения между площадкой и цоколем прибора. Кроме того, считывание показаний такого прибора затруднено в слабо освещенных местах.
В патенте JP 59 051312 описаны весы для взвешивания людей, содержащие жидкокристаллический дисплей, выполненный с возможностью индикации значения измеренного веса и одновременно, при помощи стрелок, указания уменьшения или увеличения веса относительно предыдущего взвешивания, результат которого сохраняется в запоминающем устройстве прибора. Однако индикация на таком жидкокристаллическом дисплее характеризуется очень слабой освещенностью, поэтому такой дисплей должен быть соединен с прибором через гибкий провод, чтобы пользователь мог приблизить его к себе для считывания показаний. Такое решение не отвечает требованиям снижения стоимости и габаритов прибора.
В патенте JP 60 161533 предлагается решение этой проблемы при помощи индикатора, стационарно установленного на площадке прибора, однако его жидкокристаллический дисплей для индикации текущего значения веса и стрелки, показывающие изменение веса относительно предыдущего результата измерения, хранящегося в запоминающем устройстве, имеют небольшой размер и являются трудно читаемыми, поскольку соединены с одним и тем же индикатором. Недостатком такого типа индикатора, с одной стороны, является то, что он является еще более трудно читаемым, чем предыдущий, и, с другой стороны, требует вмешательства пользователя для занесения в запоминающее устройство текущего значения веса путем нажатия на соответствующую кнопку. Поэтому, если по какой-либо причине пользователь забывает внести в память текущее измерение, прибор может показывать неправильное изменение веса.
Другое решение описано в патенте ЕР 1125550 и касается весов для взвешивания людей типа измерителя полного сопротивления, имеющего небольшую толщину и содержащего площадку с измерительными электродами, выполненную из прозрачного материала, и цоколь, установленный на датчике веса. Прибор содержит индикатор типа жидкокристаллического дисплея, который просматривается через окошко площадки. Индикатор освещается электролюминесцентным диодом для облегчения считывания цифр на дисплее, когда прибор находится в слабо освещенном месте. Кроме того, прибор может содержать три люминесцентных диода разного цвета, каждый из которых указывает на степень набора веса человеком путем сравнения измеренного веса с заранее установленными стандартными пределами. Эти светодиоды расположены рядом с дисплеем и предусмотрены только для освещения экрана жидкокристаллического дисплея и облегчения считывания появляющихся на нем цифр. Однако, чтобы эти значения можно было легко считать при их освещении, индикатор должен быть достаточно большим и, следовательно, дорогим и обеспечивать считывание цифр на расстоянии, когда пользователь находится в нормальном положении, стоя на измерительной площадке. Такое расположение светоизлучающих диодов заставляет пользователя занимать определенное положение на площадке во время взвешивания, и это положение определяется, кроме того, положением электродов, обозначенным выступами на площадке.
Задачей настоящего изобретения является, по меньшей мере, частичное устранение вышеупомянутых недостатков и создание весов для взвешивания людей, выполненных с возможностью четкого и легкого считывания на расстоянии индикации изменения веса пользователя, когда он находится в положении стоя на измерительной площадке, и сохраняющих при этом привлекательность дизайна прибора.
Другой задачей настоящего изобретения является разработка простого, мнемотехнического и визуального способа отображения изменения веса человека во время взвешивания на таких весах.
Еще одной задачей настоящего изобретения является создание весов для взвешивания людей, которые могут показывать изменение веса пользователя при помощи средств, которые являются наиболее привлекательными для пользователя и которые можно визуально наблюдать даже в слабоосвещенных или совсем не освещенных местах и в которых применяются средства с низким потреблением энергии.
Еще одной задачей настоящего изобретение является создание весов для взвешивания людей, которые являются экономичными и не требуют наличия цифрового индикатора или содержат экономичный цифровой индикатор.
Еще одной задачей настоящего изобретение является создание предназначенных для взвешивания людей весов, которые имеют тонкий профиль и отличаются эстетичным дизайном и которые можно выпускать серийно с небольшими производственными затратами.
В связи с этим объектом настоящего изобретения являются весы для взвешивания людей, содержащие приемную площадку для размещения веса, установленную на основание взвешивания или цоколь, содержащий, по меньшей мере, один датчик веса, соединенный с измерительной схемой, направляющей сигнал измерения на вычислительный блок и на средства запоминания измеренных значений или контрольных значений, а также схему управления, осуществляющую сравнение между измеренным текущим значением и предыдущим измеренным, и/или рассчитанным, и/или сохраненным в памяти значением за счет того, что упомянутая схема управления в зависимости от результата сравнения подает команду, по меньшей мере, на одну лампу, освещающую зону площадки таким образом, чтобы она была видна пользователю, находящемуся в устойчивом положении, стоя на площадке, независимо от направления и размера его ступней относительно площадки.
Такой прибор может измерять вес человека, стоящего на приемной площадке прибора (имеется в виду зона прибора, на которую действует измеряемый вес), и сохранять в памяти измеренное значение. Кроме того, прибор содержит вычислительный блок, выполненный с возможностью осуществления сравнения, например, разности между измеренным и хранящимся в памяти весом и текущим измеренным значением. Такое сравнение может быть также осуществлено между текущим измеренным значением и заданным значением, введенным пользователем, или рассчитанным прибором в зависимости от роста, которое пользователь вводит в запоминающее устройство при помощи клавиатуры, или в зависимости от предыдущих результатов произведенного взвешивания.
Действительно, в результате произведенных рабочих испытаний и наблюдений было отмечено, что пользователи больше заинтересованы знать изменение своего веса, чем его каждодневное точное значение. Таким образом, весы для взвешивания людей в соответствии с настоящим изобретением с помощью светового эффекта осуществляют индикацию разности измеренного веса и хранящегося в памяти значения, не прибегая к цифровому индикатору, который может отсутствовать или может быть выключен во время измерения.
В частности, согласно изобретению результат появляется в виде световой индикации в зоне площадки, которая имеет достаточно большую площадь, таким образом, чтобы освещенная зона площадки в любом случае не могла быть полностью скрыта ступнями пользователя или чтобы эта освещенная зона находилась на участке поверхности, который пользователь не закрывает ступнями, например находящейся между его ступнями. Действительно, чтобы во время взвешивания положение пользователя было устойчивым, проекция центра тяжести пользователя на поверхность взвешивания должна находиться в центре опорного многоугольника, ограниченного положением ступней. Чем больше площадь опорного многоугольника, тем легче пользователю удерживать центр тяжести внутри этого многоугольника и тем устойчивее будет его положение во время взвешивания. За счет этого зона, которая находится между ступнями и, как правило, в центре площадки взвешивания, является зоной, визуально наблюдаемой во время взвешивания. Таким образом, располагая световой индикатор в этой зоне, можно не только обеспечить визуально наблюдаемую световую индикацию результата взвешивания, но также получить световой индикатор меньшего размера и меньшей стоимости, который остается в пределах видимости независимо от положения ступней пользователя на приемной площадке взвешивания.
Такая площадка весов для взвешивания людей позволяет производить взвешивание в любом месте по выбору пользователя, даже если это место является темным и не освещено внешним источником света. Таким образом, пользователь может получать результат взвешивания относительно контрольного взвешивания, который четко просматривается на расстоянии, при этом сохраняется свобода выбора дизайна прибора, его размещения и положения пользователя на площадке, а также момента осуществления взвешивания, при этом результат легко читается и не требует усилий для считывания или запоминания цифр, отражающих значение веса.
Зона расположения ступней занимает часть поверхности площадки, когда ступни пользователя вступают на нее для осуществления взвешивания. Эта зона меняется в зависимости от размера ступней для разных пользователей. Так, для женщин средний размер характеризуется длиной 237 мм, шириной по суставам пальцев ноги 61 мм и шириной пятки 69 мм, при этом максимальные размеры составляют: длина 267 мм, ширина по суставам пальцев 99 мм и ширина пятки 68 мм. Для мужчин средний размер характеризуется длиной 260 мм, шириной по суставам пальцев 98 мм и шириной пятки 65 мм, при этом максимальные размеры составляют: длина 293 мм, ширина в суставах пальцев 108 мм и ширина пятки 73 мм. Эти размеры могут меняться в зависимости от строения ноги человека в разных странах. Прибор в соответствии с настоящим изобретением учитывает эти размеры и выполнен таким образом, чтобы световая зона была достаточно большой или была образована небольшими зонами, распределенными по площадке таким образом, чтобы, по меньшей мере, выходить за пределы максимальной длины и/или максимальной ширины ступней пользователя или чтобы находиться между ступнями пользователя, стоящего на площадке взвешивания.
Такие весы для взвешивания людей имеют привлекательный эстетический вид, при этом площадка взвешивания имеет однородный внешний вид (индикатор погашен или отсутствует) перед тем, как пользователь встает на площадку взвешивания, и освещается при измерении и вычислении, что усиливает восприятие результата пользователем. Таким образом, прибор в соответствии с настоящим изобретением имеет привлекательный дизайн и отличается при этом экономичностью и надежностью индикации изменения веса, вычисляемого прибором.
Предпочтительно, чтобы упомянутая лампа всегда освещала одну и ту же зону площадки для приема ступней.
Это решение является более экономичным, так как для светового индикатора необходимо оборудовать только одну зону площадки, поскольку индикация результата осуществляется только за счет управления лампой.
Предпочтительно, чтобы лампа или лампы управлялись таким образом, чтобы показывать результат сравнения путем изменения цвета.
Можно также предусмотреть решение, содержащее только одну световую лампу одного цвета, при этом ее свечение в непрерывном режиме будет указывать на увеличение веса по сравнению с предыдущим измерением, ее мигание – на снижение веса, а отсутствие свечения означает, что после последнего измерения вес не изменился. Однако более предпочтительной является индикация с изменением цветов, так как точно определенный цветовой код производит более сильное впечатление на пользователя.
Предпочтительно, чтобы упомянутая освещенная зона площадки имела площадь, равную по меньшей мере 1/25 общей площади площадки.
Очевидно, что в данном варианте выполнения речь идет о сплошной освещенной поверхности, которая, тем не менее, расположена в достаточно большой зоне площадки, чтобы быть визуально наблюдаемой и одновременно обеспечивать более сильное и ясное восприятие пользователем, стоящим на площадке взвешивания, независимо от направления его положения и от размера его ступней.
Предпочтительно, чтобы эта освещенная зона являлась центральной зоной площадки и/или охватывающей ее периферической зоной.
В частности, если речь идет о площадке круглой, квадратной или другой формы, если на ней нет меток для расположения ступней, пользователь может закрыть переднюю зону индикатора или возможную другую световую зону, выполненную точечной или имеющую небольшие размеры. Таким образом, если индикатор находится в центральной зоне площадки или по ее контуру, пользователь, находящийся на площадке взвешивания, никогда не сможет перекрыть индикатор ступнями. Индикатор, выполненный в этой центральной зоне, может быть более дискретным, оставаясь при этом видимым. Например, такой индикатор может содержать, по меньшей мере, один электролюминесцентный диод, расположенный в центре площадки и освещающий центральную зону площадки, и даже несколько светодиодов, каждый из которых определяет отдельную световую зону и которые при этом находятся на небольшом расстоянии друг от друга. Такая световая центральная зона площадки может вписываться в минимальную зону расстояния между ступнями, ограниченную кругом с максимальным диаметром 100 мм, чтобы пользователь мог встать на площадку в любом направлении даже ночью или даже в мало освещенном месте, мог оставаться на ней в устойчивом положении и четко наблюдать полученный результат взвешивания.
Говоря о зоне, охватывающей центральную зону площадки, имеют в виду либо только одну зону, окружающую на расстоянии центральную зону полностью или на большей части (например, не менее 2/3) ее периферического контура, либо, по меньшей мере, две зоны, расположенные по обе стороны от центральной зоны. Такой периферический контур может быть открытым или закрытым и иметь, например, круглую кольцевую, прямоугольную или любую другую форму, будучи в любом случае расположенным на периферии вокруг центральной зоны.
Предпочтительно, чтобы по меньшей мере часть видимой стороны упомянутой площадки была выполнена из просвечивающегося или прозрачного материала или содержала, по меньшей мере, одну полость для установки упомянутого светового индикатора.
Это позволяет размещать лампы или светоизлучающее устройство в нижней части площадки и даже крепить их к площадке, чтобы обеспечить хорошее освещение при сохранении преимуществ конструктивного решения.
Предпочтительно, чтобы весы для взвешивания людей в соответствии с настоящим изобретением, содержали, по меньшей мере, две лампы разного цвета или, по меньшей мере, одну лампу, которая может светиться, по меньшей мере, в двух разных цветах.
Можно также предусмотреть решение с двумя или несколькими лампами одного цвета, при этом каждая из них освещает просвечивающуюся зону отличающегося цвета (например, красного для указания на увеличение веса или зеленого на указание уменьшения веса и соответственно оранжевого для стабильного веса), при этом разные освещаемые зоны группируются в центральной зоне площадки или на ее периферии.
Однако из соображений большей ясности для пользователя, а также в силу конструктивных особенностей предпочтительным является решение с несколькими цветными лампами. Например, можно использовать две лампы, соответствующие легко запоминаемому цветовому коду: красную для указания увеличения веса и зеленую для указания потери веса, а при отсутствии изменения веса во время измерения лампы не загораются. В варианте, можно также предусмотреть третью лампу, например белого или оранжевого цвета, для указания отсутствия изменения веса по сравнению с предыдущим значением, хранящимся в памяти запоминающего устройства. Можно затем использовать любую комбинацию цветов для получения более широкой гаммы цветов и для получения более точной информации при помощи заранее установленного цветового кода.
Предпочтительно упомянутой лампой или упомянутыми лампами являются электролюминесцентные диоды.
Электролюминесцентные диоды обеспечивают хорошее освещение при небольших размерах и небольшой стоимости. Можно использовать либо только один электролюминесцентный диод и световод для освещения всей световой зоны площадки, либо несколько электролюминесцентных диодов со световодом или без световода. Преимуществом такого решения является также то, что одна и та же зона площадки может последовательно освещаться несколькими разными цветами.
Согласно предпочтительному варианту осуществления настоящего изобретения упомянутые лампы монтируют на кронштейне, расположенном под площадкой, таким образом, чтобы они излучали свет в направлении отражателя, направленного в сторону площадки.
Это решение позволяет улучшить распространение света при минимальном количестве источников света, и в этом случае свет излучается в направлении отражателя, который усиливает его и направляет на площадку.
Предпочтительно, чтобы упомянутый кронштейн был выполнен в центре площадки.
Согласно одному из вариантов лампы можно монтировать по периферии площадки, однако выполнение в центре является более предпочтительным, так как в этом случае при наличии соответствующего отражателя получают хорошее освещение площадки с меньшим количеством ламп. Кронштейн может быть круглым для более равномерного распространения света в направлении отражателя.
Предпочтительно, чтобы освещаемая зона площадки была выполнена из опалового стекла.
Опаловое стекло является просвечивающимся материалом, обеспечивающим хорошее пропускание света, поступающего от отражателя, и улучшающим однородность освещения по всей зоне. Такое опаловое стекло можно получить путем нанесения эмали или краски, по меньшей мере, на одну из сторон стекла или путем химической или механической обработки, по меньшей мере, одной из поверхностей стекла. Его можно также получить путем наклеивания на стеклянную пластину просвечивающейся пластиковой пленки или путем совместного ламинирования стекла и опалина.
В варианте выполнения изобретения площадь упомянутой освещенной зоны по существа равна площади площадки.
Такая зона, освещенная на площади, сравнимой (равная или немного меньшая) с площадью измерительной площадки прибора, является удобной для пользователя во время взвешивания.
Предпочтительно, чтобы весы для взвешивания людей в соответствии с настоящим изобретением содержали несколько световых зон, распределенных по существу по всей площади площадки.
Такое решение позволяет использовать непрозрачную или светонепроницаемую площадку, содержащую только полости, распределенные на площадке и предназначенные для установки лампы или для передачи света, излучаемого одной или несколькими лампами, находящимися под площадкой.
Предпочтительно, чтобы весы для взвешивания людей в соответствии с настоящим изобретением содержали пучок оптических волокон.
Пучок оптических волокон позволяет освещать несколько точек площадки при помощи одного источника света. Таким образом, под площадкой реализуют систему из оптических волокон, при этом конец каждого волокна доходит до уровня поверхности площадки. Это решение позволяет эффективно и экономично распределять световую энергию по всей площадке, поскольку для этого достаточно одного электролюминесцентного диода и пучка оптических волокон.
Система оптических волокон может быть также выполнена из светящихся волокон, то есть излучающих свет по всей своей длине. В этом случае систему волокон выполняют параллельно поверхности площадки.
В другом варианте осуществления настоящего изобретения упомянутые лампы являются электролюминесцентными лампами.
Под электролюминесцентными лампами следует понимать лампы, выполненные на основе слоя фосфора, расположенного между первым верхним прозрачным проводящим слоем и, через диэлектрик, вторым нижним проводящим слоем. Эти лампы могут иметь любую форму и выполнены с возможностью охвата зон большой площади, имея при этом очень хорошую яркость, равномерно распределенную по всей их поверхности.
Предпочтительно, чтобы упомянутые электролюминесцентные лампы были выполнены смежными относительно друг друга.
Устанавливая электролюминесцентные лампы под площадкой или под ее прозрачной или просвечивающейся зоной, необходимо освещать отдельные зоны, при этом каждая зона имеет свой цвет и, следовательно, отличается составом слоя фосфора или содержит только один слой фосфора, но одновременно содержит дополнительный слой, нанесенный печатным способом и выполняющий функцию цветового фильтра. Предпочтительно эти зоны являются смежными, например концентричными, для круглой площадки из соображений упрощения конструкции (например, монтаж проводки и т.д.).
Предпочтительно, чтобы упомянутое предыдущее значение являлось средним значением веса, рассчитанным на основании нескольких предыдущих измерений.
В качестве основы для сравнения с текущим значением можно было бы выбрать только одно предыдущее измеренное значение, сохраненное в памяти прибора, но предпочтительнее использовать среднее значение измерений веса, вносившихся в память, в частности, за период, равный или больший семи дней, так как оно лучше характеризует реальное значение измеренного веса. Рассчитанная средняя величина может быть фиксированной, будучи, например, вычисленной однократно на основании первых измерений; или она может быть скользящим средним значением, притом среднее значение вычисляют за определенный контрольный период, который автоматически смещается при каждом новом измерении.
Кроме того, согласно наиболее совершенной версии прибора в соответствии с настоящим изобретением, вычислительное устройство прибора может рассчитывать типовое отклонение, чтобы исключить случайные колебания веса и в дальнейшем иметь лучшее представление о тенденции изменения веса. В этом случае можно установить пределы интервала стабильности, например плюс или минус три типовых отклонения вокруг среднего расчетного значения веса. Измеренное значение, выходящее за эти пределы, можно рассматривать как характеризующее тенденцию изменения веса, оно будет приниматься в расчет средствами управления, которые управляют световыми лампами в соответствии с настоящим изобретением.
Предпочтительно весы для взвешивания людей в соответствии с настоящим изобретением содержат цифровой индикатор измеренных значений и кнопку включения упомянутого индикатора.
В качестве варианта такой цифровой индикатор может показывать одно или несколько цифровых значений, измеренных и занесенных в запоминающее устройство прибора. Этот индикатор может включаться пользователем, когда, кроме тенденции изменения, он захочет узнать также цифровые значения. Индикатор может быть жидкокристаллического типа или работать на светодиодах.
Настоящее изобретение будет более очевидно из нижеследующего описания вариантов выполнения, представленных в качестве неограничительных примеров, со ссылками на прилагаемые чертежи, в числе которых:
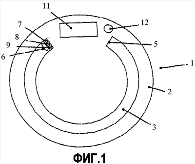
Фиг.1 изображает вид сверху площадки взвешивания весов для взвешивания людей согласно первому варианту осуществления настоящего изобретения.
Фиг.2 – вид сверху площадки взвешивания весов для взвешивания людей согласно другому варианту осуществления, показанного на фиг.1.
Фиг.3 – вид сбоку площадки взвешивания весов для взвешивания людей согласно второму варианту осуществления настоящего изобретения.
Фиг.4 – вид в разборе прибора, показанного на фиг.3.
Фиг.5 – вид третьего варианта осуществления настоящего изобретения.
Фиг.6 – вид сверху площадки взвешивания весов для взвешивания людей согласно версии четвертого варианта осуществления настоящего изобретения.
Фиг.7 – вид сверху площадки взвешивания весов для взвешивания людей согласно другой версии четвертого варианта осуществления настоящего изобретения.
Электронные весы 1 для взвешивания людей в соответствии с настоящим изобретением содержат жесткую площадку 2, выполненную с возможностью размещения на ней измеряемого веса, при этом площадку 2 устанавливают, например, на основание взвешивания (не показано), содержащее четыре ножки, в каждой из которых находится датчик веса. Такой датчик веса содержит прогибающийся брусок с тензометрами, установленный консольно между частью ножки, входящей в контакт с площадкой 2, и другой частью ножки, опирающейся на пол. Тензометры установлены на одной из сторон прогибающегося бруска и монтажно соединены в виде мостика Уитстона с электронной схемой управления прибора для преобразования деформаций, действующих на тензометры, в электрические сигналы и преобразования последних в цифровые значения, соответствующие измеренному весу. Эти значения затем вводят в запоминающее устройство прибора. Кроме того, прибор может содержать цифровой индикатор 11, который после включения пользователем путем нажатия на кнопку 12 может показывать измеренное текущее значение или предыдущее значение, хранящееся в памяти прибора.
Согласно примерам, показанным на прилагаемых чертежах, площадка 2 для размещения веса выполнена в виде пластины круглой, прямоугольной или квадратной формы и небольшой толщины (например, в пределах от 4 до 20 мм) из прозрачного или просвечивающегося материала, например из закаленного стекла или из смолы типа ПММА (полиметилметакрилат). В варианте площадка может быть выполнена из любого другого материала (пластик, дерево, металл и т.д.) и содержать вставку из прозрачного или просвечивающегося материала (например, стекла или пластика) или полости, которые при освещении находящимися внизу лампами образуют освещенную зону 3 площадки.
На фиг.1 показана площадка 2 весов 1 для взвешивания людей согласно первому варианту осуществления настоящего изобретения, содержащая, по меньшей мере, одну лампу 6 типа электролюминесцентного диода. В этом варианте площадка 2 содержит, в частности, три лампы 7-9, установленные в точке площадки внутри световода 5. Лампы 7-9 являются электролюминесцентными диодами разного цвета, например лампа 7 является электролюминесцентным диодом зеленого цвета, который показывает снижение веса (отрицательная разница относительно последнего измерения), лампа 8 является электролюминесцентным диодом белого цвета, информирующей пользователя о том, что его вес остается стабильным (отсутствие отклонений по сравнению с последним измерением), и лампа 9 является электролюминесцентным диодом красного или оранжевого цвета, предупреждающим пользователя об увеличении веса или о положительном отклонении относительно последнего измерения, хранящегося в памяти. Каждая лампа управляется схемой управления прибора в зависимости от сигнала, соответствующего отклонению веса между текущим измерением и предыдущим значением, записанным в запоминающее устройство, и в соответствии с вышеупомянутым цветовым кодом или другим заранее установленным кодом.
Световод 5 является оптическим каналом, позволяющим передавать свет от светового источника, в данном случае от одной из ламп 7, 8 или 9 в удаленную зону, не имеющую других источников света. Таким образом, при помощи только одной из ламп 7-9 освещается вся световая зона 3, что обеспечивает существенную экономию энергии и продлевает срок службы элементов питания. Этот световод может быть выполнен из разных материалов, в частности, с использованием светопроводящего материала, то есть содержащего, по меньшей мере, на одной из своих поверхностей призмы для отражения света в заранее определенных направлениях, и даже с использованием покрытия из отражающей краски на стенках канала, выполненного в толщине площадки.
Такой световод охватывает зону размещения ступней. Так, только для одной зоны размещения ступней с центром, совпадающим с центром площадки, и, например, для обычного строения ступней пользователей европейской расы этот световод должен иметь главный размер (длина или диаметр) примерно 300 мм; можно также предусмотреть меньший размер в случае полоски, которую можно видеть между ступнями.
В качестве варианта световод может быть выполнен по краю двух зон размещения ступней на одной измерительной площадке, и в этом случае световод предусматривают для образования световой зоны вокруг каждой ступни. В этом случае на площадке можно предусмотреть две световые зоны, контур каждой из которых выходит за пределы следа ступни максимального размера, например, в виде прямоугольника с размерами, равными или превышающими 293 мм × 108 мм.
В другом варианте выполнения световод может образовать сплошную световую зону или световую поверхность, называемую в этом случае световым следом для каждой ступни, и даже покрывать более значительную площадь, чтобы немного выходить за пределы зоны размещения обеих ступней пользователя, стоящего на измерительной площадке.
На фиг.2 показана версия варианта выполнения, показанного на фиг.1, согласно которой прибор работает так же, но площадка 2 содержит несколько групп ламп 7, 8, 9 вдоль световода 5 для обеспечения большей яркости в световой зоне 3. Для этого лампы 7 соединены между собой последовательно, лампы 8 соединены последовательно, и лампы 9 также соединены между собой последовательно, при этом каждая цепь последовательно соединенных ламп управляется схемой управления прибора. В другой версии, не показанной на чертежах, по всему контуру световой зоны 3 предусмотрено несколько групп ламп 7-9, расположенных рядом друг с другом на небольшом расстоянии, и в этом случае наличие световода необязательно.
На фиг.3 и 4 показаны весы для взвешивания людей согласно второму варианту осуществления настоящего изобретения, при этом на чертежах для большей ясности основание взвешивания и электрические или электронные компоненты не показаны. Площадка 2 весов для взвешивания людей согласно этому варианту выполнена просвечивающейся. Под площадкой 2 установлен модуль 20 освещения, который содержит кронштейн 21, на котором закреплены несколько ламп 6, расположенных таким образом, чтобы светить вниз, в направлении отражателя 23. Тонкой ножкой 22 кронштейн 21 крепится к отражателю 23. Отражатель 23 расположен параллельно площадке 2, при этом его внутренняя поверхность 24 имеет параболическую форму и содержит светоотражающее покрытие, например слой белой краски. Свет, излучаемый электролюминесцентными диодами вниз прибора, в направлении стрелок на фиг.4, отражается отражателем 23 вверх, где он проходит через площадку 2, выполненную из опалового стекла, освещая, таким образом, ее широкую зону, которая оказывается более освещенной по контуру кронштейна 21. В качестве варианта кронштейн 21 может быть выполнен из прозрачного материала, чтобы еще больше расширить освещаемую зону площадки.
Кронштейн 21 может быть выполнен в виде диска или колпака, содержащего несколько электролюминесцентных диодов, распределенных по его стороне напротив отражателя 23. Например, можно разместить несколько электролюминесцентных диодов, излучающих различные цвета: зеленый, желтый или красный в зависимости от ранее описанного цветового кода. В качестве варианта можно разместить шесть красных электролюминесцентных диодов, шесть синих электролюминесцентных диодов и три зеленых электролюминесцентных диода, чтобы иметь возможность получить весь световой спектр и показывать более подробную информацию в более широком диапазоне изменения веса пользователя. Согласно другому варианту можно использовать один или несколько многоцветных электролюминесцентных диодов, содержащих несколько микросхем и выполненных, таким образом, с возможностью излучения световых волн разной длины.
На фиг.5 схематично показана площадка весов для взвешивания людей согласно третьему варианту осуществления настоящего изобретения. Площадка 2 содержит несколько небольших отверстий 27, предпочтительно равномерно распределенных по всей площади площадки, при этом в каждое отверстие вставляют оптическое волокно 28, являющееся частью пучка 29. Все оптические волокна 28, образующие пучок 29, соединены при помощи кольца 30, установленного перед лампой 6, которая может быть многоцветным электролюминесцентным диодом, и перед коллимационной линзой 31. Комплекс, образованный лампой 6, линзой 31, кольцом 30 и пучком 29, удерживается соединительным кольцом 32, которое затем крепят на площадке 2 или на цоколе прибора. При подаче питания на лампу 6 излучаемая ею на один конец пучка 29 световая энергия практически полностью, без потерь передается на поверхность площадки 2 взвешивания на другом конце пучка 29 оптических волокон. В качестве оптических волокон предпочтительно используют полимерные оптические волокна или ПОВ, так как их монтаж является более простым и они являются более дешевыми. Диаметр оптического волокна 28 составляет примерно 1 мм, что обеспечивает хорошую светопередачу и облегчает монтаж волокон на площадке 2, при этом они остаются все же невидимыми, когда лампа не горит. В качестве варианта можно использовать несколько пучков оптических волокон, каждый из которых соединен с электролюминесцентным диодом специального цвета в соответствии с заранее установленным цветовым кодом.
На фиг.6 показана площадка весов для взвешивания людей согласно четвертому варианту осуществления настоящего изобретения, содержащая, по меньшей мере, одну лампу 10 типа электролюминесцентной лампы на основе фосфора. Вся поверхность площадки 2 является прозрачной и содержит снизу три электролюминесцентные лампы 14-16 разного цвета, установленные концентричными кругами. Например, при подаче питания периферическая лампа 14 излучает зеленый свет, промежуточная лампа 15 – белый свет, а лампа, находящаяся в центральной зоне, – оранжевый свет, при этом каждая лампа управляется схемой управления прибора в зависимости от сигнала, соответствующего отклонению веса между текущим измерением и предыдущим измерением, записанным в запоминающее устройство, в соответствии с заранее установленным цветовым кодом.
Предпочтительно электролюминесцентные лампы 14-16 выполняют при помощи способа многослойной трафаретной печати на пленке и соединяют при помощи клея с нижней поверхностью площадки 2 или выполняют непосредственно путем трафаретной печати на площадке 2 весов 1 для взвешивания людей. Эта многослойная трафаретная печать состоит из следующих элементов: первый светопроницаемый или прозрачный проводящий слой, покрытый фосфоресцирующей краской, покрываемой диэлектриком, в свою очередь покрытым проводящим слоем. Краски, используемые для трафаретной печати, могут быть красками, полимеризующимися под действием ультрафиолетовых лучей или требующими сушки в вентилируемом шкафу. При подаче напряжения светится только часть фосфора, непосредственно заключенная между двумя проводящими слоями. Например, питание осуществляется электрическим сигналом высокого напряжения (от 100 до 400 В) и с частотой от нескольких десятков до нескольких сотен герц, что обеспечивает световое излучение фосфора. Схема соединения питания лампы также может быть выполнена путем трафаретной печати на площадке прибора и в качестве варианта может быть прозрачной. Состав слоя фосфора отличается для каждой из электролюминесцентных ламп 14-16 для свечения каждой лампы разным цветом. В случае необходимости можно использовать один и тот же фосфор для всех трех лампочек и добавить перед или после прозрачного или просвечивающегося электрода печатный слой трех разных цветов, выполняющий роль цветового фильтра.
На фиг.7 показана другая версия варианта выполнения, показанного на фиг.6, в которой площадка 2 внизу содержит непрозрачную часть 18, при этом другая часть площадки является прозрачной и содержит три электролюминесцентные лампы 14-16 того же типа, что и лампы, описанные со ссылкой на фиг.3, но имеющие другую конфигурацию, чтобы охватывать поверхность кронштейна. Это решение является более экономичным, чем предыдущее, в том, что касается расхода материала и стоимости лампочек, при этом обеспечивает достаточно большие световые зоны, чтобы их можно было визуально наблюдать во время взвешивания.
Во время использования на первом этапе пользователь обычно производит взвешивание, становясь на площадку 2 весов 1 для взвешивания людей. Он нажимает на кнопку 12 включения цифрового индикатора 11 и считывает значение своего веса. После этого значение веса записывается в запоминающее устройство прибора автоматически или вручную пользователем, нажимающим на соответствующую кнопку (на чертежах не показана). Во время последующих сеансов взвешивания прибор при помощи цветового кода информирует пользователя только о тенденции изменения относительно значения, хранящегося в памяти, при помощи световой зоны 3 прибора. При желании пользователь может нажать на кнопку 12 включения индикатора 11 для считывания точного значения своего веса и одновременно или последовательно – отклонения веса по сравнению с предыдущим или предыдущими значениями.
Не выходя за рамки прилагаемой формулы изобретения, можно предусмотреть и другие версии и варианты осуществления.
В другом варианте можно использовать освещение при помощи ламп с холодным катодом CCFL.
С лампами и схемой управления можно соединить электронное устройство, выполненное с возможностью изменения яркости освещения или цвета световой зоны 3 пропорционально отмеченному изменению веса.
Можно также предусмотреть более широкую палитру цветов для более точного отображения тенденции изменения веса в соответствии с заранее установленным цветовым кодом.
Формула изобретения
1. Весы (1) для взвешивания людей, содержащие приемную площадку (2) для размещения, установленную на основание взвешивания или цоколь, содержащий, по меньшей мере, один датчик веса, соединенный с измерительной схемой, направляющей сигнал измерения на вычислительный блок и на средства запоминания измеренных значений или контрольных значений, а также схему управления, осуществляющую сравнение между измеренным текущим значением и предыдущим измеренным, и/или рассчитанным, и/или сохраненным в памяти значением, отличающиеся тем, что упомянутая схема управления в зависимости от результата сравнения подает команду, по меньшей мере, на одну лампу (6, 10), освещающую зону (3) площадки таким образом, чтобы она была видна пользователю, находящемуся в устойчивом положении стоя на площадке, независимо от направления и размера его ступней относительно площадки (2).
2. Весы по п.1, отличающиеся тем, что лампа (6, 10) всегда освещает одну и ту же зону площадки (2) для размещения.
3. Весы по п.1, отличающиеся тем, что управление лампой или лампами (6, 10) осуществляют таким образом, чтобы обеспечивать индикацию результата сравнения путем изменения цвета.
4. Весы по п.1, отличающиеся тем, что световая зона (3) площадки (2) имеет площадь, равную, по меньшей мере, 1/25 общей площади площадки (2), для размещения.
5. Весы по п.1, отличающиеся тем, что световая зона (3) является центральной зоной площадки и/или охватывающей ее периферической зоной.
6. Весы по п.1, отличающиеся тем, что, по меньшей мере, часть видимой стороны упомянутой площадки (2) выполняют из просвечивающегося или прозрачного материала или она содержит, по меньшей мере, одну полость для размещения упомянутого светового индикатора.
7. Весы по одному из пп.1-6, отличающиеся тем, что содержат, по меньшей мере, две лампы (6,10) разных цветов или, по меньшей мере, одну лампу, которая может светиться, по меньшей мере, двумя разными цветами.
8. Весы по п.7, отличающиеся тем, что упомянутая лампа или упомянутые лампы являются электролюминесцентными диодами (7, 8, 9).
9. Весы по п.7, отличающиеся тем, что упомянутые лампы (6) устанавливают на кронштейне (21), находящемся под площадкой (2), таким образом, чтобы излучать свет в направлении отражателя (23), направленного в сторону площадки (2).
10. Весы по п.9, отличающиеся тем, что упомянутый кронштейн (21) выполняют в центре площадки (2).
11. Весы по одному из пп.9 или 10, отличающиеся тем, что световую зону (3) площадки (2) выполняют из опалового стекла.
12. Весы по п.1, отличающиеся тем, что площадь упомянутой световой зоны (3), по существу, равна площади площадки (2).
13. Весы по п.1, отличающиеся тем, что содержат несколько световых зон, распределенных, по существу, по всей площади площадки.
14. Весы по п.13, отличающиеся тем, что содержат пучок (29) оптических волокон.
15. Весы по п.1, отличающиеся тем, что упомянутые лампы (14, 15, 16) являются электролюминесцентными лампами.
16. Весы по п.15, отличающиеся тем, что упомянутые электролюминесцентные лампы (14, 15, 16) выполнены смежными относительно друг друга.
17. Весы по п.1, отличающиеся тем, что упомянутое предыдущее значение является средним значением веса, вычисленным на основании нескольких предыдущих измерений.
18. Весы по п.1, отличающиеся тем, что содержат цифровой индикатор (11) измеренных значений и кнопку (12) включения упомянутого индикатора.
РИСУНКИ
|
|