|
|
(21), (22) Заявка: 2008125773/28, 24.06.2008
(24) Дата начала отсчета срока действия патента:
24.06.2008
(46) Опубликовано: 10.04.2010
(56) Список документов, цитированных в отчете о поиске:
SU 1670329 А2, 15.08.1991. RU 34242 U1, 27.11.2003. SU 721647 A1, 30.01.1980. DE 3503661 A1, 07.08.1986. GB 2103800 A, 23.02.1983. DE 4434219 A1, 28.03.1996.
Адрес для переписки:
644080, г.Омск, пр. Мира, 5, Сибирская государственная автомобильно-дорожная академия, патентно-информационный отдел
|
(72) Автор(ы):
Аношин Виктор Алексеевич (RU), Коротаев Дмитрий Николаевич (RU)
(73) Патентообладатель(и):
Государственное образовательное учреждение высшего профессионального образования “Сибирская государственная автомобильно-дорожная академия (СибАДИ)” (RU)
|
(54) ИЗМЕРИТЕЛЬНЫЙ НАКОНЕЧНИК ДЛЯ АКТИВНОГО КОНТРОЛЯ ДЕТАЛЕЙ С ПРЕРЫВИСТОЙ ПОВЕРХНОСТЬЮ
(57) Реферат:
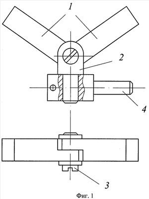
Изобретение относится к измерительной технике и может быть применено для контроля наружного диаметра деталей с прерывистой поверхностью в процессе обработки на круглошлифовальном станке. Сущность: предлагаемый наконечник состоит из двух прямолинейных направляющих (1) квадратного поперечного сечения, закрепленных в оправке (2) при помощи винта (3) и расположенных под углом друг к другу. Оправка (2) фиксируется в держателе (4), стержень которого зажимается в рычаге рычажного устройства. В процессе шлифования отсутствует соударение направляющих (1) наконечника с выступом обрабатываемой детали (например, с боковой гранью шлицев вала) и дополнительно устранено западание боковой грани наконечника во впадину. Технический результат: повышение точности отсчета размера и, следовательно, качества обработки детали. 2 ил.
Изобретение относится преимущественно к измерительной технике
и может быть применено для контроля диаметра деталей с прерывистой поверхностью в процессе их обработки на круглошлифовальных станках.
Известна трехконтактная накидная скоба для активного контроля шлицевых валов (В.В.Кондашевский, В.Лотце. Активный контроль размеров деталей на металлорежущих станках. – Зап.-Сиб. кн. изд. – Омск. – 1976. – С.305, 329). Скоба имеет три измерительных наконечника с криволинейными рабочими поверхностями, контактирующими с прерывистой поверхностью детали в процессе шлифования наружного диаметра. Это позволяет контролировать диаметр детали, не прекращая обработки. Однако при этом в начале обработки контакт скобы ее наконечниками с деталью происходит кромками, что приводит к соударению выступов детали и наконечника. В результате этого снижается точность показаний отсчетного устройства и происходит «выкрашивание» наконечников. Кроме того, снижается точность отсчета размера в процессе обработки, вследствие западания наконечника в разрыв поверхности.
Известен измерительный наконечник, принятый за прототип (Авторское свидетельство 593062, G01В 5/00, 05.04.76). Он имеет прямолинейный участок с одной стороны, что позволяет плавно входить в контакт с поверхностью детали. Это позволяет повысить стабильность контроля за счет устранения удара выступающего элемента детали (грани зуба) о наконечник. Однако точность отсчета размера недостаточна, так как западания наконечника в разрыв остаются и, кроме того, затруднена установка скобы на контролируемую деталь, так как сложно совместить вертикальную ось симметрии детали с осью измерительного дугообразного наконечника.
Задачей изобретения является упрощение установки наконечника на контролируемую деталь; техническим результатом – повышение точности отсчета размера и, следовательно, повышение качества обработки прерывистой поверхности детали.
Предлагаемый измерительный наконечник содержит держатель и регулируемый чувствительный элемент, состоящий из двух прямолинейных направляющих квадратного поперечного сечения, расположенных под углом друг к другу и закрепленных в оправке при помощи винта. Технический результат достигается тем, что в отличие от прототипа установка наконечника с прямолинейными направляющими на контролируемую деталь менее трудоемка. При этом повышается точность отсчета размера за счет того, что устранено соударение наконечника с выступом обрабатываемой детали (например, с боковой гранью шлицев вала). Кроме того, при шлифовании деталей с нечетным числом выступов на поверхности (шлицевые валы, зубчатые колеса, развертки) дополнительно устраняются западания наконечника во впадину. Наконечник является съемным и при необходимости (износе) может быть заменен.
Сущность изобретения поясняется чертежами, где на фиг.1 показано устройство предлагаемого измерительного наконечника для активного контроля. Предлагаемый наконечник состоит из двух направляющих 1 квадратного поперечного сечения, расположенных под углом друг к другу и закрепленных в оправке 2 при помощи винта 3. Оправка 2 фиксируется в держателе 4, стержень которого зажимается в рычаге рычажного устройства, входящего в состав измерительного устройства, показанного на фиг.2.
Измерение с помощью предлагаемого измерительного наконечника осуществляется следующим образом (фиг.2). В процессе обработки шлицевого вала 5 шлифовальным кругом 6 изменяется наружный диаметр детали. При этом происходит непосредственный контакт обрабатываемой поверхности и измерительного наконечника с прямолинейными направляющими 1. Сигнал об изменении размера через рычажное устройство 7 поступает в отсчетно-командное устройство 8. Пружина 9 предназначена для создания измерительного усилия. Отсчетно-командное показывающее устройство 8 следит за изменением размера обрабатываемой детали и подает команду на останов шлифовального станка и отвод шлифовального круга от обрабатываемой поверхности.
Пример применения предлагаемого измерительного наконечника – активный контроль наружного диаметра шлицевого вала в процессе шлифования.
Из примера применения видно, что предлагаемый наконечник не требует специальных материалов, может быть изготовлен с помощью известных технических средств и обеспечивает технический результат. Следовательно, он обладает промышленной применимостью.
Формула изобретения
Измерительный наконечник для активного контроля деталей с прерывистой поверхностью, содержащий держатель и чувствительный элемент, который вступает в контакт с обрабатываемой деталью в процессе обработки резанием, отличающийся тем, что чувствительный элемент выполнен в виде прямолинейных направляющих квадратного поперечного сечения, установленных под углом друг к другу и закрепленных в оправке при помощи винта.
РИСУНКИ
|
|