|
|
(21), (22) Заявка: 2007138916/06, 20.03.2006
(24) Дата начала отсчета срока действия патента:
20.03.2006
(30) Конвенционный приоритет:
22.03.2005 EP 05102252.3
(43) Дата публикации заявки: 27.04.2009
(46) Опубликовано: 10.04.2010
(56) Список документов, цитированных в отчете о поиске:
US 6604380 B1, 12.08.2003. RU 2144556 C1, 20.01.2000. WO/2004/109180 A1, 16.12.2004. US 2003158458 A1, 21.08.2003. GB 1261457 A, 26.01.1972. US 5114451 A, 19.05.1992.
(85) Дата перевода заявки PCT на национальную фазу:
22.10.2007
(86) Заявка PCT:
EP 2006/060867 20060320
(87) Публикация PCT:
WO 2006/100218 20060928
Адрес для переписки:
103735, Москва, ул. Ильинка, 5/2, ООО “Союзпатент”, Н.Н.Высоцкой
|
(72) Автор(ы):
КУМАР Парамасивам Сентил (NL)
(73) Патентообладатель(и):
ШЕЛЛ ИНТЕРНЭШНЛ РИСЕРЧ МААТСХАППИЙ Б.В. (NL)
|
(54) СПОСОБ И УСТРОЙСТВО ДЛЯ ОБЕДНЕНИЯ ПОТОКА СЖИЖЕННОГО ПРИРОДНОГО ГАЗА
(57) Реферат:
Изобретение касается способа обеднения потока сжиженного природного газа посредством извлечения газоконденсатной жидкости. Способ включает нагревание сырьевого потока (1) в первом теплообменном устройстве (5) для формирования промежуточного сырьевого потока (7), разделение потока (7) на первую часть (17) и вторую часть (19), прохождение первой части (17) к дистилляционной установке (21) и подачу первой части (17) в дистилляционную установку (21) через первую точку подачи (25), прохождение второй части (19) ко второму теплообменному устройству (26) для нагрева, ее подачу в дистилляционную установку (21) через вторую точку (29) подачи, отведение потока (35) жидкости, содержащей газоконденсатную жидкость, из нижней части дистилляционной установки (21), отведение потока (40) парообразного дистиллята из верхней части дистилляционной установки (21), охлаждение потока (40) во второй теплообменной установке (26) с помощью второй части (19) потока (7), с образованием промежуточного обедненного потока (48), часть которого далее дополнительно охлаждается в первом теплообменном устройстве (5) с помощью сырьевого потока (1) с образованием потока (55) обедненного природного газа. При охлаждении потока (40) во втором теплообменном устройстве (26) образуется промежуточный конденсат, часть (49) которого проходит в дистилляционную установку (21) через третью точку (51) подачи и образуется промежуточный пар, который проходит в первое теплообменное устройство (5). Использование изобретения позволит повысить эффективность. 3 н. и 9 з.п. ф-лы, 4 ил., 1 табл.
Область, к которой относится изобретение
Настоящее изобретение относится к способу и устройству для обеднения потока сжиженного природного газа (СПГ) посредством отделения газоконденсатной жидкости из потока сжиженного природного газа. Полученный поток обедненного сжиженного природного газа может находиться в жидком состоянии и/или парообразном состоянии, в которое он переходит, например, с использованием регазификации.
В настоящем описании и формуле изобретения термин обеднение используется в смысле противопоставления обогащению и включает в себя удаление углеводородных соединений, с более высоким, по сравнению с метаном, молекулярным весом, то есть «вытягивание» или «приведение к линейному состоянию». В термин газоконденсатная жидкость включаются углеводородные соединения, с более высоким, по сравнению с метаном, молекулярным весом, в том числе этан, этилен, пропан, пропилен, бутан и их изомерные формы, и бутилен и его изомерные формы.
Уровень техники
Помимо метана сжиженный природный газ обычно содержит соединения углеводородов с более высоким молекулярным весом, включая этан, пропан и различные изомерные формы бутана. Эти дополнительные соединения характеризуются более высокой теплотворной способностью по сравнению с метаном. На различных рынках требуется сжиженный природный газ с различными характеристиками, особенно это касается теплотворной способности.
Если по требованиям трубопроводной транспортировки необходима низкая теплотворная способность, то существует необходимость в обеднении потока сжиженного природного газа на предприятии, выполняющем регазификацию, до передачи потока в сеть. Один путь осуществления обеднения заключается в извлечении газоконденсатных жидкостей из потока сжиженного природного газа.
В патенте US 6604380 описан такой способ извлечения газоконденсатных жидкостей. В описанном способе исходный поток сжиженного природного газа разделен. На фиг.2 из упомянутого патента США одна часть разделенного потока нагревается в теплообменнике, где она частично испаряется и затем подается в первый сепаратор. Нижний поток, богатый газоконденсатной жидкостью, удаляется из первого сепаратора и направляется во второй сепаратор, который включает в себя стабилизатор. Другая часть разделенного потока обходит теплообменник и подается в виде наружного орошения при очень низкой температуре, составляющей примерно -157°С (-250°F), во второй сепаратор. Из первого сепаратора и стабилизатора вытягиваются богатые метаном потоки парообразного дистиллята, которые соединяются и направляются через теплообменник, где они охлаждаются с помощью упомянутой одной части исходного разделенного потока.
В патенте WO 2004/109180 описан способ обработки СПГ на заводе, при котором благодаря действию источника теплоты сжатый СПГ испаряется, после чего расширяется и выполняет работу в открытом энергетическом цикле.
Известно, что описанные выше способы недостаточно эффективны.
Раскрытие изобретения
Цель настоящего изобретения заключается в том, чтобы минимизировать описанные выше проблемы.
Другая цель настоящего изобретения состоит в том, чтобы предложить альтернативный способ обеднения потока сжиженного природного газа.
Одна или несколько из упомянутых выше целей могут быть достигнуты согласно настоящему изобретению, в способе обеднения потока сжиженного природного газа посредством отделения газоконденсатной жидкости из потока сжиженного природного газа, указанный способ, по меньшей мере, содержит следующие этапы:
– нагревание сырьевого потока, содержащего поток сжиженного природного газа, в первом теплообменном устройстве, что делается с целью формирования промежуточного сырьевого потока;
– разделение промежуточного сырьевого потока, по меньшей мере, на первую часть и вторую часть;
– прохождение первой части к дистилляционной установке и подача первой части в дистилляционную установку через первую точку подачи;
– прохождение второй части ко второму теплообменному устройству, где вторая часть дополнительно нагревается и затем подается в дистилляционную установку через вторую точку подачи;
– отведение потока жидкости, содержащей газоконденсатную жидкость, из нижней части дистилляционной установки;
– отведение потока парообразного дистиллята из верхней части дистилляционной установки;
– прохождение потока парообразного дистиллята ко второй теплообменной установке, где он охлаждается с помощью второй части промежуточного сырьевого потока, в результате чего образуется промежуточный обедненный поток, по меньшей мере, часть которого далее проходит в первое теплообменное устройство и дополнительно охлаждается с помощью сырьевого потока и образуется поток обедненного природного газа;
где при охлаждении потока парообразного дистиллята во втором теплообменном устройстве он частично конденсируется и образуется промежуточный конденсат, по меньшей мере, часть которого проходит в дистилляционную установку через третью точку подачи и образуется промежуточный пар, который проходит в первое теплообменное устройство.
Преимущество настоящего изобретения заключается в том, что в нем обеспечивается большая гибкость при выборе профиля температур в дистилляционной установке, что способствует эффективному управлению условиями осуществления обработки в дистилляционной установке.
Далее оказывается, что использование промежуточного обедненного потока для образования орошающего потока значительно улучшает извлечение газоконденсатной жидкости. Поток парообразного дистиллята из дистилляционной установки частично конденсируется при охлаждении во втором теплообменном устройстве и промежуточный обедненный поток содержит промежуточный конденсат, который может проходить в дистилляционную установку через третью точку подачи, и промежуточный пар, который может проходить в первое теплообменное устройство.
Еще одно преимущество заключается в том, что промежуточный конденсат обогащен более тяжелыми компонентами, в том числе газоконденсатными жидкостями. Вместо того чтобы подавать этот конденсат в первое теплообменное устройство, он повторно подается на дистилляционную установку в качестве внутреннего орошения. Следовательно, значительно улучшается извлечение газоконденсатной жидкости.
Выбирая взаимное охлаждение в первом и втором теплообменных устройствах, можно выбирать промежуточную температуру в промежуточном обедненном потоке, что позволяет приспосабливать состав конденсата.
Еще одно преимущество настоящего изобретения заключается в том, что нагревание и охлаждение потока до и соответственно после прохождения дистилляционной установки выполняется, по меньшей мере, в два этапа. Таким образом, получающиеся промежуточные, по меньшей мере, между двумя этапами потоки, могут быть использованы в рассматриваемом способе в дополнение к полностью нагретым и соответственно охлажденным потокам.
Один способ использования промежуточного сырьевого потока – это наружное орошение, температура которого ниже температуры части, подаваемой в дистилляционную установку через вторую точку подачи, но не такая низкая, как температура исходного сырьевого потока.
Оказывается, что для эффективного отделения компонентов газоконденсатной жидкости от сжиженного природного газа обычно не требуется наружного орошения, температура которого равна температуре сжиженного природного газа (приблизительно -157°С, или ниже -140°С). Преимущество настоящего изобретения заключается в том, что температуру наружного орошения можно выбрать большей температуры сырьевого потока, например, выше -140°С. В результате чего такое оборудование, как дистилляционная установка или ребойлер (если имеется), может иметь меньшие размеры или в ребойлере нужно рассеивать меньшую энергию. Таким образом, очень низкая температура сырьевого потока может полностью использоваться для повторной конденсации обедненного природного газа.
В зависимости от степени нагревания, применяемого в первом теплообменном устройстве, и давления сырьевого потока, промежуточный сырьевой поток может быть или полностью жидким, или частично представлять собой пар.
Когда нагревание сырьевого потока в первом теплообменном устройстве приводит к частичному испарению сырьевого потока, причем промежуточный сырьевой поток содержит смесь жидкой фракции промежуточного сырьевого потока и парообразной фракции промежуточного сырьевого потока, целесообразно разделить, по меньшей мере, жидкую фракцию промежуточного сырьевого потока, по меньшей мере, на первую и вторую части. Парообразная фракция промежуточного сырьевого потока благодаря сравнительно низкой температуре по сравнению с температурой после второго нагревания уже практически не содержит газоконденсатных жидкостей и ее не требуется подвергать дополнительной дистилляции. Она может смешиваться с конечным потоком продукта.
Согласно еще одному аспекту настоящего изобретения рассматривается поток обедненного природного газа, полученный способом, соответствующим настоящему изобретению, а также устройство, подходящее для осуществления способа, соответствующего настоящему изобретению.
Предпочтительные варианты осуществления устройства получаются из предпочтительных вариантов осуществления способа и/или из подробного описания вариантов осуществления, изложенных ниже.
Описанные выше и другие отличительные признаки настоящего изобретения будут далее проиллюстрированы примером со ссылками на прилагаемые чертежи, не ограничивающие изобретение.
Краткое описание чертежей
На прилагаемых чертежах:
фиг.1 и 2 – виды, схематически показывающие блок-схемы и устройство, которые содержат не все отличительные признаки настоящего изобретения, но которые включены в настоящий документ с иллюстративной целью;
фиг.3 – вид, схематически показывающий блок-схему и устройство, соответствующие настоящему изобретению; и
фиг.4 – вид, схематически показывающий предпочтительный вариант осущетвления настоящего изобретения, где блок-схема с фиг.2 объединена с блок-схемой с фиг.3.
В настоящем описании одинаковые ссылочные позиции соответствуют одинаковым частям. Ссылочные позиции, соответствующие трубопроводам, также используются для ссылок на соответствующие потоки, проходящие по указанным трубопроводам.
Подробное описание чертежей
На фиг.1 схематически показано устройство, предназначенное для обеднения потока сжиженного природного газа, обеспечивающее извлечение газоконденсатной жидкости из указанного потока сжиженного природного газа. Сырьевой трубопровод 1 соединен с источником сжиженного природного газа. В сырьевом трубопроводе 1 может содержаться насос 3, выпускное отверстие на стороне высокого давления которого соединено с первым теплообменным устройством 5 с помощью трубопровода 2.
Промежуточный сырьевой трубопровод 7 соединяет первое выпускное отверстие 6 первого теплообменного устройства 5 с распределительным устройством 14. Два выпускных отверстия распределительного устройства 14 соединены с трубопроводами 17 и 19. При желании распределительное устройство 14 может содержать более двух выпускных отверстий. Трубопровод 17 соединен с дистилляционной установкой 21 с помощью необязательно присутствующего первого регулирующего клапана 23 и первой точки 25 подачи, расположенной в верхней части дистилляционной установки 21. Другой трубопровод, трубопровод 19, также соединен с дистилляционной установкой 21, но через второе теплообменное устройство 26, трубопровод 20 и вторую точку 29 подачи, при этом трубопровод 26 может быть снабжен вторым регулирующим клапаном 27. Таким образом, первое выпускное отверстие 6 первого теплообменного устройства 5 соединено со вторым теплообменным устройством 26. Трубопровод 17 обходит второе теплообменное устройство 26. Предпочтительно, чтобы вторая точка 29 подачи дистилляционной установки 21 была расположена ниже первой точки 25 подачи.
Нижняя часть дистилляционной установки 21 снабжена выпускным отверстием 31, предназначенным для отведения потока 35 жидкости из дистилляционной установки 21. Необязательно присутствующий ребойлер 33 может быть расположен в трубопроводе 35, в этом случае он присоединен к выпускному отверстию 31. Возвратный трубопровод 37 ребойлера направлен назад от ребойлера 33 в нижнюю часть дистилляционной установки 21. Необязательно присутствующий ребойлер 33 может быть частью дистилляционной установки 21, а не являться внешним устройством, как показано. Трубопровод 38 присоединен к трубопроводу 35 или необязательно присутствующему ребойлеру 33 и предназначен для удаления газоконденсатной жидкости.
Верхняя часть дистилляционной установки 21 снабжена выпускным отверстием 39 парообразного дистиллята. Выпускное отверстие 39 парообразного дистиллята соединено с первым теплообменным устройством 5 через второе теплообменное устройство 26. Трубопровод 40 размещен между выпускным отверстием 39 парообразного дистиллята и вторым теплообменным устройством 26 и соединен с трубопроводом 48, который размещен между вторым теплообменным устройством 26 и первым теплообменным устройством 5, и соединен с трубопроводом 55, расположенным ниже по потоку относительно первого теплообменного устройства 5, с помощью второго выпускного отверстия 41 первого теплообменного устройства 5.
В трубопроводе 55 может содержаться необязательно присутствующий насос 65, который выходит в трубопровод 67 и который предназначен для увеличения давления с целью получения потока обедненного сжиженного природного газа при давлении, соответствующем частным техническим характеристикам. Трубопровод 67 может быть присоединен к регазификационной системе любого типа, включая системы, описанные в статье «Innovative gas processing with various LNG sources» (Прогрессивная обработка газа для различных источников СНГ), автор Joseph Cho и другие, опубликована в LNG Journal Январь/Февраль 2005, стр.23-27, содержимое указанной статьи включено в настоящий документ посредством ссылки.
Описанное выше устройство способно проводить обеднение потока сжиженного природного газа, что делается посредством отделения газоконденсатной жидкости из потока сжиженного природного газа. Необязательно присутствующий обводной трубопровод 59 предназначен для соединения трубопровода 1 или выпускного отверстия на стороне высокого давления насоса 3, расположенного выше по потоку относительно первого теплообменного устройства 5, с трубопроводом 55, расположенным ниже по потоку относительно первого теплообменного устройства 5. Необязательно присутствующий обводной трубопровод 59 может быть снабжен регулирующим клапаном 61. Благодаря обводному трубопроводу 59 можно обойти обедняющее устройство и не выполнять отделение газоконденсатной жидкости.
Устройство с фиг.1 работает следующим образом. Сырьевой поток, содержащий поток сжиженного газа, подается через сырьевой трубопровод 1 и нагревается в первом теплообменном устройстве 5 с помощью промежуточного обедненного потока, находящегося в трубопроводе 48, в результате получается промежуточный сырьевой поток 7. Перед подачей сырьевого потока 1 в теплообменное устройство 5 давление указанного сырьевого потока 1 может быть увеличено благодаря использованию необязательно присутствующего насоса 3. Эта операция особенно полезна тогда, когда сжиженный природный газ подается при атмосферном давлении или давлении, близком к атмосферному.
Промежуточный сырьевой поток 7 разделяется в распределительном устройстве 14, по меньшей мере, на первую часть 17 и вторую часть 19. Первая часть 17 проходит до дистилляционной установки 21 и подается в нее через первую точку 25 подачи. Давлением и температурой можно управлять с использованием регулирующего клапана 23.
Вторая часть 19 промежуточного сырьевого потока 7 проходит во второе теплообменное устройство 26, где она дополнительно нагревается с помощью потока дистиллята из трубопровода 40. Полученный дополнительно нагретый поток в дальнейшем подается в дистилляционную установку 21 через трубопровод 20 и вторую точку 29 подачи. Давлением можно управлять с использованием регулирующего клапана 27.
Во время дополнительного нагревания во втором теплообменном устройстве 26 вторая часть 19 промежуточного сырьевого потока 7, по меньшей мере, частично испаряется. Обычно рекомендуется, чтобы испарялось, по меньшей мере, 60% потока в молярном исчислении.
Так как температура первой части 17 может быть меньше температуры второй части 19, то первая часть 17 выступает в процессе дистилляции в качестве наружного орошающего потока. Это помогает очищать газоконденсатную жидкость от пара, полученного из второй части 19, а также полученного в необязательно присутствующем ребойлере 33. Очищение облегчается благодаря тому, что первая точка 25 подачи расположена выше второй точки 29 подачи.
Поток жидкости, содержащий газоконденсатную жидкость, далее отводится из нижней части дистилляционной установки 21 через выпускное отверстие 31 в трубопровод 35. При желании поток жидкости нагревается и частично подается назад через трубопровод 37 в нижнюю часть дистилляционной установки 21 с целью образования некоторого количества пара, содержащего сравнительно легкие молекулы. Остаток выводится в виде газоконденсатной жидкости в трубопровод 38.
С другой стороны дистилляционной установки 21 поток 40 парообразного дистиллята отводится из верхней части дистилляционной установки 21. Поток 40 парообразного дистиллята представляет собой обедненный поток, содержащий в основном метан и также иногда другие компоненты, такие как, например, этан и остатки пропана.
Поток 40 парообразного дистиллята проходит во второе теплообменное устройство 26, где он охлаждается с помощью промежуточного сырьевого потока и образуется промежуточный обедненный поток 48, по меньшей мере, часть которого далее проходит в первое теплообменное устройство 5 и дальше охлаждается с помощью сырьевого потока 1, в результате чего получается конечный поток 55 обедненного природного газа. Конечный поток 55 может быть полностью повторно сжижен.
При желании конечный поток 55 объединяется с обводным потоком, привлеченным из сырьевого потока 2 через трубопровод 59. Далее давление конечного потока в трубопроводе 55 может быть повышено до необходимого уровня с помощью необязательно присутствующего насоса 65, что обычно более эффективно с точки зрения затрат энергии, так как поток в трубопроводе 55 обычно полностью сжижен. Конечный поток выводится через трубопровод 67, после чего он может подвергнуться дополнительной обработке (не показано), например, может быть проведена регазификация с помощью нагревания, что делается с целью его преобразования в газообразный поток. Несколько возможных способов регазификации описано в статье из LNG Journal Январь/Февраль 2005, упомянутой ранее.
Хотя это не обязательно, но в трубопроводе 40 может быть расположен компрессор (не показан), нужный для того, чтобы создавать удобную границу для давления, чтобы конечный поток в трубопроводе 55, выходящий из первого теплообменного устройства 5 через выпускное отверстие 41, был не только полностью повторно сжижен, но также в определенной степени недогрет. Это менее важно, когда значительная часть сырьевого потока 2 может обойти через трубопровод 59, так как в этом случае конечный поток, выходящий из первого теплообменного устройства 5, подвергается непосредственному теплообмену.
Преимущество наличия двух теплообменных устройств 5, 26 заключается в том, что в этом случае промежуточные потоки 7 и/или 48 могут быть использованы в ходе процесса обработки. В варианте осуществления изобретения с фиг.1, часть (первая часть 17) промежуточного потока 7 используется в качестве наружного орошения, температура которого ниже температуры части (второй части 19), которая подается в дистилляционную установку 21 через вторую точку 29 подачи, но не такая низкая, как температура сырьевого потока 1. Благодаря правильному балансу теплоемкости первого теплообменного устройства 5 по сравнению со вторым теплообменным устройством 26 достигается лучшее регулирование температуры орошающего потока 17 и дополнительно нагретого сырьевого потока 20, если сравнивать с процессом, описанным в патенте US 6604380. Эта улучшенная гибкость позволяет эффективно регулировать режим обработки в дистилляционной установке 21, чтобы добиться необходимого разделения потока 40 дистиллята и нижнего потока 38 выбранного компонента газоконденсатной жидкости.
Фиг.2 основана на варианте осуществления, который показан и объяснен выше со ссылкой на фиг.1, и изображает сепаратор 9 газ/жидкость (в формуле изобретения называемый «вторым сепаратором газ/жидкость»), который соединен с первым выпускным отверстием 6 первого теплообменного устройства 5 и распределительным устройством 14. Здесь сепаратор газ/жидкость выполнен в виде сосуда 9 разделения сырьевого потока. Первое выпускное устройство 6 первого теплообменного устройства 5 соединено с сосудом 9 разделения сырьевого потока. Сосуд 9 разделения сырьевого потока содержит нижнее выпускное отверстие 11 и выпускное отверстие 13 дистиллята. Нижнее выпускное отверстие 11 соединено с распределительным устройством 14 трубопроводом 15. Выпускное отверстие 13 дистиллята соединено с трубопроводом 48 через трубопровод 57, который расположен выше по потоку относительно первого теплообменного устройства 5.
Вариант осуществления с фиг.2 работает следующим образом. Когда сырьевой поток нагревается в первом теплообменном устройстве 5, он частично испаряется. Пар вытягивается из выпускного отверстия 13 дистиллята и объединяется с промежуточным обедненным потоком в трубопроводе 48. Далее объединенные потоки дополнительно охлаждаются и повторно конденсируются в первом теплообменном устройстве 5 с помощью сырьевого потока 2.
Так как температура все еще сравнительно низка, пар будет содержать преимущественно более «бедные» компоненты, такие как метан. Компоненты с большей теплотворной способностью, такие как пропан, будут находиться, по существу, полностью в жидкой фазе вместе с этаном и метаном. Парообразную фракцию не надо дополнительно подвергать дистилляции и она может быть смешана с прошедшим дистилляцию потоком в трубопроводе 48 для последующей повторной конденсации в первом теплообменном устройстве 5.
Обычно доля пара в молях составляет от 1 до 90%. Чем больше доля пара в молях, тем меньше нагрузка от собственной массы на устройство отделения, расположенное ниже по потоку. В связи с этим для типичного состава сжиженного газа предпочтительно, чтобы, по меньшей мере, 50% молярной массы находилось в парообразной фазе. С другой стороны, чем больше доля пара в молях, тем меньше извлечение газоконденсатных жидкостей, так как разделение по массе в сосуде производится не так хорошо, как в дистилляционной установке 21. В связи с этим предпочтительно, чтобы доля пара в молях не превышала 80%.
Жидкость, которая вытягивается из нижнего выпускного отверстия 11 сепаратора 9, направляется к распределительному устройству 14, где часть ее посылается к дистилляционной установке 21 через трубопровод 17 в качестве наружного орошения, таким образом обходится второе теплообменное устройство 26.
Преимущество рассматриваемого варианта осуществления изобретения заключается в том, что наружное орошение полностью является жидкостью, так что оно очень эффективно в качестве очищающей среды. Температура наружного орошения ниже, чем температура части, подаваемой в дистилляционную установку через вторую точку 29 подачи, но не такая низкая, как температура исходного сырьевого потока 1. Температуру можно регулировать, выбирая величину теплообмена в первом теплообменном устройстве 5, при желании также в зависимости от величины расширения в регулирующем клапане 23 или регулируя последнюю величину.
Преимущество наличия необязательно присутствующих регулирующих клапанов 23 и 27 заключается в том, что дистилляционная установка 21 работает при давлении, меньшем давления в сепараторе 9 сырьевого потока, что улучшает эффективность разделения компонент газоконденсатной жидкости в установке 21.
Как показано на фиг.2, необязательно присутствующий компрессор 63 дистиллята может быть расположен между выпускным отверстием 39 парообразного дистиллята дистилляционной установки 21 и вторым теплообменным устройством 26. Этим может быть компенсирован необязательно присутствующий перепад давлений на клапанах 23 и 27, тем самым давление в трубопроводе 48 может достигать того уровня, который установлен сырьевым потоком в трубопроводе 7.
Предпочтительно, чтобы компрессор 63 был расположен выше по потоку относительно второго теплообменного устройства 26, так как поток 40 дистиллята благодаря дистилляционной установке 21 всегда полностью состоит из пара, тогда как ниже по потоку второго теплообменного устройства 26 конечный поток может состоять из нескольких фаз.
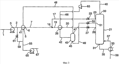
В качестве альтернативы, в трубопроводе 57 может быть предусмотрено расширительное устройство, такое как клапан Джоуля-Томпсона (Joule-Thompson) (не показан), которое призвано снижать давление в трубопроводе 57 до значения давления в трубопроводе 48. Теперь после объяснения схем процессов с фиг.1 и 2 перейдем к фиг.3, на которой показан вариант осуществления настоящего изобретения, основанный на варианте осуществления, показанном и объясненном со ссылкой на фиг.1, где система внутреннего орошения размещена в трубопроводе 48 между выпускным отверстием 39 парообразного дистиллята дистилляционной установки и первым теплообменным устройством 5. Система орошения, показанная здесь, содержит сепаратор газ/жидкость (в формуле изобретения называемый «первый сепаратор газ/жидкость»), который здесь имеет форму сосуда 43 разделения орошающего потока. Сосуд 43 разделения орошающего потока расположен ниже по потоку относительно второго теплообменного устройства 26 в трубопроводе 48 и соединен со вторым теплообменным устройством 26 с помощью трубопровода 42. Сепаратор 43 содержит нижнее выпускное отверстие 45 и выпускное отверстие 47 дистиллята. Нижнее выпускное отверстие 45 соединено с дистилляционной установкой 21 с помощью трубопровода 49 и третьей точки 51 подачи, что нужно для обеспечения орошающего потока. В трубопроводе 49 может быть расположен необязательно присутствующий регулирующий клапан 53. Целесообразно, чтобы третья точка 51 подачи была расположена выше, чем вторая точка 29 подачи, так как температура орошающего потока 49 обычно ниже температуры дополнительно нагретого сырьевого потока 20, и целесообразно, чтобы третья точка 51 подачи была расположена ниже первой точки 25 подачи.
Выпускное отверстие 47 дистиллята сосуда 43 разделения орошающего потока соединено с первым теплообменным устройством 5 с помощью трубопровода 48.
При работе, когда сырьевой поток сжиженного природного газа, содержащий метан, этан и пропан, поступает для обработки согласно рассматриваемому способу, большая часть пропана извлекается в дистилляционной установке 21. Выборочное извлечение пропана может быть увеличено, если дать возможность оставшимся компонентам, которые содержат пропан и которые могут присутствовать в потоке 40 парообразного дистиллята, конденсироваться во втором теплообменном устройстве 26. Промежуточный конденсат 49 вытягивается из сосуда 43 разделения орошающего потока и подается назад в дистилляционную установку 21 в качестве холодного орошающего потока. Пропан имеет еще одну возможность выйти из процесса обработки через выпускное отверстие 31.
Так как второе теплообменное устройство 26 доводит промежуточный обедненный поток только до промежуточной температуры, то избирательность по массе орошающего потока может быть приспособлена с помощью выбора указанной температуры, а также, при желании, с помощью перепада давлений в необязательно присутствующем клапане 53. При этом можно избежать ненужной циркуляции метана или этана по установке, тем самым просто экономя энергию, но не увеличивая объемы производства обедненного природного газа, выходящего из процесса обработки через трубопровод 55.
При сравнении схемы процесса с фиг.1 (не содержащей все отличительные черты настоящего изобретения) и схемы процесса с фиг.3 (соответствующей настоящему изобретению), вычисления, рассчитывающие извлечение пропана, показывают, что при схеме процесса с фиг.1 при заданном режиме осуществления процесса извлечение пропана составляет 69%, а при том же режиме при схеме процесса с фиг.3 извлечение пропана составляет 90%.
Обычно доля пара в молях может составлять от 50 до 95%. Чем больше доля пара в молях, тем лучше, меньше количество бедных компонентов, циркулирующих в цикле орошения. В связи с этим предпочтительно, чтобы, по меньшей мере, 60% потока в молярном исчислении находилось в паровой фазе. С другой стороны, чем выше доля пара в молях, тем ниже извлечение газоконденсатных жидкостей, так как меньше компонент газоконденсатной жидкости повторно конденсируется и подается назад в дистилляционную установку 21. В связи с этим для наиболее типичных составов сжиженного природного газа предпочтительно, чтобы доля пара в молях составляла не более 90%.
На фиг.4 показан предпочтительный вариант осуществления, соответствующий настоящему изобретению, в котором объединены процессы и устройства, показанные на фиг.2 и 3. Для подробного описания нужно смотреть приведенные выше описания фиг.1, 2 и 3.
В следующей таблице 1 приведены нижние и верхние границы температур и давлений потоков в различных трубопроводах, а также типовое значение температуры и давления в конкретном примере работы.
| Таблица 1 |
| Трубопровод |
Нижняя граница Т (°С) |
Верхняя граница Т (°С) |
Т (°С) |
Нижняя граница Р (бар) |
Верхняя граница Р (бар) |
Р (бар) |
| 1 |
-162 |
-120 |
-161 |
1.0 |
1.5 |
1.1 |
| 2 |
-162 |
-120 |
-161 |
5 |
50 |
33 |
| 7, 15, 17, 57 |
-140 |
-50 |
-81 |
5 |
50 |
33 |
| 20 |
-70 |
-20 |
-37 |
5 |
50 |
33 |
| 38 |
-10 |
150 |
90 |
2 |
45 |
29 |
| 40 |
-90 |
-10 |
-28 |
2 |
45 |
29 |
| 42, 48, 49 |
-60 |
-30 |
-49 |
5 |
50 |
33 |
| 55 |
-110 |
-162 |
-128 |
5 |
50 |
33 |
| 66 |
-40 |
0 |
-19 |
5 |
50 |
33 |
| 67 |
-110 |
-162 |
-140 |
20 |
140 |
70 |
В примере, к которому относится таблица 1, доля пара в молях в трубопроводе 7 составляла 66%, а в трубопроводе 42 – 69%. Доля пара в молях в трубопроводе 20 составляла 75%. Вычисления, основанные на балансе массы, показывают, что устройство и процесс с фиг.4 обеспечивают эффективные средства для извлечения компонент газоконденсатной жидкости из сырьевого потока сжиженного природного газа, превосходящего 90%.
В контексте настоящего описания теплообменные устройства могут содержать один теплообменник или несколько теплообменников, расположенных параллельно и/или последовательно.
Формула изобретения
1. Способ обеднения потока (1) сжиженного природного газа посредством отделения газоконденсатной жидкости (35) из потока сжиженного природного газа, содержащий, по меньшей мере, следующие этапы: нагревание сырьевого потока (1), содержащего поток сжиженного природного газа, в первом теплообменном устройстве (5), что делается с целью формирования промежуточного сырьевого потока (7); разделение промежуточного сырьевого потока (7), по меньшей мере, на первую часть (17) и вторую часть (19); прохождение первой части (17) к дистилляционной установке (21) и подача первой части (17) в дистилляционную установку (21) через первую точку подачи (25); прохождение второй части (19) ко второму теплообменному устройству (26), где вторая часть дополнительно нагревается и затем подается (20) в дистилляционную установку (21) через вторую точку (29) подачи; отведение потока (35) жидкости, содержащей газоконденсатную жидкость, из нижней части дистилляционной установки (21); отведение потока (40) парообразного дистиллята из верхней части дистилляционной установки (21); прохождение потока (40) парообразного дистиллята во вторую теплообменную установку (26), где он охлаждается с помощью второй части (19) промежуточного сырьевого потока (7), в результате чего образуется промежуточный обедненный поток (48), по меньшей мере, часть которого далее проходит в первое теплообменное устройство (5) и дополнительно охлаждается с помощью сырьевого потока (1) и образуется поток (55) обедненного природного газа; где при охлаждении потока (40) парообразного дистиллята во втором теплообменном устройстве (26) он частично конденсируется и образуется промежуточный конденсат, по меньшей мере, часть (49) которого проходит в дистилляционную установку (21) через третью точку (51) подачи и образуется промежуточный пар, который проходит в первое теплообменное устройство (5).
2. Способ по п.1, в котором нагревание сырьевого потока в первом теплообменном устройстве (5) приводит к частичному испарению сырьевого потока, причем промежуточный сырьевой поток (7) содержит смесь жидкой фракции промежуточного сырьевого потока и парообразной фракции промежуточного сырьевого потока, и в котором, по меньшей мере, часть жидкой фракции (15) промежуточного сырьевого потока разделена, по меньшей мере, на первую (17) и вторую (19) части.
3. Способ по п.2, в котором смесь проходит в сосуд (9) разделения сырьевого потока, из которого жидкая фракция (15) промежуточного сырьевого потока и парообразная фракция (57) промежуточного сырьевого потока соответственно вытягиваются до разделения потока, по меньшей мере, на первую (17) и вторую (19) части.
4. Способ по п.1, в котором вторая точка (29) подачи расположена ниже первой точки (25) подачи.
5. Способ по п.1, в котором третья точка (51) подачи расположена ниже первой точки (25) подачи.
6. Способ по п.1, в котором третья точка (51) подачи расположена выше второй точки (29) подачи.
7. Способ по п.1, в котором поток (40) парообразного дистиллята сжимается до прохождения во второе теплообменное устройство (26).
8. Способ по п.1, в котором поток обедненного природного газа в дальнейшем регазифицируется.
9. Поток обедненного сжиженного природного газа, получаемый согласно способу по любому из пп.1-8.
10. Устройство для обеднения потока (1) сжиженного природного газа посредством отделения газоконденсатной жидкости (35) из потока сжиженного природного газа, указанное устройство содержит, по меньшей мере, следующее: первое теплообменное устройство (5), которое приспособлено для приема сырьевого потока (1), содержащего поток сжиженного природного газа, и которое содержит выпускное отверстие (6), предназначенное для вывода промежуточного сырьевого потока (7); второе теплообменное устройство (26), соединенное с выпускным отверстием (6) первого теплообменного устройства (5); дистилляционная установка (21), которая содержит, по меньшей мере, первую, вторую и третью точки (25, 29, 51) подачи, нижняя часть снабжена выпускным отверстием (31), предназначенным для отведения потока (35) жидкости, содержащей газоконденсатную жидкость, а верхняя часть снабжена выпускным отверстием (39) парообразного дистиллята и соединена с первым теплообменным устройством (5), по меньшей мере, через второе теплообменное устройство (26); распределительное устройство (14), соединенное с выпускным отверстием (6) первого теплообменного устройства (5), распределительное устройство (14) содержит первое выпускное устройство (6), соединенное с первой точкой (25) подачи дистилляционной установки (21) и содержит второе выпускное отверстие, соединенное со второй точкой (29) подачи с помощью второго теплообменного устройства (26); и первый сепаратор (43) газ/жидкость, расположенный ниже по потоку относительно выпускного отверстия (39) парообразного дистиллята и между вторым теплообменным устройством (26) и первым теплообменным устройством (5), первый сепаратор (43) содержит выпускное отверстие (45), соединенное с третьей точкой (51) дистилляционной установки (21), и выпускное отверстие (47), соединенное с первым теплообменным устройством (5).
11. Устройство по п.10, дополнительно содержащее второй сепаратор (9) газ/жидкость, впускное отверстие которого соединено с выпускным отверстием (6) первого теплообменника (5), а нижнее выпускное отверстие (11) которого соединено с распределительным устройством (14).
12. Устройство по любому из пп.10 и 11, дополнительно содержащее компрессор (63), расположенный между выпускным отверстием (39) дистилляционной установки (21) и вторым теплообменным устройством (26).
РИСУНКИ
|
|