|
(21), (22) Заявка: 2008113728/06, 11.04.2008
(24) Дата начала отсчета срока действия патента:
11.04.2008
(43) Дата публикации заявки: 20.10.2009
(46) Опубликовано: 10.04.2010
(56) Список документов, цитированных в отчете о поиске:
SU 1062479 А (ХАРЧЕНКО А.Б. и др.), 23.12.1983. SU 699290 А (ГПИ “САНТЕХПРОЕКТ»), 25.11.1979. RU 2084768 C1 (МАЗИЙ В.И.), 20.07.1997. GB 1401834 A (HITACHI), 30.07.1975. US 5303561 A (BAHEL et al.), 19.04.1994.
Адрес для переписки:
107392, Москва, ул. Знаменская, 38, корп.2, кв.4, В.И. Мазий
|
(72) Автор(ы):
Мазий Василий Иванович (RU)
(73) Патентообладатель(и):
Мазий Василий Иванович (RU)
|
(54) СИСТЕМА ВОЗДУШНОГО ОТОПЛЕНИЯ, ВОЗДУШНОГО ОХЛАЖДЕНИЯ ПОМЕЩЕНИЙ И СПОСОБ ПОЛУЧЕНИЯ ЧИСТОГО ВОЗДУХА
(57) Реферат:
Система и способ предназначены для обеспечения комфортных условий в различных помещениях. Система состоит из электродвигателя аммиачного компрессора, теплообменников, редукционного управляемого клапана, тепловых реле, входящих в состав аммиачного теплового насоса, центробежных воздуходувок, воздухопроводов подачи кондиционированного воздуха и забора чистого. Чистый воздух получаем за счет прокачки атмосферного воздуха по воздухопроводам из районов (леса, моря, гор), удаленных от городов и транспортных магистралей. Технический результат – экономия топлива, расходуемого на теплоснабжение и кондиционирование помещений. 2 н.п. ф-лы, 3 ил.
Изобретение «Система воздушного отопления, воздушного охлаждения помещений и способ получения чистого воздуха» относится к области энергетики и может быть использовано в коммунальном хозяйстве для обогрева и охлаждения помещений.
Известны различные системы отопления помещений: водяное отопление с использованием в качестве источника тепла углеводородных топлив. Известны системы водяного и воздушного отопления помещений с использованием электроэнергии. Известны системы отопления помещений с использованием тепловых насосов.
Известны различные системы кондиционирования воздуха, использующие для своей работы электроэнергию. SU 1062479 А, (ХАРЧЕНКО А.Б. и др.), 23.12.1983.
Общий недостаток существующих систем отопления и кондиционирования помещений связан с большими расходами углеводородных топлив. Так, например, углеводородное топливо используется в котельных на 80% при отоплении помещений и на 35% при производстве электроэнергии.
Задачей изобретения является экономия углеводородных топлив и электроэнергии при воздушном отоплении, воздушном охлаждении помещений.
Указанная задача экономии энергии в системе воздушного отопления и охлаждения помещений достигается благодаря использованию аммиачного теплового насоса (АТН), работающего в режиме отопления помещений и в режиме охлаждения помещений.
Система воздушного отопления, воздушного охлаждения помещений состоит из электродвигателей аммиачного компрессора, теплообменников, тепловых реле, центробежных воздуходувок, редукционного управляемого клапана, воздухопроводов, при этом: выход из аммиачного компрессора связан с входом в аммиачно-воздушный теплообменник конденсации аммиака, выход из которого связан с входом в управляемый редукционный клапан, выход из которого связан с входом в аммиачно-воздушный теплообменник кипения аммиака, выход из которого связан с входом в аммиачный компрессор; далее заборник чистого воздуха связан с входом в воздухопровод, выход из которого связан с входом в центробежную воздуходувку атмосферного воздуха, выход из которой связан с входом в воздушно-аммиачный радиатор выход из которого связан с выходным соплом подогретого атмосферного воздуха; далее выход из заборника воздуха помещений связан с входом в центробежную воздуходувку воздуха помещений, выход из которой связан с входом в воздушно-аммиачный радиатором воздуха помещений, выход из которого связан с входом в воздухопровод воздуха помещений, выход из которого связан с выходным соплом воздуха помещений; далее переключатель режимов работы аммиачного теплового насоса связан с тепловым реле включения и выключения главного электродвигателя, связан с тепловым реле включения и выключения реверсивного электродвигателя, связан с тепловым реле включения Т1‘=260К (const) и выключения реверсивного электродвигателя при кондиционировании помещений; центробежная воздуходувка воздуха помещений, аммиачный компрессор, главный электродвигатель, центробежная воздуходувка атмосферного воздуха – все установлены на одном валу.
Способ получения чистого воздуха помещений обеспечивается установкой заборника чистого воздуха в зонах чистого атмосферного воздуха (море, горы, леса) и строительством воздухопроводов.
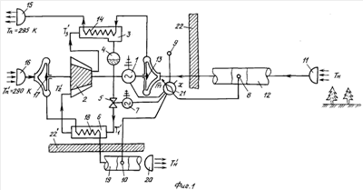
На фиг.1 изображена кинематическая схема системы воздушного отопления, воздушного охлаждения помещений и способа получения чистого воздуха.
На фиг.2 показан термодинамический цикл аммиачно-теплового насоса в режиме отопления.
На фиг.3 показан термодинамический цикл аммиачно-теплового насоса в режиме охлаждения.
Система воздушного отопления, воздушного охлаждения помещений включает в себя:
1 – главный электродвигатель
2 – аммиачный компрессор
3 – аммиачно-воздушный теплообменник конденсации NH3
4 – ресивер (сборник) жидкого аммиака
5 – управляемый редукционный клапан
6 – аммиачно-воздушный теплообменник кипения аммиака
7 – реверсивный электродвигатель
8 – тепловое реле включения и выключения реверсивного электродвигателя при воздушном отоплении помещений
9 – тепловое реле включения и выключения главного электродвигателя
10 – тепловое реле включения Т1‘=260К (const) и выключения реверсивного электродвигателя при кондиционировании помещений
11 – заборник чистого воздуха (установленный в горах, на море или в хвойном лесу)
12 – воздухопровод атмосферного воздуха
13 – центробежная воздуходувка атмосферного воздуха
14 – воздушно-аммиачный радиатор атмосферного воздуха
15 – выходное сопло подогретого (охлажденного) атмосферного воздуха, установленного в помещении
16 – заборник воздуха помещений
17 – центробежная воздуходувка воздуха помещений
18 – воздушно-аммиачный радиатор воздуха помещений
19 – воздухопровод воздуха помещений
20 – выходное сопло воздуха помещений
21 – переключатель режимов работы аммиачного теплового насоса (АТН)
22 – отапливаемые (охлаждаемые) помещения
Работа системы воздушного отопления, воздушного охлаждения помещений в режиме «отопления».
В этом случае переключатель режимов работы АТН (21) устанавливается в положение «т» – тепло, при этом тепловое реле (10) отключается, а включается в работу тепловое реле (8), тепловое реле (9) переводит включение и выключение главного электродвигателя 91) в режим работы, когда Т2‘>Тн (например, Тн=260К (-13°С), Т2‘=310К (+37°С).
При этом принимаем: Tп – температура помещений максимальная, когда главный электродвигатель 1 отключается, Tп=295К (+22°С);
Tп‘ – температура помещений минимальная, когда главный электродвигатель 1 включается, Tп‘=290К (+17°С).
Аммиачный тепловой насос (АТН) работает согласно термодинамическому циклу, изображенному на фиг.2, где:
Линия а-к – линия начала кипения NH3.
Точка «к» – точка критических параметров NH3.
Линия к-б – линия конца кипения NH3.
Линия 1-2 – адиабата сжатия паров NH3.
Линия 2-3 – изотерма (изобара) конденсации паров NH3.
Линия 3-4 – изобара охлаждения жидкого аммиака.
Линия 4-5 – адиабата расширения аммиака.
Линия 5-1 – изотерма (изобара) кипения аммиака.
Работа системы воздушного отопления, воздушного охлаждения помещений в режиме «охлаждения».
В этом случае переключатель режимов работы АТН (21) устанавливается в положение «х» – холод, при этом тепловое реле (8) отключается, а включается в работу тепловое реле (10), тепловое реле (9) переводит включение и выключение главного электродвигателя (1) в режим работы, когда Т2‘<Тн (например, Т2‘=280К (+7°С), Tn‘=320К (+47°С)).
При этом принимаем Tп=295К; Tп‘=290К.
Аммиачный тепловой насос (АТН) работает согласно термодинамическому циклу, изображенному на фиг.3, где:
Линия а’-к’ – линия начала кипения аммиака.
Точка «к’» – точка критических параметров NH3.
Линия к’-б’ – линия конца кипения аммиака.
Линия 1′-2′ – адиабата сжатия паров аммиака.
Линия 2′-3′ – изотерма (изобара) конденсации паров NH3.
Линия 3′-4′ – адиабата расширения аммиака.
Линия 5′-1′ – изотерма (изобара) кипения NH3.
Кинематическая связь системы воздушного отопления, воздушного охлаждения помещений и способа получения чистого воздуха.
Выход из аммиачного компрессора (2) связан с входом в аммиачно-воздушный теплообменник конденсации аммиака (3), выход из которого связан с входом в управляемый редукционный клапан (5), выход из которого связан с входом в аммиачно-воздушный теплообменник (6) кипения аммиака, выход из которого связан с входом в аммиачный компрессор (2), далее заборник чистого воздуха (11) связан с входом в воздухопровод чистого воздуха (12), выход из которого связан с входом в центробежную воздуходувку атмосферного воздуха (13), выход из которой связан с входом в воздушно-аммиачный радиатор атмосферного воздуха (14), выход из которого связан с выходным соплом подогретого (охлажденного) атмосферного воздуха, установленного в помещении (15); далее заборник воздуха помещений (16) связан с центробежной воздуходувкой воздуха помещений (17), выход из которой связан с воздушно-аммиачным радиатором воздуха помещений (18), выход из которого связан воздухопроводом воздуха помещений (19), выход из которого связан с выходным соплом воздуха помещений (20); далее переключатель режимов работы аммиачного теплового насоса (21) связан с тепловым реле включения и выключения реверсивного электродвигателя при воздушном отоплении помещений (8), связан с тепловым реле включения и выключения реверсивного электродвигателя при кондиционировании помещений (10), связан с тепловым реле включением и выключением главного электродвигателя (1).
Возможность изготовления системы воздушного отопления, воздушного охлаждения и способа получения чистого воздуха подтверждается: действующими аммиачными тепловыми насосами, центробежными воздуходувками, теплообменниками, действующими тепловыми реле, а также элементарным термодинамическим расчетом «Системы ».
Элементарный термодинамический расчет «Системы » в режиме отопления помещений (переключатель «Системы » установлен в режим «т» – отопление помещений, тепловое реле (10) отключено, тепловое реле (8) включено, в этом случае главный электродвигатель (1) отключается при Tп=295К и включается при Tп=290К).
Аммиачный тепловой насос работает в режиме Т2=Т3=310К – const с одной стороны и Т5=Т1=F(Р1) с другой стороны, или P1=f(T1), что одно и то же.
Принимаем параметры аммиачного теплового насоса (АТН) (см. фиг.2):
Т1=275К (+2°С); ;
Т2=Т3=310К (+37°С);
;
Т4=285K (+12°С);
Q310 – теплота конденсации NH3; Q310=266,384 ккал/кг.
S2 – энтропия точки 
S3 – энтропия точки 
S4 – энтропия точки 
Q2 – теплота охлаждения жидкого аммиака от Т3=310К до Т4=285К.

Q2 – суммарная теплота конденсации и охлаждения NH3
Q=Q310+ Q2=266,384+26,575=292,959 ккал/кг.
Q275 – теплота кипения аммиака при температуре +275К

Qaк – теплота, эквивалентная мощности, потребной для привода аммиачного компрессора,

1 – коэффициент теплопроизводительности АТН
.
Принимаем температуру атмосферного воздуха Тн=250К (-23°С).
Qн=СрнТн=0,2398×250=59,95 ккал/кг.
Qп – удельная теплота помещений при Тп=295К
Qп=СpпТп=0,2402×295=70,859 ккал/кг.
Gв – секундный расход атмосферного воздуха через центробежную воздуходувку (13)

Чтобы рассчитать Тн‘ необходимо определить Qн‘ из условия, что расход воздуха Gв, прикачиваемого через центробежную воздуходувку (13), равно расходу воздуха Gв, прокачиваемого через центробежную воздуходувку воздуха помещений,
откуда 
Из уравнения (1)

э – кпд производства электроэнергии = 0,3.
Экономия топлива системы воздушного отопления ( от= э 1=0,3×8,79=2,63) или экономия на 263%.
Элементарный термодинамический расчет «Системы » в режиме охлаждения помещений (переключатель «Системы » установлен в режиме «х» – охлаждение помещений, тепловое реле 10 включено, тепловое реле 8 отключено, в этом случае главный электродвигатель 1 отключается при Tп‘=290К (+17°С) и включается при Tп=295К (+22°С).
Принимаем параметры аммиачного теплового насоса (АТН) (см. фиг.3):
 
 
Принимаем Тн=320К (+47°С).
Из термодинамических таблиц для NH3
Q280 – теплота конденсации NH3 при Т2=Т3=280К (+7°С)
Q280=295,667 ккал/кг;


Q260 – теплота кипения NH3 при Т5=Т1=260К (-13°С)



Gв – секундный расход воздуха, поступающий в центробежную воздуходувку атмосферного воздуха (13).
Qн=320×0,2405=76,96 ккал; QП=295×0,2402=70,859 ккал;

Температуру воздуха на выходе из помещений (Тн‘) рассчитаем из условия равенства расхода воздуха отсюда 


В режиме охлаждения помещений параметры работы АТН остаются постоянными.
э – кпд производства электроэнергии = 0,3 где
Экономия топлива системы воздушного отопления ( от= э 2).
2 – коэффициент теплопроизводительности АТН, работающего в режиме кондиционирования,

от=0,3×14,03=4,2 или экономия на 420%.
Формула изобретения
1. Система воздушного отопления, воздушного охлаждения помещений, состоящая из электродвигателей аммиачного компрессора, теплообменников, тепловых реле, центробежных воздуходувок, редукционного управляемого клапана, воздухопроводов, отличающаяся тем, что выход из аммиачного компрессора (2) связан с входом в аммиачно-воздушный теплообменник конденсации аммиака (3), выход из которого связан с входом в управляемый редукционный клапан (5), выход из которого связан с входом в аммиачно-воздушный теплообменник кипения аммиака (6), выход из которого связан с входом в аммиачный компрессор (2), далее заборник чистого воздуха (11) связан с входом в воздухопровод (12), выход из которого связан с входом в центробежную воздуходувку атмосферного воздуха (13), выход из которой связан с входом в воздушно-аммиачный радиатор (14), выход из которого связан с выходным соплом подогретого атмосферного воздуха (15); далее выход из заборника воздуха помещений (16) связан с входом в центробежную воздуходувку воздуха помещений (17), выход из которой связан с входом в воздушно-аммиачный радиатором воздуха помещений (18), выход из которого связан с входом в воздухопровод воздуха помещений (19), выход из которого связан с выходным соплом воздуха помещений (20), далее переключатель режимов работы аммиачного теплового насоса (21) связан с тепловым реле включения и выключения главного электродвигателя (9), связан с тепловым реле включения и выключения реверсивного электродвигателя (7), связан с тепловым реле включения Т1‘=260°К (const) и выключения реверсивного электродвигателя при кондиционировании помещений (10); центробежная воздуходувка воздуха помещений (17), аммиачный компрессор (2), главный электродвигатель (1), центробежная воздуходувка атмосферного воздуха (13) – все установлены на одном валу.
2. Способ получения чистого воздуха помещений обеспечивается установкой заборника чистого воздуха в зонах чистого атмосферного воздуха (море, горы, леса) и строительством воздухопроводов.
РИСУНКИ
|