|
|
(21), (22) Заявка: 2009105613/03, 19.02.2009
(24) Дата начала отсчета срока действия патента:
19.02.2009
(46) Опубликовано: 10.04.2010
(56) Список документов, цитированных в отчете о поиске:
RU 2323388 C1, 27.04.2008. RU 2249769 C1, 10.04.2005. RU 2252365 C1, 20.05.2005. RU 2255640 C1, 10.07.2005. RU 2249768 C1, 10.04.2005. US 2001035175 A, 01.11.2001.
Адрес для переписки:
125130, Москва, ул. З. и А. Космодемьянских, 11-15, кв.69, А.Д. Царькову
|
(72) Автор(ы):
Сагаков Станислав Святославович (RU), Ивацевич Борис Павлович (RU), Шашин Алексей Васильевич (RU), Сёмкин Андрей Станиславович (RU)
(73) Патентообладатель(и):
Сагаков Станислав Святославович (RU), Ивацевич Борис Павлович (RU)
|
(54) МОБИЛЬНАЯ ПЕЧКА
(57) Реферат:
Мобильная печка для туристов в походном положении убирается в меньший котелок. В развернутом положении мобильная печка может одновременно нагревать от одного до трех котелков. Мобильная печка содержит котелки, трубу и корпус, выполненный из трех прямоугольных секций с возможностью вложения секций друг в друга. В правом верхнем углу боковых стенок средней по размеру секции установлена ось, на которой с возможностью продольных перемещений и разворотов, за счет направляющих прорезей, установлены остальные секции. Трехзвенная прямоугольная труба печки выполнена на двух осях, с возможностью разворота звеньев и вложения их друг в друга. Технический результат: удобство эксплуатации. 5 ил.
Назначение изобретения
Изобретение предназначено для приготовления пищи в полевых условиях.
Предыдущий уровень техники
Известна складная печка (см. патент RU 2323383), способная одновременно нагревать один или два котелка. Недостаток прототипа заключается в том, что три прямоугольные секции, соединенные двумя осями и вложенные друг в друга, при транспортировке переводятся в рабочее положение и фиксируются отдельной спицей через отверстия в секциях. При этом отверстия трудно совместить в одно, чтобы вставить спицу. Фиксация спицы дополнительно затрудняется как в темное время суток, так и за счет остаточных термических деформаций отдельных секций печки в процессе ее эксплуатации.
Раскрытие изобретения
С целью устранения изложенных выше недостатков корпус печки выполнен из трех прямоугольных секций с возможностью вложения секций друг в друга. При этом в правом верхнем углу боковых стенок средней по размеру секции установлена ось, на которой с возможностью продольных перемещений и разворотов, за счет направляющих прорезей, установлены остальные секции. Трехзвенная прямоугольная труба печки выполнена на двух осях с возможностью разворота звеньев и вложения их друг в друга.
Пояснения к чертежам
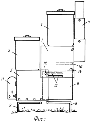
Предложенное техническое решение поясняется схематично для двухкотелковой печки – фиг.1, для трехкотелковой печки – фиг.2а и 2б, для трехзвенной трубы – фиг.3 и печка в транспортном положении – фиг.4
Цифрами обозначены: 1, 2 и 3 – котелки, 4 – труба, 5 – средняя секция, 6 – меньшая секция, 7 – большая секция, 8 и 9 – шарнирные опоры, 10 – дефлектор, 11 – дверца, 12 – ось, 13 – прорезь, 14 – фиксатор и 15 – ось трубы.
Работа изобретения
Перевод двухкотелковой печки из транспортного (фиг.4) в рабочее положение осуществляется следующим образом (см. фиг.1).
Из большого котелка 1 вынимается меньший котелок 2, а из меньшего котелка 2 достается трехсекционная печка. На шарнирах разворачиваются опоры 8 и 9. По направлению своей прорези 13 (показанной пунктирной линией) из средней секции 5 телескопически выдвигается вправо меньшая секция 6 (по оси 12). Далее большая секция 7 по своей прорези 13 (показана сплошной линией) поднимается вверх, разворачивается на угол 90° по часовой стрелке относительно оси 12. При этом секция фиксируется на меньшей секции 6 фиксатором 14. Первоначально находящаяся внутри секции 6 труба 4 извлекается и ее звенья разворачиваются на осях 15 (см. фиг.3). При этом необходимо отметить, что два нижних звена трубы 4 имеют только по три боковых стенки. Четвертой стенкой служит верхний котелок (это сделано для увеличения теплоотдачи продуктов сгорания). Верхнее звено трубы может отсутствовать. Дефлектор 10 служит для увеличения КПД работы печки. Геометрия печки выбрана таким образом, что при необходимости котелки могут меняться местами. При снятии с печки одного из котелков на его место устанавливается дефлекторный уголок, закрывающий образовавшееся отверстие.
После окончания работы мобильная печка переводится в походное положение в обратном порядке.
Геометрия печки по фиг.2а и 2б отличается более удлиненными секциями с целью установки дополнительного третьего котелка 3, телескопически вставленного во второй котелок 2. Дефлектор 10 установлен не как в двухкотелковой печке на большей секции 7, а шарнирно закреплен на трубе. Кроме этого меньшая секция 6 выдвигается из средней секции 5, путем разворота на 180° относительно оси 12, после чего опускается по прорези 13 (показана пунктирной линией).
Необходимо отметить, что при транспортировке как печка может убираться внутрь меньшего котелка, так и наоборот – котелки могут убираться в печку.
Формула изобретения
Мобильная печка, содержащая котелки, трубу и корпус, выполненный из трех прямоугольных секций с возможностью вложения секций друг в друга, отличающаяся тем, что в правом верхнем углу боковых стенок средней по размеру секции установлена ось, на которой с возможностью продольных перемещений и разворотов за счет направляющих прорезей установлены остальные секции, а трехзвенная прямоугольная труба печки выполнена на двух осях с возможностью разворота звеньев и вложения их друг в друга.
РИСУНКИ
|
|