|
|
(21), (22) Заявка: 2007104167/06, 05.07.2005
(24) Дата начала отсчета срока действия патента:
05.07.2005
(30) Конвенционный приоритет:
05.07.2004 NZ 533910
(43) Дата публикации заявки: 10.08.2008
(46) Опубликовано: 10.04.2010
(56) Список документов, цитированных в отчете о поиске:
US 6230736 A, 15.05.2001. US 5361802 A, 08.11.1994. SU 1662356 A3, 07.07.1991. US 4655253 A, 07.04.1987. RU 2018753 C1, 30.08.1994. SU 1721352 A1, 23.03.1992. GB 2011583 A, 11.07.1979. US 4373545 A, 15.02.1983. US 4304251 A, 08.12.1981. US 4901751 A, 20.02.1990. WO 0079234 A1, 28.12.2000.
(85) Дата перевода заявки PCT на национальную фазу:
05.02.2007
(86) Заявка PCT:
NZ 2005/000157 20050705
(87) Публикация PCT:
WO 2006/004442 20060112
Адрес для переписки:
103735, Москва, ул. Ильинка, 5/2, ООО “Союзпатент”, пат.пов. Ю.В.Облову, рег. 905
|
(72) Автор(ы):
МЭЙСОН Шейн Майкл (NZ)
(73) Патентообладатель(и):
ТАЙКО ФЛОУ КОНТРОУЛ ПАСИФИК ПТИ ЛИМИТЕД (NZ)
|
(54) МОНИТОРИНГ СОСТОЯНИЯ КЛАПАНА
(57) Реферат:
Группа изобретений относится к арматуростроению и предназначена для определения состояния клапана, используемого в системах по приготовлению продуктов питания, напитков и лекарств. Клапанное устройство содержит клапан (1), привод (2) и датчик (3) утечки. Корпус (4) клапана содержит первую и вторую камеры (6, 8) клапана, соединенные с соответствующими патрубками (10 и 12, 14 и 16) клапана. Камеры соединены с помощью переходного канала (18). Привод может установить клапан в одно из трех возможных состояний. В первом «открытом» состоянии переходной канал открыт и первая и вторая камеры клапана сообщаются через переходной канал. Во втором «закрытом» состоянии переходной канал закрыт первым и вторым уплотнениями (24, 26), которые расположены в соответствующих местах канала и уплотняют пространство между первой и второй камерами клапана и первую камеру (28) утечки в области, являющейся частью переходного канала между двумя уплотнениями. В третьем состоянии «очистки» одно из уплотнений не находится в рабочем положении, что делается для соединения соответственно или первой, или второй камеры клапана с первой камерой утечки. Оставшееся уплотнение находится в рабочем положении. Датчик потока соединен с первой камерой утечки с целью генерирования сигнала, который показывает наличие утечки из первой камеры утечки. Имеется способ мониторинга состояния управляемого упомянутого выше клапана. Группа изобретений направлена на повышение надежности работы клапана. 2 н. и 14 з.п. ф-лы, 2 ил.
Область техники, к которой относится изобретение
Настоящее изобретение относится к устройству и способу мониторинга состояния гидравлического клапана и, в частности, относится к мониторингу нежелательного потока через уплотнения клапана в случае, когда уплотнения находятся в рабочем положении, или относится к подтверждению желаемого потока через уплотнения в случае, когда уплотнения находятся в нерабочем положении.
Уровень техники
Обычно клапаны используются для управления потоком текучих сред при изготовлении и обработке большого количества изделий и материалов. Нарушения герметичности уплотнений могут привести к потерям в потоках, управляемых клапанами, или к загрязнению указанных потоков. Таким образом, желательно обнаруживать нарушения герметичности уплотнений на начальном этапе их эксплуатации до того, как утечка через уплотнение достигнет определенного уровня или загрязнит изделие. Отсутствие загрязнений особенно важно при приготовлении таких изделий, как продукты питания, напитки и лекарства, которые предназначены, например, для людей или животных.
Более того, многие изделия изготавливаются или обрабатываются партиями, и между партиями желательно или даже необходимо проводить очистку оборудования, например резервуаров и линий. Это делается для того, чтобы избежать взаимного загрязнения различных изделий или избежать накопления плесени, грибков, бактерий и других патогенных микроорганизмов. В таких ситуациях желательно убедиться в том, что нужные потоки очищающих или ополаскивающих текучих сред проходят через обрабатывающую установку.
В патенте США 4655253 описан запорный клапан, содержащий корпус клапана с двумя камерами, соединенными осевым каналом, ограниченным седлами клапана. Корпус клапана содержит две части, которые выполнены с возможностью независимого осевого перемещения в корпусе. Каждая часть содержит уплотнение, которое взаимодействует с одним из седел с целью перекрывания доступа между камерой и связанным с ней каналом. В варианте выполнения изобретения между седлами содержится пространство обнаружения утечки. Текучая среда, проходящая через седла в это пространство, выходит через канал, что позволяет получить визуальный сигнал, показывающий утечку, и позволяет избежать смешивания соответствующих текучих сред в двух камерах.
В патенте США 5361802 описан клапанный блок, содержащий металлические электроды. Если клапан блока негерметичен, то утечка текучей среды соединяет электроды в цепь и образуется сигнал, обрабатываемый анализатором, который включает сигнал тревоги, идентифицирующий неисправный клапан.
В патенте США 5594162 описан детектор утечки газа, выполненный с возможностью установки вокруг управляющего штока клапана с целью мониторинга утечки газообразных углеводородов из клапана.
В патенте США 5616829 описан клапан с детектором утечки, который отслеживает вибрации, порождаемые утечкой через седла или сальник/уплотнительный узел клапана. При обнаружении утечки в закрытом клапане он перемещается дальше в направлении закрывания, например, до тех пор, пока не исчезнет утечка, а следовательно, и вибрации.
Раскрытие изобретения
Задача изобретения заключается в том, чтобы предложить клапан с двойным уплотнением с улучшенной системой мониторинга состояния клапана. Другая задача изобретения состоит в том, чтобы предложить улучшенный способ мониторинга рабочего состояния клапана с двойным уплотнением.
Согласно первому аспекту изобретение в широком смысле представляет собой клапанное устройство, содержащее:
(а) клапан, содержащий корпус с первой и второй камерами, соединенными с соответствующими патрубками клапана, камеры соединены посредством переходного канала, указанный клапан по выбору может быть переключен в следующие состояния:
i) первое «открытое» состояние, в котором переходной канал открыт и первая и вторая камеры клапана сообщаются через переходной канал,
ii) второе «закрытое» состояние, в котором переходной канал закрыт первым и вторым уплотнениями, которые расположены в соответствующих местах канала и уплотняют пространство между первой и второй камерами клапана и первую камеру утечки в области, являющейся частью переходного канала между двумя уплотнениями, или
iii) третье состояние «очистки», в котором одно из двух уплотнений находится в нерабочем положении для соединения соответственно или первой, или второй камеры клапана с первой камерой утечки, при этом оставшееся уплотнение находится в рабочем положении,
(б) привод клапана, предназначенный для выборочного перевода клапана в любое из трех состояний в ответ на соответствующие сигналы управления, и
(в) датчик потока, соединенный с первой камерой утечки и предназначенный для генерирования выходного сигнала датчика потока, который показывает наличие утечки из первой камеры утечки, и блок управления клапана, который содержит, по меньшей мере, один порт ввода сигнала, на который передается выходной сигнал датчика потока, причем блок управления клапаном предназначен для:
генерирования, по меньшей мере, одного сигнала управления для установки клапана в соответствующее состояние из трех возможных,
реагирования на выходной сигнал датчика потока и проведения сравнения уровня утечки, определяемого выходным сигналом датчика потока, и заранее заданного уровня потока из первой камеры утечки, который связан с выбранным состоянием клапана, и
генерирования выходного сигнала блока управления, который вырабатывается на основе указанного выше сравнения и является индикатором наличия или отсутствия надлежащего функционирования клапана или нежелательной неисправности клапана.
Посредством выходного сигнала блока управления определяется неисправность клапана, при этом клапан находится во втором «закрытом» состоянии и неисправность заключается в наличии утечки, выходящей или из первой, или из второй камеры клапана и проходящей соответственно через первое или второе уплотнение в первую камеру утечки. В качестве альтернативы или в дополнение к указанному посредством выходного сигнала блока управления определяется надлежащее функционирование клапана, когда клапан находится в третьем состоянии «очистки» и надлежащее функционирование клапана заключается в наличии потока через уплотнение, находящееся в нерабочем положении, из соответствующей камеры клапана в первую камеру утечки.
Клапан может содержать третье уплотнение, расположенное между первым и вторым уплотнениями, при этом третье уплотнение предназначено для герметизации первой камеры утечки относительно соединенных с ней камер клапана и переходного канала, когда клапан находится в первом «открытом» состоянии. Предпочтительно посредством выходного сигнала блока управления определяется неисправность клапана, при этом клапан находится в первом «открытом» состоянии и неисправность заключается в наличии утечки через третье уплотнение в первую камеру утечки из сообщающихся первой и второй камер клапана и переходного канала.
Предпочтительно, чтобы первое и второе уплотнения были выполнены с возможностью крепления соответственно на первый и второй клапанные элементы; первый и второй клапанные элементы выполнены с возможностью независимого перемещения относительно корпуса клапана для перевода клапана в выбранное состояние, причем клапанное устройство содержит:
вторую камеру утечки, расположенную между первым элементом клапана и корпусом;
четвертое уплотнение, предназначенное для герметизации первого элемента клапана относительно корпуса клапана, четвертое уплотнение расположено между первой камерой клапана и второй камерой утечки;
третью камеру утечки, расположенную между вторым элементом клапана и корпусом клапана;
пятое уплотнение, предназначенное для герметизации второго элемента клапана относительно корпуса клапана, при этом пятое уплотнение расположено между второй камерой клапана и третьей камерой утечки; и
вторую и третью камеры утечки, присоединенные к датчику потока, причем утечка, проходящая через четвертое уплотнение и поступающая во вторую камеру утечки или проходящая через пятое уплотнение и поступающая в третью камеру утечки, направляется к датчику потока, а утечка через четвертое или пятое уплотнения определяется посредством выходного сигнала датчика потока.
Предпочтительно, что посредством выходного сигнала блока управления определяется неисправность клапана, при этом клапан находится в первом «открытом» состоянии или втором «закрытом» состоянии и неисправность заключается в наличии утечки из первой камеры клапана, проходящей через четвертое уплотнение во вторую камеру утечки, или утечки из второй камеры клапана, проходящей через пятое уплотнение в третью камеру утечки.
В датчике потока может быть выполнено цилиндрическое отверстие и установлена пара кольцеобразных электродов на расстоянии друг от друга вдоль оси и коаксиально по отношению к электроизолирующей стенке цилиндрического отверстия, а датчик потока соединен с первой камерой утечки, причем при утечке из первой камеры утечки, проходящей через цилиндрическое отверстие, поперек электродов, между ними образуется электропроводная перемычка.
Согласно второму аспекту изобретение относится к способу мониторинга состояния управляемого клапана, содержащего корпус клапана с первой и второй камерами клапана, соединенными с соответствующими патрубками клапана, при этом камеры соединены переходным каналом, и указанный клапан выполнен с возможностью переключения в следующие состояния:
i) первое «открытое» состояние, в котором переходной канал открыт, и первая, и вторая камеры клапана сообщаются посредством переходного канала,
ii) второе «закрытое» состояние, в котором переходной канал закрыт первым и вторым уплотнениями, которые расположены в соответствующих местах канала и предназначены для уплотнения пространства между первой и второй камерами клапана, а также первой камеры утечки в области, являющейся частью переходного канала между двумя уплотнениями, или
iii) третье состояние «очистки», в котором одно из двух уплотнений находится в нерабочем положении для соединения соответственно или первой или второй камеры клапана с первой камерой утечки, при этом оставшееся уплотнение находится в рабочем положении,
указанный способ состоит из следующих этапов:
(а) соединения датчика потока с первой камерой утечки, при этом датчик потока генерирует выходной сигнал датчика потока, для обнаружения утечки из первой камеры утечки;
(б) получения сигнала управления клапаном и выборочного перевода клапана в одно из трех возможных состояний в ответ на полученный сигнал управления;
(в) сравнения утечки, определенной выходным сигналом датчика потока, и заранее заданного уровня потока из первой камеры утечки, который связан с выбранным состоянием клапана, и
(г) генерирования выходного сигнала на основе сравнения, который является индикатором наличия или отсутствия надлежащего функционирования клапана или нежелательной неисправности клапана.
Посредством выходного сигнала, генерируемого на этапе (г) на основе сравнения, определяют неисправность клапана, когда клапан находится во втором «закрытом» состоянии и неисправность заключается в наличии утечки, выходящей или из первой, или из второй камеры клапана и проходящей соответственно через первое или второе уплотнение в первую камеру утечки. В качестве альтернативы или в дополнение к указанному посредством выходного сигнала, генерируемого на этапе (г) на основе сравнения, определяют надлежащее функционирование клапана, при этом клапан находится в третьем состоянии «очистки» и надлежащее функционирование клапана заключается в наличии потока через уплотнение, которое находится в нерабочем положении, из соответствующей камеры клапана в первую камеру утечки.
Предпочтительно, чтобы клапан содержал третье уплотнение, расположенное между первым и вторым уплотнениями, третье уплотнение предназначено для герметизации первой камеры утечки относительно соединенных с ней камер клапана и переходного канала, при этом клапан находится в первом «открытом» состоянии. Посредством выходного сигнала, основанного на сравнении и генерируемого блоком управления клапана, определяют неисправность клапана тогда, когда клапан находится в первом «открытом» состоянии и неисправность заключается в наличии утечки через третье уплотнение в первую камеру утечки из сообщающихся первой и второй камер клапана и переходного канала.
Предпочтительно, что первое и второе уплотнения крепят соответственно на первый и второй элементы клапана, при этом первый и второй элементы клапана выполнены с возможностью независимого перемещения относительно корпуса клапана для перевода клапана в выбранное состояние, и в указанном клапане выполняют:
вторую камеру утечки, расположенную между первым элементом клапана и корпусом;
четвертое уплотнение, предназначенное для герметизации первого элемента клапана относительно корпуса клапана и установленное между первой камерой клапана и второй камерой утечки;
третью камеру утечки, расположенную между вторым элементом клапана и корпусом клапана; и
пятое уплотнение, предназначенное для герметизации второго элемента клапана относительно корпуса клапана и расположенное между второй камерой клапана и третьей камерой утечки; причем
вторую и третью камеры утечки присоединяют к датчику потока, и утечку, проходящую через четвертое уплотнение и поступающую во вторую камеру утечки или проходящую через пятое уплотнение и поступающую в третью камеру утечки, направляют к датчику потока, при этом посредством выходного сигнала датчика потока обнаруживают утечку через четвертое или пятое уплотнения. Посредством выходного сигнала, генерируемого на основе сравнения, определяют неисправность клапана, когда клапан находится в первом «открытом» состоянии или втором «закрытом» состоянии и неисправность заключается в наличии утечки из первой камеры клапана, проходящей через четвертое уплотнение во вторую камеру утечки, или утечки из второй камеры клапана, проходящей через пятое уплотнение в третью камеру утечки.
В датчике потока выполняют цилиндрическое отверстие и устанавливают пару кольцеобразных электродов на расстоянии друг от друга вдоль оси и коаксиально по отношению к электроизолирующей стенке цилиндрического отверстия, при этом датчик потока соединяют с первой камерой утечки, так что утечка из первой камеры утечки, проходящая через цилиндрическое отверстие, поперек электродов, образует между ними электропроводную перемычку.
Краткое описание чертежей
Настоящее изобретение подробно описано со ссылками на предпочтительные варианты выполнения изобретения и со ссылками на прилагаемые чертежи, на которых представлено:
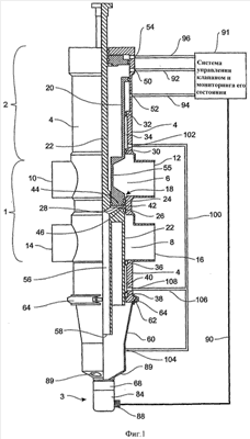
фиг.1 – поперечный разрез клапанной системы, соответствующей одному варианту выполнения изобретения,
фиг.2 – поперечный разрез датчика потока, который используется в качестве части клапанной системы по фиг.1.
Осуществление изобретения
На чертежах и в описании одинаковые или подобные элементы обозначены одинаковыми ссылочными позициями.
Клапанная система показана и описана в ситуации, когда клапан и привод расположены в предпочтительном вертикальном положении, ясно, что этот конкретный вариант положения показан и описан в целом для удобства и ясности описания и указанное положение не ограничивает изобретение.
На фиг.1 показан частичный поперечный разрез клапанной системы, соответствующей предпочтительному варианту выполнения настоящего изобретения. Клапанная система содержит клапан 1 и объединенный с ним привод 2 клапана, которые показаны с вырезом четвертой части; слева изображена внешняя сторона клапана и привода, а справа изображен поперечный разрез по плоскости, проходящей через продольную (то есть вертикальную) ось клапана и привода. Также на фиг.1 схематично показаны части системы, которые не относятся к клапану и приводу.
Клапан и привод обычно симметричны относительно продольной оси, за исключением случаев, на которые позже будет обращено внимание. Датчик 3 установлен на нижнем конце клапана.
Корпус 4 выполнен общим для клапана и привода, нижняя часть корпуса содержит две камеры клапана: первую верхнюю камеру 6 клапана и вторую нижнюю камеру 8 клапана. В варианте выполнения изобретения, показанном на фиг.1, верхняя камера клапана содержит левый патрубок 10 и правый патрубок 12, а нижняя камера клапана содержит левый патрубок 14 и правый патрубок 16. В другом варианте выполнения клапан может содержать другое количество патрубков, например только по одному патрубку в каждой камере или только один патрубок на обе камеры, нижнюю и верхнюю, или каждая или обе камеры клапана могут содержать большее количество патрубков.
Две камеры 6, 8 клапана соединены переходным каналом 18, который выполнен цилиндрической формы и соосен с корпусом клапана.
Клапан содержит первый клапанный элемент 20, выполненный в виде штока, и второй клапанный элемент 22, выполненный в виде штока. Штоки перемещаются по оси корпуса 4 клапана, при этом второй клапанный элемент 22 перемещается в целом вдоль оси корпуса, а первый клапанный элемент 20 соосен с верхней частью, но не с вершиной второго штока.
Верхнее или первое основное уплотнение 24 расположено по внешней границе первого клапанного элемента 20 рядом с его нижней частью. Нижнее или второе основное уплотнение 26 расположено по внешней границе второго клапанного элемента 22 в его средней части. Клапанные элементы могут перемещаться независимо друг от друга в осевом направлении корпуса 4 клапана с целью установки двух основных уплотнений в цилиндрической стенке (рабочее положение) в переходном канале 18. Первая камера 28 утечки расположена между первым и вторым основными уплотнениями 24, 26, как будет подробно описано в дальнейшем.
Первый клапанный элемент 20 перемещается в верхней паре кольцевых уплотнений 30, 32 корпуса, которые расположены на расстоянии друг от друга и плотно прилегают к внутренней стенке верхней части корпуса 4 клапана. Эти верхние уплотнения 30, 32 корпуса обеспечивают уплотнение между первым перемещающимся клапанным элементом 20 и корпусом 4 клапана. Вторая камера 34 утечки ограничена первым штоком, корпусом 4 клапана и двумя верхними уплотнениями 30, 32 корпуса.
Второй клапанный элемент 22 перемещается в нижней паре кольцевых уплотнений 36, 38 корпуса, которые расположены на расстоянии друг от друга и плотно прилегают к внутренней стенке нижней части корпуса 4 клапана. Эти нижние уплотнения 36, 38 корпуса обеспечивают уплотнение между вторым перемещающимся клапанным элементом 22 и корпусом 4 клапана. Третья камера 40 утечки ограничена вторым клапанным элементом, корпусом 4 клапана и двумя нижними уплотнениями 36, 38 корпуса.
Третье основное уплотнение 42 клапана расположено в нижней торцевой поверхности 44 первого клапанного элемента 20. Это третье основное уплотнение клапана может быть прижато к направленной вверх кромке 46 второго клапанного элемента 22 с целью закрывания внешней границы части первой камеры 28 утечки, расположенной между торцевой поверхностью 44 и кромкой 46.
На фиг.1 клапан показан в «закрытом» состоянии, в котором и первое, и второе основные уплотнения 24, 26 клапана расположены в переходном канале 18 с целью изоляции первой и второй камер 6, 8 клапана друг от друга и от первой камеры 28 утечки, которая герметизируется относительно первой камеры 6 клапана первым основным уплотнением 24 клапана и которая герметизируется относительно второй камеры 8 клапана вторым основным уплотнением 26 клапана. Так как первая камера 28 утечки расположена между двумя камерами клапана, то любая утечка через любое из основных уплотнений 24, 26 попадает в камеру 28 утечки, которая благодаря тому, что сообщается с атмосферой, как будет описано ниже, предотвращает взаимное загрязнение камер клапана в «закрытом» состоянии клапана, которое показано на фиг.1. Это «закрытое» состояние является нерабочим состоянием клапана.
В верхнем конце корпуса 4 клапана содержится привод 2 клапана. В варианте выполнения изобретения, показанном на фиг.1, клапан приводится в действие при подаче пневматического или гидравлического давления к отверстиям 50, 52, 54 управления. Подача давления призвана управлять осевым перемещением двух клапанных элементов 20, 22, что будет описано далее. Тем не менее, клапан может быть приведен в действие другими способами, например посредством электромоторов. Два штока клапана подпружинены винтовыми пружинами, которые не показаны. При сбрасывании давления текучей среды, приложенного к отверстиям управления, указанные пружины возвращают штоки к нерабочему «закрытому» состоянию.
Когда давление подается к первому отверстию 50 управления, первый клапанный элемент 20 двигается вниз, что приводит к тому, что третье уплотнение 42, расположенное в нижней торцевой поверхности 44 первого штока, прижимается к направленной вверх кромке 46 второго клапанного элемента 22 и, таким образом, герметизирует внешнюю границу первой камеры 28 утечки. Дальнейшее перемещение вниз первого штока увеличивает давление третьего уплотнения на второй шток и, следовательно, перемещает второй шток вниз, сдвигая второе основное уплотнение 26 с нижнего конца переходного канала 18. Дальнейшее перемещение вниз первого штока перемещает первое основное уплотнение 24 вниз через переходный канал, в результате чего в конечном счете первое основное уплотнение 24 отходит от нижнего конца переходного канала и, таким образом, клапан переходит в «открытое» состояние, в котором первая и вторая камеры 6, 8 сообщаются посредством переходного канала 18. В этом «открытом» состоянии суженная часть 55, расположенная рядом с нижним концом первого клапанного элемента 20, охватывает переходной канал 18 и, следовательно, обеспечивает свободное сообщение первой и второй камер 6, 8 клапана.
Как отмечено выше, клапан возвращается в нерабочее «закрытое» состояние при сбрасывании давления, приложенного к первому отверстию 50 управления.
Когда давление подается ко второму отверстию 52 управления, первый клапанный элемент 20 двигается наверх, что приводит к тому, что первое основное уплотнение 24 отходит от верхнего конца переходного канала 18 и, следовательно, первая камера 6 клапана начинает сообщаться с первой камерой 28 утечки. При описанном перемещении второй клапанный элемент 22 не перемещается из своего нерабочего положения, так что второе основное уплотнение 26 остается расположенным в переходном канале 18. В этом первом состоянии «очистки» очищающая текучая среда, проходящая через первую камеру клапана, течет мимо первого основного уплотнения 24 и третьего уплотнения 42 и поступает в первую камеру 28 утечки. Таким образом, можно промыть первую камеру 6 клапана и два уплотнения 24, 42 очищающей текучей средой, при этом очищающая текучая среда не может попасть во вторую камеру 8 клапана благодаря второму основному уплотнению 26.
Аналогично, когда давление подается к третьему отверстию 54 управления, второй клапанный элемент 22 движется вниз, что приводит к тому, что второе основное уплотнение 26 отходит от нижнего конца переходного канала 18 и, следовательно, вторая камера 8 клапана начинает сообщаться с первой камерой 28 утечки. При описанном перемещении первый клапанный элемент 20 не перемещается из своего нерабочего положения, так что первое основное уплотнение 24 остается расположенным в переходном канале 18. В этом втором состоянии «очистки» очищающая текучая среда, протекающая через вторую камеру клапана, проходит через второе основное уплотнение 26 и третье уплотнение 42 и поступает в первую камеру 28 утечки. Таким образом, можно промыть вторую камеру 8 клапана и два уплотнения 26, 42 очищающей текучей средой, при этом очищающая текучая среда не может попасть в первую камеру 6 клапана благодаря первому основному уплотнению 24.
Первая камера 28 утечки открыта в атмосферу благодаря расположенному по оси дренажному каналу 56, расположенному в нижней части второго штока клапанного элемента 22. Нижний конец этого дренажного канала заканчивается первым отверстием 58 утечки. Утечка, поступающая в первую камеру 28 утечки (например, через первое или второе основные уплотнения 24, 26, когда клапан находится в «закрытом» состоянии, или мимо третьего уплотнения 42, когда клапан находится в «открытом» состоянии, или очищающая текучая среда, протекающая мимо соответственно основных уплотнений 24, 26 и третьего уплотнения 42 в первом или втором состоянии «очистки»), проходит вниз через дренажный канал 56 и выливается из него через первое отверстие 58 утечки.
Клапанные элементы, выполненные в виде штоков клапана и полости корпуса клапана, в которых перемещаются штоки, предпочтительно в поперечном сечении выполнены круглой формы. Аналогично уплотнения также круглые в поперечном сечении. Вообще, как отмечено выше, клапан и привод, как правило, осесимметричны относительно продольной оси. Исключениями являются патрубки 10, 12, 14 и 16 клапана и отверстия 50, 52, 54 управления, которые обычно выровнены в соответствующих радиальных направлениях и которые могут содержать резьбу и быть выровненными в направлении, перпендикулярном продольной оси клапана.
В предпочтительном варианте выполнения изобретения, показанном на фиг.1, верхний край полого воронкообразного раструба 60 содержит направленный наружу фланец, посредством которого раструб закреплен вокруг нижнего конца корпуса 4 клапана к периферийному выступу 62 посредством хомута 64. Раструб вытянут настолько, чтобы в нем умещалось первое отверстие 58 утечки при самом нижнем положении второго клапанного элемента 22, то есть тогда, когда клапан находится в «открытом» состоянии.
На фиг.1 показан внешний вид датчика 3 потока, прикрепленного к нижнему концу раструба 60. Как лучше показано на фиг.2, показывающей поперечный разрез датчика потока, обычно датчик потока имеет цилиндрическую форму и содержит выровненное по оси и цилиндрическое сквозное отверстие 66.
Датчик 3 содержит верхнюю основную муфту 68 с верхней цилиндрической проточкой 70, посредством которой датчик крепится к цилиндрической горловине нижнего конца раструба 60. Винт 72 без головки закрепляет муфту относительно горловины. Верхняя электроизолирующая кольцеобразная втулка 74 установлена в нижней цилиндрической проточке в основной муфте 68. Кольцеобразный проводящий электрод 76 вставлен в проточку, расположенную в нижнем конце первой изолирующей втулки 74. Нижняя электроизолирующая кольцеобразная втулка 78 установлена в нижний конец кольцеобразного электрода. Кольцеобразная монтажная плата 80 окружает нижнюю изолирующую втулку и располагается на ней. На монтажной плате расположены электронные компоненты, одним из которых является светоизлучающий диод 82, индикация которого облегчает решение проблемы нахождения места неисправности. В предпочтительной конструкции, не показанной здесь, содержится три расположенных на одном расстоянии друг от друга светодиода, распространяющих свет в направлении 360° от места расположения датчика.
Цилиндрический корпус 84, выполненный из нержавеющей стали, вставлен в нижний конец основной муфты и окружает и, следовательно, укрывает изолирующие втулки, электрод, монтажную плату и светодиоды. Пустоты между электродами и корпусом заполнены электроизолирующим герметизирующим материалом 86. Соединительное устройство 88 установлено в цилиндрическом корпусе 84 и предназначено для соединения датчика с внешними устройствами для подачи электропитания к датчику и для передачи выходного сигнала датчика на удаленную систему. Самые внутренние стенки основной муфты 68, верхней и нижней изолирующих втулок и электрода являются цилиндрическими и имеют, по существу, одинаковый диаметр. Вместе эти стенки образуют цилиндрическое сквозное отверстие 66.
Основная муфта, винт без головки, электрод и корпус предпочтительно выполнены из нержавеющей стали, и в предпочтительном варианте выполнения SS304 основная муфта, винт без головки и электрод выполнены из нержавеющей стали, а в предпочтительном варианте выполнения SS316 корпус выполнен из нержавеющей стали. В качестве альтернативы они могут быть выполнены из любого другого материала, пригодного для использования совместно с рабочими и очищающими текучими средами, циркулирующими в клапане.
Верхняя и нижняя изолирующие втулки предпочтительно выполнены из материала, сопротивляющегося смачиванию рабочими и очищающими текучими средами, циркулирующими в клапане. В предпочтительном варианте выполнения изобретения изолирующие втулки выполнены из химически инертного и гидрофобного материала, предпочтительно из политетрафторэтилена (ПТФЭ). Использование ПТФЭ для изолирующих втулок снижает чувствительность датчика в условиях наличия влажности и отсутствия потока через датчик.
При достаточном потоке жидкости вниз по стенке сквозного отверстия 66 он обеспечивает проводящую электричество перемычку между основной муфтой, выступающей в виде одного электрода датчика, и кольцеобразным электродом, электронная схема инициирует на соединительном устройстве 88 выходной сигнал, показывающий этот поток. Также светоизлучающий диод 82 обеспечивает индикацию потока.
Таким образом, датчик инициирует сигнал в ответ на наличие потока, начинающегося в первой камере утечки и проходящего через дренажный канал 56, первое отверстие 58 утечки, раструб 60 и отверстие 66 в датчике потока.
В раструбе 60 выполнены дренажные отверстия 89, предназначенные для отвода излишнего потока, который не может легко пройти через отверстие 66 датчика потока. Следует учесть, что текучая среда, проходящая через клапан, может представлять собой газ или смесь газа и жидкости, это может привести к потоку жидкости через датчик. Например, когда пар используется для очистки клапана, поток через датчик может представлять собой конденсат, являющийся жидкостью.
Выходной сигнал датчика передается от соединительного устройства 88 через сигнальную шину 90 к внешнему порту системы 91 управления клапаном и мониторинга его состояния. Система управления клапаном и мониторинга его состояния инициирует сигналы управления в шинах 92, 94, 96 управления соответственно для отверстий 50, 52, 54 управления приводом 2 клапана. Указанные сигналы управления необходимы для установки клапана 1 в одно или другое состояние. В обычном приложении система управления клапаном и мониторинга его состояния предпочтительно содержит программируемое логическое устройство управления (ПЛУУ), систему контроля и сбора данных (СКСД) или любую систему управления и мониторинга на основе компьютера или микропроцессора.
Система 91 управления клапаном и мониторинга его состояния сравнивает выходной сигнал датчика и образец сигнала управления, который был послан для управления приводом 2 клапана с целью перевода клапана 1 в выбранное состояние. Система управления клапаном и мониторинга его состояния сравнивает поток текучей среды через датчик 3, указанный поток представлен выходным сигналом датчика, и заранее заданный желательный уровень потока из первой камеры 28 утечки через отверстие 58, связанный с выбранным состоянием клапана. Далее система управления клапаном и мониторинга его состояния генерирует выходной сигнал, который является следствием упомянутого выше сравнения и показывает наличие или отсутствие надлежащего функционирования клапана или нежелательной неисправности клапана. Выходной сигнал может быть передан удаленной системе для информирования оператора о наличии или отсутствии надлежащего функционирования клапана или нежелательной неисправности клапана. В качестве альтернативы, когда клапан является частью технологической установки, система управления технологической установкой может реагировать на выходной сигнал, показывающий наличие или отсутствие надлежащего функционирования клапана или нежелательной неисправности клапана.
В первом примере, когда клапан находится в «открытом» состоянии, заранее заданный желательный уровень связанного с этим состоянием потока из первой камеры 28 утечки в датчик 3 равен нулю, что соответствует ожидаемой ситуации, когда нет утечки через третье уплотнение 42 клапана. Если сигнал датчика показывает наличие потока в случае, когда клапан находится в этом состоянии, то система управления клапаном и мониторинга его состояния генерирует выходной сигнал, показывающий неисправность клапана. Наоборот, если сигнал датчика не показывает наличие потока в случае, когда клапан находится в этом состоянии, то система управления клапаном и мониторинга его состояния генерирует выходной сигнал, подтверждающий надлежащее функционирование клапана.
Во втором примере, когда клапан находится в нерабочем «закрытом» состоянии, заранее заданный желательный уровень связанного с этим состоянием потока из первой камеры 28 утечки в датчик 3 равен нулю, что соответствует ожидаемой ситуации, когда нет утечки через основные уплотнения 24, 26 клапана. Если сигнал датчика показывает наличие потока в случае, когда клапан находится в этом состоянии, то есть имеется утечка или из первой, или из второй камер 6, 8 клапана, проходящая через первое или второе основные уплотнения 24, 26 и поступающая в первую камеру 28 утечки, то система 91 управления клапаном и мониторинга его состояния генерирует выходной сигнал, показывающий неисправность клапана. Наоборот, если сигнал датчика не показывает наличие потока в случае, когда клапан находится в этом состоянии, то система управления клапаном и мониторинга его состояния генерирует выходной сигнал, подтверждающий надлежащее функционирование клапана.
В третьем примере, когда клапан находится в одном из состояний «очистки», заранее заданный желательный уровень связанного с этим состоянием потока из первой камеры 28 утечки в датчик 3 является значительным, что соответствует ожидаемой ситуации, когда очищающая текучая среда проходит через одну из камер клапана мимо основного уплотнения, находящегося в нерабочем положении. Если сигнал датчика показывает наличие потока в случае, когда клапан находится в этом состоянии, то система управления клапаном и мониторинга его состояния генерирует выходной сигнал, подтверждающий надлежащее функционирование клапана. Наоборот, если сигнал датчика не показывает наличие потока в случае, когда клапан находится в этом состоянии, то система управления клапаном и мониторинга его состояния генерирует выходной сигнал, показывающий отсутствие ожидаемого потока очищающей текучей среды, то есть неисправность клапана.
Диапазон утечек, обнаруживаемый описанной системой, и мониторинг потока, обеспечиваемый описанной системой, может быть легко увеличен, что будет описано ниже. Трубопровод 100 для текучей среды, соединенный с отверстием 102 утечки, которое ведет из второй камеры 34 утечки, соединен с отверстием 104, ведущим во внутреннюю часть раструба 60. Таким образом, утечка, прошедшая через верхнее уплотнение 30 корпуса во вторую камеру 34 утечки, попадает в раструб 60 и, следовательно, проходит вниз к датчику 3. Аналогично трубопровод 106 для текучей среды, соединенный с отверстием 108 утечки, которое ведет из третьей камеры 40 утечки, соединен с отверстием 104, ведущим во внутреннюю часть раструба 60. Таким образом, утечка, прошедшая через нижнее уплотнение 36 корпуса в третью камеру 40 утечки, попадает в раструб 60 и, следовательно, проходит вниз к датчику 3. Трубопроводы 100, 106 могут быть соединены и, таким образом, могут вести к общему отверстию 104, открытому во внутреннюю часть раструба, как описано выше и показано на фиг.1, или трубопроводы могут по отдельности присоединяться к соответствующим отверстиям. Благодаря этим дополнительным трубопроводам датчик 3 обнаруживает утечки, начинающиеся либо в первой, либо во второй камере 6, 8 и проходящие соответственно во вторую и третью камеры 34, 40 утечки.
Следует учесть, что мониторинг состояния клапана, описанный выше, может обеспечить индикацию многих состояний клапана с использованием только одного датчика потока. Также надо отметить, что для удобства на фиг.1 отверстие 104 показано прямо над одним из дренажных отверстий 89. Тем не менее, на практике дренажное отверстие не располагается прямо под отверстием 104, так что поток жидкости, поступающий в раструб через отверстие 104, течет вниз по внутренней стенке раструба и далее через отверстие 66 датчика 3.
Хотя при любом состоянии клапана может возникнуть некоторая неопределенность относительно причины потока в датчике, по меньшей мере, в некоторых случаях можно подождать перехода клапана в другое состояние или другие состояния и связать наличие потока в датчике с некоторым состоянием или состояниями. В некоторых случаях для конкретных состояний клапана любая неопределенность может быть преодолена следующим образом: связывая обнаруженный поток в датчике с известным наличием текучей среды и ее давлением в конкретных камерах клапана.
Даже при некоторой неопределенности указанная система полезна, так как может использоваться для подтверждения надлежащих потоков чистящих текучих сред, когда клапан находится в состоянии «очистки», и для подтверждения отсутствия утечки через уплотнения, находящиеся в рабочем положении, когда клапан находится в «открытом» или «закрытом» состоянии. Таким образом, можно получать раннее предупреждение о негерметичности уплотнения или неисправности системы. Более того, в противовес известным способам визуального предупреждения для клапана (например, основанные на выходе потока из первого отверстия 58 утечки) предупреждение, обеспечиваемое клапанной системой, описанной выше и показанной на фиг.1, может быть передано удаленной системе мониторинга и может использоваться для управления процессом, использующим клапанную систему.
Ясно, что изобретение не ограничивается конкретной конструкцией клапана, описанной выше, которая рассматривается только как пример одного предпочтительного варианта выполнения изобретения. Не выходя за границы объема изобретения, совместное использование датчика потока и клапана с двойным уплотнением может применяться при других конструкциях клапана с двойным уплотнением. Например, изобретение может использоваться в клапане с двойным уплотнением, в котором оба штока клапана приводятся в действие снизу. Подобные клапаны обычно используются для управления входными и/или выходными потоками внизу цистерн или подобных резервуаров.
Одно применение предпочтительного варианта выполнения изобретения связано с гигиеническими защищенными от смешивания (то есть с двойным уплотнением) клапанами, используемыми при обработке продуктов питания, например при обработке молочных продуктов, когда раннее предупреждение о негерметичности уплотнения и подтверждение надлежащего очищения очень важно для исключения риска смешивания продуктов питания и чистящих текучих сред или исключения риска того, что бактерии или другие патогенные микроорганизмы останутся в клапане.
Хотя описанный здесь предпочтительный вариант выполнения изобретения использует датчик, основанный на электропроводимости, могут использоваться другие датчики, обеспечивающие индикацию наличия или отсутствия потока. Такие датчики могут быть предпочтительными в случаях, когда поток текучей среды имеет недостаточную электропроводность и описанный выше датчик не способен легко определить наличие потока. Например, альтернативный датчик может быть основан на использовании электроемкости, когда проходящий поток служит в качестве диэлектрика между обкладками конденсатора в датчике.
Термин «содержащий», используемый в этом описании и формуле изобретения, означает «по меньшей мере, частично состоящий из», то есть при истолковании предложений этого описания и пунктов формулы изобретения, использующих этот термин, все элементы, к которым относится этот термин в предложении, должны присутствовать, но также могут присутствовать другие элементы.
Формула изобретения
1. Клапанное устройство, содержащее клапан с корпусом клапана, а также с первой и второй камерами клапана, соединенными с соответствующими патрубками клапана, причем камеры соединены переходным каналом, при этом указанный клапан выполнен с возможностью переключения в следующие состояния: i) первое «открытое» состояние, в котором переходной канал открыт и первая и вторая камеры клапана сообщаются посредством переходного канала, ii) второе «закрытое» состояние, в котором переходной канал закрыт первым и вторым уплотнениями, которые расположены в соответствующих местах канала и предназначены для уплотнения пространства между первой и второй камерами клапана, а также первой камеры утечки в области, являющейся частью переходного канала между двумя уплотнениями, или iii) третье состояние «очистки», в котором одно из двух уплотнений находится в нерабочем положении для соединения соответственно или первой, или второй камеры клапана с первой камерой утечки, при этом оставшееся уплотнение находится в рабочем положении, а также привод клапана, предназначенный для выборочного перевода клапана в любое из трех состояний в ответ на соответствующие сигналы управления, и датчик потока, соединенный с первой камерой утечки и предназначенный для генерирования выходного сигнала датчика потока, который показывает наличие утечки из первой камеры утечки, и блок управления клапана с, по меньшей мере, одним портом ввода сигнала, на который передается выходной сигнал датчика потока, причем блок управления клапаном предназначен для генерирования, по меньшей мере, одного сигнала управления для установки клапана в соответствующее состояние из трех возможных, а также реагирования на выходной сигнал датчика потока и проведения сравнения уровня утечки, определенной выходным сигналом датчика потока, и заранее заданного уровня потока из первой камеры утечки, который связан с выбранным состоянием клапана, и генерирования выходного сигнала блока управления, который вырабатывается на основе указанного выше сравнения и является индикатором наличия или отсутствия надлежащего функционирования клапана или нежелательной неисправности клапана.
2. Клапанное устройство по п.1, в котором посредством выходного сигнала блока управления определяется неисправность клапана, при этом клапан находится во втором «закрытом» состоянии и неисправность заключается в наличии утечки, выходящей или из первой, или из второй камеры клапана и проходящей соответственно через первое или второе уплотнение в первую камеру утечки.
3. Клапанное устройство по п.1, в котором посредством выходного сигнала блока управления определяется надлежащее функционирование клапана, когда клапан находится в третьем состоянии «очистки» и надлежащее функционирование клапана заключается в наличии потока через уплотнение, находящееся в нерабочем положении, из соответствующей камеры клапана в первую камеру утечки.
4. Клапанное устройство по п.1, в котором клапан содержит третье уплотнение, расположенное между первым и вторым уплотнениями, при этом третье уплотнение предназначено для герметизации первой камеры утечки относительно соединенных с ней камер клапана и переходного канала, когда клапан находится в первом «открытом» состоянии.
5. Клапанное устройство по п.4, в котором посредством выходного сигнала блока управления определяется неисправность клапана, при этом клапан находится в первом «открытом» состоянии и неисправность заключается в наличии утечки через третье уплотнение в первую камеру утечки из сообщающихся первой и второй камер клапана и переходного канала.
6. Клапанное устройство по п.1, в котором первое и второе уплотнения выполнены с возможностью крепления соответственно на первый и второй клапанные элементы, первый и второй клапанные элементы выполнены с возможностью независимого перемещения относительно корпуса клапана для перевода клапана в выбранное состояние, причем клапанное устройство дополнительно содержит вторую камеру утечки, расположенную между первым элементом клапана и корпусом, а также четвертое уплотнение, предназначенное для герметизации первого элемента клапана относительно корпуса клапана, при этом четвертое уплотнение расположено между первой камерой клапана и второй камерой утечки, и третью камеру утечки, расположенную между вторым элементом клапана и корпусом клапана, а также пятое уплотнение, предназначенное для герметизации второго элемента клапана относительно корпуса клапана, при этом пятое уплотнение расположено между второй камерой клапана и третьей камерой утечки; причем вторая и третья камеры утечки присоединены к датчику потока, при этом утечка, проходящая через четвертое уплотнение и поступающая во вторую камеру утечки или проходящая через пятое уплотнение и поступающая в третью камеру утечки направляется к датчику потока, а утечка через четвертое или пятое уплотнения определяется посредством выходного сигнала датчика потока.
7. Клапанное устройство по п.6, в котором посредством выходного сигнала блока управления определяется неисправность клапана, при этом клапан находится в первом «открытом» состоянии или втором «закрытом» состоянии и неисправность заключается в наличии утечки из первой камеры клапана, проходящей через четвертое уплотнение во вторую камеру утечки, или утечки из второй камеры клапана, проходящей через пятое уплотнение в третью камеру утечки.
8. Клапанное устройство по п.1, в котором в датчике потока выполнено цилиндрическое отверстие и установлена пара кольцеобразных электродов на расстоянии друг от друга вдоль оси и коаксиально по отношению к электроизолирующей стенке цилиндрического отверстия, а датчик потока соединен с первой камерой утечки, причем при утечке из первой камеры утечки, проходящей через цилиндрическое отверстие, поперек электродов, между ними образуется электропроводная перемычка.
9. Способ мониторинга состояния управляемого клапана, содержащего корпус клапана с первой и второй камерами клапана, соединенными с соответствующими патрубками клапана, при этом камеры соединены переходным каналом, и указанный клапан выполнен с возможностью переключения в следующие состояния: i) первое «открытое» состояние, в котором переходной канал открыт и первая и вторая камеры клапана сообщаются посредством переходного канала, ii) второе «закрытое» состояние, в котором переходной канал закрыт первым и вторым уплотнениями, которые расположены в соответствующих местах канала и предназначены для уплотнения пространства между первой и второй камерами клапана, а также первой камеры утечки в области, являющейся частью переходного канала между двумя уплотнениями, или iii) третье состояние «очистки», в котором одно из двух уплотнений находится в нерабочем положении для соединения соответственно или первой, или второй камеры клапана с первой камерой утечки, при этом оставшееся уплотнение находится в рабочем положении, при этом в указанном способе выполняют следующие этапы: (а) соединяют датчик потока с первой камерой утечки, при этом датчик потока генерирует выходной сигнал датчика потока для обнаружения утечки из первой камеры утечки; (б) получают сигнал управления клапаном и выборочно переводят клапан в одно из трех возможных состояний в ответ на полученный сигнал управления; (в) сравнивают утечку, определяемую выходным сигналом датчика потока, с заранее заданным уровнем потока из первой камеры утечки, который связан с выбранным состоянием клапана, и (г) генерируют выходной сигнал на основе сравнения, который является индикатором наличия или отсутствия надлежащего функционирования клапана или нежелательной неисправности клапана.
10. Способ мониторинга по п.9, в котором посредством выходного сигнала, генерируемого на этапе (г) на основе сравнения, определяют неисправность клапана, при этом клапан находится во втором «закрытом» состоянии и неисправность заключается в наличии утечки, выходящей или из первой, или из второй камеры клапана и проходящей соответственно через первое или второе уплотнение в первую камеру утечки.
11. Способ мониторинга по п.9, в котором посредством выходного сигнала, генерируемого на этапе (г) на основе сравнения, определяют надлежащее функционирование клапана, при этом клапан находится в третьем состоянии «очистки» и надлежащее функционирование клапана заключается в наличии потока через уплотнение, которое находится в нерабочем положении, из соответствующей камеры клапана в первую камеру утечки.
12. Способ мониторинга по п.9, в котором клапан оснащают третьим уплотнением, расположенным между первым и вторым уплотнениями, причем третье уплотнение предназначено для герметизации первой камеры утечки относительно соединенных с ней камер клапана и переходного канала, при этом клапан находится в первом «открытом» состоянии.
13. Способ мониторинга по п.12, в котором посредством выходного сигнала, основанного на сравнении и генерируемого блоком управления клапана, определяют неисправность клапана, при этом клапан находится в первом «открытом» состоянии и неисправность заключается в наличии утечки через третье уплотнение в первую камеру утечки из сообщающихся первой и второй камер клапана и переходного канала.
14. Способ мониторинга по п.9, в котором первое и второе уплотнения крепят соответственно на первый и второй элементы клапана, при этом первый и второй элементы клапана выполнены с возможностью независимого перемещения относительно корпуса клапана для перевода клапана в выбранное состояние, и в указанном клапане выполняют вторую камеру утечки, расположенную между первым элементом клапана и корпусом, четвертое уплотнение, предназначенное для герметизации первого элемента клапана относительно корпуса клапана, установленное между первой камерой клапана и второй камерой утечки, третью камеру утечки, расположенную между вторым клапанным элементом и корпусом клапана; и пятое уплотнение, предназначенное для герметизации второго элемента клапана относительно корпуса клапана, которое расположено между второй камерой клапана и третьей камерой утечки, при этом вторую и третью камеры утечки присоединяют к датчику потока, и утечку, проходящую через четвертое уплотнение и поступающую во вторую камеру утечки или проходящую через пятое уплотнение и поступающую в третью камеру утечки, направляют к датчику потока, при этом посредством выходного сигнала датчика потока обнаруживают утечку через четвертое или пятое уплотнения.
15. Способ мониторинга по п.14, в котором посредством выходного сигнала, генерируемого на основе сравнения, определяют неисправность клапана, когда клапан находится в первом «открытом» состоянии или втором «закрытом» состоянии и неисправность заключается в наличии утечки из первой камеры клапана, проходящей через четвертое уплотнение во вторую камеру утечки, или утечки из второй камеры клапана, проходящей через пятое уплотнение в третью камеру утечки.
16. Способ мониторинга по п.9, в котором в датчике потока выполняют цилиндрическое отверстие и устанавливают пару кольцеобразных электродов на расстоянии друг от друга вдоль оси и коаксиально по отношению к электроизолирующей стенке цилиндрического отверстия, при этом датчик потока соединяют с первой камерой утечки, причем при утечке из первой камеры утечки, проходящей через цилиндрическое отверстие, поперек электродов, между ними образуется электропроводная перемычка.
РИСУНКИ
|
|