|
|
(21), (22) Заявка: 2007117744/11, 12.10.2005
(24) Дата начала отсчета срока действия патента:
12.10.2005
(30) Конвенционный приоритет:
13.10.2004 AU 2004905923
(43) Дата публикации заявки: 20.11.2008
(46) Опубликовано: 10.04.2010
(56) Список документов, цитированных в отчете о поиске:
GB 2284033 А, 24.05.1995. US 4988838 А, 29.01.1991. US 6463728 В1, 15.10.2002. SU 1661894 А1, 07.07.1991. SU 1101944 А1, 07.07.1984.
(85) Дата перевода заявки PCT на национальную фазу:
14.05.2007
(86) Заявка PCT:
AU 2005/001570 20051012
(87) Публикация PCT:
WO 2006/039750 20060420
Адрес для переписки:
129090, Москва, ул.Б.Спасская, 25, стр.3, ООО “Юридическая фирма Городисский и Партнеры”, пат.пов. Е.И.Емельянову, рег. 174
|
(72) Автор(ы):
ХАУАРД Питер (AU)
(73) Патентообладатель(и):
ЭКТ (ЮРОП) ЛТД (GB)
|
(54) УСТРОЙСТВО ДЛЯ ЗАЩИТЫ ЛИНИЙ
(57) Реферат:
Изобретение относится к устройству для защиты кабелей и магистралей подвода. Звено (10) цепи для защиты кабелей включает корпусную часть (12) и запирающее средство (14). Корпусная часть (12) имеет первую стенку и два противолежащих боковых плеча, продолжающихся в основном перпендикулярно первой стенке, образуя первый канал для приема одной или более магистралей подвода. Боковые плечи образуют свободные концы, способные отклоняться. Каждый конец образует первую зацепляющуюся структуру в виде канавки (60). Запирающее средство (14) включает торцевую стенку (14), от которой продолжаются два сравнительно более коротких плеча (16, 17), образующих комплементарные зацепляющиеся структуры, включающие шип (62). Боковые плечи отклоняются друг к другу для расцепления запирающего средства от корпусной части (12). Канавка (60) и шип (62) слегка наклонены внутрь и предотвращают относительное поперечное перемещение компонентов. Шарнирно соединенный кабелеукладчик для защиты кабелей содержит корпусную часть и запирающееся средство, где первая стенка корпусной части и торцевая стенка запирающего средства образуют соединительные элементы для соединения звена с подобным звеном. Достигается повышение надежности устройства для защиты кабелей и магистралей подвода. 3 н. и 17 з.п. ф-лы, 10 ил.
Данное изобретение относится к устройству для защиты кабелей, водоводов и подобного (в дальнейшем упоминаемых как линии или магистрали подвода), предпочтительно, но не исключительно, в подземных работах.
При добыче полезных ископаемых необходимо защищать различные электрические кабели, водяные рукава и другие магистрали подвода от повреждения. Одной конкретной областью, где требуется устройство защиты линий, является область угледобычи, особенно разработка длинными забоями, в которой врубовая машина перемещается назад и вперед через угольный забой, размещая вырубки угля из угольного забоя в конвейере, расположенном позади врубовой машины. Для функционирования врубовая машина требует подачи воды и электричества, которая обеспечивается магистралями подвода. Магистрали подвода расположены в желобе, который обычно расположен на противоположной стороне конвейера от врубовой машины, а линии перемещаются вверх и вниз желоба при перемещении врубовой машины вверх и вниз в угольном забое. Следует отметить, что хотя тип устройства, предусматриваемый настоящим изобретением, является в частности пригодным для использования при обслуживании и защите магистралей подвода для разработки длинными забоями, возможны другие применения данного устройства.
Для защиты таких магистралей подвода известно заключение или по меньшей мере частичное заключение их в защитный сочлененный кабелеукладчик, сформированный из множества соединенных звеньев. В US 4988838 раскрыт один такой кабелеукладчик, сформированный из множества соединенных звеньев. Каждое звено имеет центральное ребро, образующее общую основу для пары продольно открытых каналов на соответствующих сторонах центрального ребра. Для по меньшей мере некоторых из звеньев каждый канал выполнен с проходящими внутрь выступами так, что вход в канал является более узким, чем ширина канала. Каждое звено выполнено из пластикового материала, обычно найлона, так, что стороны канала являются упруго изгибающимися, и магистраль подвода может быть вставлена в соответствующий один из каналов посредством отгибающихся стенок канала и в стороне от выступов. После того как магистраль подвода пропущена через вход канала, стороны канала возвращаются опять для восстановления их исходного положения и таким образом предотвращают линию от непреднамеренного выхода из канала. Звенья соединены посредством соединения центрального ребра одного звена со смежными звеньями, поэтому такие кабелеукладчики называются кабелеукладчиками «с центральной тягой». Кабелеукладчики с центральной тягой также предпочтительны, поскольку водяной рукав поддерживается отдельно от электрического кабеля по причинам безопасности и надежности.
В PCT/GB95/00384 описано усовершенствованное устройство, показанное в US 4988838, в котором ребро расположено к одной стороне звена, вместо центрального расположения, а канал имеет приблизительно двойную глубину конструкции с центральной тягой. Данный тип кабелеукладчика называется кабелеукладчиком «с боковой тягой», поскольку звенья шарнирно соединены через боковое ребро и тянутся только вдоль одной стороны.
Одна проблема, которая является общей для обоих кабелеукладчиков в соответствии с US 4988838 и PCT/GB95/00384, возникает в результате наличия камней, твердых пород и тому подобного в желобе, вдоль которого проходит кабелеукладчик. Твердые породы и камни являются часто более узкими, чем вход канала, и при вхождении в канал они могут проколоть водяной рукав или электрический кабель, таким образом прерывая подачу электроэнергии или воды в угольный забой и нарушая производство. Кроме того, используемый при подземной добыче угля тип сверхмощных кабелей является дорогостоящим, в частности электрические кабели. Стоимость замены любых поврежденных кабелей является высокой, так что в некоторых условиях работы операторы горной выработки не смогут использовать кабелеукладчики типа, описанного в US 4988838, из-за вероятности повреждения магистралей подвода.
Для решения этой проблемы были разработаны кабелеукладчики с двойной тягой и в настоящее время используются при многих операциях длинного забоя, в частности в США, Австралии и Соединенном Королевстве. В кабелеукладчике с двойной тягой каждое звено образует в основном бокс прямоугольной формы, в котором расположены электрический кабель и водяной рукав. Водяной рукав не удерживается отдельно от электрического кабеля, как при конструкции с центральной тягой. Съемная пластина или пластины болтами или иным образом прикреплены к верхней части боковых стенок прямоугольника, таким образом запирая кабели в U-образном звене. Основание, боковые стенки и пластина – все являются сплошными, обеспечивая защиту со всех сторон для электрического кабеля и водяного рукава. Звенья могут быть соединены/тянуться с любой или с обеих сторон и обычно тянутся с двух сторон, отсюда название «с двойной тягой». Однако в то время как конструкция с двойной тягой обеспечивает высокую степень защиты для кабелей, будет принято во внимание, что это является чрезвычайно длительным, кропотливым и требующим много времени процессом установки пары линий в кабелеукладчике с двойной тягой по сравнению с кабелеукладчиком с центральной тягой, таким как в US 4988838, или кабелеукладчиком с боковой тягой, из-за необходимости закрепления пластины на каждом звене по очереди. Для обычной шахты с системой разработки длинными забоями, которая может требовать кабелеукладчик, который занимает множество метров в длину, это может занять множество часов, даже дней и приведет в результате к потере рабочего времени. Существует также риск, что болты, зажимы или подобный крепеж пластин к каналам потеряется и отделится от канала. Будет также принято во внимание, что из-за того, что звенья должны быть шарнирно соединенными, чтобы позволить кабелю отгибаться назад на себя, поскольку врубовая машина перемещается вверх и вниз в угольном забое, тем не менее кабелеукладчик имеет такую конструкцию, что невозможно полностью закрыть кабели в кабелеукладчике, который выполнен из шарнирно соединенных жестких защитных элементов, поскольку требуются зазоры между звеньями для обеспечения шарнирного соединения.
В публикации международной патентной заявки WO 03/095797 раскрыто одно предпринятое решение данной проблемы. Звенья кабелеукладчика, раскрытые в этой публикации, образуют канал, имеющий торцевую стенку и гибкие боковые стенки для приема по меньшей мере одной, как правило двух магистралей подвода. Зацепляющиеся структуры расположены на свободных концах боковых стенок и предусмотрена пластина второй торцевой стенки, образующая зацепляющиеся структуры, выполненные с возможностью зацепления с зацепляющимися структурами боковой стенки. Зацепление между зацепляющимися структурами возможно за счет изгибания торцевых стенок для надежного зацепления второй торцевой стенки между боковыми плечами, таким образом предотвращая перемещение второй торцевой стенки относительно боковых стенок, без изгибания боковых стенок. По меньшей мере одна, предпочтительно обе боковые стенки, выполнены с поворотными структурами для соединения звена цепи с возможностью поворота с подобным звеном для формирования цепи. Несмотря на то, что, теоретически, конструкция WO 03/095797 должна обеспечивать хорошую защиту кабелей против присутствия камней, твердых пород и подобного в желобе, на практике обнаружено, что пластины торцевых стенок надежно не удерживаются в линии максимальной разделяющей силы между боковыми стенками, при всех условиях, и торцевая стенка могла бы расцепиться от остальной части звена при использовании. Кроме того, в конструкции, показанной в WO 03/095797, водяной рукав не удерживается отдельно от электрического кабеля.
Любые обсуждения документов, актов, материалов, устройств, статей и подобного, которые включаются в настоящее описание, делаются исключительно для пояснения контекста настоящего изобретения. Не должно допускаться, что любой или все эти материалы образуют часть основы уровня техники или были общеизвестными знаниями в области, релевантной настоящему изобретению, которые существовали до даты приоритета каждого пункта формулы изобретения данной заявки.
В первом аспекте предусматривается звено цепи для защиты кабелей, магистралей подвода и подобного, содержащее:
корпусную часть, имеющую первую стенку и два противолежащих боковых плеча, составляющих одно целое с первой боковой стенкой, продолжающихся в сторону от одной стороны первой стенки и образующих по меньшей мере один канал для приема по меньшей мере одной магистрали подвода, при этом боковые плечи имеют свободные концы и приспособлены отгибаться, а боковые стенки образуют первые зацепляющиеся структуры; и
запирающее средство, образующее торцевую стенку, при этом торцевая стенка образует комплементарные зацепляющиеся структуры с первыми зацепляющимися структурами для соединения торцевой стенки с корпусной частью, отличающееся тем, что зацепляющиеся структуры выполнены таким образом, что боковые рычаги корпусной части отклоняются друг к другу для расцепления запирающего средства от корпусной части.
Запирающее средство может содержать торцевую стенку, от которой проходят сравнительно более короткие боковые плечи, на которых образованы комплементарные зацепляющиеся средства.
В основном зацепляющиеся средства включают канавку, образованную свободным концом каждого бокового плеча и замком или шипом, расположенным на свободном конце каждого сравнительно более короткого бокового плеча. Канавка и замок являются предпочтительно слегка наклонными внутрь. Замок и канавка предотвращают относительное перемещение элементов, которое также имеет направление, в котором тянут звено при использовании.
Зацепляющиеся структуры могут также включать канал, проходящий поперек через ширину одного из более коротких боковых плеч или более длинных боковых плеч и зависимого ребра, проходящего поперечно через ширину другого из более коротких боковых плеч или боковых стенок. Предпочтительно, канал расположен на боковых стенках, смежных с канавкой.
В одном предпочтительном варианте выполнения, корпусная часть образует два канала, проходящие от противолежащих сторон первой стенки. В данном варианте выполнения, два канала, каждый образует зацепляющиеся структуры для приема соответствующего запирающего средства, образующего более короткие боковые плечи, на которых расположены комплементарные зацепляющиеся структуры. И первая стенка корпусной части и торцевые стенки второго запирающего средства, в основном, включают соединительное средство, так, что звенья могут быть соединены в центре и на обеих сторонах.
Для звеньев с двойной тягой или боковой тягой, где кабели для воды и электричества могли бы обычно удерживаться в том же канале, может быть предусмотрен разделитель, который защелкивается в канале для разделения двух кабелей. Разделитель может иметь сечение в форме песочных часов, являясь более узким в его средней части, чем его верхняя и нижняя части.
Конкретный вариант выполнения настоящего изобретения ниже будет описан только в качестве примера со ссылкой на прилагаемые чертежи, на которых:
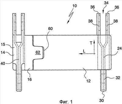
фиг.1 – схематический вид сверху первого варианта выполнения звена цепи для устройства защиты линий, реализующего настоящее изобретение, содержащего первый и второй соединяемые компоненты;
фиг.2 – схематический вид сбоку звена цепи на фиг.1, показывающий звено, удерживающее два кабеля;
фиг.3 – схематический вид сверху звена цепи на фиг.1 с первым и вторым компонентами, разделенными для иллюстрации зацепляющихся структур на компонентах, показывающий один конец только первого компонента;
фиг.4 – схематический вид сбоку звена цепи на фиг.1 с первым и вторым компонентами, разделенными для иллюстрации зацепляющихся структур на компонентах, показывающий один конец только первого компонента;
фиг.5 – схематический вид сверху второго варианта выполнения звена цепи для устройства защиты линий, реализующего настоящее изобретение;
фиг.6 – схематический вид сбоку варианта выполнения звена цепи на фиг.5, показывающий звено, удерживающее два кабеля;
фиг.7 – общая сборка третьего варианта выполнения звена цепи для устройства защиты линий, реализующего настоящее изобретение;
фиг.8 – вид в перспективе четвертого варианта выполнения звена цепи для устройства защиты линий, реализующего настоящее изобретение;
фиг.9 – вид сбоку разделителя кабелей для использования с четвертым вариантом выполнения, показанным на фиг.8; и
фиг.10 – вид сзади разделителя кабелей на фиг.9.
На фиг.1-4 показан первый вариант выполнения устройства защиты линий или звена 10 цепи, которое образует одно звено сочлененной цепи. Звено цепи содержит две части: корпусную часть в виде, в основном, U-образного канального элемента 12; и отсоединяемое запирающее средство 14, которое образует торцевую стенку 15, от которой продолжается пара коротких боковых плеч 16, 17. U-образный канальный элемент 12 включает первую или торцевую стенку 18 и два идентичных противолежащих боковых плеча или стенки 20, 22, выполненных за одно целое с торцевой стенкой и образующих свободные концы 20a, 22a (лучше показано на фиг.4).
Корпусной элемент 12 выполнен из профильного пластикового материала, такого как высоковязкий найлон, включающий стальную вставку 24 для обеспечения дополнительной прочности и для обеспечения соединительного средства. Боковые стенки 20, 22 не армированы и являются, в основном, гибкими.
Стальная вставка 24 обычно не видна, являясь почти совершенно заделанной в найлон, но лучше всего показана на фиг.1, содержит два параллельных изогнутых соединительных элемента. На одном конце 30 она образует сквозное отверстие 32, а на другом конце 34 образует два параллельных плеча 36, которые образуют коаксиальные отверстия 38. Сравнительно более узкая часть 30 одной вставки 24 может быть вставлена между плечами 36 смежной вставки и вставки могут быть соединены вместе болтом или другим подходящим средством, пропущенным через отверстия 32 и 38.
Запирающее средство 14 является подобным по конструкции торцевой стенке U-образного канального элемента 12 тем, что оно выполнено из профильного пластикового материала, так же, как правило, из высоковязкого найлона, включающего стальную вставку 40 по существу такой же формы и конструкции, как и вставка 22 торцевой стенки 18, для образования дополнительной прочности и дополнительного соединительного средства. Таким образом, при закреплении запирающего средства 14 на канальном средстве, как показано на фиг.1 и 2, образуется звено цепи с двойной тягой. Средство, посредством которого запирающее средство 14 и U-образный канальный элемент 12 запираются, можно увидеть более наглядно на фиг.3 и 4.
Боковые стенки 20, 22 канального элемента продолжаются в сторону от торцевой стенки 18 в продольном направлении и определяют, в основном, прямоугольное поперечное сечение перпендикулярно по отношению к ее продольному протяжению. Боковые стенки 20, 22 являются параллельными одна другой и симметричными относительно продольно проходящей плоскости L, продолжающейся между и параллельной боковым стенкам. В основном, они будут иметь глубину около 6 мм, хотя эта глубина может изменяться. Канал 50 определяется в наружной поверхности каждой боковой стенки 20, 22, смежной каждому концу 20a, 22a. Поскольку средства зацепления, образованные концами боковых стенок, являются идентичными, они будут описаны только на боковой стенке 22.
Канал 50 проходит в поперечном направлении от одной стороны боковой стенки 22 к другой. Как лучше показано на фиг.4, канал определяется в U/J-образных утолщенных частях 52, образованных на конце 22a плеча, на котором нижняя сторона плеча является утолщенной для обеспечения увеличенной глубины материала под каналом 50. Основание 52 канала 50 имеет, в основном, глубину около 8 мм относительно наружной поверхности боковой стенки 20. Это позволяет при использовании изнашивать верхнюю и нижнюю поверхности звена.
Как лучше показано на фиг.3 (и показано в полуразрезе на фиг.4), в основном, прямоугольная щель или канавка 60 со слегка наклонными стенками образована в конце боковой стенки 22. Канавка проходит от средней части боковой стенки канала 50 в направлении торцевой стенки 18. Стенки слегка наклонены одна к другой в направлении торцевой стенки 18.
Комплементарные зацепляющиеся структуры, которые сопрягаются с каналом 50 и канавкой 60, образованы на концевом элементе 14. Предпочтительно, имеется нулевой допуск/зазор между взаимно зацепляющимися структурами для гарантирования плотной посадки.
В частности, как показано на фиг.3 и 4, короткие боковые плечи 16, 17 запирающего средства 14, каждое образует, в основном, прямоугольный клин или элемент 62 в виде шипа со слегка наклонными сторонами, который расположен в канавке 60 и предотвращает перемещение торцевой стенки 14 в поперечном направлении относительно U-образного канального элемента 12.
Как лучше показано на фиг.4, каждое короткое боковое плечо 16, 17 также образует выступающее ребро 70, которое при использовании расположено в канале 52 канального элемента 12 (см. фиг.2).
Когда два компонента запираются, как показано на фиг.1 и 2, соединение типа “ласточкин хвост”, образуемое клином 62 и канавкой 60, предотвращает относительное перемещение элементов в поперечном направлении T. Канал 50 и ребро предотвращают относительное перемещение в продольном направлении L.
Для зацепления U-образного элемента 12 и торцевого элемента 14 вместе два элемента 2 и 14 сжимаются вместе с выровненными канавкой 60 и клином 62. Гибкие боковые стенки 20, 22 изгибаются одна к другой или могут быть надавлены одна к другой для облегчения взаимного зацепления. При использовании звено будет нести магистрали подвода 80 и 90 для воды или электричества, соответствующим образом показанные на фиг.2.
Для расцепления отсоединяемой торцевой стенки 14 от U-образного канального элемента 12 боковые плечи 20, 22 U-образного канального элемента просто изгибаются друг к другу и два компонента 12, 14 сравнительно легко разделяются.
Однако преимущественно из-за конструкции зацепляющихся средств зацепляющиеся средства являются наиболее прочными в направлении наибольшей амплитуды усилия, которое происходит при использовании звена цепи в том направлении, вдоль которого тянутся звенья. При использовании имеется небольшая тенденция для прикладывания усилий, чтобы сжать боковые стенки 20, 22 вместе, поскольку мала вероятность случайного расцепления отсоединяемой торцевой стенки.
На фиг.5 и 6 показан вариант 10 звена, показанного на фиг.1-4. Звено 12 является таким же, как на фиг.1-4. Запирающее средство 14a несколько отличается от запирающего средства 14, поскольку оно включает только единственный изогнутый соединительный элемент 40a вместо двух параллельных изогнутых соединительных элементов.
Несмотря на то, что выше было описано звено для протектора линий с двойной тягой, будет принято во внимание, что те же подходы могут быть применены для изготовления звеньев цепи с боковой тягой, центральной тягой или тройной тягой. Для центральной тяги боковые плечи продолжаются от обеих сторон торцевой стенки 18, образуя канал для водопроводной линии и канал для кабеля, отделенный торцевой стенкой, а концы этих каналов могут быть закрыты торцевыми стенками 14, которые не образуют соединительные средства.
На фиг.7 изображено тройное или с тройной тягой звено 100. В этом варианте выполнения имеется центральная стенка 101 и две пары параллельных боковых плеч 102, 104, продолжающихся в сторону от любой стороны центральной стенки 101. Опять стальная вставка 24, которая обычно невидима, являясь почти совершенно заделанной в найлон, которая содержит два параллельных изогнутых соединительных элемента, вставлена в стенку 101. Свободные концы 102a и 104a боковых плеч выполнены так же, как и свободные концы 120a и 122a первого и второго вариантов выполнения, и образуют зацепляющиеся структуры в виде канала и канавки. Эти зацепляющиеся запирающие средства 114a, 114b являются по существу идентичными запирающему средству 14a варианта выполнения, показанного на фиг.5, хотя одно является зеркальным по отношению к другому. Единственный изогнутый соединительный элемент 140a, 140b вставляется в торцевую стенку каждого отсоединяемого запирающего средства 114a, 114b соответственно. Использование односрезных изогнутых пластин снижает ширину звена до минимума.
В еще одном варианте выполнения может быть предусмотрено звено с боковой тягой за счет использования корпусной части 12 с двойной тягой, описанной выше, но с торцевой стенкой, которая не определяет какое-либо соединительное средство.
На фиг.8-10 изображен еще один вариант встраивания разделителя кабелей. На фиг.8 показан вид в перспективе корпусной части 212 разделителя с двойной тягой, вида, показанного на фиг.1 и 2, но который отличается от корпусной части фиг.1 и 2 тем, что выемка или вырез 214 выполнен в каждой наружной кромке каждого бокового плеча 220 и 222 приблизительно посередине между торцевой стенкой 218 и свободными концами 220a и 222a корпусной части. Предусмотрен разделитель кабелей, показанный на фиг.9 и 10. Разделитель кабелей 230 имеет основную корпусную часть 232, которая имеет высоту h, равную вертикальному промежутку между боковыми плечами 220 и 222, и относительно более высокие концы 234, которые определяют выступы 236 из корпусной части и проходят над и под основной частью корпуса. Выступы защелкиваются или плотно посажены в выемки 214 для закрепления разделителя кабелей, проходящего перпендикулярно через звено. Как лучше показано на фиг.10 в поперечном сечении, разделитель кабелей является более широким в своей верхней части и нижней части и наклонен к своему центру, в форме песочных часов. В основном, звено будет иметь толщину 20 мм или около этого в его верхней части и нижней части и до 2 мм – толщину в его средней части. Таким образом поддерживаются прочность и жесткость разделителя и звена, в то же время поддерживая общую ширину звена, измеряемую от торцевой стенки 218 корпусной части до торцевой стенки запирающего средства (не показана), настолько малой, насколько возможно. Это обеспечивает расположение, при котором электрический кабель и водовод могут быть отделены, что является желательным, с помощью относительно простой операции отгибания боковых плеч 220 и 222 и вставки разделителя. Не требуются никакие кропотливые гайки или болты, которые могут становиться ослабленными или повреждать кабели. Общая ширина звена в действительности значительно не увеличивается, звено является более тонким, чем с тройной тягой, показанным на фиг.7, что является важным, поскольку имеется ограниченное пространство в каналах, в которых пропускаются такие звенья цепей.
Специалистам в данной области будет понятно, что многочисленные изменения и/или модификации могут быть сделаны в изобретении, как показано в конкретных вариантах выполнения, без отклонения от идеи и объема изобретения, как описано в общих чертах. Настоящие варианты выполнения, следовательно, должны рассматриваться во всех отношениях как иллюстративные, но не ограничивающие.
Формула изобретения
1. Звено цепи для защиты кабелей, магистралей подвода и подобного, содержащее: корпусную часть, имеющую первую стенку и два противолежащих боковых плеча, выполненных за одно целое с первой торцевой стенкой, продолжающихся в сторону от одной стороны первой стенки и образующих, по меньшей мере, один канал для приема, по меньшей мере, одной магистрали подвода, при этом боковые плечи имеют свободные концы и выполнены с возможностью отклонения, причем боковые плечи образуют первые зацепляющиеся структуры; и запирающее средство, образующее торцевую стенку, при этом торцевая стенка образует комплементарные зацепляющиеся структуры с первыми зацепляющимися структурами для запирания торцевой стенки с корпусной частью, отличающееся тем, что зацепляющиеся структуры являются такими, что боковые плечи корпусной части отклоняются друг к другу для расцепления запирающего средства от корпусной части.
2. Звено по п.1, в котором вторая пара противолежащих боковых плеч продолжается в сторону от противолежащей стороны первой стенки корпусной части к одной стороне так, чтобы образовать второй канал для приема магистрали подвода на противолежащей стороне первой стенки, при этом вторая пара боковых плеч имеет свободные концы и выполнена с возможностью отклонения, причем вторая пара боковых плеч также образует первые зацепляющиеся структуры; и второе запирающее средство, образующее торцевую стенку, при этом торцевая стенка образует комплементарные зацепляющиеся структуры с первыми зацепляющимися структурами для запирания торцевой стенки с корпусной частью, отличающееся тем, что зацепляющиеся структуры являются такими, что вторая пара боковых плеч корпусной части отклоняется друг к другу для расцепления второго запирающего средства от корпусной части.
3. Звено по п.1, в котором первая стенка корпусной части и торцевая стенка запирающего средства или каждое запирающее средство образуют соединительные элементы для соединения звена с подобным звеном.
4. Звено по п.3, в котором корпусная часть и запирающее средство содержат профильный пластиковый материал, а соединительные элементы содержат металлическую вставку.
5. Звено по п.4, в котором пластиковый материал является найлоном, а металлическая вставка является стальной.
6. Звено по п.3, в котором два параллельных изогнутых соединительных элемента заделаны в первую стенку корпусной части, и один изогнутый соединительный элемент расположен в торцевой стенке каждого запирающего элемента.
7. Звено по п.2, в котором два параллельных изогнутых соединительных элемента заделаны в первую стенку корпусной части, и один или два параллельных изогнутых соединительных элемента расположены в торцевой стенке запирающего элемента.
8. Звено по п.1, в котором торцевая стенка запирающего средства или каждое запирающее средство образует сравнительно более короткие боковые плечи, на котором расположены комплементарные зацепляющиеся структуры.
9. Звено по п.1, в котором первые зацепляющиеся структуры включают канавку, образованную в свободном конце каждого бокового плеча, а комплементарные зацепляющиеся структуры включают замок или шип, расположенные на свободном конце каждого сравнительно более короткого бокового плеча.
10. Звено по п.9, в котором канавка и замок выполнены наклоненными внутрь.
11. Звено по п.9, в котором зацепляющиеся структуры дополнительно включают канал, проходящий поперечно через ширину одного из более коротких боковых плеч или боковых стенок, и зависимое ребро, проходящее поперек через ширину другого из более коротких боковых плеч или боковых стенок.
12. Звено по п.9, в котором канал образован на боковых стенках, смежных с канавкой.
13. Звено по п.7, в котором предусмотрен разделитель, который защелкивается или плотно посажен в канале для разделения двух кабелей в канале.
14. Звено по п.13, в котором разделитель имеет в основном сечение в форме песочных часов, являясь более узким в середине, чем в его верхней части и нижней части.
15. Звено цепи для защиты кабелей, магистралей подвода и подобного, содержащее: корпусную часть, имеющую первую стенку и два противолежащих боковых плеча, выполненных за одно целое с первой торцевой стенкой, продолжающихся в сторону от одной стороны первой стенки и образующих по меньшей мере один канал для приема по меньшей мере одной магистрали подвода, при этом боковые плечи имеют свободные концы и выполнены с возможностью отклонения, причем боковые плечи образуют первые зацепляющиеся структуры; и запирающее средство, образующее торцевую стенку, при этом торцевая стенка образует комплементарные зацепляющиеся структуры с первыми зацепляющимися структурами для запирания торцевой стенки с корпусной частью; в котором первые зацепляющиеся структуры включают канавку, образованную в свободном конце каждого бокового плеча, а комплементарные зацепляющиеся структуры включают замок или шип, расположенные на свободном конце каждого сравнительно более короткого бокового плеча; и дополнительно включают канал, проходящий поперечно через ширину одного из более коротких боковых плеч или боковых стенок, и зависимое ребро, проходящее поперек через ширину другого из более коротких боковых плеч или боковых стенок.
16. Звено по п.15, в котором канал образован на боковых стенках, смежных с канавкой.
17. Звено по п.15, в котором канавка и замок выполнены скошенными.
18. Звено по п.15, в котором вторая пара противолежащих боковых плеч продолжается в сторону от противолежащей стороны первой стенки корпусной части к одной стороне так, чтобы образовать второй канал для приема магистрали подвода на противолежащей стороне первой стенки, при этом вторая пара боковых плеч имеет свободные концы и выполнена с возможностью отклонения, причем вторая пара боковых плеч также образует первые зацепляющиеся структуры; и второе запирающее средство, образующее торцевую стенку, при этом торцевая стенка образует комплементарные зацепляющиеся структуры с первыми зацепляющимися структурами для запирания торцевой стенки с корпусной частью, в котором первые зацепляющиеся структуры включают канавку, образованную в свободном конце каждого бокового плеча, а комплементарные зацепляющиеся структуры включают замок или шип, расположенные на свободном конце каждого сравнительно более короткого бокового плеча; и дополнительно включают канал, проходящий поперечно через ширину одного из более коротких боковых плеч или боковых стенок, и зависимое ребро, проходящее поперек через ширину другого из более коротких боковых плеч или боковых стенок.
19. Шарнирно соединенный кабелеукладчик для защиты кабелей, магистралей подвода и подобного, содержащий: корпусную часть, имеющую первую стенку и два противолежащих боковых плеча, выполненных за одно целое с первой торцевой стенкой, продолжающихся в сторону от одной стороны первой стенки и образующих, по меньшей мере, один канал для приема, по меньшей мере, одной магистрали подвода, при этом боковые плечи имеют свободные концы и выполнены с возможностью отклонения, причем боковые плечи образуют первые зацепляющиеся структуры; и запирающее средство, образующее торцевую стенку, при этом торцевая стенка образует комплементарные зацепляющиеся структуры с первыми зацепляющимися структурами для запирания торцевой стенки с корпусной частью, отличающийся тем, что зацепляющиеся структуры являются такими, что боковые плечи корпусной части отклоняются друг к другу для расцепления запирающего средства от корпусной части; и в котором первая стенка корпусной части и торцевая стенка запирающего средства или каждое запирающее средство образуют соединительные элементы для соединения звена с подобным звеном.
20. Шарнирно соединенный кабелеукладчик по п.19, в котором два параллельных изогнутых соединительных элемента заделаны в первую стенку корпусной части, и один или два параллельных изогнутых соединительных элементов расположены в торцевой стенке запирающего элемента.
РИСУНКИ
|
|